|
|
(21), (22) Заявка: 2006126684/04, 22.12.2003
(24) Дата начала отсчета срока действия патента:
22.12.2003
(43) Дата публикации заявки: 27.01.2008
(46) Опубликовано: 27.04.2009
(56) Список документов, цитированных в отчете о поиске:
US 6111158 А, 29.08.2000. US 6187981 A, 13.02.2000. WO 01/05733 A1, 25.01.2001. RU 2101270 С1, 10.01.1998.
(85) Дата перевода заявки PCT на национальную фазу:
24.07.2006
(86) Заявка PCT:
US 03/40854 20031222
(87) Публикация PCT:
WO 2005/068405 20050728
Адрес для переписки:
103735, Москва, ул. Ильинка, 5/2, ООО “Союзпатент”, пат.пов. А.П.Агурееву
|
(72) Автор(ы):
МАРИНАНДЖЕЛИ Ричард Ю. (US), ГАЛЬПЕРИН Леонид Б. (US), ФРИТЧ Томас Р. (US), ЛАУСОН Р. Джо (US)
(73) Патентообладатель(и):
ЮОП ЛЛК (US)
|
(54) СПОСОБ ПОЛУЧЕНИЯ ФЕНИЛАЛКАНОВ ПРИ ИСПОЛЬЗОВАНИИ ИЗОМЕРИЗАЦИИ ОЛЕФИНОВ И РЕЦИКЛА ПАРАФИНОВ
(57) Реферат:
Изобретение относится к способу получения фенилалканов, характеризующемуся тем, что включает стадии: a) дегидрирование исходного сырья, содержащего C8-C28 парафины, в секции дегидрирования, работающей в условиях дегидрирования, достаточных для дегидрирования парафинов, и извлечение из секции дегидрирования потока продуктов дегидрирования, содержащего моноолефины и парафины;
b) пропускание, по меньшей мере, части потока продуктов дегидрирования в секцию изомеризации, работающую в условиях изомеризации, достаточных для изомеризации олефинов, и извлечения из секции изомеризации потока продуктов изомеризации, содержащего моноолефины и парафины, где моноолефины в потоке продуктов изомеризации содержат от 8 до 28 атомов углерода, и где, по меньшей мере, часть моноолефинов в потоке продуктов дегидрирования содержит 3 или 4 первичных атома углерода и не содержит четвертичных атомов углерода; c) пропускание фенильного соединения и, по меньшей мере, части потока продуктов изомеризации, содержащего моноолефины, в секцию алкилирования, эксплуатации секции алкилирования в условиях алкилирования, достаточных для алкилирования фенильного соединения при использовании моноолефинов в присутствии катализатора алкилирования с получением фенилалканов, содержащих молекулы, включающие одну фенильную часть и одну алифатическую алкильную часть, содержащую от 8 до 28 атомов углерода; где, по меньшей мере, часть фенилалканов, образованных в секции алкилирования, содержит 2, 3 или 4 первичных атома углерода и не содержит четвертичных атомов углерода за исключением любого четвертичного атома углерода, связанного связью углерод-углерод с атомом углерода фенильной части; и где алкилирование характеризуется селективностью в отношении получения 2-фенилалканов в диапазоне от 40 до 100 и селективностью в отношении получения внутренних четвертичных фенилалканов, меньшей 10; d) извлечение из секции алкилирования потока продуктов алкилирования, содержащего фенилалканы, и содержащего парафины потока, отправляемого на рецикл; и e) пропускание, по меньшей мере, части потока, отправляемого на рецикл, в секцию дегидрирования. Также предложенное изобретение относится к композиции для получения моющего вещества, содержащей фенилалканы, полученные описанным выше способом, способу получения потока продуктов, содержащего фенилалкансульфонаты, получаемого из фенилалканов, полученных по указанному выше способу и к композиции моющего вещества. Применение вышеуказанного способа получения фенилалканов приводит к получению моющих веществ, которые соответствуют более строгим требованиям к селективности в отношении 2-фенилаклканов. 4 н. и 11 з.п. ф-лы, 1 ил., 3 табл.
Область техники, к которой относится изобретение
Изобретение в общем случае относится к алкилированию фенильных соединений олефинами при использовании твердого катализатора, более конкретно к способу селективного получения конкретных фенилалканов при использовании твердого катализатора алкилирования.
Уровень техники
Приблизительно более чем тридцать лет назад многие моющие вещества для бытовой стирки получали из разветвленных алкилбензолсульфонатов (РАБС). РАБС получают из определенного типа алкилбензолов, называемых разветвленными алкилбензолами (РАБ). Алкилбензолами (фенилалканами) называют общую категорию соединений, имеющих алифатическую алкильную группу, связанную с фенильной группой, и описывающихся общей формулой (mi-алкилi)i-n-фенилалкан. Алифатическая алкильная группа состоит из алифатической алкильной цепи, которую в формуле (mi-алкилi)i-n-фенилалкан обозначают «алкан». Среди цепей в алифатической алкильной группе алифатическая алкильная цепь является наиболее длинной прямой цепью, которая содержит атом углерода, связанный с фенильной группой. Алифатическая алкильная группа также может состоять из одной или нескольких алкильных разветвлений, каждое из которых присоединено к алифатической алкильной цепи и обозначается в формуле (mi-алкилi)i-n-фенилалкан соответствующим показателем «(mi-алкилi)i».
Характеристики для РАБ описываются в US-A-6187981 В1. Говоря вкратце, РАБ характеризуется относительно большим количеством первичных атомов углерода в алифатической алкильной группе; фенильная группа в РАБ может быть присоединена к любому непервичному атому углерода в алифатической алкильной цепи; и существует относительно высокая вероятность того, что один из атомов углерода в алифатической алкильной группе у РАБ будет представлять собой четвертичный атом углерода.
Если атом углерода в алкильной цепи будет соединен с двумя другими атомами углерода в алкильной боковой цепи, атомом углерода в алкильной группе разветвления и атомом углерода фенильной группы, то тогда получающийся в результате алкилфенилалкан называют «четвертичным алкилфенилалканом» или просто «четвертичным соединением». Таким образом, четвертичные соединения включают алкилфенилалканы, описываемые общей формулой m-алкил-m-фенилалкан. Если четвертичный атом углерода будет являться вторым атомом углерода от конца алкильной боковой цепи, то тогда получающийся в результате 2-алкил-2-фенилалкан будет называться «концевым четвертичным соединением». В случае любого другого четвертичного атома углерода вдоль алкильной боковой цепи будет иметь место название «внутреннее четвертичное соединение».
Тридцать лет назад началось загрязнение рек и озер моющими веществами для стирки, полученными из РАБС. Получение моющих веществ из линейных алкилбензолсульфонатов (ЛАБС), которые подвергаются биоразложению быстрее, чем РАБС, разрешило данную проблему. ЛАБС изготавливают из алкилбензолов, называемых линейными алкилбензолами (ЛАБ). ЛАБ описывают в US-A-6187981 В1. ЛАБ характеризуется наличием линейной алифатической алкильной группы, содержащей два первичных атома углерода, а фенильная группа в ЛАБ обычно присоединена к любому вторичному атому углерода линейной алифатической алкильной группы.
Недавние исследования выявили ряд модифицированных алкилбензолсульфонатов, которые в настоящем документе называются МАБС. МАБС отличаются по составу от алкилбензолсульфонатов РАБС и ЛАБС и обладают улучшенными в плане очистки эксплуатационными характеристиками по очищению при стирке, а также при очистке твердых поверхностей и отличаются превосходной эффективностью в жесткой воде при одновременной сопоставимости их биоразлагаемости с соответствующей характеристикой для ЛАБС. Сульфонирование модифицированных алкилбензолов (МАБ) будет приводить к получению МАБС. МАБ представляет собой фенилалкан, имеющий слабо разветвленную алифатическую алкильную группу и фенильную группу, и он описывается общей формулой (mi-алкилi)i-n-фенилалкан. МАБ обычно содержит два, три или четыре первичных атома углерода, характеризуется высоким уровнем содержания 2-фенилалканов и относительно низким уровнем содержания внутренних четвертичных соединений. В US-A-6187981 В1 описывают способ получения МАБ при изомеризации парафинов, дегидрировании парафинов и алкилировании с использованием рецикла парафинов. В US-A-5276231 описывают способ получения ЛАБ при селективном удалении ароматических побочных продуктов из зоны дегидрирования парафинов, а также описывают рецикл парафинов в зону дегидрирования, селективное гидрирование любых моноолефинов в потоке отправляемых на рецикл парафинов и селективное гидрирование диолефиновых побочных продуктов из зоны дегидрирования.
Что касается других способов алкилирования и способов адсорбционного разделения, которые приводят к получению уникальным образом слабо разветвленных или делинеаризованных алкилбензолов, то примерами их являются международные публикации  WO 99/05082, WO 99/05084, 99/05241, WO 99/05243 и W0 99/07656, которые тем самым включаются в настоящий документ путем ссылки.
Вследствие наличия у МАБС преимуществ в сравнении с другими алкилбензолсульфонатами проводится поиск катализаторов и способов, которые привели бы к селективному получению МАБ при желательной селективности в отношении получения 2-фенилалканов и внутренних четвертичных фенилалканов.
Раскрытие изобретения
Описывается способ получения фенилалканов, в частности, модифицированных алкилбензолов (МАБ), в результате проведения стадий дегидрирования парафинов, изомеризации олефинов и алкилирования фенильного соединения, в котором парафины из потока продуктов алкилирования отправляют на рецикл на стадию дегидрирования. Парафины, которые отправляют на рецикл, могут являться линейными или нелинейными парафинами, в том числе слабо разветвленными парафинами. Поскольку отправленные на рецикл парафины можно превратить в слабо разветвленные олефины, данный способ приводит к эффективному извлечению парафинов из потока продуктов алкилирования и их использованию при получении ценных фенилалкановых продуктов. Таким образом, данный способ приводит к увеличению выхода ценных продуктов для заданного количества парафинового исходного сырья, загруженного в технологический процесс, при одновременном предотвращении возникновения трудностей с отделением парафинов от моноолефинов после стадии дегидрирования парафинов и перед стадией алкилирования.
Данный способ в случае его использования для алкилирования моющих веществ приводит к получению моющих веществ, которые соответствуют все более строгим требованиям к селективности в отношении получения 2-фенилалканов и селективности в отношении получения внутренних четвертичных фенилалканов при получении модифицированных алкилбензолов (МАБ). Таким образом, сульфонирование МАБ приводит к получению модифицированных линейных алкилбензолсульфонатов (МАБС), характеризующихся улучшенной эффективностью очищения в жесткой и/или холодной воде и биоразлагаемостью, сопоставимой с биоразлагаемостью линейных алкилбензолсульфонатов.
Представляется, что МАБ и МАБС, полученные по способам, описанным в настоящем документе, не являются продуктами, полученными по способам предшествующего уровня техники, в которых парафины не отправляют на рецикл, и что в зоне дегидрирования степень превращения разветвленных парафинов может превышать степень превращения нормальных (линейных) парафинов, и/или что степень превращения более тяжелых парафинов может превышать степень превращения более легких парафинов. Поскольку в данном случае степень превращения парафинов ограничивается равновесием, поток продуктов из зоны дегидрирования может содержать больше линейных и/или более легких парафинов. Таким образом, концентрация линейных парафинов и/или более легких парафинов в потоке парафинов, отправляемых на рецикл, может увеличиться. Это, в свою очередь, может приводить к увеличению концентрации и, в конечном счете, к увеличению степени превращения линейных и/или более легких парафинов в зоне дегидрирования до тех пор, пока скорость удаления из технологического процесса линейных и/или более легких парафинов в результате прохождения дегидрирования и последующего алкилирования не станет равна скорости введения в зону дегидрирования данных парафинов, поступающих из парафинового исходного сырья и потока парафинов, отправляемых на рецикл. В соответствии с этим, для заданной степени превращения олефинов в зоне алкилирования алифатическая алкильная цепь продукта МАБ настоящего изобретения будет сохранять большее подобие по количеству атомов углерода с парафиновым исходным сырьем в сопоставлении с тем, что имеет место в способах предшествующего уровня техники. В сопоставлении со способом настоящего изобретения способы предшествующего уровня техники приводят к смещению распределения по количеству атомов углерода в алифатических алкильных группах у МАБ в сторону более значительных количеств атомов углерода. После сульфонирования продукты МАБС настоящего изобретения имеют тенденцию сохранять распределение по количеству атомов углерода в алифатической алкильной цепи подобным тому, что имеет место для парафинового исходного сырья. Таким образом, в случае заданной комбинации исходного сырья способы данного изобретения могут привести к получению конкретных продуктов МАБ и МАБС, имеющих алифатическую алкильную цепь, характеризующуюся специально разработанным уровнем разветвления, которые могут отличаться от продуктов, получаемых в способах предшествующего уровня техники.
Осуществление изобретения
Два типа исходного сырья, расходуемого в рассматриваемом способе, представляют собой парафиновое соединение и фенильное соединение. Парафиновое исходное сырье может содержать молекулы неразветвленных (линейных) или нормальных парафинов, характеризующиеся общим количеством атомов углерода на одну молекулу парафина в диапазоне от 8 до 28, а в других вариантах реализации от 8 до 15, от 10 до 15 и от 11 до 13 атомов углерода. Два атома углерода на одну молекулу неразветвленного парафина являются первичными атомами углерода, а остальные атомы углерода являются вторичными атомами углерода.
В дополнение к неразветвленным парафинам в рассматриваемый технологический процесс можно загружать и другие ациклические соединения. Эти другие ациклические соединения в рассматриваемый технологический процесс можно загружать либо в парафиновом исходном сырье, содержащем неразветвленные парафины, либо при использовании одного или нескольких других потоков, которые поступают в рассматриваемый технологический процесс. Одним таким ациклическим соединением является слабо разветвленный парафин, который в соответствии с использованием в настоящем документе обозначает парафин, характеризующийся общим количеством атомов углерода в диапазоне от 8 до 28, три или четыре атома углерода из которых являются первичными атомами углерода, и ни один из остальных атомов углерода не является четвертичным атомом углерода. Слабо разветвленный парафин может характеризоваться общим количеством атомов углерода в диапазоне от 8 до 15, а в другом варианте реализации от 10 до 15 атомов углерода и еще в одном варианте реализации от 11 до 13 атомов углерода. Слабо разветвленный парафин в общем случае включает алифатический алкан, описываемый общей формулой (рi-алкилi)i-алкан. Слабо разветвленный парафин состоит из наиболее длинной прямой цепи в слабо разветвленном парафине – алифатической алкильной цепи, называемой «алкан» в формуле (рi-алкилi)i-алкан. Слабо разветвленный парафин также состоит из одной или нескольких алкильных групп разветвлений, обозначаемых соответствующим показателем «(pi-алкилi)i», при этом подстрочный индекс «i» равен количеству алкильных групп разветвлений, а каждая соответствующая алкильная группа разветвления присоединена к атому углерода с номером pi в алифатической алкильной цепи. В алифатической алкильной цепи нумерация идет от одного конца к другому в направлении, которое позволит присвоить атомам углерода, имеющим алкильные группы разветвлений, наименьшие номера из возможных.
Алкильную группу разветвления или алкильные группы разветвлений слабо разветвленного парафина можно выбирать из метильной, этильной и пропильной групп, при этом предпочтительными являются более короткие и нормальные разветвления. Слабо разветвленные парафины, либо имеющие две алкильные группы разветвлений, либо содержащие четыре первичных атома углерода, могут составлять менее 40% (мол.), а в другом варианте реализации менее 25% (мол.) от общего количества слабо разветвленных парафинов. Слабо разветвленные парафины, либо имеющие одну алкильную группу разветвления, либо содержащие три первичных атома углерода, могут составлять более 70% (мол.) от общего количества слабо разветвленных моноолефинов. Любая алкильная группа разветвления может быть соединена с любым атомом углерода в алифатической алкильной цепи.
Исходное сырье, подаваемое в технологический процесс, может включать парафины и более высокоразветвленные, чем слабо разветвленные парафины. Однако после дегидрирования такие высокоразветвленные парафины имеют тенденцию к образованию высокоразветвленных моноолефинов, которые после алкилирования имеют тенденцию приводить к образованию РАБ. Например, молекулы парафинов, содержащие, по меньшей мере, один четвертичный атом углерода, после дегидрирования с последующим алкилированием имеют тенденцию приводить к получению фенилалканов, содержащих четвертичные атомы углерода и не имеющих фенильной группы. Предпочтительно загрузку этих высокоразветвленных парафинов, загружаемых в технологический процесс, сводят к минимуму. При расчете на количество молей молекулы парафинов, содержащих, по меньшей мере, один четвертичный атом углерода, в парафиновом исходном сырье или во всех парафинах, загружаемых в технологический процесс, обычно составляют менее 10%, предпочтительно менее 5%, более предпочтительно менее 2%, а наиболее предпочтительно менее 1%.
Парафиновое исходное сырье обычно представляет собой смесь линейных и слабо разветвленных парафинов, содержащих различное количество атомов углерода. Возможно использование любого подходящего способа получения парафинового исходного сырья. Один способ приводит к получению парафинового исходного сырья в результате выделения неразветвленных (линейных) углеводородов или слабо разветвленных углеводородов из нефтяной фракции, соответствующей области кипения керосина. Проверенными коммерческими способами такого разделения являются способ Molex от компании UOP для жидкофазного адсорбционного отделения нормальных парафинов от изопарафинов и циклопарафинов и способ Kerosene Isosiv от компании UOP для парофазного адсорбционного отделения нормальных парафинов от ненормальных парафинов. Потоки исходного сырья в эти вышеупомянутые технологические процессы разделения содержат разветвленные парафины, которые являются более высокоразветвленными, чем слабо разветвленные парафины.
Хорошо известные аналитические методы современного уровня газовой хроматографии могут позволить определить состав таких смесей линейных, слабо разветвленных и разветвленных парафинов, выступающих в роли парафинового исходного сырья или потока исходного сырья для вышеупомянутых технологических процессов адсорбционного разделения. В работе Н.Schuiz, et al., Chromatographia 1, 1968, р.315 описывается подходящий способ идентификации компонентов в сложных смесях парафинов с использованием газового хроматографа с программированием температуры.
При алкилировании моющих веществ фенильное соединение в фенильном исходном сырье включает бензол. Фенильное соединение в фенильном исходном сырье может являться алкилированным или другим образом замещенным производным с более высокой молекулярной массой, чем бензол, в том числе толуолом, этилбензолом, ксилолом, фенолом, нафталином и тому подобным, но эти продукты алкилирования могут оказаться менее подходящими предшественниками моющих веществ в сопоставлении с алкилированными бензолами.
Рассматриваемый способ можно разделить на этап дегидрирования, этап изомеризации и этап алкилирования. Данное изобретение не ограничивается какой-либо одной конкретной технологической схемой для этапа дегидрирования. Конфигурацию этапа дегидрирования можно составить по существу по способу, описанному в US-A-6187981 В1. Возможно использование любого подходящего катализатора дегидрирования. Катализатор может представлять собой слоистую композицию, включающую внутреннее ядро и наружный слой, связанный с внутренним ядром, где наружный слой включает жаростойкий неорганический оксид при равномерном диспергировании на нем, по меньшей мере, одного металла платиновой группы (группа VIII (IUPAC 8-10)) и, по меньшей мере, одного металла промотора, и где на композиции катализатора диспергируют, по меньшей мере, один металл-модификатор. Наружный слой связывают с внутренним ядром в той степени, в которой потери от истирания могут стать меньше 10% (мас.) при расчете на массу наружного слоя. Такая композиция катализатора описывается в документе US-A 6177381. Условия дегидрирования выбирают такими, чтобы свести к минимуму прохождение крекинга и образование полиолефиновых побочных продуктов.
Несмотря на то, что в условиях дегидрирования изомеризация скелета олефина и может иметь место, ее прохождение на этапе дегидрирования не является требованием данного изобретения, поскольку олефины подвергаются изомеризации в описанном далее в настоящем документе этапе изомеризации. Уменьшение температуры дегидрирования может свести изомеризацию скелета к минимуму. Изомеризация скелета в условиях дегидрирования обозначает изомеризацию, которая приводит к увеличению количества первичных атомов углерода в молекуле парафина или олефина. Поток моноолефинсодержащих продуктов дегидрирования с этапа дегидрирования парафинов обычно представляет собой смесь олефинов и не вступивших в реакцию парафинов, по своему скелету соответствующих парафинам, загруженным на этапе дегидрирования.
Минимальная изомеризация скелета парафинов и олефинов на этапе дегидрирования соответствует изомеризации скелета менее 15% (мол.), а предпочтительно менее 10% (мол.) парафинов и олефинов. Таким образом, если основная часть парафинов в исходном сырье будет представлять собой линейные (неразветвленные) соединения, то тогда предпочтительно, чтобы и основная часть олефинов представляла бы собой линейные (неразветвленные) олефины.
Линейные моноолефины в потоке продуктов реакции дегидрирования перепускают в зону изомеризации скелета, где происходят понижение линейности и регулирование количества первичных атомов углерода в молекулах олефинов. Изомеризация скелета молекулы может включать увеличение количества метильных групп разветвлений в алифатической цепи на 1 или 2. Поскольку общее количество атомов углерода в молекуле олефина остается тем же самым, каждая дополнительная метильная группа разветвления приводит к уменьшению алифатической цепи на один атом углерода.
Стадия изомеризации скелета в достаточной степени приводит к понижению линейности в потоке продуктов реакции дегидрирования, так что после использования при алкилировании фенилалканалкилат будет соответствовать требованиям, касающимся содержания первичных атомов углерода, селективности в отношении получения 2-фенилалканов и селективности в отношении получения внутренних четвертичных фенилалканов. Изомеризацию скелета для олефинов исходного сырья можно осуществить любым способом, известным на современном уровне техники, и при использовании любого известного катализатора. Подходящие катализаторы включают ферриерит, ALPO-31, SAPO-11, SAPO-31, SAPO-41, FU-9, NU-10, NU-23, ZSM-12, ZSM-22, ZSM-23, ZSM-35, ZSM-48, ZSM-50, ZSM-57, MeAPO-11, MeAPO-31, MeAPO-41, MeAPSO-11, MeAPSO-31, MeAPSO-41, MeAPSO-46, ELAPO-11, ELAPO-31, ELAPO-41, ELAPSO-11, ELAPSO-31, ELAPSO-41, ломонтит, канкринит, оффретит, водородную форму стильбита, магниевую или кальциевую форму морденита и магниевую или кальциевую форму партеита. Подходящие катализаторы MeAPSO-31 включают MgAPSO-31. Многие природные цеолиты, такие как ферриерит, которые характеризуются изначально пониженным размером пор, можно превратить в формы, подходящие для изомеризации скелета олефинов, в результате удаления ассоциированного щелочного металла или щелочноземельного металла благодаря проведению аммониевого ионного обмена и прокаливания с получением по существу водородной формы, как это предлагается в USA-4795623 и US-A-4924027. Однако Н-форма морденита не является подходящим катализатором для изомеризации скелета олефинового исходного сырья. Катализаторы и условия для изомеризации скелета олефинового исходного сырья описываются в US-A-5510306; US-A-5082956; и US-A-5741759. Условия изомеризации скелета включают условия, в которых, по меньшей мере, часть или все количество углеводородов вступает в контакт с катализатором изомеризации скелета в жидкой фазе. Температура изомеризации находится в диапазоне от 50 до 400°С (от 122 до 752°F). Если катализатор изомеризации будет содержать металл группы VIII (IUPAC 8-10), то тогда условия изомеризации будут включать молярное соотношение между водородом и углеводородом, большее 0,01:1.
Поток продуктов изомеризации при получении МАБ содержит слабо разветвленный моноолефин. Слабо разветвленный моноолефин обозначает моноолефин, характеризующийся общим количеством атомов углерода в диапазоне от 8 до 28, три или четыре атома углерода из которых являются первичными атомами углерода, и ни один из остальных атомов углерода не является четвертичным атомом углерода. Слабо разветвленный моноолефин может характеризоваться общим количеством атомов углерода в диапазоне от 8 до 15, предпочтительно от 10 до 15 атомов углерода, а более предпочтительно от 11 до 13 атомов углерода. Поток продуктов изомеризации характеризуется концентрацией слабо разветвленных моноолефинов, превышающей 25% (мол.).
Слабо разветвленный моноолефин в общем случае включает алифатический алкен, описываемый общей формулой (рi-алкилi)i-q-алкен, при этом наиболее длинный прямоцепочечный алифатический алкенил, включающий двойную связь углерод-углерод, обозначается как «алкен». Слабо разветвленный моноолефин также состоит из одной или нескольких алкильных групп разветвлений, присоединенных к алифатической алкенильной цепи и обозначенных соответственно как «(рi-алкилi)i» в формуле. Двойная связь располагается в алифатической алкенильной цепи между атомами углерода с номерами q и (q+1). В алифатической алкенильной цепи нумерация идет от одного конца в направлении, которое позволит присвоить атомам углерода, образующим двойную связь, наименьшие номера.
Слабо разветвленным моноолефином может являться альфа-моноолефин или винилиденовый моноолефин, но предпочтительно им является внутренний моноолефин. В соответствии с использованием в настоящей заявке термин «альфа-олефины» обозначает олефины, описываемые формулой R-CH=CH2. Термин «внутренние олефины» включает дизамещенные внутренние олефины, описываемые формулой R-CH=CH-R; тризамещенные внутренние олефины, описываемые формулой R-C(R)=CH-R; и тетразамещенные олефины, описываемые формулой R-C(R)=C(R)-R. Дизамещенные внутренние олефины включают внутренние бета-олефины, описываемые формулой R-СН=СН-СН3. В соответствии с использованием в настоящей заявке термин «винилиденовые олефины» обозначает олефины, описываемые формулой R-C(R)=CH2. В предшествующих формулах R представляет собой алкильную группу, которая может быть идентичной другой алкильной группе (группам) в каждой формуле или отличной от нее. Если слабо разветвленный моноолефин будет представлять собой внутренний моноолефин, то до тех пор, пока это будет допускаться определением термина «внутренний олефин», в образовании двойной связи могут участвовать любые два атома углерода в алифатической алкенильной цепи. Подходящие слабо разветвленные моноолефины включают октены, нонены, децены, ундецены, додецены, тридецены, тетрадецены, пентадецены, гексадецены, гептадецены, октадецены, нонадецены, эйкозены, генэйкозены, докозены, трикозены, тетракозены, пентакозены, гексакозены, гептакозены и октакозены.
В общем случае алкильная группа разветвления или алкильные группы разветвлений в слабо разветвленном моноолефине являются метильной, этильной и пропильной группами, при этом предпочтительными являются более короткие и нормальные разветвления. Предпочтительно слабо разветвленный моноолефин имеет только одну алкильную группу разветвления, но также возможны и две алкильные группы разветвлений. Слабо разветвленные моноолефины, либо имеющие две алкильные группы разветвлений, либо содержащие четыре первичных атома углерода, могут составлять менее 40% (мол.), а предпочтительно менее 30% (мол.) от общего количества слабо разветвленных моноолефинов, при этом остальные слабо разветвленные моноолефины имеют одну алкильную группу разветвления. Слабо разветвленные моноолефины, либо имеющие одну алкильную группу разветвления, либо содержащие три первичных атома углерода, могут составлять более 70% (мол.) от общего количества слабо разветвленных моноолефинов. В US-A-6187981 описываются аналитические методы определения состава смеси слабо разветвленных моноолефинов.
В дополнение к слабо разветвленному моноолефину в контакт с катализатором алкилирования могут вступать и другие ациклические соединения. Поток продуктов изомеризации или один или несколько других потоков могут вводить данные другие ациклические соединения в контакт с катализатором. Другие ациклические соединения включают неразветвленные (линейные) олефины и моноолефины, в том числе линейные и нелинейные парафины. Неразветвленные (линейные) олефины, которые могут вступать в контакт с цеолитом, могут характеризоваться общим количеством атомов углерода на одну молекулу парафина в диапазоне от 8 до 28, предпочтительно от 8 до 15, а более предпочтительно от 10 до 14 атомов углерода. Неразветвленным олефином может являться альфа-моноолефин, но предпочтительно им является внутренний моноолефин. В случае присутствия в потоке продуктов изомеризации линейного олефина совместно со слабо разветвленными моноолефинами уровень содержания линейного олефина в потоке продуктов изомеризации предпочтительно составляет величину, меньшую или равную 75% (мол.) от общего количества моноолефинов, а более предпочтительно меньшую 60% (мол.) от общего количества моноолефинов.
Вследствие возможного присутствия линейных моноолефинов совокупный поток продуктов изомеризации в среднем может содержать менее 3 или от 3 до 4 первичных атомов углерода на одну молекулу моноолефина в потоке продуктов изомеризации. В зависимости от относительных соотношений между количествами линейных и слабо разветвленных моноолефинов поток продуктов изомеризации или сумма всех моноолефинов, которые вступают в контакт с цеолитом, могут содержать от 2,25 до 4 первичных атомов углерода на одну молекулу моноолефина.
Линейные и/или нелинейные парафины, в случае их наличия, которые могут вступать в контакт с цеолитом, при посредстве потока продуктов изомеризации или без такового, могут характеризоваться общим количеством атомов углерода на одну молекулу парафина в диапазоне от 8 до 28 атомов углерода, предпочтительно от 8 до 15 атомов углерода, а более предпочтительно от 10 до 14 атомов углерода. Такие линейные и нелинейные парафины, как предполагается, не оказывают существенного влияния на протекание стадии алкилирования, а играют роль разбавителя. Однако присутствие таких разбавителей в реакторе алкилирования в общем случае в результате приводит к получению более высоких объемных расходов для технологических потоков, что может сделать необходимым использование более крупного оборудования и большего количества катализатора в контуре реакции алкилирования и более крупных установок по извлечению продукта. Поток продуктов изомеризации предпочтительно не содержит неприемлемых концентраций примесей или ядов, которые привели бы к возникновению трудностей на стадии алкилирования. Некоторые примеси можно удалить при использовании хорошо известных стадий, таких как удаление в результате проведения перегонки и селективного гидрирования для превращения полиолефинов в моноолефины. В случае проведения моноалкилирования фенильного соединения при использовании слабо разветвленного олефина поток продуктов изомеризации предпочтительно будет содержать незначительное, если вообще хоть какое-либо количество димера данного конкретного слабо разветвленного олефина.
Концентрацию моноолефинов, более высокоразветвленных в сопоставлении со слабо разветвленными моноолефинами, в потоке продуктов изомеризации предпочтительно сводят к минимуму во избежание их превращения в РАБ в результате прохождения алкилирования. Например, поток продуктов изомеризации может содержать молекулы моноолефинов, содержащие, по меньшей мере, один четвертичный атом углерода, которые при алкилировании будут иметь тенденцию приводить к получению фенилалканов, содержащих четвертичный атом углерода, который не связан с фенильной частью. Моноолефины, содержащие, по меньшей мере, один четвертичный атом углерода, предпочтительно составляют менее 10% (мол.), а более предпочтительно менее 1% (мол.) потока продуктов изомеризации или суммы всех моноолефинов, которые вступают в контакт с катализатором.
Продукт стадии изомеризации скелета включает слабо разветвленные моноолефины, и он может обеспечивать подачу олефинов в секцию алкилирования. В соответствии с этим, поток продуктов изомеризации в основном может представлять смесь не вступивших в реакцию парафинов, линейных (неразветвленных) олефинов и разветвленных моноолефинов, которые обычно попадают в диапазон C8-C28, предпочтительно в диапазон C8-C15, а более предпочтительно в диапазон С10-C15. От 20 до 60% (мол.) от общего количества моноолефинов в потоке продуктов изомеризации являются линейными (неразветвленными) олефинами. Моноалкилразветвленные олефины в потоке продуктов изомеризации предпочтительно являются монометилалкенами. Уровень содержания диалкилразветвленных олефинов в потоке продуктов изомеризации в трех вариантах реализации данного изобретения составляет величину, меньшую 30% (мол.), находящуюся в диапазоне от 10% (мол.) до 20% (мол.) и меньшую 10% (мол.) потока продуктов изомеризации. Поток продуктов изомеризации можно получить из части или аликвотной части продукта со стадии изомеризации скелета. Аликвотная часть продукта со стадии изомеризации скелета представляет собой фракцию продукта со стадии изомеризации скелета, которая по существу характеризуется тем же самым составом, что и продукт со стадии изомеризации скелета.
На этапе изомеризации олефинов помимо изомеризации олефинов также может иметь место и изомеризация скелета парафинов. Любые получающиеся в результате нелинейные парафины в потоке продуктов изомеризации перепускают совместно с нормальными (линейными) парафинами через описываемый далее в настоящей заявке этап алкилирования и отправляют на рецикл на этап дегидрирования, где они смешиваются с парафинами, поступающими вместе с парафиновым исходным сырьем. На этапе дегидрирования эти отправляемые на рецикл нелинейные парафины можно подвергать, а можно и не подвергать дегидрированию до получения моноолефинов. Уже изомеризованные парафины или уже изомеризованные парафины, превратившиеся в олефины, после этого повторно поступают на этап изомеризации олефинов, где они могут быть подвергнуты дополнительной изомеризации. Таким образом, поток продуктов изомеризации содержит смесь нелинейных парафинов и нелинейных олефинов, которые могут получаться в результате нескольких прохождений парафинов через этапы дегидрирования, изомеризации и алкилирования.
Слабо разветвленные моноолефины в потоке продуктов изомеризации вступают в реакцию с фенильным соединением. Алкилирование проходит на этапе алкилирования, состоящем из зоны реакции и зоны разделения. В данном изобретении возможно использование любой технологической схемы этапа алкилирования. Конфигурацию этапа алкилирования можно составить по существу по способу, описанному в US-A-6187981 В1. Возможно использование любого подходящего катализатора алкилирования. Катализаторы алкилирования включают цеолиты, обладающие структурой цеолита ВЕА, MOR, MTW и NES. Такие цеолиты включают морденит, ZSM-4, ZSM-12, ZSM-20, оффретит, гмелинит, бета, NU-87 и готтардиит.
Предполагается, что условия алкилирования приводят к получению минимальной изомеризации скелета слабо разветвленного моноолефина или любых других олефинов и любых парафинов в потоке продуктов изомеризации. Минимальная изомеризация скелета соответствует тому, что изомеризацию скелета претерпевают предпочтительно менее 15% (мол.), а более предпочтительно менее 10% (мол.) олефина, алифатической алкильной цепи и любого промежуточного продукта реакции. Таким образом, алкилирование предпочтительно проходит по существу в отсутствие изомеризации скелета слабо разветвленного моноолефина, и количество первичных атомов углерода в слабо разветвленном моноолефине является тем же самым, что и количество первичных атомов углерода на одну молекулу фенилалкана. Любая дополнительная метильная группа разветвления в алифатической алкильной цепи фенилалканового продукта будет приводить к незначительному увеличению количества первичных атомов углерода в фенилалкановом продукте, обусловленному количеством первичных атомов углерода в слабо разветвленном моноолефине. В заключение можно сказать, что несмотря на то, что в условиях проведения алкилирования образование 1-фенилалкана не протекает в значительных масштабах, его получение будет приводить к незначительному уменьшению количества первичных атомов углерода в фенилалкановом продукте.
Алкилирование фенильного соединения при использовании слабо разветвленных моноолефинов приводит к получению (mi-алкилi)i-n-фенилалканов, где алифатаческая алкильная группа содержит два, три или четыре первичных атомов углерода на одну молекулу фенилалкана. Алифатаческая алкильная группа может содержать три первичных атома углерода на одну молекулу фенилалкана, при этом более предпочтительно, когда на обоих концах цепи присутствуют метильные группы. В данном варианте реализации алкилирование приводит к получению монометилфенилалканов. Однако нет никакой необходимости в том, чтобы все полученные (mi-алкилi)i-n-фенилалканы характеризовались бы одним и тем же количеством первичных атомов углерода на одну молекулу фенилалкана. От 0% (мол.) до 75% (мол.), а предпочтительно от 0% (мол.) до 40% (мол.) полученных (mi-алкилi)i-n-фенилалканов могут содержать 2 первичных атома углерода на одну молекулу фенилалкана. Насколько можно большее количество, а предпочтительно от 25% (мол.) до 100% (мол.) полученных (mi-алкилi)i-n-фенилалканов могут содержать 3 первичных атома углерода на одну молекулу фенилалкана. В одном варианте реализации от 0% (мол.) до 40% (мол.) полученных (mi-алкилi)i-n-фенилалканов могут содержать 4 первичных атома углерода. Таким образом, предпочтительными являются (m-алкил)-n-фенилалканы, имеющие только одну метильную группу разветвления, и в настоящем документе они называются монометилфенилалканами. Количество первичных, вторичных и третичных атомов углерода на одну молекулу фенилалканового продукта можно определить при использовании метода считывания спектров многоимпульсного ядерного магнитного резонанса (ЯМР) высокого разрешения и метода неискаженного усиления переносом поляризации (DEPT), описанных в брошюре, озаглавленной “High Resolution Multipulse NMR Spectrum Editing and DEPT , распространяемой компанией Bruker Instruments, Inc., Мэннинг-Парк, Биллерика, Массачусетс, США.
Параметры селективности при алкилировании в отношении получения 2-фенилалканов и внутренних четвертичных фенилалканов на предшествующем уровне техники определяли при использовании двух незначительно различающихся аналитических и вычислительных методов. В US-A-6111158 и US-A-6187981 используют методы, которые в результате приводят к получению слабо различающихся селективностей. Селективности, определенные по методам, описанным в US-A-6111158, здесь и далее в настоящем документе называются упрощенными селективностями, а селективности, определенные по US-A-6187981, в настоящем документе называются селективностями (то есть без прилагательного «упрощенная»). Алкилирование фенильного соединения при использовании слабо разветвленных моноолефинов характеризуется селективностью в отношении получения 2-фенилалканов в диапазоне от 40 до 100, а предпочтительно от 60 до 100 в другом варианте реализации, и селективностью в отношении получения внутренних четвертичных фенилалканов, меньшую 10 в одном варианте реализации, а предпочтительно меньшую 5.
Четвертичные фенилалканы можно получать в результате алкилирования фенильного соединения при использовании слабо разветвленного моноолефина, содержащего, по меньшей мере, один третичный атом углерода. В зависимости от местоположения четвертичного атома углерода по отношению к концам алифатической алкильной цепи четвертичный фенилалкан может являться либо внутренним, либо концевым четвертичным соединением.
По меньшей мере, часть потока жидкого дистиллята парафиновой колонны в зоне разделения при алкилировании отправляют на рецикл на этап дегидрирования. Отправляемая на рецикл часть потока жидкого дистиллята может представлять собой аликвотную часть потока жидкого дистиллята. Способ может приводить к селективному гидрированию любых диолефинов, присутствующих в потоке продуктов дегидрирования.
Часть потока жидкого дистиллята парафиновой колонны также можно отправлять на рецикл на этап (в секцию) изомеризации, поскольку поток жидкого дистиллята парафиновой колонны может содержать моноолефины. Однако концентрация моноолефинов в потоке жидкого дистиллята парафиновой колонны в общем случае составляет величину, меньшую 0,3% (мас.).
Способ может позволить селективно удалять любые ароматические побочные продукты, присутствующие в потоке продуктов дегидрирования. Ароматические побочные продукты можно селективно удалять из потока продуктов изомеризации, потока продуктов дегидрирования, потока жидкого дистиллята парафиновой колонны, который отправляют на рецикл на этап дегидрирования, или потока продуктов селективного гидрирования диолефинов (в случае его наличия).
В одном варианте реализации способ приводит к получению композиции МАВ, содержащей фенилалканы, имеющие одну фенильную группу и одну алифатическую алкильную группу, где фенилалканы характеризуются:
(i) средней массой алифатических алкильных групп фенилалканов в диапазоне масс от С10 алифатической алкильной группы до С13 алифатической алкильной группы;
(ii) уровнем содержания фенилалканов, имеющих фенильную группу, присоединенную в положении 2 и/или 3 алифатической алкильной группы, превышающим 55% (мас.) фенилалканов; и
(iii) средним уровнем разветвления алифатических алкильных групп фенилалканов в диапазоне от 0,25 до 1,4 алкильной группы разветвления на одну молекулу фенилалкана, если сумма уровней содержаний 2-фенилалканов и 3-фенилалканов будет составлять величину, большую 55% (мас.) и меньшую или равную 85% (мас.) фенилалканов, или средним уровнем разветвления алифатических алкильных групп фенилалканов в диапазоне от 0,4 до 2,0 алкильных групп разветвлений на одну молекулу фенилалкана, если сумма концентраций 2-фенилалканов и 3-фенилалканов будет составлять величину, большую 85% (мас.) фенилалканов; и
(iv) где алифатические алкильные группы фенилалканов главным образом включают линейные алифатические алкильные группы, алифатические алкильные группы с одним разветвлением или алифатические алкильные группы с двумя разветвлениями, и где алкильные группы разветвлений, в случае их наличия, на алифатической алкильной цепи алифатических алкильных групп главным образом включают небольшие заместители, такие как метильные группы разветвлений, этильные группы разветвлений или пропильные группы разветвлений, и где алкильные группы разветвлений, в случае их наличия, присоединены в любом положении на алифатической алкильной цепи алифатических алкильных групп при том условии, что фенилалканы, содержащие в алифатической алкильной группе, по меньшей мере, один четвертичный атом углерода, составляют менее 20% фенилалканов.
Один способ получения данной композиции МАБ включает сначала дегидрирование парафинов с получением соответствующих моноолефинов. Способ включает изомеризацию моноолефинов, характеризующихся средней массой в диапазоне масс от С10 парафина до C13 парафина, с получением изомеризованных моноолефинов, характеризующихся средним уровнем разветвления в диапазоне от 0,25 до 1,4 или от 0,4 до 2,0 алкильных групп разветвлений на одну молекулу олефина. Данные изомеризованные моноолефины главным образом включают линейные моноолефины, моноолефины с одним разветвлением или моноолефины с двумя разветвлениями, и алкильные группы разветвлений, в случае их наличия, на алифатической алкильной цепи изомеризованных моноолефинов главным образом включают небольшие заместители, такие как метильные группы разветвлений, этильные группы разветвлений или пропильные группы разветвлений. Алкильные группы разветвлений изомеризованных моноолефинов можно присоединять в любом положении на алифатической алкильной цепи олефина при учете определенных ограничений, которые зависят от желательных характеристик получающихся в результате фенилалканов. Изомеризованные моноолефины обеспечивают алкилирование фенильного соединения с получением фенилалканов. Получающиеся в результате фенилалканы обладают характеристиками, заключающимися в том, что фенилалканы, имеющие фенильную группу, присоединенную в положении 2 и/или 3 алифатической алкильной группы, составляют более 55% (мас.) фенилалканов, а фенилалканы, содержащие, по меньшей мере, один четвертичный атом углерода в алифатической алкильной группе, составляют менее 20% фенилалканов.
Сульфонирование фенилалканов, полученных по способам данного изобретения, и нейтрализацию сульфонированного продукта можно осуществить по способам, описанным в US-A-6187981.
В других аспектах настоящего изобретения данное изобретение представляет собой композиции МАБ и композиции МАБС, полученные по способам, описанным в настоящей заявке. Композиции МАБ, полученные по способам данного изобретения, могут содержать смазки, и смазывающие же добавки могут содержаться в композициях МАБС, полученных по способам данного изобретения.
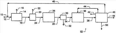
Чертеж демонстрирует компоновку для интегрированной схемы дегидрирования-изомеризации-алкилирования данного изобретения. Чертеж демонстрирует парафиновое исходное сырье, содержащее C10-C13 нормальные парафины, поступающее в технологический процесс через линию 10. Парафиновое исходное сырье объединяют с потоком парафинов, отправляемых на рецикл, содержащим С10-С13 нормальные парафины и поступающим по линии 46, с получением объединенного потока исходного сырья, поступающего по линии 12, которая ведет в секцию дегидрирования 14 для дегидрирования парафинов в олефины. Линия 16 стравливает водород, выпуская его из технологического процесса. Поток продуктов дегидрирования в линии 18 содержит С10-C13 нормальные парафины, С10-С13 нормальные моноолефины, С10-С13 нормальные диолефины и ароматические побочные продукты. Секция селективного гидрирования 20 принимает подпитывающий водород через линию 22 для селективного гидрирования диолефинов в потоке продуктов дегидрирования с получением моноолефинов и, тем самым, удалением C10-C13 нормальных диолефинов. Поток продуктов селективного гидрирования поступает через линию 24 в секцию изомеризации олефинов 26, где происходит изомеризация нормальных моноолефинов до получения слабо разветвленных моноолефинов. Поток продуктов изомеризации в линии 28 содержит C10-C13 слабо разветвленные моноолефины, C10-C13 нормальные парафины и ароматические побочные продукты. В секции удаления ароматики 30 происходит удаление ароматических побочных продуктов и исключение их из технологического процесса через линию 32. Поток продуктов секции удаления ароматики поступает через линию 34 в секцию алкилирования 52, которая включает зону реакции при алкилировании 36 и зону разделения при алкилировании 40. Как поток продуктов секции удаления ароматики, так и отправляемый на рецикл бензолсодержащий фенильный поток в линии 44 загружают в зону реакции алкилирования 36, где C10-C13 слабо разветвленные моноолефины алкилируют бензол до получения МАБ. Поток продуктов из зоны реакции алкилирования содержит бензол, C10-C13 нормальный парафин, МАБ и тяжелые алкилбензолы, такие как являющиеся побочными продуктами полиалкилбензолы. Данный поток продуктов поступает через линию 38 в зону разделения при алкилировании 40. Фенильное исходное сырье, содержащее бензол, поступает в зону разделения 40 через линию 42. В зоне разделения при алкилировании 40 происходит извлечение отправляемого на рецикл фенильного потока с подачей в линию 44, отправляемого на рецикл парафинового потока с подачей в линию 46, тяжелых алкилбензолов, исключаемых из технологического процесса через линию 50, и потока продуктов, содержащих МАБ, поступающего в линию 48.
Все ссылки в настоящем документе на группы элементов относятся к the Periodic Table of the Elements, “CRC Handbook of Chemistry and Physics”, CRC Press, Boca Raton, Florida, 80th Edition, 1999-2000.
ПРИМЕР 1
В трубку реактора, имеющую внутренний диаметр 2,22 см (7/8 дюйма), помещали 100 куб. см образца катализатора, содержащего 50% (мас.) MgAPSO-31, связанного с гамма-оксидом алюминия. Исходное сырье, состоящее из смеси, содержащей 1-додецен, пропускали над катализатором при часовой объемной скорости жидкости 5 час-1. Температуру катализатора сначала устанавливали равной 250°С (482°F), а после этого регулировали, выдерживая желательную степень превращения линейных олефинов.
Продукт анализировали при помощи газового хроматографа Hewlett Packard (HP) НР5890, оснащенного щелевым/бесщелевым устройством для ввода пробы, и использовали пламенно-ионизационный детектор (ПИД). В устройстве для ввода пробы газовый хроматограф оснащали трубкой вставного гидрогенизатора. Колонка представляла собой 50-метровую колонку Hewlett Packard HP PONA, имеющую внутренний диаметр 0,2 мм. Использовали 11-миллиметровую мембрану Restek red lite и уплотнительное кольцо HP в качестве прокладочного материала на впускном отверстии. Параметры газовой хроматографии включали: газообразный носитель водород; давление напора в колонке 138 кПа (изб.) (20 фунт/дюйм2 (изб.)); скорость течения в колонке 1 мл/мин; удержание 250 мл/мин; промывка мембраны 4 мл/мин; объем вводимой пробы 0,2 микролитра; температуру в устройстве для ввода пробы 175°С (367°F); температуру в детекторе 275°С (527°F); и программу задания температуры в печи, состоящую из выдерживания при 50°С (122°F) в течение 5 минут, линейного изменения при 3°С/мин (5°Р/мин) до 175°С (347°F) и линейного изменения при 10°С/мин (18°F/мин) до 270°С (518°F). Образец подготавливали для введения, отвешивая 4-5 мг образца в емкость автоматического пробоотборника газового хроматографа объемом 2 мл. Катализатор для гидрогенизатора получали, готовя раствор из 20 г гексагидрата нитрата никеля и 40 мл метанола. Раствор нитрата никеля медленно выливали в чашку для выпаривания на 20 г материала “Chromosorb P”, который представлял собой прокаленный диатомит, полученный из дробленого огнеупорного кирпича. Для испарения метанола смесь в чашке для выпаривания нагревали на нагревательной плитке при постоянном перемешивании до 65°С (149°F) до тех пор, пока смесь не начинала выглядеть сухой. 3 г смеси помещали в трубку вставного гидрогенизатора и выдерживали здесь, размещая на каждом конце стекловату. Для активирования катализатора газообразный носитель водород пропускали через катализатор при 60 мл/мин, а температуру увеличивали до 350°С (662°F) и катализатор подвергали обработке при данных условиях в течение 3 часов. Стандартами, требуемыми для данного способа, являлись н-декан, н-ундекан, н-додекан, н-тридекан и н-тетрадекан. Относительные позиции монометильных изомеров представлены в ранее упомянутой статье авторов Н.Schultz et al.
Продукты суммировали, разнося по пяти категориям следующим далее образом, при этом содержание каждой категории обозначали так, как это продемонстрировано в скобках: легкие продукты, характеризующиеся количествами атомов углерода, равными 11 или менее, [С11-], линейные олефины [линейные], олефины с монометильным разветвлением [моно], олефины с диметильными и этильными разветвлениями [ди] и тяжелые продукты, характеризующиеся количествами атомов углерода, соответствующими С13 или более [C13+]. Кроме того, рассчитали следующие далее критерии эксплуатационных характеристик:
Степень превращения=100·(1-([линейные]продукт/[линейные]исходное сырье))
Монометил=100·([моно]/([моно]+[ди]))
Легкие=100·([C11-]/([C11-]+[линейные]+[моно]+[ди]+[C13+]))
Тяжелые=100·([C13+]/([C11-]+[линейные]+[моно]+[да]+[C13+]))
Результаты продемонстрированы в таблице 1:
Таблица 1 Результаты |
| Степень превращения |
Монометил |
Легкие |
Тяжелые |
| 69,9 |
86,8 |
0,64 |
3,53 |
ПРИМЕР 2
Повторили пример 1 за исключением того, что исходное сырье состояло из смеси С11, C12 и С13 линейных олефинов. Исходное сырье содержало 28,7% (мол.) С11, 39,6% (мол.) C12 и 31,7% (мол.) C13. Продукт содержал олефины с монометильными разветвлениями. Распределение в продукте олефинов с монометильными разветвлениями представляло собой 30,9% (мол.) С11, 42,4% (мол.) C12 и 26,7% (мол.) С13. Данный пример демонстрирует то, что без отправления на рецикл распределение по количеству атомов углерода в олефиновом продукте с монометильным разветвлением отличается от распределения атомов углерода в исходном сырье.
ПРИМЕР 3
Способ реализовали так, как это продемонстрировано на чертеже, за исключением отсутствия отправляемого на рецикл потока парафинов, поступающего в линию 46. Парафиновое исходное сырье поступало в технологический процесс через линию 10, а МАБ извлекали в линии 48 и способ реализовали в стационарных условиях. Поток, поступающий в линию 24, характеризовался составом исходного сырья из примера 2, а поток, поступающий в линию 28, характеризовался составом продукта из примера 2. После этого начинали подачу отправляемого на рецикл потока парафинов в линию 46. Как только повторно устанавливались стационарные условия, распределение по количеству атомов углерода в алифатических алкильных группах продукта МАБ смещалось к меньшим количествам атомов углерода в сопоставлении с тем, что получали тогда, когда способ реализовали в отсутствие отправляемого на рецикл потока парафинов.
ПРИМЕР 4
Способ реализовали так, как это продемонстрировано на чертеже. Парафиновое исходное сырье поступало в технологический процесс через линию 10, а МАБ извлекали в линии 48 и способ реализовали в стационарных условиях. Поток, поступающий в линию 28, характеризовался составом, продемонстрированным в таблице 1.
ПРИМЕР 5
Исходное соединение 1-додецен подвергали изомеризации и получали поток продуктов изомеризации, содержащий смесь С12 монометил-олефинов и характеризующийся составом, продемонстрированным в таблице 2.
Таблица 2 Состав потока продуктов изомеризации |
| Олефиновый компонент |
Содержание (% (мас.)) |
| Легкие1 |
0,64 |
| Линейные олефины2 |
30,11 |
| 6-метилундецен |
7,66 |
| 5-метилундецен |
15,33 |
| 4-метилундецен |
11,82 |
| 3-метилундецен |
12,95 |
| 2-метилундецен |
8,87 |
| Другие алкилолефины3 |
9,05 |
| Тяжелые4 |
3,53 |
| Итого |
99,96 |
1Легкие включают олефины, содержащие менее 12 атомов углерода. 2Линейные олефины включают линейные С12 олефины. 3Другие алкилолефины включают диметильные, триметильные и другие С12 олефины. 4Тяжелые включают димеры и тримеры С12 олефинов. |
Поток продуктов изомеризации перемешивали с бензолом и получали объединенное исходное сырье, состоящее из 93,3% (мас.) бензола и 6,7% (мас.) потока продуктов изомеризации, что соответствовало молярному соотношению между бензолом и олефином 30:1. В цилиндрический реактор, который имел внутренний диаметр 0,875 дюйма (22,2 мм), загружали 75 куб. см (53,0 г) экструдата, полученного в примере 1 US-A-6111158.
Объединенное исходное сырье перепускали в реактор и вводили в контакт с экструдатом при часовой объемной скорости жидкости 2,0 час-1, общем давлении 500 фунт/дюйм2 (изб.) (3447 кПа (изб.)) и температуре на входе в реактор 125°С (257°F). При данных условиях реактор предварительно работал в течение периода времени продолжительностью 24 часа, а после этого в течение последующего периода времени продолжительностью 6 часов собирали первый жидкий продукт.
По завершении сбора первого жидкого продукта в течение периода времени продолжительностью 6 часов и при поступлении в реактор объединенного исходного сырья при часовой объемной скорости жидкости 2,0 час-1 и общем давлении 500 фунт/дюйм2 (изб.) (3447 кПа (изб.)) температуру на входе в реактор увеличивали от 125°С (257°F) до 150°С (302°F). Реактор предварительно работал в течение 12 часов при поступлении в реактор объединенного исходного сырья и его вхождении в контакт с экструдатом при часовой объемной скорости жидкости 2,0 час-1, общем давлении 500 фунт/дюйм2 (изб.) (3447 кПа (изб.)) и температуре на входе в реактор 150°С (302°F). При данных условиях в течение последующего периода времени продолжительностью 6 часов собирали второй жидкий продукт. Результаты для второго жидкого продукта продемонстрированы в таблице 3.
По завершении сбора второго жидкого продукта в течение 6 часов подачу объединенного исходного сырья в реактор выдерживали при часовой объемной скорости жидкости 2,0 час-1, а общее давление выдерживали на уровне 500 фунт/дюйм2 (изб.) (3447 кПа (изб.)). При данных условиях температуру на входе в реактор увеличивали от 150°С (302°F) до 175°С (347°F). Реактор предварительно работал в течение периода времени продолжительностью 12 часов при поступлении в реактор объединенного исходного сырья и его вхождении в контакт с экструдатом при часовой объемной скорости жидкости 2,0 час-1, общем давлении 500 фунт/дюйм2 (изб.) (3447 кПа (изб.)) и температуре на входе в реактор 175°С (347°F). При данных условиях в течение последующего периода времени продолжительностью 6 часов собирали третий жидкий продукт. Третий жидкий продукт анализировали по методу 13С ЯМР описанным ранее способом. В таблице 3 для третьего жидкого продукта продемонстрированы упрощенная селективность в отношении получения 2-фенилалканов и упрощенная селективность в отношении получения внутренних четвертичных фенилалканов. Селективности в отношении получения концевых четвертичных фенилалканов определяли при использовании аналитических и вычислительных методов, предложенных в US-A-6187981.
Таблица 3 Анализ жидкого продукта |
| Температура на входе в реактор, °С (°F) |
Упрощенная селективность в отношении получения 2-фенилалканов |
Упрощенная селективность в отношении получения внутренних четвертичных фенилалканов |
| 150 (302) |
66,4 |
4,6 |
| 175 (347) |
77,7 |
2,9 |
Таким образом, алкилирование в примере характеризовалось селективностью в отношении получения 2-фенилалканов в диапазоне от 40 до 100 и селективностью в отношении получения внутренних четвертичных фенилалканов, меньшей 10. Несмотря на то, что в данном примере не использовали отправления парафинов на рецикл, представляется, что если бы в соответствии с настоящим изобретением отправление парафинов на рецикл использовали, то тогда селективность в отношении получения 2-фенилалканов попала бы в диапазон от 40 до 100, а селективность в отношении получения внутренних четвертичных фенилалканов составила бы величину, меньшую 10.
Формула изобретения
1. Способ получения фенилалканов, включающий стадии: a) дегидрирование исходного сырья, содержащего C8-C28парафины, в секции дегидрирования, работающей в условиях дегидрирования, достаточных для дегидрирования парафинов, и извлечение из секции дегидрирования потока продуктов дегидрирования, содержащего моноолефины и парафины; b) пропускание, по меньшей мере, части потока продуктов дегидрирования в секцию изомеризации, работающую в условиях изомеризации, достаточных для изомеризации олефинов, и извлечения из секции изомеризации потока продуктов изомеризации, содержащего моноолефины и парафины, где моноолефины в потоке продуктов изомеризации содержат от 8 до 28 атомов углерода, и где, по меньшей мере, часть моноолефинов в потоке продуктов дегидрирования содержит 3 или 4 первичных атома углерода и не содержит четвертичных атомов углерода; c) пропускание фенильного соединения и, по меньшей мере, части потока продуктов изомеризации, содержащего моноолефины, в секцию алкилирования, эксплуатации секции алкилирования в условиях алкилирования, достаточных для алкилирования фенильного соединения при использовании моноолефинов в присутствии катализатора алкилирования с получением фенилалканов, содержащих молекулы, включающие одну фенильную часть и одну алифатическую алкильную часть, содержащую от 8 до 28 атомов углерода; где, по меньшей мере, часть фенилалканов, образованных в секции алкилирования, содержит 2, 3 или 4 первичных атома углерода и не содержит четвертичных атомов углерода за исключением любого четвертичного атома углерода, связанного связью углерод-углерод с атомом углерода фенильной части; и где алкилирование характеризуется селективностью в отношении получения 2-фенилалканов в диапазоне от 40 до 100 и селективностью в отношении получения внутренних четвертичных фенилалканов, меньшей 10; d) извлечение из секции алкилирования потока продуктов алкилирования, содержащего фенилалканы, и содержащего парафины потока, отправляемого на рецикл; и e) пропускание, по меньшей мере, части потока, отправляемого на рецикл, в секцию дегидрирования.
2. Способ по п.1, в котором, по меньшей мере, один поток, выбираемый из, по меньшей мере, части потока продуктов дегидрирования и, по меньшей мере, части потока продуктов изомеризации, содержит слабо разветвленные моноолефины, и предпочтительно, по меньшей мере, часть потока продуктов изомеризации характеризуется концентрацией слабо разветвленных моноолефинов, превышающей 25 мол.% при расчете, по меньшей мере, на часть потока продуктов изомеризации.
3. Способ по п.2, в котором, по меньшей мере, часть моноолефинов, по меньшей мере, в одном потоке, выбираемом из, по меньшей мере, части потока продуктов изомеризации и, по меньшей мере, части потока продуктов дегидрирования содержит линейные моноолефины, и предпочтительно, по меньшей мере, часть потока продуктов изомеризации характеризуется концентрацией линейных моноолефинов, меньшей или равной 75 мол.%.
4. Способ по п.2, в котором, по меньшей мере, часть моноолефинов, по меньшей мере, в одном потоке, выбираемом из, по меньшей мере, части потока продуктов дегидрирования и, по меньшей мере, части потока продуктов изомеризации содержит, по меньшей мере, один четвертичный атом углерода, и что предпочтительно, по меньшей мере, часть потока продуктов изомеризации характеризуется концентрацией олефинов, содержащих, по меньшей мере, один четвертичный атом углерода, меньшей 10 мол.%.
5. Способ по п.1, в котором фенилалканы характеризуются средней массой алифатических алкильных групп фенилалканов в диапазоне масс от С 10 алифатической алкильной группы до С 13 алифатической алкильной группы; уровнем содержания фенилалканов, имеющих фенильную группу, присоединенную в положении 2 и/или 3 алифатической алкильной группы, большим 55 мас.% фенилалканов; средним уровнем разветвления алифатических алкильных групп фенилалканов в диапазоне от 0,25 до 1,4 алкильной группы разветвления на одну молекулу фенилалкана, если сумма уровней содержания 2-фенилалканов и 3-фенилалканов будет составлять величину, большую 55 мас.% и меньшую или равную 85 мас.% фенилалканов, или средним уровнем разветвления алифатических алкильных групп фенилалканов в диапазоне от 0,4 до 2,0 алкильных групп разветвлений на одну молекулу фенилалкана, если сумма концентраций 2-фенилалканов и 3-фенилалканов будет превышать 85 мас.% фенилалканов; алифатические алкильные группы фенилалканов включают линейные алифатические алкильные группы, алифатические алкильные группы с одним разветвлением или алифатические алкильные группы с двумя разветвлениями; алкильные группы разветвлений, в случае их наличия, на алифатической алкильной цепи алифатических алкильных групп включают метальные группы разветвлений, этильные группы разветвлений или пропильные группы разветвлений; и алкильные группы разветвлений, в случае их наличия, присоединены в любом положении на алифатической алкильной цепи алифатических алкильных групп при том условии, что фенилалканы, содержащие в алифатической алкильной группе, по меньшей мере, один четвертичный атом углерода, составляют менее 20% фенилалканов.
6. Способ по п.1, в котором секция дегидрирования включает катализатор дегидрирования, содержащий, по меньшей мере, один металл группы VIII (IUPAC 8-10) и металл промотора, диспергированные на внешнем слое неорганического оксида, который связан с жаростойким неорганическим оксидом, который составляет внутреннее ядро, и при этом на катализаторе дегидрирования дополнительно диспергируют металл-модификатор.
7. Способ по п.1, в котором секция изомеризации включает катализатор изомеризации, содержащий материал носителя, выбираемый из группы, состоящей из ферриерита, SAPO-11 и MgAPSO-31.
8. Способ по п.1, в котором секция изомеризации включает катализатор изомеризации, содержащий металл группы VIII (IUPAC 8-10), и секцию изомеризации эксплуатируют в условиях изомеризации, включающих молярное соотношение между водородом и углеводородом, большее 0,01:1, и температуру в диапазоне от 50 до 400°С.
9. Способ по п.1, в котором катализатор алкилирования включает цеолит, обладающий структурой цеолита, относящегося к типу, выбираемому из группы, состоящей из BEA, MOR, MTW и NES.
10. Способ по п.1, в котором моноолефины включают монометилалкен, а фенилалканы включают монометилфенилалканы.
11. Способ по п.1, в котором, по меньшей мере, часть потока, отправляемого на рецикл, характеризуется концентрацией моноолефинов, меньшей 0,3 мас.%.
12. Композиция для получения моющего вещества, содержащая в основном модифицированный фенилалкан, полученный способом по любому из пп.1-11.
13. Композиция по п.12, дополнительно включающая смазку или смазывающую добавку.
14. Способ получения потока продуктов, содержащего фенилалкансульфонаты, в котором, по меньшей мере, часть потока продуктов алкилирования, полученных способом по п.1, вводят в контакт с сульфонирующим агентом в условиях сульфонирования, достаточных для сульфонирования фенилалканов и для получения потока продуктов сульфонирования, содержащего фенилалкансульфоновые кислоты, и, по меньшей мере, часть потока продуктов сульфонирования вводят в контакт с нейтрализующей добавкой в условиях нейтрализации, достаточных для нейтрализации фенилалкансульфоновых кислот и для получения потока продуктов нейтрализации, содержащего фенилалкансульфонаты.
15. Композиция моющего вещества, содержащая модифицированный фенилалкансульфонат, полученный способом по п.14.
РИСУНКИ
|
|