|
|
(21), (22) Заявка: 2005100862/03, 14.01.2005
(24) Дата начала отсчета срока действия патента:
14.01.2005
(30) Конвенционный приоритет:
15.01.2004 DE 102004002043.4
(43) Дата публикации заявки: 20.06.2006
(46) Опубликовано: 27.04.2009
(56) Список документов, цитированных в отчете о поиске:
DE 2657239 A1, 22.06.1978. RU 2101636 C1, 10.01.1998. SU 1589012 A1, 30.08.1990. RU 2085816 C1, 27.07.1997. DE 19845495 A1, 12.08.1999. US 4315735 A, 16.02.1982. EP 1038851 A1, 27.09.2000.
Адрес для переписки:
103735, Москва, ул. Ильинка, 5/2, ООО “Союзпатент”, пат.пов. О.Ф.Ивановой
|
(72) Автор(ы):
ПИРИНГЕР Ханнес (CH)
(73) Патентообладатель(и):
МАЕРЦ-ОФЕНБАУ АГ (CH)
|
(54) СПОСОБ ОБЖИГА ГРАНУЛИРОВАННОЙ МИНЕРАЛЬНОЙ ШИХТЫ
(57) Реферат:
Способ обжига гранулированного материала, главным образом известняка или доломита, осуществляют в печи с параллельными шахтами, которая имеет, по меньшей мере, две шахты, соединенные между собой перепускным каналом, которые действуют попеременно как шахта для обжига и как шахта для регенерационного отработанного газа с помощью обмена местами потоков газа. Для того чтобы свежий материал для обжига мог быть подан вне связи с отнимающей много времени переменой направления газовых потоков, во время которой в шахтах печи сбрасывается давление, отработанные газы отсасываются во время подачи кратковременно с повышенной интенсивностью, так что давление в области загрузочного отверстия падает до атмосферного, и таким путем может быть предотвращено вытекание газа через загрузочное отверстие. В результате гранулированный материал для обжига может подаваться несколько раз во время одного цикла отжига, так что температура отработанного газа возрастает не так быстро и возможно более длительное время обжига. Технический результат: повышение эксплуатационных качеств печи. 8 з.п. ф-лы, 4 ил.
Данное изобретение относится к способу обжига гранулированной минеральной шихты, главным образом известняка или доломита, в шахтной печи, которая имеет, по меньшей мере, две шахты, соединенные между собой перепускным каналом, и в которой с помощью периодического обмена между шахтами местом подачи топлива и воздуха для горения попеременно образуются шахта для обжига и шахта для отработанного газа с подачей сбоку верхней стороны гранулированного материала для обжига и воздуха для горения, пространственно отделенных один от другого и периодически чередующихся в каждой шахте, и с удалением обожженного материала из нижних концов шахт. В упомянутой печи отработанные газы отводятся через перепускной канал из шахты для обжига в шахту для отработанных газов, из которой после протекания через верхнюю зону подогрева они выходят на верхнюю сторону, охлаждаются и отсасываются наружной фильтровальной установкой; из нижнего конца шахт осуществляется дополнительная подача воздуха для охлаждения обожженного материала, опускающегося из зоны обжига в нижнюю зону охлаждения, а для периодической подачи гранулированного материала для обжига в соответствующую шахту для отработанного газа периодически создается соединение между упомянутой шахтой и питателем, сообщенным с атмосферой.
Шахтные печи, работающие в описанном режиме, часто упоминаются в литературе, как печи Мерца, и отличаются особо высокой экономической эффективностью по сравнению с шахтными печами иных типов. Это достигается путем обжига материала в шахте для обжига в прямом потоке и удаления горячих отработанных газов из параллельной шахты для отработанных газов в противопотоке, а также периодического обмена рабочими режимами между двумя шахтами. По причине сопротивления потоку в шахтах печи, заполненных гранулированным материалом, подлежащим обжигу, воздух для горения и охлаждающий воздух должны подаваться при ощутимом избыточном давлении, так что внутренние пространства шахт находятся под избыточным давлением, которое составляет, например, 40 кПа (400 мбар). Это избыточное давление до сих пор считалось препятствием для сообщения шахт с атмосферой во время обжига с целью подачи свежего гранулированного материала для обжига, так что для этой цели использовалось либо состояние отсутствия избыточного давления во время фазы реверса, либо предусматривались запорные системы, которые известны, например, из US 4708643 (AT 382712). Вдобавок к тому, что эти системы занимают дополнительное пространство и технически усложняют печь, они также препятствуют замерам, необходимым для точного дозирования материала, подлежащего обжигу, и для равномерной загрузки шахт печи.
Задачей данного изобретения является создание способа, который обеспечил бы значительное повышение производительности обжига и сделал бы возможной подачу свежего гранулированного материала во время обжига посредством лишь небольших конструктивных изменений в существующих печах таким образом, чтобы температуру отработанных газов можно было бы лучше контролировать, не создавая при этом помех замерам, необходимым для более точной и более равномерной подачи свежего материала для обжига.
Указанная задача достигается в соответствии с данным изобретением тем, что подача гранулированного материала для обжига в соответствующую шахту для отработанных газов выполняется во время обжига, а во время этой подачи материала для обжига отработанные газы отсасываются с повышенной интенсивностью, так что давление в области загрузочного отверстия шахты от избыточного понижается до атмосферного и тем самым предотвращается вытекание отработанных газов через загрузочное отверстие.
В предпочтительном варианте осуществления данного изобретения гранулированный материал для обжига подают в соответственно меньших дозах многократно во время фазы обжига в каждой шахте, так что колебания температуры потока отработанных газов, текущих к фильтровальной установке, уменьшаются.
Предпочтительные варианты осуществления способа, предлагаемого в данном изобретении, заявлены в зависимых пунктах формулы и очевидны из следующего описания со ссылками на чертежи.
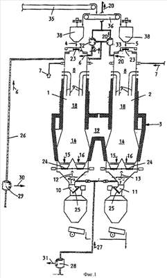
Фиг.1 – схематический вид в разрезе печи с двумя шахтами.
Фиг.2 – схема верхней части печи, изображенной на фиг.1, с фильтровальной установкой для очистки отработанных газов.
Фиг.3 – диаграмма “время – температура” для отработанных газов, текущих в фильтровальную установку.
Фиг.4 – схематический вид в разрезе верхней части шахты печи с фильтровальной установкой.
Как известно, гранулированный материал для обжига, имеющий размер зерен в диапазоне, например, от 40 до 80 мм, подают порциями в две шахты 1 и 2 печи 3, как показано стрелками 4 и 5. Воздух для горения подают, как указано стрелкой 6, а топливо подают, как указано стрелкой 7, через трубки 9, расположенные вертикально в зоне 8 подогрева, периодически чередуя подачу воздуха и топлива в каждую из шахт 1 и 2.
Вдобавок, из нижних разгрузочных элементов 10, 11 обеих шахт 1, 2 по стрелкам 12, 13 непрерывно подают охлаждающий воздух, так что после прохождения через зону 14 охлаждения обожженный продукт можно непрерывно удалять в направлении, указанном стрелками 15, 16, посредством управляемого разгрузочного устройства 24.
Нагревание гранулированного материала с помощью зоны 8 подогрева шахты 1 обжига в каждом случае происходит в соседней шахте 2 для отработанного газа, для чего газообразным продуктам сгорания дают возможность после прохождения через зону 18 горения перетекать по перепускному каналу 19 в виде отработанных газов в шахту для отработанных газов, а затем уходить вверх в направлении стрелки 20. При этих направлениях потока, показанных стрелками 6 и 20, шахта 1 представляет собой шахту для обжига, а шахта 2 – шахту для отработанных газов.
Отработанные газы из зоны 18 горения шахты 1 обжига, текущие вверх, после прохождения перепускного канала 19 в шахте 2 для отработанного газа имеют температуру, например, около 1000°С и нагревают гранулированный минеральный материал, содержащийся в этой шахте, сами (газы) при этом охлаждаясь, так что их можно отсасывать при температуре, например, 100°С в фильтровальную вытяжную установку 21, расположенную за пределами шахт 1 и 2, посредством вентилятора 22 в направлении дымовой трубы 23.
Однако по истечении определенного времени горения топливо в шахте 2 для отработанных газов нагревается до такой степени, что охлаждает отработанные газы значительно меньше, и последующая фильтровальная установка подвергается все большей и большей тепловой нагрузке. Вдобавок потери тепла печи 3 в то же время возрастают. В соответствии с известными процессами, в которых свежее топливо подается только во время периодического переключения на другой режим, операция обжига в шахте 1 обжига должна быть при этом прервана по истечении 12 минут, например, для того, чтобы переключиться на другую шахту 2.
Переход на другой рабочий режим, то есть переключение между операцией обжига в шахте 1 для обжига и регенерацией тепла в шахте 2 для отработанных газов сопровождается сбросом давления в шахтах 1, 2 печи и изменяет направления потоков топлива, воздуха для горения и отработанных газов с помощью открывания и закрывания нескольких клапанных заслонок с гидравлическим приводом и открывания и закрывания верхнего запорного элемента 23 шахты и нижних заслонок 25 шахты, чтобы подать свежий материал для обжига и удалить обожженный продукт. Для сброса давления во впускных устройствах 26 и 27 для воздуха, поддерживающего горение, и охлаждающего воздуха, которые сообщаются с соответствующими шахтами 1 и 2 в верхней и нижней частях печи, служат клапаны 28 и 29, которые позволяют выпуск воздуха в направлении стрелок 30 и 31 во время переключения рабочего режима между шахтами 1 и 2. Кроме того, для сброса давления отрываются реверсивные клапаны 32 и 33, расположенные над шахтами 1 и 2, которые избирательно позволяют впуск воздуха для горения в направлении стрелки 6 и выпуск отработанных газов в направлении стрелки 20 к фильтровальной установке 21 и тем самым в атмосферу. Затрата времени для такого переключения в существующих конструкциях составляет приблизительно одну минуту на 12-минутный цикл обжига, то есть два часа в сутки.
Для создания возможности открывания верхнего запорного элемента 23 шахты 2 для отработанных газов при избыточном давлении в шахтах 1, 2, в соответствии с данным изобретением, отработанные газы удаляют посредством всасывающего вентилятора 22, способность всасывания которого перед открыванием запорного элемента 23 и до тех пор, пока не окончится подача материала для обжига, может быть повышена в такой степени, что избыточное давление в области запорного устройства 23 упадет до нуля и, следовательно, предотвращается какое-либо перетекание отработанных газов, находящихся под избыточным давлением, через загрузочное отверстие 37 в загрузочный бункер 38 и через него.
Таким образом, на основе данного изобретения можно подавать свежий гранулированный материал для обжига независимо от описанного переключения рабочего режима соответствующей шахты 1, 2 и, следовательно, независимо от сброса давления, то есть во время циклов горения, так что прерывание операции обжига для необходимого переключения режима между шахтами 1, 2 может быть уменьшено в каждом случае до 25 секунд. В результате время горения печи 3, в настоящее время составляющее только 22 часа в сутки, можно увеличить до 23,5 часов. В настоящее время становятся возможными также более длительные циклы сгорания продолжительностью 16 минут вместо 12 минут.
В предпочтительном варианте осуществления данного изобретения гранулированный материал для обжига подают во время операции обжига неоднократно, например три раза, в течение цикла сгорания с интервалами, например в четыре минуты. Достоинство такой подачи состоит в том, что часто загружаемый свежий и, соответственно, холодный материал для обжига предотвращает дополнительное повышение температуры отработанных газов, вытекающих из шахты 2 для отработанных газов, так что максимальная температура отработанных газов становится значительно более низкой. С другой стороны, имеет место также то преимущество, что в результате подачи соответственно меньших часто вводимых доз свежего топлива минимальную температуру отработанных газов можно значительно повысить и тем самым предотвратить достижение отработанными газами точки росы, вредной для фильтровальной установки. Соответственно, на фиг.3 в сравнении с кривой 49 “температура – время”, которая соответствует загрузке с 12-минутным интервалом, то есть во время переключения рабочего режима между шахтами печи, построена более пологая кривая 48 “температура – время”, показывающая результат применения способа, предлагаемого в данном изобретении.
В результате использования данного изобретения может быть устранена дорогостоящая запорная система для подачи топлива, известная из предшествующего уровня техники, и вместо нее использована простая загрузочная система, содержащая ленты транспортера 35, 36 и два загрузочных бункера 38, которые можно опустить в соответствующие загрузочные отверстия 37. Вдобавок загрузочная система, сообщенная с атмосферой, дает возможность точного дозирования загружаемого материала относительно простым способом – путем объединения загрузочных бункеров 38 с весовым устройством 39. Кроме того, такая загрузочная система может быть связана простым образом с устройством, посредством которого можно получить более равномерное распределение зерен различных размеров в шахтах 1, 2 печи и тем самым более равномерный поток газов через столб неплотного материала.
Для шахт 1, 2 круглого поперечного сечения такое устройство для равномерного распределения зерен выполняют, например, с помощью загрузочного бункера в виде бадьи, совершающей вращательное движение вокруг своей вертикальной оси во время загрузки транспортером 36.
Устройство для равномерного распределения зерен в шахтах 1, 2 удлиненного и, например, прямоугольного поперечного сечения состоит, как схематически показано на фиг.4, из отклоняющей камеры 41 с открытым дном, в которой установлена на оси отклоняющая пластина 42. Она расположена на траектории 43, по которой зерна гранулированного материала ссыпаются с транспортера 36. Отклоняющая пластина 42 может поворачиваться вокруг горизонтальной оси 44 в наклонные положения, противоположные друг другу, так что направление, в котором зерна материала в загрузочном бункере 38 распределяются по размерам поперечно вертикальной оси бункера, меняется на обратное за счет поворота пластины 42. Направление поворота отражающей пластины 42 изменяют периодически предпочтительно через одинаковые интервалы времени, например, после каждого опорожнения загрузочного бункера 38, так что в столбе 45 неплотного материала в шахтах 1, 2 образуются последовательные слои 46, 47, имеющие противоположные картины распределения зерен поперек направления шахты. Следовательно, воздух для горения во время протекания через столб неплотного материала в шахтах 1, 2 не может далее односторонне выбирать предпочтительные пути, но распределяется равномерно.
Это мероприятие дает возможность использования шахт 1, 2 с удлиненным или прямоугольным поперечным сечением больших размеров и тем самым увеличивает пропускную способность печи. Такие шахты 1, 2 проще конструировать как сооружение. Вдобавок необходимое поперечное соединение 19 между шахтами 1, 2 может иметь значительно более простую конфигурацию по сравнению с поперечным соединением между круглыми шахтами.
Вдобавок к перепрограммированию системы управления клапанами подачи топлива и воздуха и запорными устройствами печи использование данного изобретения в уже существующих печах также требует замены вытяжного вентилятора 22 более мощным регулируемым вытяжным вентилятором, который позволил бы кратковременно повышать мощность вытяжки до необходимой величины. Соответствующая фильтровальная установка 21, пригодная для вытяжки, должна иметь, например, ряд фильтровальных пакетов 50, из которых улавливаемые пылевые компоненты падают вниз на шнековый транспортер 51, который уносит их в пылесборник 52.
Формула изобретения
1. Способ обжига гранулированной минеральной шихты, главным образом известняка или доломита, в шахтной печи, которая имеет, по меньшей мере, две шахты, соединенные между собой перепускным каналом, и которая с помощью периодической перемены мест топлива и воздуха для горения в определенном порядке в каждой из шахт поочередно образует шахту для обжига и шахту для отработанного газа с подачей с верхней стороны гранулированного материала для обжига и воздуха для горения, пространственно отделенных друг от друга и периодически чередующихся в определенном порядке в каждой из шахт, и с удалением обожженного материала из нижних концов шахт, причем в упомянутой печи отработанные газы отводятся из шахты для обжига через перепускной канал в шахту для отработанных газов, в которой после протекания через верхнюю зону подогрева они выходят на верхнюю сторону, охлаждаются и отсасываются посредством наружной фильтровальной установки, в упомянутой печи также осуществляется дополнительная подача воздуха из нижнего конца шахт для охлаждения материала для обжига, опускающегося из зоны горения в нижнюю зону охлаждения, а для периодической подачи гранулированного материала для обжига в соответствующую шахту для отработанных газов периодически создается соединение между упомянутой шахтой и загрузочным бункером, сообщающимся с атмосферой, отличающийся тем, что подача гранулированного материала для обжига в соответствующую шахту для отработанного газа происходит во время операции обжига и во время этой подачи материала для обжига отработанные газы отсасываются с повышенной интенсивностью, так что давление в области загрузочного отверстия шахты от избыточного понижается до атмосферного и, следовательно, истечение отработанных газов через загрузочное отверстие предотвращается.
2. Способ по п.1, отличающийся тем, что максимальная температура отработанных газов на выходе из шахты для отработанных газов ограничивается с помощью неоднократной подачи гранулированного материала для обжига в течение периода обжига в шахте для обжига, а максимальный период обжига увеличивается до тех пор, пока не будет достигнуто максимальное значение температуры отработанных газов.
3. Способ по п.2, отличающийся тем, что гранулированный материал для обжига подается в соответствующую шахту для отработанного газа, по меньшей мере, дважды в течение периода обжига в шахте для обжига.
4. Способ по п.1, отличающийся тем, что для достижения равномерного распределения зерна в шахте круглого поперечного сечения материал для обжига подается периодически с помощью загрузочного бункера, приводимого во вращение вокруг вертикальной оси, который во время его загрузки непрерывно вращается.
5. Способ по п.1, отличающийся тем, что в случае конструкции шахт с поперечным сечением удлиненной или прямоугольной формы разделение, которое имеет место во время загрузки бункера, по размеру гранул материала для обжига, возрастающему в одном направлении, изменяется по направлению с помощью периодического изменения направления загрузки, так что направленное распределение размера гранул изменяется по слоям в столбе неплотного материала, образующегося в шахте.
6. Способ по любому из пп.1, 4 или 5, отличающийся тем, что соответствующая доза загрузки, которая должна быть насыпана в загрузочный бункер, регулируется путем взвешивания загрузочного бункера с помощью присоединения упомянутого бункера к весовому устройству.
7. Способ по п.5, отличающийся тем, что направление возрастания размера гранул изменяется скатом, направление подачи которого изменяется на обратное посредством периодического поворота.
8. Способ по п.7, отличающийся тем, что направление подачи ската меняется на обратное после дозированного опорожнения одного из загрузочных бункеров или после неоднократного дозированного опорожнения его, так что объем слоев столба неплотного материала в шахте с распределением, направленным противоположно одно другому, соответствует объему одной или нескольких доз.
9. Способ по п.5, отличающийся тем, что два разнообразных направления загрузки ската расположены параллельно продольному направлению поперечного сечения шахты.
РИСУНКИ
|
|