|
|
(21), (22) Заявка: 2004123051/15, 27.07.2004
(24) Дата начала отсчета срока действия патента:
27.07.2004
(43) Дата публикации заявки: 27.01.2006
(46) Опубликовано: 27.04.2009
(56) Список документов, цитированных в отчете о поиске:
RU 2151097 C1, 20.06.2000. RU 2102312 C1, 20.01.1998. DE 1176100 В, 20.08.1964. JP 10245206 А, 14.09.1998. US 5211919 А, 18.05.1993. JP 08012304 А, 16.01.1996.
Адрес для переписки:
430000, г.Саранск, ул. Большевистская, 68, ГОУВПО “МГУ им. Н.П. Огарева”, отдел патентов и стандартов
|
(72) Автор(ы):
Учайкин Илья Григорьевич (RU), Дьяков Петр Филиппович (RU), Якемсев Дмитрий Владимирович (RU), Елисеев Вячеслав Васильевич (RU)
(73) Патентообладатель(и):
Государственное образовательное учреждение высшего профессионального образования “Мордовский государственный университет им. Н.П. Огарева” (RU), Открытое Акционерное Общество “Электровыпрямитель” (RU)
|
(54) УСТРОЙСТВО БАРЬЕРНОГО РАЗРЯДА
(57) Реферат:
Изобретение относится к устройствам барьерного разряда. Устройство состоит из плоских дисков электродов 3, 7, между которыми размещена разделительная перегородка 6 с зазором с обеих сторон с установленными опорами 5, размер которых определяет величину зазоров. Электроды выполнены из кремния и его окислов. Полость корпуса с помощью разделительной перегородки, выполненной в виде токопроводящего электрода, разделена на две идентичные разрядные камеры. На наружные поверхности нижнего и верхнего электродов 3, 7, покрытых токопроводящим покрытием 4, установлены металлические обкладки 2, 8 с токоотводами 9, выведенными на торцевые поверхности. Металлическая обкладка нижнего электрода посажена на дно корпуса 1, в котором на плоскости, проходящей через середину токопроводящего электрода, диаметрально-противоположно от его центра, установлены два штуцера, к оси размещения которых под углом 90° вмонтирован контактный вывод 11, прикрепленный к боковой поверхности токопроводящего электрода. Объем корпуса над верхним электродом заполнен озоностойким герметиком. Изобретение направлено на повышение концентрации озона в кислородосодержащей среде без образования в ней металлических включений, что позволяет расширить область применения озона для технологических целей. 4 з.п. ф-лы, 2 ил.
Изобретение относится к устройствам барьерного разряда в кислородосодержащей среде или воздухе и может быть использовано в промышленном производстве озонаторов.
Известна электроразрядная камера для получения озона (RU 2151097, МГЖ-7 С01В 13/11, опубл. 20.06.2000), содержащая выполненные в виде плоских параллельно расположенных электродов с несколькими отверстиями, разделительную перегородку в виде диэлектрического барьера, размещенного с зазором между электродами, а также дополнительные коронирующие элементы. В зазорах установлены ограничители, размер которых определяет величину зазора.
Недостатками данного устройства являются сложность изготовления электродной камеры и неизбежное образование в зоне разряда ионизированной среды с включениями металлов, являющимися компонентами материалов электродов, наличие которых не всегда допустимо в продукте синтеза озона, например, в медицине, технологических процессах полупроводниковых приборов и других областях применения озона.
Технический результат заключается в повышении концентрации озона в кислородосодержащей среде без образования в ней металлических включений, что позволяет расширить область применения озона для технологических целей.
Сущность изобретения заключается в том, что в устройстве барьерного разряда, состоящем из выполненных в виде плоских дисков электродов, между которыми размещена разделительная перегородка с зазором с обеих сторон с установленными опорами, размер которых определяет величину зазоров, электроды выполнены из кремния и его окислов, полость корпуса с помощью разделительной перегородки, выполненной в виде токопроводящего электрода, разделена на две идентичные разрядные камеры. На наружные поверхности нижнего и верхнего электродов, покрытых токопроводящим покрытием, установлены металлические обкладки с токоотводами, выведенными на торцевые поверхности. Металлическая обкладка нижнего электрода посажена на дно корпуса, в котором на плоскости, проходящей через середину токопроводящего электрода, диаметрально-противоположно расположенной от его центра, установлены два штуцера, к оси размещения которых под углом 90° вмонтирован контактный вывод, прикрепленный к боковой поверхности токопроводящего электрода. Объем корпуса над верхним барьерным электродом заполнен озоностойким герметиком. Соотношение диаметров металлических обкладок к диаметрам нижнего и верхнего электродов зависит от напряжения разряда. Токопроводящий электрод выполнен из диска монокристаллического n- или р-типа проводимости кремния. В качестве токопроводящего покрытия использован контактол.
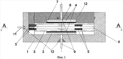
На фиг.1 показан общий вид устройства, на фиг.2 – разрез А-А.
Устройство барьерного разряда содержит корпус 1, на дне полости которого расположены последовательно неподвижно нижняя металлическая обкладка 2 и нижний электрод 3, соединенные друг с другом токопроводящим покрытием 4, в качестве которого использован контактол. По периферии нижнего электрода 3 размещены три опоры 5, на которых установлена разделительная перегородка в виде токопроводящего электрода 6, выполненного из диска монокристаллического n- или р-типа проводимости кремния. На токопроводящий электрод 6 последовательно установлены следующие три опоры 5, верхний электрод 7 и верхняя металлическая обкладка 8, соединенные друг с другом токопроводящим покрытием 4. Высота опор 5 определяет величину зазоров между верхним электродом 7, токопроводящим электродом 6 и нижним электродом 3, образуя две идентичные разрядные камеры. Соотношение диаметров металлических обкладок 2 и 8 к диаметрам нижнего 3 и верхнего 7 электродов зависит от напряжения разряда. Электроды 3 и 7 выполнены из кремния и его окислов. От нижней 2 и верхней 8 металлических обкладок отходят токоотводы 9, выведенные на торцевые поверхности корпуса 1, в котором на плоскости, проходящей через середину токопроводящего электрода 6 диаметрально-противоположно от его центра, установлены два штуцера 10, к оси размещения которых под углом 90° вмонтирован контактный вывод 11, прикрепленный к боковой поверхности токопроводящего электрода 6. Целостность конструкции устройства, изоляция контактного вывода 11 и токоотводов 9 обеспечены заливкой полости корпуса 1 озоностойким герметиком 12.
Устройство работает следующим образом. На контакты 9 и 11 подают от высоковольтного источника напряжение 10-15 кВ. Кислородосодержащая смесь подается под давлением в разрядные камеры через штуцер 10. Совмещение расположения токопроводящего электрода 6 с осью штуцера 10 с применением опор 5 дает возможность равномерно распределить поступивший газ в две одинаковые разрядные камеры между токопроводящим электродом 6 и верхним 7 и нижним 3 электродами, соответственно, что и обеспечивает повышение эффективности синтеза озона.
По сравнению с известными решениями предлагаемая конструкция устройства барьерного разряда позволяет повысить концентрацию озона в озоновоздушной или озонокислородной смеси за счет двухкамерного исполнения устройства, использования кремния и его окислов в качестве электродов обеспечивает получение продуктов синтеза озона, т.е. озоновоздушной или озонокислородной смеси без металлических примесей, что расширяет области применения озона для технологических целей, например, в полупроводниковом производстве, медицине и других отраслях.
Формула изобретения
1. Устройство барьерного разряда, состоящее из выполненных в виде плоских дисков электродов, между которыми размещена разделительная перегородка с зазором с обеих сторон с установленными опорами, размер которых определяет величину зазоров, отличающееся тем, что электроды выполнены из кремния и его окислов, полость корпуса с помощью разделительной перегородки, выполненной в виде токопроводящего электрода, разделена на две идентичные разрядные камеры, на наружные поверхности нижнего и верхнего электродов, покрытых токопроводящим покрытием, установлены металлические обкладки с токоотводами, выведенными на торцевые поверхности, при этом металлическая обкладка нижнего электрода посажена на дно корпуса, в котором на плоскости, проходящей через середину токопроводящего электрода, диаметрально-противоположно от его центра, установлены два штуцера, к оси размещения которых под углом 90° вмонтирован контактный вывод, прикрепленный к боковой поверхности токопроводящего электрода, а объем корпуса над верхним электродом заполнен озоностойким герметиком.
2. Устройство по п.1, отличающееся тем, что соотношение диаметров металлических обкладок к диаметрам нижнего и верхнего электродов зависит от напряжения разряда.
3. Устройство по п.1, отличающееся тем, что токопроводящий электрод выполнен из диска монокристаллического n-типа проводимости кремния.
4. Устройство по п.1, отличающееся тем, что токопроводящий электрод выполнен из диска монокристаллического р-типа проводимости кремния.
5. Устройство по п.1, отличающееся тем, что в качестве токопроводящего покрытия использован контактол.
РИСУНКИ
|
|