|
|
(21), (22) Заявка: 2007140938/11, 07.11.2007
(24) Дата начала отсчета срока действия патента:
07.11.2007
(46) Опубликовано: 27.04.2009
(56) Список документов, цитированных в отчете о поиске:
RU 2299174 C1, 20.05.2007. RU 2297970 C1, 27.04.2007. SU 1318510 Al, 23.06.1987. DE 60020275 T2, 11.05.2006. FR 2551041 Al, 01.03.1985.
Адрес для переписки:
129327, Москва, а/я 64, Н.А. Туленинову
|
(72) Автор(ы):
Марысаев Борис Клеоникович (RU)
(73) Патентообладатель(и):
Общество с ограниченной ответственностью “Конструкторско-технологический институт КТИ-155” (RU)
|
(54) РАМА БАШНИ БАШЕННОГО КРАНА
(57) Реферат:
Рама башни башенного крана содержит основание, выполненное из верхнего и нижнего листов, которые соединены между собой параллельно расположенными спаренными боковыми, передними и задними стенками, проушины рамы для крепления к ней стрелы, стойки, распорки, пружинного упора и тяг стойки. Рама выполнена с прикрепленной к ее нижнему листу балкой, выступающей от рамы в заднюю ее сторону. На удаленном конце балки выполнена проушина для крепления к ней опоры под стойку. Балка расположена под рамой в средней ее части. Рама выполнена с закрепленными в ее угловых частях поясами, каждый из которых внизу имеет проушину для соединения рамы с верхней секцией башни, а вверху каждый пояс имеет проушину для соединения со стойкой крана. В раме выполнены проушины для крепления к ней пружинного упора крана, расположенные над верхней поверхностью рамы, а также проушины для крепления стойки, которые расположены над поясами и соосно с ними. Рама также имеет проушины для крепления распорки, которые расположены над верхним листом и над балкой, а между балкой, на виде рамы сверху, передними, боковыми и задними стенками рамы образованы закрытые настилом и одним откидным люком проемы. Достигается повышение универсальности рамы башенного крана и ее несущей способности. 5 ил.
Данное изобретение относится к строительным башенным кранам, башни которых в их верхней части имеют рамы, с которыми связаны стрелы кранов и их противовесные консоли.
Известны рамы башен башенного крана, каждая из которых содержит основание, выполненное из верхнего и нижнего листов, которые соединены между собой параллельно расположенными спаренными боковыми, передними и задними стенками, проушины рамы для крепления к ней, соответственно, стрелы, стойки и распорки [1-5].
Из известных наиболее близким техническим решением к данному изобретению является рама башни башенного крана, содержащая основание, выполненное из верхнего и нижнего листов, которые соединены между собой параллельно расположенными спаренными боковыми, передними и задними стенками, проушины рамы для крепления к ней, соответственно, стрелы, стойки, распорки, пружинного упора и тяг стойки [4].
Данная рама башни предназначена для определенного типа башенных кранов.
Техническим результатом изобретения является повышение универсальности рамы башенного крана и ее несущей способности.
Для этого рама башни башенного крана, содержащая основание, выполненное из верхнего и нижнего листов, которые соединены между собой параллельно расположенными спаренными боковыми, передними и задними стенками, проушины рамы для крепления к ней, соответственно, стрелы, стойки, распорки, пружинного упора и тяг стойки, выполнена с прикрепленной к ее нижнему листу балкой, выступающей от рамы в заднюю ее сторону, на удаленном конце балки выполнена проушина для крепления к ней опоры под стойку, при этом балка расположена под рамой в средней ее части, рама выполнена с закрепленными в ее угловых частях поясами, каждый из которых внизу имеет проушину для соединения рамы с верхней секцией башни, а вверху каждый пояс имеет проушину для соединения со стойкой крана, в раме выполнены проушины для крепления к ней пружинного упора крана и эти проушины расположены над верхней поверхностью рамы, а также проушины для крепления стойки, которые расположены над поясами и соосно с ними, рама также имеет проушины для крепления распорки, которые расположены над верхним листом и над балкой, а между балкой, на виде рамы сверху, передними, боковыми и задними стенками рамы образованы закрытые настилом и одним откидным люком проемы.
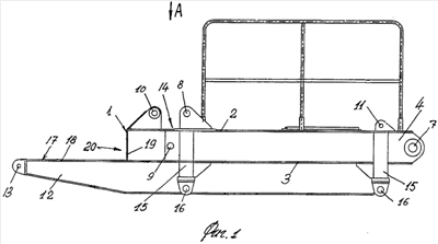
На фиг.1 показана рама башни башенного крана.
На фиг.2 – вид А на фиг.1.
На фиг.3 – рама башни в транспортном положении с закрепленными на ней элементами верхней части крана.
На фиг.4 – рама башни в транспортном положении с закрепленными на ней элементами верхней части крана в процессе ее монтажа на башне крана.
На фиг.5 – рама башни в рабочем положении с закрепленными на ней элементами верхней части крана после ее монтажа на башне.
Рама башни башенного крана содержит основание 1 (фиг.1), выполненное из верхнего и нижнего поясов (листов) 2 и 3, которые соединены между собой параллельно расположенными вертикальными боковыми стенками 4 (фиг.2), передними стенками 5 и задними стенками 6. Спереди рама имеет проушины 7 для крепления к раме стрелы, на верхней задней части рамы выполнены проушины 8 для крепления к раме стойки, в средней задней части рама имеет проушины 9 для крепления к раме распорки, на верхней задней части рама имеет проушину 10 для крепления к раме пружинного упора, в передней верхней части рама имеет проушины 11 для крепления к раме тяги стойки.
Рама выполнена с прикрепленной к ее верхнему и нижнему листам 2 и 3 балкой 12, которая простирается от передней части рамы к ее задней части таким образом, что балка 12 выходит за пределы рамы 1 в заднюю сторону от ее задних стенок 6 на расстояние, равное более половины расстояния между крайней наружной задней стенкой 6 и крайней наружной передней стенкой 5 рамы 1.
На удаленном от рамы конце балки 12 выполнена проушина 13 для крепления к балке 12 опоры под стойку верхней части крана. Балка 12 расположена под рамой 1 в средней ее части таким образом, что проушина 10 крепления пружинного упора расположена между проушинами 9 крепления распорки.
Проушина 10 для крепления пружинного упора (фиг.1) и проушины 8 для крепления стойки расположены над верхней поверхностью 14 рамы. Проушины 8 для крепления стойки расположены над задними вертикальными поясами 15 рамы, а над другими вертикальными передними поясами 15 расположены проушины 11 для крепления тяг стойки.
Вертикальные пояса 15 расположены симметрично относительно продольной и поперечной осей рамы в угловых частях рамы. Нижние концы поясов 15 имеют проушины 16 для соединения рамы 1 с верхней секцией башни крана. Центры смежных проушин 8 и 16 расположены в данном примере исполнения рамы на одной вертикальной оси. Эти центры также могут быть незначительно смещены относительно друг друга.
Проушины 9 для крепления распорки расположены между верхней поверхностью 14 рамы и верхней поверхностью 17 балки.
Верхний лист 18 балки соединен с верхним листом 2 рамы стенкой 19. Стенка 19 расположена между проушиной 10 для крепления пружинного упора и проушиной 13 опоры для крепления опоры. Стенка 19 образует между балкой 12 и рамой 1 уступ 20, высота которого равна высоте рамы 1.
Сверху рама 1 (фиг.2) имеет образованные ее боковыми, передними и задними стенками, соответственно, 4, 5 и 6, а также крестообразно расположенными перемычками 21 и 22 проемы 23, один из которых закрыт люком 24, а три другие проема закрыты настилами 25. Перемычки 21 и 22 образованы стенками 4, 5 и 6 и внутренними стенками 26-29 рамы.
На фиг.3-5 показаны в рабочем и транспортном положениях, соответственно, стойка 30, распорка 31, пружинный упор 32, тяга 33 стойки и расчалы 34 крана. Последние шарнирами соединены с соответствующими проушинами рамы. Все названные элементы (30-34) являются элементами башенного крана и не входят в конструкцию рамы. Рама 1 установлена на последней верхней секции башни 35. Вместе с названными элементами крана рама 1 представляет собой один узел, устанавливаемый на башне 35 крюком 36 и стропами 37 монтажного крана (не показан).
Стойка 30 (фиг.3) опирается в транспортном положении рамы 1 (и упомянутого узла крана в целом) на шарниром 38 прикрепленную к раме 1 откидную опору 39. В рабочем положении откидная опора 39 занимает горизонтальное положение.
Рама 1 с прикрепленной к ней балкой 12 представляет собой один отдельный сварной узел верхней части крана, передающий нагрузку от элементов 30-34 (фиг.5) верхней части крана на башню 35 крана.
Работает рама башни башенного крана следующим образом.
При изготовлении крана в заводских условиях собирают вышеупомянутый узел верхней части башенного крана, для чего с рамой 1 башни соединяют шарнирно посредством вышеупомянутых проушин рамы элементы верхней части крана, к которым относятся стойка 30, распорка 31, пружинный упор 32, тяга 33 стойки, звенья расчалов 34 крана, а также опора 39. Следует отметить, что в транспортном положении верхней части крана рама 1 и ее балка 12 воспринимают на себя нагрузку от всех упомянутых элементов верхней части крана. В этом положении все элементы верхней части крана зафиксированы на раме 1 и балке 12.
В собранном положении полученного узла (фиг.3) верхнюю часть крана транспортируют к месту монтажа башенного крана и устанавливают эту часть крана на башне 35 (фиг.4). Затем стропами 37 вытягивают вверх стойку 30 крана и все элементы верхней части крана самоустанавливаются в рабочее положение (фиг.5).
Данный эффект достигнут благодаря вышеописанным конструктивным особенностям рамы 1, имеющей проушины и форму, показанную на фиг.1 и 2, в частности благодаря, во-первых, взаимному расположению проушин рамы для шарнирного крепления к ней элементов верхней части крана, а во-вторых, благодаря оптимально возможной форме исполнения рамы, отвечающей с одной стороны условиям прочности, а с другой стороны – условиям минимизации ее металлоемкости.
При этом выполнено условие автоматической установки на раме 1 в рабочее положение всех элементов (30-34) верхней части крана от одного движения вверх монтажного стропа 37 (фиг.4 и 5).
Источники информации
1. RU 2258664 С2, 20.08.2005.
2. SU 405807 А1, 01.01.1973.
3. GB 1385113, 26.02.1975.
4. RU 2299174 С1, 20.05.2007 (прототип).
5. RU 94021633 А1, 10.09.1996.
Формула изобретения
Рама башни башенного крана, содержащая основание, выполненное из верхнего и нижнего листов, которые соединены между собой параллельно расположенными спаренными боковыми, передними и задними стенками, проушины рамы для крепления к ней, соответственно, стрелы, стойки, распорки, пружинного упора и тяг стойки, отличающаяся тем, что она выполнена с прикрепленной к ее нижнему листу балкой, выступающей от рамы в заднюю ее сторону, на удаленном конце балки выполнена проушина для крепления к ней опоры под стойку, при этом балка расположена под рамой в средней ее части, рама выполнена с закрепленными в ее угловых частях поясами, каждый из которых внизу имеет проушину для соединения рамы с верхней секцией башни, а вверху каждый пояс имеет проушину для соединения со стойкой крана, в раме выполнены проушины для крепления к ней пружинного упора крана и эти проушины расположены над верхней поверхностью рамы, а также проушины для крепления стойки, которые расположены над поясами и соосно с ними, рама также имеет проушины для крепления распорки, которые расположены над верхним листом и над балкой, а между балкой, на виде рамы сверху, передними, боковыми и задними стенками рамы образованы закрытые настилом и одним откидным люком проемы.
РИСУНКИ
TK4A – Поправки к публикациям сведений об изобретениях в бюллетенях “Изобретения (заявки и патенты)” и “Изобретения. Полезные модели”
Напечатано: (73) Общество с ограниченной ответственностью «Конструкторско-технологический институт КТИ-155» (RU)
Следует читать: (73) Общество с ограниченной ответственностью «Конструкторско-технологический институт -155» (RU)
Номер и год публикации бюллетеня: 12-2009
Код раздела: FG4A
Извещение опубликовано: 20.05.2010 БИ: 14/2010
PC4A – Регистрация договора об уступке патента СССР или патента Российской Федерации на изобретение
Прежний патентообладатель:
Общество с ограниченной ответственностью “Конструкторско-технологический институт-155”
(73) Патентообладатель:
Закрытое акционерное общество “Строительное управление 155″
Договор № РД0063994 зарегистрирован 29.04.2010
Извещение опубликовано: 10.06.2010 БИ: 16/2010
|
|