|
|
(21), (22) Заявка: 2006103080/11, 31.03.2004
(24) Дата начала отсчета срока действия патента:
31.03.2004
(30) Конвенционный приоритет:
03.07.2003 EP 03015047.8
(43) Дата публикации заявки: 27.06.2006
(46) Опубликовано: 27.04.2009
(56) Список документов, цитированных в отчете о поиске:
US 4043430 А, 23.08.1977. FR 2695632 Al, 18.03.1994. RU 2009905 C1, 30.03.1994. JP 2000016725 A, 18.01.2000.
(85) Дата перевода заявки PCT на национальную фазу:
03.02.2006
(86) Заявка PCT:
CH 2004/000196 20040331
(87) Публикация PCT:
WO 2005/003013 20050113
Адрес для переписки:
103735, Москва, ул. Ильинка, 5/2, ООО “Союзпатент”, пат.пов. И.М.Захаровой
|
(72) Автор(ы):
РОССИНЬОЛЬ Эрик (CH)
(73) Патентообладатель(и):
ИНВЕНЦИО АГ (CH)
|
(54) ЛИФТ С ВСТРОЕННЫМ В КРЫШУ КАБИНЫ ЭЛЕКТРООБОРУДОВАНИЕМ
(57) Реферат:
Изобретение относится к подъемному оборудованию. Лифт (1) с установленной с возможностью движения в шахте (2) кабиной (3), состоящей, в основном, из пола (4), боковых стенок (5а, 5b) и крыши (7). Крыша (7) кабины имеет встроенный в нее приборный отсек (7а), используемый для размещения деталей электрооборудования (8) кабины. Приборный отсек (7а) занимает участок крыши кабины и расположен вдоль бокового ограничения этой крыши кабины, причем это боковое ограничение проходит под прямым углом к ограничению, которое придано главному входу (6а) кабины. Указанный отсек размещен слева или справа, если смотреть со стороны главного входа (6а), и занимает менее 1/3 поверхности крыши кабины. 2 н. и 7 з.п. ф-лы, 3 ил.
Изобретение относится к лифту с встроенным в крышу кабины электрооборудованием и к способу монтажа лифта согласно ограничительной части независимых пунктов формулы.
Лифт включает в себя установленную с возможностью движения в шахте кабину. Кабина состоит, в основном, из пола, боковых стенок, по меньшей мере, одной двери и крыши. Доступ в кабину происходит в нормальном режиме работы лифта через этажный вход и вход кабины.
Как правило, в зоне крыши кабины расположены различные, необходимые для эксплуатации лифта электрические или электромеханические приборы и устройства. Этими приборами и устройствами являются, например, устройства управления дверью, блоки для обработки информации о шахте и/или для контроля двери, приборы для эксплуатации лифта в сервисном режиме, коммуникационные приборы, энергоаккумулирующие приборы, детали освещения кабины и/или кабельные соединения или процессоры для управления другими функциональными узлами. Эти приборы и устройства образуют детали электрооборудования кабины. Сервисный режим служит для движения кабины в шахте в целях его обслуживания или аналогичных задач. В сервисном режиме лифтом можно управлять с крыши кабины. Необходимые для этого элементы управления также расположены в зоне крыши кабины. Другие электрические компоненты, например индикаторы, реле вызова кабины, датчики измерения нагрузки или другие детали электрооборудования кабины, такие как привод двери или датчики контроля пространства, расположены в отношении своих функций в других местах на или в кабине.
В US 4043430 раскрыт также закрепленный на крыше кабины бокс. Бокс включает в себя детали привода двери и дает место для электрооборудования кабины. Бокс снабжен съемной крышкой, выполненной с возможностью хождения по ней. Бокс придает крыше кабины дополнительную прочность. Недостатки этого решения следующие:
– бокс установлен на кабине лифта и требует дополнительную конструктивную высоту;
– для того чтобы ходить по крыше кабины, необходимо перешагивать через бокс, или образуются ступеньки, которые затрудняют работу, в частности хождение по крыше кабины;
– монтажные затраты велики, поскольку бокс только при монтаже кабины на стройплощадке монтируют и соединяют кабелями;
– крышку бокса снимают для обслуживания. Это повышает риск возникновения несчастных случаев, когда мастер стоит на кабине при снятой крышке или когда крышка при последующих рейсах кабины не установлена.
В JP 2000-16725 раскрыта кабина, электрооборудование которой расположено в отсеках ее крыши. Электрооборудование кабины при этом доступно для техобслуживания сверху через люки или снизу за счет откидывания средней зоны крыши кабины или изнутри кабины. Задачей этого изобретения является создание крыши кабины, которая не содержит выступающих узлов электрооборудования кабины.
Недостатки этого решения состоят в том, что нельзя обнаружить обслуживание лифта в сервисном режиме, и что при открытом техническом люке мала поверхность крыши кабины, по которой можно ходить.
Задачей настоящего изобретения является расположение необходимого для эксплуатации кабины электрооборудования таким образом, чтобы
– обеспечить обслуживание кабины в сервисном режиме;
– кабина имела достаточно большие опорные поверхности;
– кабина не требовала дополнительную конструктивную высоту;
– кабину можно было смонтировать с небольшими затратами;
– в самой значительной степени снизить риск возникновения несчастных случаев.
К тому же электрооборудование кабины должно быть расположено экономично и в целях обслуживания иметь простой, надежный и быстрый доступ.
Приведенные в формуле изобретения решения выполняют эту задачу.
В качестве первичной функции крыша кабины закрывает пассажирское помещение кабины вверх. Она воспринимает усилия, необходимые для придания жесткости всему корпусу кабины. У самонесущих кабин крыша воспринимает дополнительно необходимую долю усилий для передачи тяговых усилий. Одновременно она служит обслуживающему персоналу в качестве опорной поверхности при проведении сервисных работ внутри шахты. В направлении пассажирского помещения она служит в качестве держателя возможных элементов дизайна потолка или сама образует видимую пассажирами крышу кабины. Для выполнения этих первичных функций крыша кабины должна быть выполнена с необходимой прочностью. Для этого крыша кабины выполнена, как правило, в виде ванны. Высота ванны обеспечивает отвечающее прочности выполнение крыши кабины для осуществления первичных функций. Крыша кабины занимает за счет этого пространство, определяемое площадью основания крыши кабины или кабины, умноженной на высоту ванны крыши кабины. Часть образующегося за счет этого пространства крыши кабины используется для расположения деталей электрооборудования кабины. Эта часть пространства крыши кабины называется приборным отсеком.
Согласно изобретению приборный отсек, используемый для расположения деталей электрооборудования кабины, расположен вдоль внешнего ограничения крыши кабины или вдоль края крыши кабины. Пространство крыши кабины имеет в зоне края крыши кабины крепежные точки, необходимые для закрепления деталей электрооборудования кабины. Пространство крыши кабины, образованное конструкцией крыши, используется за счет этого оптимально и не требует никакого дополнительного конструктивного пространства. Монтажные затраты на электрооборудование кабины резко сокращаются, поскольку крыша кабины с электрооборудованием может быть снабжена электропроводкой и оснащена на заводе-изготовителе в наиболее подходящем окружении. Соответствующие затраты отпадают, эффективность издержек продукта повышается, в особенности потому, что функционирование электрооборудования кабины может быть в значительной степени проверено на заводе-изготовителе.
Для решения указанной задачи предлагается лифт с установленной с возможностью движения в шахте кабиной, состоящей, в основном, из пола, боковых стенок и крыши, причем крыша кабины имеет встроенный в нее приборный отсек, используемый для размещения деталей электрооборудования кабины, приборный отсек занимает участок крыши кабины и расположен вдоль бокового ограничения этой крыши кабины, причем это боковое ограничение проходит под прямым углом к ограничению, которое придано главному входу кабины. Указанный отсек размещен слева или справа, если смотреть со стороны главного входа. В целях обслуживания по крыше кабины можно за счет этого легко ходить, используя этажный вход, поскольку в зоне главного входного проема не расположено больших деталей электрооборудования кабины и за счет этого по крыше кабины можно свободно ходить. Зона крыши кабины, выполненная для размещения электрооборудования кабины, предпочтительным образом ограничена участком, составляющим менее 1/3 соответствующего размера кабины или менее 1/3 поверхности крыши кабины. Если электрооборудование кабины расположено на боковом ограничении крыши кабины, то приборный отсек, используемый для размещения электрооборудования, занимает предпочтительным образом менее 1/3 ширины кабины. За счет этого расположения остальная поверхность крыши кабины имеет достаточную опорную поверхность для обеспечения мастеру достаточно большого рабочего места.
Согласно одному предпочтительному варианту осуществления изобретения приборный отсек закрыт крышкой, выполненной с возможностью открывания посредством поворота или сдвига или с возможностью снятия. Крышка, используемая для закрывания электрооборудования кабины, в закрытом состоянии образует плоскую поверхность с примыкающей поверхностью крыши кабины и/или крышка выполнена с возможностью хождения по ней. Крышка, используемая для закрывания электрооборудования кабины, имеет вырез, который обеспечивает доступ к элементам управления или другим элементам, необходимым для сервисного режима, без необходимости открывания крышки. Дополнительное электрооборудование кабины, которое должно быть размещено в соответствии с функциями или по эксплуатационным соображениям вне приборного отсека, расположено вдоль края крыши кабины. Электрооборудование кабины содержит, в частности, детали, обеспечивающие обмен данными между кабиной и блоком управления лифтом, и/или детали, контролирующие состояние безопасности дверей, и/или детали, служащие для подачи сигнала тревоги, и/или элементы управления, которые служат для сервисного режима лифта, и/или отделение для размещения избыточной длины кабеля. Элементы управления содержат детали или элементы обслуживания, служащие для управления лифтом в сервисном режиме и/или обеспечивающие переключение с нормального режима на сервисный режим и/или подключение сервисных инструментов. Дополнительное электрооборудование кабины содержит детали, служащие для непосредственного управления или привода двери кабины, и/или осветительные элементы, служащие мастеру для освещения обслуживаемого участка, и/или элементы контроля, которые при наличии лиц на крыше кабины прерывают нормальную эксплуатацию лифта.
Для решения указанной задачи предлагается способ монтажа лифта с установленной с возможностью перемещения в шахте кабиной, состоящей, в основном, из пола, боковых стенок, и крыши, причем крыша кабины снабжена встроенным в нее приборным отсеком, используемым для размещения деталей электрооборудования кабины, приборный отсек располагают на участке крыши кабины вдоль бокового ограничения этой крыши кабины, проходящего под прямым углом к ограничению, которое придано главному входу кабины, причем указанный отсек размещают слева или справа, если смотреть со стороны главного входа, и этот отсек занимает менее 1/3 поверхности крыши кабины.
На нижеследующих чертежах в качестве примера описан возможный вариант осуществления изобретения:
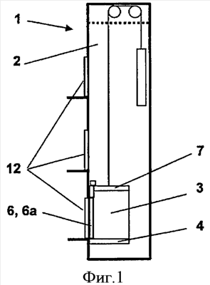
– фиг.1: пример расположения лифта;
– фиг.2: в перспективе крышу кабины с расположенным сбоку приборным отсеком;
– фиг.3: подробный вид крыши кабины с расположенным сбоку закрытым приборным отсеком и смонтированным дополнительным электрооборудованием кабины.
Лифт 1 состоит, как показано в качестве примера на фиг.1, из кабины 3, установленной с возможностью движения в шахте 2 вдоль, в основном, вертикальной оси. Кабина служит, главным образом, для перемещения пассажиров и/или грузов. Кабина 3 состоит из пола 4, боковых стенок 5а, 5b, передней стенки с входом 6, задней стенки и крыши 7. Доступ в кабину обеспечивается через, по меньшей мере, один вход 6 и этажные входы 12. Если кабина 3 имеет более одного входа 6, то определяют главный вход 6а. Кабина 3 в изображенном примере соединена тяговыми средствами с противовесом и движется посредством привода. Расположение привода не является решающим для изобретения, а кабина может быть выполнена также в виде самоходного транспортного средства.
Крыша 7 замыкает кабину 3 вверх (фиг.2 и 3). Крыша 7 выполнена с возможностью хождения по ней в целях обслуживания. В изображенном примере крыша имеет высоту h 7-12 см. Боковые ограничения крыши 7 образованы краями 7sh, 7sl, 7sr, 7sv. В направлении пассажирского помещения крыша 7 закрыта. Эта сторона служит для размещения элементов оформления потолка по выбору заказчика. Закрытый, как правило, вниз потолок образует вверх вместе с краями 7sh, 7sl, 7sr, 7sv крыши ванну, имеющую высоту h потолка кабины. Эта ванна образует пространство крыши кабины, соответствующее произведению высоты h, ширины b и глубины t (h×b×t). Это пространство крыши кабины разделено на отсеки. Отсек 7а расположен, согласно изобретению, вдоль края 7sh, 7sl, 7sr, 7sv крыши кабины или вдоль внешнего ограничения крыши 7. Отсек 7а может быть при этом расположен в зависимости от вида выполнения крыши 7 на выбор вдоль заднего края 7sh, переднего края 7sv или бокового края 7sl, 7sr.
В отсеке 7а расположены детали электрооборудования 8 кабины, необходимые для ее эксплуатации. Электрооборудование 8 кабины содержит, например, приборы и устройства, такие как кабинные компьютеры 8с, обеспечивающие передачу данных от кабины к блоку управления лифтом, дверные компьютеры 8а, проверяющие состояние безопасности дверей, коммуникационные элементы 8d, служащие, например, для подачи сигнала тревоги, клеммы и гнезда для вставки кабелей, а также отделение для размещения избыточной длины кабелей или блоки электроснабжения и т.д. В соответствии с требованиями в отсеке 7а расположены также элементы 8b управления, которые служат для управления лифтом в сервисном режиме.
Расположение отсека 7а для размещения электрооборудования кабины вдоль внешнего ограничения крыши 7 обеспечивает экономичное выполнение электрооборудования 8, поскольку не требуется использовать собственные боксы. Остальное пространство крыши кабины может быть предпочтительно использовано для придания жесткости крыше или для размещения освещения кабины и т.д. Расположение электрооборудования 8 в отсеке 7а обеспечивает оптимальное и экономичное изготовление всей крыши 7 на заводе-изготовителе. Она может быть снабжена там проводкой и проверена в виде блока. Монтаж на стройплощадке за счет этого оптимизирован, а подверженность сбоям из-за неправильной разводки уменьшена.
В одном предпочтительном варианте осуществления изобретения отсек 7а, используемый для размещения деталей электрооборудования 8 кабины, расположен вдоль бокового ограничения 7sl, 7sr крыши, причем это боковое ограничение 7sl, 7sr проходит под прямым углом к ограничению, которое придано главному входу 6а кабины. Отсек 7а для размещения электрооборудования 8 кабины, расположенный, если смотреть из главного входа 6а на кабину 3 или на ее крышу, слева 7sl или справа 7sr вдоль боковой ограничительной линии крыши кабины, отвечает критериям простой доступности. Хождение по крыше 7 возможно без помех, а риск возникновения несчастных случаев снижен.
В одном примере отсек 7а, используемый для размещения деталей электрооборудования 8 кабины, занимает менее 1/3 поверхности крыши. За счет этого имеется достаточно большая остальная поверхность крыши 7 для обеспечения мастеру необходимой рабочей опорной поверхности. В примере на фиг.2 отсек 7а для размещения электрооборудования 8 кабины, проходит, в основном, по всей глубине t кабины и занимает по ширине примерно 1/4 ширины кабины или 100-300 мм. Эти размеры обеспечивают достаточно места для расположения электрооборудования 8 кабины и одновременно оптимальное, отвечающее прочности выполнение крыши 7.
Отсек 7а для размещения электрооборудования 8 кабины может быть закрыт крышкой 9. Крышка 9 посредством шарнира предпочтительным образом прочно соединена вдоль одной стороны с крышей 7. Крышка 9 может быть открыта движением поворота (фиг.2). За счет этого электрооборудование 8 кабины в закрытом состоянии крышки 9с защищено, а в открытом состоянии 9c может быть просто и надежно доступно с целью обслуживания. Крышка 9 образует к тому же непосредственную защиту электрооборудования 8 кабины во время транспортировки крыши 7 с завода-изготовителя к стройплощадке. На выбор изготовителя также возможны другие виды открывания, например сдвижная или съемная крышка 9.
Контроль закрытого положения крышки 9 осуществляется предпочтительным образом электрически. Контроль препятствует допуску лифта 1 к нормальной эксплуатации, пока крышка 9 не находится в закрытом положении. Безопасность обслуживающего персонала за счет этого дополнительно повышается. В случае необходимости крышка 9 может быть заперта в закрытом положении 9с. Это препятствует несанкционированному доступу к электрооборудованию 8 кабины и предупреждает, тем самым, в том числе, случаи вандализма и повреждения.
Крышка 9 выполнена предпочтительным образом с возможностью хождения по ней. Она обладает необходимой для этого жесткостью и в случае необходимости выполнена с противоскользящей структурой, например рифленым листом, как это определено в DIN 59220. Мастер может использовать образованную крышкой поверхность в качестве дополнительной опорной поверхности. Она выполнена нескользящей и устойчивой. К тому же крышка 9 в закрытом состоянии расположена предпочтительным образом в одной плоскости с остальной крышей. За счет этого при закрытой крышке 9 вся поверхность 7 крыши кабины служит мастеру в качестве рабочей платформы, и он может надежно и в удобном положении выполнять необходимые в шахте сервисные работы. Поскольку закрытая крышка не образует ступеньку к остальной крыше, снижен также риск несчастного случая вследствие спотыкания.
На фиг.3 видно, что остальная площадь основания кабины использована для расположения аварийного выхода 10. Изображенное расположение аварийного выхода 10 обеспечивает надежную эвакуацию запертых в кабине пассажиров через крышу 7. Такой аварийный выход требуется в определенных случаях, например, стандартом EN-81.
Как видно на фиг.2 и 3, крышка 9, используемая для закрывания электрооборудования 8 кабины, имеет вырез 9а, который обеспечивает доступ к элементам 8b управления или другим элементам, необходимым для сервисного режима, без необходимости открывания крышки 9. Сервисное обслуживание лифта, в частности инспектирование шахтового помещения, может быть проведено за счет этого быстро. Опасные состояния предотвращены, поскольку токоведущие детали электрооборудования 8 кабины остаются закрытыми. Это расположение элементов 8b управления в отсеке 7а обеспечивает также оптимальное и экономичное изготовление всей крыши 7 на заводе-изготовителе. Она может быть снабжена там проводкой и проверена в виде блока. Монтаж на стройплощадке за счет этого оптимизирован, а подверженность сбоям из-за неправильной разводки уменьшена.
Дополнительное электрооборудование 11 кабины, размещаемое в отношении функций или по эксплуатационным соображениям вне отсека 7а, расположено вдоль края 7sh, 7sl, 7sr, 7sv крыши кабины. Дополнительное электрооборудование 11 содержит, например, детали, служащие для непосредственного управления или привода 11b двери кабины, и/или осветительные элементы 11а, служащие мастеру для освещения обслуживаемого участка, и/или элементы 11с контроля, которые при наличии лиц на крыше кабины прерывают нормальную эксплуатацию лифта. Эта возможность расположения особенно предпочтительна, поскольку приборы в соответствии со своей функцией могут быть расположены в подходящем положении, а расположение вдоль края крыши кабины существенно не влияет на опорную поверхность для обслуживающего персонала. В качестве идеального места монтажа используют определяемое приводом 13 двери ограничение 7sv кабины. Прежде всего, служащее приводу дверей дополнительное электрооборудование 11b кабины расположено, тем самым, функционально вблизи места своего использования.
Зная настоящее изобретение, специалист может произвольно изменять описанные размеры и расположения. Например, он может разделить пространство кабины крыши на много участков, он может снабдить крышкой дополнительные участки, или приборный отсек, может проходить при боковом расположении только на части глубины кабины.
Формула изобретения
1. Лифт (1) с установленной с возможностью движения в шахте (2) кабиной (3), состоящей, в основном, из пола (4), боковых стенок (5а, 5b) и крыши (7), причем крыша (7) кабины имеет встроенный в нее приборный отсек (7а), используемый для размещения деталей электрооборудования (8) кабины, приборный отсек (7а) занимает участок крыши кабины и расположен вдоль бокового ограничения этой крыши кабины, причем это боковое ограничение проходит под прямым углом к ограничению, которое придано главному входу (6а) кабины, отличающийся тем, что указанный отсек размещен слева или справа, если смотреть со стороны главного входа (6а), и занимает менее 1/3 поверхности крыши кабины.
2. Лифт по п.1, отличающийся тем, что приборный отсек (7а) закрыт крышкой (9), выполненной с возможностью открывания посредством поворота или сдвига или с возможностью снятия.
3. Лифт по п.2, отличающийся тем, что крышка (9), используемая для закрывания электрооборудования (8) кабины, в закрытом состоянии (9с) образует плоскую поверхность с примыкающей поверхностью крыши кабины, и/или крышка (9) выполнена с возможностью хождения по ней.
4. Лифт по п.2, отличающийся тем, что крышка (9), используемая для закрывания электрооборудования (8) кабины, имеет вырез (9а), который обеспечивает доступ к элементам (8b) управления или другим элементам, необходимым для сервисного режима, без необходимости открывания крышки (9).
5. Лифт по п.1, отличающийся тем, что дополнительное электрооборудование (11) кабины, которое должно быть размещено в соответствии с функциями или по эксплуатационным соображениям вне приборного отсека (7а), расположено вдоль края (7sh, 7sl, 7sr, 7sv) крыши кабины.
6. Лифт по одному из пп.1-5, отличающийся тем, что электрооборудование (8) кабины содержит, в частности, детали (8 с), обеспечивающие обмен данными между кабиной и блоком управления лифтом, и/или детали (8d), контролирующие состояние безопасности дверей, и/или детали (8а), служащие для подачи сигнала тревоги, и/или элементы (8b) управления, которые служат для сервисного режима лифта (1), и/или отделение для размещения избыточной длины кабеля.
7. Лифт по п.6, отличающийся тем, что элементы (8b) управления содержат детали или элементы обслуживания, служащие для управления лифтом (1) в сервисном режиме и/или обеспечивающие переключение с нормального режима на сервисный режим и/или подключение сервисных инструментов.
8. Лифт по п.5, отличающийся тем, что дополнительное электрооборудование (11) кабины содержит детали (11b), служащие для непосредственного управления или привода двери кабины, и/или осветительные элементы (11а), служащие мастеру для освещения обслуживаемого участка, и/или элементы (11с) контроля, которые при наличии лиц на крыше кабины прерывают нормальную эксплуатацию лифта.
9. Способ монтажа лифта (1) с установленной с возможностью перемещения в шахте (2) кабиной (3), состоящей, в основном, из пола (4), боковых стенок (5а, 5b) и крыши (7), причем крыша кабины снабжена встроенным в нее приборным отсеком (7а), используемым для размещения деталей электрооборудования (8) кабины, приборный отсек (7а) располагают на участке крыши (7) кабины вдоль бокового ограничения (7sl, 7sr) этой крыши кабины, проходящего под прямым углом к ограничению, которое придано главному входу (6а) кабины, отличающийся тем, что указанный отсек размещают слева или справа, если смотреть со стороны главного входа, причем этот отсек занимает менее 1/3 поверхности крыши кабины.
РИСУНКИ
|
|