|
|
(21), (22) Заявка: 2006121785/11, 19.06.2006
(24) Дата начала отсчета срока действия патента:
19.06.2006
(43) Дата публикации заявки: 10.01.2008
(46) Опубликовано: 27.04.2009
(56) Список документов, цитированных в отчете о поиске:
RU 2151086 С1, 20.06.2000. RU 2191148 С2, 20.10.2002. US 5253827 A, 19.10.1993. US 3814350 A, 04.06.1974.
Адрес для переписки:
141070, Московская обл., г. Королев, ул. Ленина, 4а, ОАО “РКК “Энергия” им. С.П. Королева”, отдел интеллектуальной собственности
|
(72) Автор(ы):
Терешина Алла Владимировна (RU)
(73) Патентообладатель(и):
Открытое акционерное общество “Ракетно-космическая корпорация “Энергия” имени С.П. Королева” (RU)
|
(54) УСТРОЙСТВО ФИКСАЦИИ И ВЫДВИЖЕНИЯ ПОЛЕЗНОЙ НАГРУЗКИ ИЗ КОСМИЧЕСКОГО АППАРАТА
(57) Реферат:
Изобретение относится к развертываемым на орбите элементам ракетно-космических систем. Устройство содержит наружный и внутренний корпуса, а также систему выдвижения внутреннего корпуса. К консольному концу внутреннего корпуса присоединена полезная нагрузка. Узлы фиксации этого конца в наружном корпусе выполнены в виде трех или более, равномерно расположенных между указанными корпусами треугольных стержневых конструкций. Плоскость каждой из этих конструкций перпендикулярна оси устройства, а одной стороной данная конструкция шарнирно прикреплена к одному из корпусов. В противолежащей вершине конструкция снабжена подпружиненным штоком со сферой на свободном конце. Шток расположен в полости и зафиксирован в ней при помощи чеки. Сфера взаимодействует с ответным гнездом на другом корпусе. Данным исполнением устройства обеспечена возможность извлечения полезной нагрузки из неразъемного наружного корпуса космического аппарата, а также относительное осевое перемещение внутреннего отсека и наружного корпуса (в том числе в зоне дополнительной транспортировочной опоры). Техническим результатом изобретения является значительное снижение деформирующих сил, возникающих в наружном и внутреннем силовых контурах устройства, например, от тепловых или изгибных воздействий на конструкцию. 10 ил.
Изобретение относится к области ракетно-космической техники и предназначено для использования в развертываемых на орбите космических аппаратах (КА), в том числе в процессе их выведения на орбиту.
Известно устройство для выдвижения полезной нагрузки из КА по патенту Российской Федерации 2191148 от 18.12.2000. Данное устройство включает в себя систему взаимодействующих между собой рельсов и роликов, установленных соответственно на наружном корпусе КА и полезной нагрузке, которые вместе с приводом обеспечивают выдвижение полезной нагрузки из КА.
Недостатком такого устройства является высокий уровень некомпенсированных поперечных нагрузок на внутренний отсек при транспортировке и на участке выведения космического аппарата.
Также известно устройство фиксации и выдвижения полезной нагрузки из КА по патенту Российской Федерации 2151086, взятое за прототип. Данное устройство содержит наружный корпус с крышкой, внутренний корпус, представляющий собой ложемент в виде каретки, на одном из концов которой установлена полезная нагрузка, узлы фиксации этой нагрузки от поперечных перемещений относительно наружного корпуса, систему выдвижения внутреннего корпуса с полезной нагрузкой. Кроме того, устройство включает узлы центрирования полезной нагрузки относительно наружного корпуса и систему контроля выдвижения полезной нагрузки.
В данном устройстве узел транспортировочной фиксации полезной нагрузки относительно корпуса предлагается выполнять в двух вариантах:
– либо в виде регулируемых опор, размещенных попарно, симметрично в резьбовых отверстиях верхней части корпуса и соответствующих опорных площадок, смонтированных на внешней поверхности полезных нагрузок;
– либо в виде рамки со шпильками, размещенной в верхней плоскости корпуса и закрепленной на нем таким образом, что шпильки размещены с возможностью взаимодействия с соответствующими отверстиями, выполненными в элементах силовой конструкции полезной нагрузки.
Такое исполнение вышеупомянутого устройства для транспортировки и отделения полезной нагрузки от космического объекта позволяет уменьшить уровень поперечных перегрузок, воздействующих на полезную нагрузку, как в процессе наземной транспортировки, так и при выведении ее в космическое пространство в составе ракетно-космического модуля. Обеспечивается такой эффект путем создания дополнительной опоры для консольного конца внутреннего корпуса путем использования силового контура наружного корпуса. Такая дополнительная опора для внутреннего корпуса выполняет свои функции до момента расстыковки узлов фиксации.
Основным недостатком вышеупомянутого устройства по патенту являются трудности с обеспечением взаимных продольных перемещений внутреннего корпуса относительно наружного в зонах узлов транспортировочной фиксации, особенно при одновременном воздействии на корпуса поперечных и крутящих сил. Происходит это из-за высокой вероятности закусывания фиксирующих элементов при одновременном воздействии вышеназванных сил, в результате чего в конструкциях обоих корпусов, а значит и полезной нагрузки, возникают дополнительные деформирующие конструкцию силы.
Целью настоящего изобретения является обеспечение беспрепятственных взаимных продольных перемещений внутреннего и наружного корпусов устройства фиксации и перемещения ПН из КА, в том числе и в зонах расположения узлов транспортировочной фиксации, при сохранении их силовой связи в плане восприятия крутящих моментов и поперечных сил.
Данная цель достигается тем, что в устройстве фиксации и выдвижения полезной нагрузки из космического аппарата, содержащем наружный корпус, внутренний корпус, к одному из концов которого, являющемуся консольным, присоединена полезная нагрузка, узлы фиксации консольного конца внутреннего корпуса в наружном корпусе, систему выдвижения внутреннего корпуса, в отличие от прототипа узлы фиксации выполнены в виде трех и более, равномерно расположенных между наружным и внутренним корпусами треугольных опорных элементов, плоскость каждого из которых перпендикулярна оси устройства, одной стороной каждый опорный элемент двумя своими вершинами шарнирно прикреплен к одному из корпусов, а в противолежащей вершине снабжен расположенным в полости и зафиксированным в ней при помощи чеки подпружиненным штоком со сферой на свободном конце, при этом сфера взаимодействует с ответным радиальным гнездом на другом корпусе.
Техническим результатом является возможность значительно снизить величину дополнительных деформирующих конструкцию сил, возникающих в наружном и внутреннем силовых контурах устройства, например, от тепловых или изгибных воздействий на конструкцию.
Сущность изобретения поясняется чертежами, представленными на фигурах:
фиг.1 – общий вид устройства фиксации и выдвижения полезной нагрузки из КА в транспортном положении;
фиг.2 – сечение А-А;
фиг.3 – сечение Б-Б;
фиг.4 – сечение Б-Б – фиксирующие узлы в сложенном положении;
фиг.5 – выносной элемент В;
фиг.6 – сечение Г-Г;
фиг.7 – выносной элемент В (зона взаимодействия фиксирующего элемента с гнездом в наружном корпусе при радиальном перемещении);
фиг.8 – выносной элемент Д (фиксирующий узел и его отклонение в ходе продольных перемещений внутреннего корпуса относительно наружного в транспортном положении);
фиг.9 – выносной элемент Д (фиксирующий узел после выхода фиксирующего элемента из гнезда);
фиг.10 – сечение Ж-Ж.
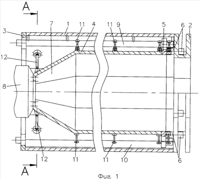
Устройство фиксации и выдвижения полезной нагрузки из КА содержит наружный корпус 1, выполненный, например, в виде корпусного отсека с опорным 2 и стыковочным 3 шпангоутами, а также внутренний корпус 4 со своим стыковочным шпангоутом 5. В исходном, т.е. транспортировочном, положении КА стыковочный шпангоут 5 внутреннего корпуса 4 крепят к опорному шпангоуту 2 наружного корпуса 1 посредством специальных разрывных замков 6, а к противоположному консольному концу 7 внутреннего корпуса 4 стыкуют полезную нагрузку 8. Корпуса 1 и 4 соосны. Для выдвижения внутреннего корпуса 4 вместе с полезной нагрузкой 8 из наружного корпуса 1 предусмотрена система выдвижения, выполненная в виде установленных на наружном корпусе 1 продольных направляющих 9 и 10, с которыми взаимодействуют закрепленные на корпусе 4 ролики 11. В транспортировочном положении КА консольный конец 7 внутреннего корпуса 4 дополнительно опирается на наружный корпус 1 посредством равномерно расположенных трех или более узлов фиксации 12. Каждый из узлов фиксации 12 выполнен, например, в виде треугольной стержневой конструкции, плоскость которой лежит в перпендикулярной оси устройства плоскости. Ось устройства совпадает с осями корпусов 1 и 4. Одновременно каждый узел фиксации 12 одной из своих сторон 13 прилегает к внутреннему корпусу 4 и закреплен на нем шарнирно посредством осей 14, установленных на кронштейнах 15. Оси 14 перпендикулярны радиальному направлению к оси устройства. В противолежащей вершине 16 каждого из узлов фиксации 12 размещен фиксирующий элемент, выполненный в виде расположенного в полости 17 штока 18 с пружиной 19 и сферой 21, которая расположена на обращенном к наружному корпусу 1 конце 20 штока 18. Сфера 21 в транспортировочном положении внутреннего корпуса 4 взаимодействует с ответным радиальным гнездом 22 в наружном корпусе 1. Шток 18 первоначально фиксируется посредством разрезной чеки 23, что одновременно удерживает пружину 19 в сжатом состоянии (см. фиг.5, 6). Кроме того, к каждому из узлов фиксации 12 в зоне его шарнирного крепления к внутреннему корпусу 4 присоединена пружина 24, притягивающая этот элемент к внутреннему корпусу в направлении от полезной нагрузки 8. На вершине 16 каждого из узлов фиксации 12 установлена скоба 25, а на внутреннем корпусе 4 – соответствующий ей ловитель 26 с гнездом 27 и подпружиненными стопорами 28.
При выведении КА в космическое пространство вплоть до наступления момента выдвижения полезной нагрузки 8 внутренний выдвигаемый корпус 4 опирается на наружный корпус 1 КА с помощью узлов фиксации 12. При осуществлении продольных перемещений корпусов 1 и 4 относительно друг друга (см. фиг.8) фиксирующие узлы 12 прокачиваются относительно своих осей 14 в ту или иную сторону в зависимости от направления перемещения, одновременно с этим происходит перемещение сфер 21 каждого из подпружиненных штоков 18 в соответствующих радиальных гнездах 22 наружного корпуса 1. Для перевода внутреннего корпуса 4 с установленной на нем полезной нагрузкой 8 из транспортировочного положения в положение для выдвижения поочередно извлекают разрезные чеки 23 из каждого фиксирующего узла 12. После этого штоки 18 фиксирующих узлов 12 под действием освободившихся пружин 19 смещаются в сторону внутреннего корпуса 4 в радиальном направлении к оси устройства, одновременно извлекая имеющиеся на них сферы 21 из соответствующих радиальных гнезд 22 наружного корпуса 1. Тем самым силовая связь фиксирующих узлов 12 с отсеком 1 устраняется, и каждый из освободившихся узлов 12 под действием соответствующей пружины 24 поворачивается относительно оси 14 своих кронштейнов 15 до попадания скобы 25 в соответствующее гнездо 27 ловителя 26, в котором скоба фиксируется подпружиненными стопорами 28 (см. фиг.9, 10). В результате вышеописанных действий дополнительная силовая связь внутреннего корпуса 4 с наружным корпусом 1 исчезает, и после срабатывания разрывных замков 6 внутренний корпус 4 может быть выдвинут из наружного корпуса 1. Выдвижение внутреннего корпуса 4 с закрепленной на нем полезной нагрузкой 8 из корпуса 1 осуществляется посредством роликов 11, перемещающихся по направляющим 9 и 10 до упора стыковочного шпангоута 5 корпуса 4 в стыковочный шпангоут 3 корпуса 1.
Таким образом, предлагаемое устройство сохраняет одно из главных положительных качеств прототипа, то есть по-прежнему позволяет снижать уровень поперечных перегрузок, воздействующих на полезную нагрузку в процессе ее транспортирования в составе ракетного космического модуля, в том числе в космическое пространство. Это свойство как в прототипе, так и в заявляемом устройстве обеспечивается за счет создания дополнительной силовой опоры консоли внутреннего корпуса на наружный корпус КА. Одновременно предлагаемое устройство обеспечивает преимущества по сравнению с прототипом: во-первых, позволяет обезопасить конструкцию КА от дополнительных деформирующих конструкцию сил, возникающих в ней в результате тепловых и изгибных воздействий, что достигается за счет придания дополнительной силовой опоре способности не препятствовать взаимным продольным перемещениям внутреннего и наружного отсеков; во-вторых, обеспечивает возможность выдвигать внутренний отсек вместе с полезной нагрузкой из неразъемного наружного корпуса КА, это, в свою очередь, осуществляется за счет придания дополнительной опоре, состоящей из нескольких фиксирующих узлов, способности быть автономно разобранной для укладки на один из корпусов КА.
Формула изобретения
Устройство фиксации и выдвижения полезной нагрузки из космического аппарата, содержащее наружный корпус, внутренний корпус, к одному из концов которого, являющемуся консольным, присоединена полезная нагрузка, узлы фиксации консольного конца внутреннего корпуса в наружном корпусе, систему выдвижения внутреннего корпуса, отличающееся тем, что узлы фиксации выполнены в виде трех или более равномерно расположенных между наружным и внутренним корпусами треугольных стержневых конструкций, плоскость каждой из которых перпендикулярна оси устройства, причем одной стороной каждая из указанных конструкций шарнирно прикреплена к одному из корпусов, а в противолежащей вершине снабжена расположенным в полости и зафиксированным в этой полости при помощи чеки подпружиненным штоком со сферой на свободном конце, при этом сфера взаимодействует с ответным гнездом на другом корпусе.
РИСУНКИ
|
|