|
|
(21), (22) Заявка: 2007108170/11, 05.03.2007
(24) Дата начала отсчета срока действия патента:
05.03.2007
(43) Дата публикации заявки: 10.09.2008
(46) Опубликовано: 27.04.2009
(56) Список документов, цитированных в отчете о поиске:
RU 2092398 С1, 10.10.1997. RU 2268207 С2, 20.01.2006. RU 2092398 С1, 10.10.1997. US 5823477 A, 20.10.1998. JP 2000-130971 A, 12.05.2000.
Адрес для переписки:
662972, Красноярский край, ЗАТО Железногорск, г. Железногорск, ул. Ленина, 52, ФГУП НПО ПМ, Р.П. Туркеничу
|
(72) Автор(ы):
Тестоедов Николай Алексеевич (RU), Косенко Виктор Евгеньевич (RU), Бартенев Владимир Афанасьевич (RU), Кесельман Геннадий Давыдович (RU), Близневский Александр Сергеевич (RU), Халиманович Владимир Иванович (RU), Акчурин Владимир Петрович (RU), Загар Олег Вячеславович (RU), Томчук Альберт Владимирович (RU), Туркенич Роман Петрович (RU), Попов Василий Владимирович (RU), Юровских Андрей Петрович (RU), Шилкин Олег Валентинович (RU), Сергеев Юрий Дмитриевич (RU), Голованов Юрий Матвеевич (RU), Роскин Сергей Михайлович (RU), Шилов Владимир Николаевич (RU), Дюдин Александр Евгеньевич (RU), Юртаев Евгений Владимирович (RU)
(73) Патентообладатель(и):
Федеральное государственное унитарное предприятие “Научно-производственное объединение прикладной механики им. акдемика М.Ф. Решетнева” (RU)
|
(54) СПОСОБ КОМПОНОВКИ КОСМИЧЕСКОГО АППАРАТА
(57) Реферат:
Изобретение относится преимущественно к телекоммуникационным спутникам с мощностью энергопотребления на уровне 1-2,5 кВт. Согласно изобретению космический аппарат (спутник) выполняют из двух модулей: полезной нагрузки и служебных систем. Приборы устанавливают на внутренних обшивках их радиаторов – сотовых панелей. В эти панели напротив области размещения приборов встроены испарительные зоны горизонтально расположенных прямых и Г-образных нерегулируемых тепловых труб. В этой области данные зоны присоединены своими полками к внутренней обшивке панелей. Зоны конденсации указанных труб размещают в областях панелей, свободных от приборов. Радиаторы размещают в плоскостях, перпендикулярных к осям, соответствующим северной и южной сторонам аппарата. При этом противоположно расположенные панели радиаторов размещают на заранее определенном минимально возможном, из условий установки приборов, расстоянии друг от друга. Более теплонапряженные приборы размещают в нижней области панелей, в которых применены Г-образные нерегулируемые тепловые трубы. Полки зон конденсации данных тепловых труб выполняют обращенными к наружным обшивкам и присоединяют к ним. Указанные зоны размещают в окраинных областях панелей, свободных от приборов. Технический результат изобретения состоит в снижении массы и достижении приемлемой конфигурации вышеуказанных спутников. 4 ил.
Изобретение относится к космической технике, в частности к телекоммуникационным спутникам, и создано авторами в порядке выполнения служебного задания.
В настоящее время отечественные телекоммуникационные спутники, предназначенные для использования на геостационарной орбите, запускают на указанную орбиту с космодрома «Байконур».
В современных условиях весьма актуальна задача дальнейшего снижения общих материальных и финансовых затрат, израсходуемых на каждый спутник, функционирующий на геостационарной орбите, и предпочтительно, чтобы их запускали на указанную орбиту с отечественного космодрома «Плесецк».
Для решения вышеуказанной задачи необходимо усовершенствовать компоновку вновь разрабатываемых спутников, чтобы обеспечивалось одновременное выведение с космодрома «Плесецк» на рабочие орбиты с помощью ракеты-носителя типа «Союз-2» плюс разгонного блока «Фрегат», например, двух-трех спутников с мощностью энергопотребления 1-2,5 кВт.
Анализ показал, что, если такие спутники скомпоновать на основе известных технических решений, приведенных в патенте Российской Федерации 2092398 [1] и источнике: Jean J. Dechezelles, Dietric E Koelle “Design and application of the AS/MBB Spacebus Family” – AJAA 11 Communication Sattelite Sistems, March 17-20, 1986, pp.688 – 696. РЖ 41, 1986, реф. 10.41.125-10.41.126 (Платформа КА S В – 44) [2], такая задача не выполнима, т.к. из-за их сложной конфигурации массы спутников получаются неприемлемо большими.
Следовательно, вновь разрабатываемый спутник для решения вышеуказанной задачи должен иметь такую компоновку, чтобы обеспечивалось существенное упрощение конструкции и уменьшение массы ее при одновременном гарантировании высокого качества изготовления и высокой надежности при длительном сроке орбитального функционирования спутника.
Анализ источников информации по патентной и научно-технической литературе показал, что наиболее близким по технической сути прототипом предлагаемого технического решения является способ компоновки КА [1], выполненного из модулей полезной нагрузки и служебных систем, в которых приборы КА устанавливают на радиаторах – сотопанелях, в которых встроены нерегулируемые тепловые трубы, размещенные на северной (+Z) и южной (-Z) сторонах КА. В известном прототипе не приведено решение, обеспечивающее получение компактной конструкции КА с приемлемой, относительно низкой массой.
Целью предлагаемого авторами технического решения является устранение вышеперечисленных существенных недостатков.
В результате всестороннего детального анализа этой проблемы авторами установлено, что минимально возможная масса спутника с приемлемой требуемой конфигурацией реализуется при выполнении в процессе компоновки следующего комплексного технического решения.
Все приборы должны быть размещены на внутренних обшивках установленных на северной и южной сторонах спутника и находящихся как можно ближе друг к другу радиаторов, выполненных из алюминиевых сотовых панелей с встроенными алюминиевыми прямыми и Г-образными нерегулируемыми тепловыми трубами (с резервированием), каждая имеющая по одной зоне конденсации и испарения (исходя из опыта в настоящее время нерегулируемые алюминиевые тепловые трубы самые высоконадежные и имеют низкую относительную массу по сравнению с другими типами тепловых труб: если прямая нерегулируемая тепловая труба (или П-образная тепловая труба) имеет две зоны конденсации, расположенные по разные стороны от зоны испарения, то одна из зон конденсации может переполниться жидкой фазой и эффективная работа тепловой трубы нарушается (см. в книге Чи С «Тепловые трубы: теория и практика» – перевод с английского Сидорова В.Я. М., «Машиностроение», 1981, стр.65).
При этом зоны конденсации тепловых труб должны быть размещены в зоне расположения боковых окраин, где не должны устанавливаться тепловыделяющие приборы.
Теплонапряженные приборы (например, твердотельные усилители) должны быть расположены в нижней области панелей радиаторов и от них избыточное тепло должно отводиться Г-образными нерегулируемыми тепловыми трубами (при этом реализуется выгодное расположение зон конденсации: они будут находиться в окраинных зонах выше зон испарения, что важно при наземных испытаниях).
Для обеспечения минимально возможного расстояния между панелями радиаторов, в частности, спутник должен быть выполнен состоящим из двух модулей: модуля полезной нагрузки (МПН) и модуля служебных систем (МСС) – это потребует минимально возможного расстояния между панелями для обеспечения замены (или ремонта) некондиционных приборов, в основном обнаруживающихся при автономных испытаниях МПН и МСС.
В результате близкого расстояния между панелями радиаторов уменьшаются затраты массы на конструкцию и на кабели, а также улучшается взаимный теплообмен между приборами и поверхностями панелей радиаторов, расположенными на разных сторонах, в результате чего уменьшается степень различия рабочих температур приборов, что благоприятно сказывается на их работе.
Толщины панелей радиаторов должны быть минимально возможными – это значит, что толщины тепловых труб также должны быть минимально возможными и они должны иметь в испарительной зоне полку, обращенную к внутренней обшивке панели, на которой установлен тепловыделяющий прибор, а в зоне конденсации полка должна быть обращена к внешней обшивке.
Кроме того, расположение полок таким образом снижает перепад температур между зонами испарения и конденсации и повышает среднюю температуру излучения поверхности радиатора, тем самым снижая потребную площадь радиаторов и дополнительно снижая их массу.
Кроме того, наружные поверхности тепловых труб в зонах напротив полок выполнены с выступами, имеющими плоскую поверхность для обеспечения эффективной тепловой связи с поверхностью обшивки и далее с поверхностью излучения, что также способствует повышению температуры излучающей поверхности и снижению потребной площади радиаторов.
Таким образом, поставленная авторами цель – скомпоновать КА с обеспечением минимально возможной массы и приемлемой требуемой конфигурации его – согласно техническому решению авторов достигается использованием такого способа компоновки КА, что противоположно расположенные панели радиаторов размещают на заранее определенном минимально возможном расстоянии друг от друга, при этом более теплонапряженные приборы размещают в нижней области панелей, в которых применяют Г-образные нерегулируемые тепловые трубы, причем полки зон конденсации тепловых труб выполняют обращенными к наружным обшивкам и присоединяют к ним с размещением указанных зон в окраинных областях панелей, свободных от приборов, что и является, по мнению авторов, существенными отличительными признаками предлагаемого авторами технического решения.
В результате анализа, проведенного авторами известной патентной и научно-технической литературы, предложенное сочетание существенных отличительных признаков заявляемого технического решения в известных источниках информации не обнаружено и, следовательно, известные технические решения не проявляют тех же свойств, что в заявляемом изобретении.
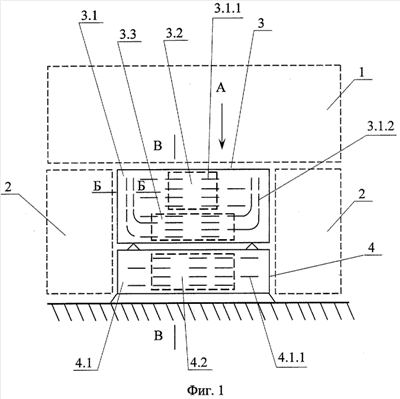
По предлагаемому способу (см. фиг.1, 2, 3, 4, где 1 – зона размещения антенны; 2 – зона размещения панелей солнечных батарей (показано в сложенном положении на участке выведения на орбиту); 3 – МПН; 4 – МСС; 3.1 – радиатор МПН; 4.1 – радиатор МСС; 3.1.1, 4.1.1 – прямые тепловые трубы; 3.1.2 – Г-образные тепловые трубы; 3.2, 4.2 – зона размещения нетеплонапряженных приборов; 3.3 – зона размещения теплонапряженных приборов; 3.4 (4.4) – приборы; 3.1.3 (4.1.3) – наружная (внешняя) обшивка панели радиаторов; 3.1.4 (4.1.4) – внутренняя обшивка панели радиаторов; 3.1.1.1 (4.1.1.1) (3.1.2.1) – зоны испарения; 3.1.1.2 (4.1.1.2) (3.1.2.2) – зоны конденсации; 3.1.5 – оптический солнечный отражатель; 3.5 (4.5) -теплоизоляция) компоновку КА, например телекоммуникационного спутника с потребляемой энергетической мощностью 2 кВт с длительным сроком эксплуатации на орбите (15 и более лет), выполняют следующим образом: КА выполняют состоящим из двух модулей: модуля полезной нагрузки 3 и модуля служебных систем 4, и приборы 3.4 (4.4) устанавливают на внутренних обшивках 3.1.4 (4.1.4) их радиаторов 3.1 (4.1) – сотовых панелей с встроенными в них напротив области размещения приборов испарительными зонами 3.1.1.1 (4.1.1.1) (3.1.2.1) горизонтально расположенных прямых 3.1.1 (4.1.1) и Г-образных 3.1.2 нерегулируемых тепловых труб, присоединенными в этой области полками 3.1.1.3 (4.1.1.3) (3.1.2.3) к внутренней обшивке 3.1.4 (4.1.4) панелей, с размещением зон конденсации 3.1.1.2 (4.1.1.2) (3.1.2.2) труб в областях панелей, свободных от приборов, при этом радиаторы размещают в плоскостях, перпендикулярных к осям +Z (северная сторона КА) и -Z (южная сторона КА) аппарата.
Противоположно расположенные панели радиаторов размещают на заранее определенном минимально возможном расстоянии друг от друга (см. выше), при этом более теплонапряженные приборы (в частности, МПН) размещают в нижней области панелей, и в этой области применяют Г-образные нерегулируемые тепловые трубы, причем полки 3.1.1.4 (4.1.1.4) (3.1.2.4) зон конденсации тепловых труб выполняют обращенными к наружным обшивкам 3.1.3 (4.1.3) и присоединяют к ним с размещением указанных зон в окраинных областях панелей, свободных от приборов.
Работа скомпонованного по предложенному способу космического аппарата происходит следующим образом.
На участках выведения аппаратов в рабочие точки геостационарной орбиты включены замещающие электрообогреватели, размещенные на внутренней обшивке вблизи установки приборов, и требуемая температура их обеспечивается соответствующим компенсирующим теплоподводом от электрообогревателей.
После выведения аппаратов в рабочие точки и их соответствующей ориентации включаются в работу приборы 3.4 (4.4) согласно штатной циклограмме: основная величина избыточного тепла от приборов передается испарителям 3.1.1.1 (4.1.1.1) (3.1.2.1) тепловых труб, затем – к их конденсаторам и далее передается наружной обшивке панели радиатора (при этом часть избыточного тепла передается от внутренней обшивки наружной обшивке), и суммарная величина тепла излучается в космическое пространство.
В настоящее время разработана окончательная компоновка вновь разрабатываемого телекоммуникационного спутника.
В процессе компоновки спутника были рассмотрены различные варианты компоновки спутника с использованием известных технических решений по этому вопросу и предложенного авторами способа и установлено, что в случае использования предложенного способа приемлемая конфигурация спутника и снижение его массы достигаются в результате:
1) максимально возможного сближения друг с другом радиаторов МПН и МСС: это расстояние определяется высотой приборов, установленных на внутренних обшивках панелей, и минимально необходимым дополнительным расстоянием для замены некондиционных приборов;
2) расположением теплонапряженных приборов (в частности, МПН) в нижней части радиаторов и отсутствием приборов в районах окраин радиаторов;
3) применением нерегулируемых тепловых труб и расположением их зон испарения горизонтально (относительно Земли);
4) каждая тепловая труба имеет одну зону конденсации;
5) применяют тепловые трубы, у которых полка в зоне испарения обращена в сторону внутренней обшивки, на которой установлены приборы, а в зоне конденсации полка трубы обращена в сторону внешней обшивки (транспортная зона труб для обеспечения размещения в структуре сотовой панели – между двумя параллельными обшивками – соответствующим образом погнута на небольшую величину), что обеспечивает, с одной стороны, минимально возможную толщину сотовой панели и минимально возможную массу собственно тепловой трубы при обеспечении уменьшения массы (площади) радиатора в результате повышения средней температуры излучения внешней поверхности внешней обшивки.
Таким образом, как видно из вышеизложенного, в результате разработки компоновки вновь создаваемого спутника по предложенному авторами техническому решению обеспечиваются требуемая конфигурация и уменьшение его массы до приемлемой величины, т.е. тем самым достигаются цели изобретения.
Формула изобретения
Способ компоновки космического аппарата, включающий выполнение аппарата из двух модулей: полезной нагрузки и служебных систем, установку приборов на внутренних обшивках их радиаторов – сотовых панелей, в которые напротив области размещения приборов встроены испарительные зоны горизонтально расположенных прямых и Г-образных нерегулируемых тепловых труб, присоединенные в этой области своими полками к внутренней обшивке панелей, причем зоны конденсации указанных труб размещают в областях панелей, свободных от приборов, а указанные радиаторы размещают в плоскостях, перпендикулярных к осям +Z и -Z, соответствующим северной и южной сторонам аппарата, отличающийся тем, что противоположно расположенные панели радиаторов размещают на заранее определенном минимально возможном расстоянии друг от друга, при этом более теплонапряженные приборы размещают в нижней области панелей, в которых применены Г-образные нерегулируемые тепловые трубы, а полки зон конденсации данных тепловых труб выполняют обращенными к наружным обшивкам и присоединяют к ним, размещая указанные зоны в окраинных областях панелей, свободных от приборов.
РИСУНКИ
|
|