|
|
(21), (22) Заявка: 2007127709/11, 12.12.2005
(24) Дата начала отсчета срока действия патента:
12.12.2005
(30) Конвенционный приоритет:
20.12.2004 FR 0413553
(46) Опубликовано: 27.04.2009
(56) Список документов, цитированных в отчете о поиске:
WO 2004/039672 А1, 13.05.2004. US 2938683 А, 31.05.1960. DE 4119334 А1, 17.12.1992. US 5285634 А, 15.02.1994. RU 2151714 А, 27.06.2000.
(85) Дата перевода заявки PCT на национальную фазу:
20.07.2007
(86) Заявка PCT:
FR 2005/003100 20051212
(87) Публикация PCT:
WO 2006/067295 20060629
Адрес для переписки:
129090, Москва, ул.Б.Спасская, 25, стр.3, ООО “Юридическая фирма Городисский и Партнеры”, пат.пов. А.В.Мицу, рег. 364
|
(72) Автор(ы):
ЗАККАРИА Патрик (FR), ФУЭРТЕ Мари-Пьер (FR)
(73) Патентообладатель(и):
ЭРБЮС ФРАНС (FR)
|
(54) УСТРОЙСТВО ДЛЯ ВЫДАЧИ РАЗРЕШЕНИЯ ДЛЯ ВОЗДЕЙСТВИЯ НА РАБОЧИЙ РЕЖИМ ДВИГАТЕЛЯ ЛЕТАТЕЛЬНОГО АППАРАТА И СИСТЕМА УПРАВЛЕНИЯ ДВИГАТЕЛЕМ, СОДЕРЖАЩАЯ ЕГО
(57) Реферат:
Группа изобретений относится к авиационной технике. Предложенное устройство для выдачи разрешения для воздействия содержит четыре средства. Первое средство предназначено для определения конкретных параметров, относящихся к летательному аппарату, в том числе положения сектора газа, управляющего подачей топлива в двигатель. Второе средство предназначено для определения на основании указанных конкретных параметров, находится ли летательный аппарат в состоянии, разрешающем воздействие на рабочий режим двигателя, и для выдачи, при необходимости, соответствующего разрешающего сигнала. Третье средство предназначено для определения того, выполняются ли нижеследующие условия: другой двигатель летательного аппарата является неисправным, другой двигатель выключен и разрешающий сигнал выдан для другого двигателя. Четвертое средство предназначено для запрещения выдачи разрешающего сигнала, когда указанное третье средство (10) регистрирует выполнение, по меньшей мере, одного из указанных условий а), b) и с). Предложенная система управления содержит сектор газа, пригодный для приведения в действие пилотом летательного аппарата, для управления подачей топлива в двигатель, средство контроля и регулировки двигателя, которое пригодно для воздействия на рабочий режим указанного двигателя, и упомянутое устройство для выдачи разрешения для воздействия. Предложенный летательный аппарат включает в себя упомянутую систему управления. Группа изобретений обеспечивает отключение неисправной двигательной установки во всех фазах полета летательного аппарата и для всех его состояний. 3 н. и 8 з.п. ф-лы, 4 ил.
Настоящее изобретение относится к устройству для выдачи разрешения для воздействия на рабочий режим двигателя летательного аппарата и системе управления, по меньшей мере, одного двигателя, содержащей его.
Известно, что в двигательной установке летательного аппарата возникают неисправности, особенно неисправности, вследствие которых тяга, по меньшей мере, одного двигателя больше не соответствует команде пилота, что может иметь непосредственное и значительное влияние на безопасность летательного аппарата. Для уменьшения таких неисправностей на летательном аппарате могут быть предусмотрены устройства, предназначенные для отключения неисправного двигателя. Однако такое отключение невозможно во всех фазах полета и для всех состояний летательного аппарата.
Целью настоящего изобретения является устранение этих недостатков. Это относится к устройству для выдачи разрешающего сигнала, разрешающего соответствующим средствам воздействовать на рабочий режим, по меньшей мере, одного двигателя летательного аппарата.
Для этой цели в соответствии с настоящим изобретением указанное устройство характеризуется тем, что оно содержит:
первое средство для определения конкретных параметров, относящихся к летательному аппарату, в том числе положения сектора газа для управления подачей топлива в двигатель; и
второе средство для определения на основании указанных конкретных параметров, находится ли летательный аппарат в состоянии, разрешающем воздействие на рабочий режим двигателя, и для выдачи, при необходимости, соответствующего разрешающего сигнала.
Таким образом, согласно настоящему изобретению соответствующим средствам, подробно описанным ниже, и которые способны воздействовать на рабочий режим двигателя (посредством отключения этого двигателя или посредством уменьшения, например, его производительности), разрешены воздействия на указанный двигатель, только если устройство в соответствии с настоящим изобретением предварительно выдало соответствующий разрешающий сигнал в зависимости, по меньшей мере, от положения сектора газа, управляющего этим двигателем.
Следовательно, на основании параметров, принятых во внимание в соответствии с настоящим изобретением и подробно изложенных ниже, может быть предусмотрено разрешение (в частности, для отключения двигателя), выдаваемое указанным прибором, только если соответствующие условия, в частности все необходимые условия по безопасности, будут выполняться. Для этой цели достаточно принять во внимание параметры, обеспечивающие эти условия, которые должны быть изложены соответствующим образом.
В предпочтительном варианте осуществления указанное второе средство выдает разрешающий сигнал, когда летательный аппарат находится на земле, и двигатель работает вхолостую.
В этом случае преимущественно указанное второе средство определяет, что двигатель работает вхолостую, когда, по меньшей мере, положение сектора газа для указанного двигателя находится ниже положения холостого хода или совпадает с ним. Для подтверждения данной проверки преимущественно указанное второе средство определяет, что указанный двигатель работает вхолостую, когда, кроме того, положение сектора газа другого двигателя летательного аппарата находится ниже заранее установленного положения или совпадает с ним.
Кроме того, преимущественно указанное второе средство определяет, что летательный аппарат находится на земле, когда, по меньшей мере, тормозные интерцепторы выдвинуты или основное шасси летательного аппарата сжато. Для подтверждения данной проверки преимущественно указанное второе средство определяет, что летательный аппарат находится на земле, когда, кроме того, высота летательного аппарата относительно земли ниже заранее установленной высоты или скорость колес летательного аппарата выше заранее установленной скорости.
Кроме того, преимущественно указанное второе средство также выдает разрешающий сигнал, когда в одно и то же время:
высота летательного аппарата относительно земли ниже заранее установленной высоты;
выходная мощность двигателя выше заранее установленной выходной мощности; и
положение сектора газа находится ниже заранее установленного положения или совпадает с ним.
Кроме того, в конкретном варианте осуществления устройство в соответствии с настоящим изобретением содержит:
третье средство для определения, выполнены ли нижеследующие условия:
a) другой двигатель летательного аппарата является неисправным;
b) другой двигатель выключен; и
c) разрешающий сигнал выдан для другого двигателя; и
четвертое средство для запрещения выдачи разрешающего сигнала, когда указанное третье средство регистрирует выполнение, по меньшей мере, одного из указанных условий a), b) и c).
Настоящее изобретение также относится к системе для управления, по меньшей мере, одним двигателем летательного аппарата, содержащей, по меньшей мере:
сектор газа для приведения в действие пилотом летательного аппарата, для управления подачей топлива в двигатель; и
средство контроля и регулировки двигателя, которое пригодно для воздействия на рабочий режим указанного двигателя.
В соответствии с настоящим изобретением указанная система управления, кроме того, содержит, по меньшей мере, одно устройство, такое как, описанное выше, для выдачи разрешающего сигнала, и указанное средство контроля и регулировки выполнено таким образом, чтобы обеспечивать воздействие на рабочий режим указанного двигателя, только если оно предварительно получило разрешающий сигнал, выданный указанным устройством.
Предпочтительно указанное средство контроля и регулировки пригодно для воздействия на рабочий режим двигателя посредством изменения расхода топлива указанного двигателя или посредством отключения указанного двигателя.
В конкретном варианте осуществления, предназначенном для управления множеством двигателей летательного аппарата, преимущественно указанная система управления содержит множество узлов, соединенных соответственно с указанными двигателями, и причем каждый содержит сектор газа, средство контроля и регулировки и устройство для выдачи разрешающего сигнала.
Фигуры на прилагаемых чертежах будут объяснять метод, в соответствии с которым настоящее изобретение может быть воплощено. На этих фигурах идентичные ссылочные номера обозначают подобные элементы.
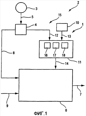
Фиг.1 изображает принципиальную схему системы управления двигателем в соответствии с настоящим изобретением.
Фиг.2-4 изображают в виде схемы различные операции, выполняемые для устройства в соответствии с настоящим изобретением.
Устройство 1 в соответствии с настоящим изобретением установлено, как показано на фиг.1, в системе 2 управления, по меньшей мере, для одного двигателя (не показан) летательного аппарата и предназначено для выдачи разрешающего сигнала, подробно описанного ниже.
Указанная система 2 управления включает обычно, по меньшей мере, один узел 15, содержащий:
сектор 3 газа, пригодный для приведения в действие пилотом летательного аппарата, для управления подачей топлива в соответствующий двигатель;
средство 4 для определения положения сектора 3 газа, как изображено с помощью пунктирной линии 5 связи, и для формирования сигнала, отображающего это положение; и
средство 6 контроля и регулировки двигателя, которое пригодно для воздействия на рабочий режим указанного двигателя через линию 7 связи в качестве функции указанного сигнала, полученного от указанного средства 4 через линию 8 связи и другие параметры (такие как значение выходной мощности N1 компрессора низкого давления двигателя, в частности), полученные через линию 9 связи.
Указанное средство 6 контроля и регулировки двигателя выполнено для воздействия на двигатель или посредством его отключения или посредством уменьшения расхода топлива и, следовательно, мощности, обеспечиваемой указанным двигателем, когда в последнем возникает проблема, которая может иметь непосредственное влияние на безопасность, в частности во время возникновения TCM («Trust control Malfunction»), при котором тяга двигателя больше не соответствует команде пилота.
Конечно, такое воздействие на двигатель невозможно во всех фазах полета и для всех состояний летательного аппарата.
Кроме того, в соответствии с настоящим изобретением указанное средство 6 контроля и регулировки выполнено таким образом, чтобы обеспечивать воздействие на рабочий режим указанного двигателя, только если оно предварительно получило разрешающий сигнал, выданный указанным устройством 1.
Для этой цели указанное устройство 1 в соответствии с настоящим изобретением содержит:
средства 4, 10 для определения конкретных параметров, относящихся к летательному аппарату, в том числе положения сектора 3 газа, управляющего подачей топлива в управляемый двигатель. При этом указанное средство 4 может, например, содержать решающее устройство и потенциометр; и
средство 11 для определения на основании указанных конкретных параметров, полученных через линии 12 и 13 связи указанных средств 4 и 10, находится ли летательный аппарат в состоянии, разрешающем воздействие на рабочий режим двигателя, и для выдачи, как следует, соответствующего разрешающего сигнала, который передается через линию 14 связи в указанное средство 6.
Следовательно, на основании параметров, учтенных указанным средством 11 в соответствии с настоящим изобретением, которое будет подробно описано ниже, может быть предусмотрено разрешение (в частности, для отключения двигателя), выдаваемое устройством 1, только если соответствующие условия, в частности необходимые условия по безопасности, будут выполняться, в частности, как функция данной фазы полета и данного состояния (скорость, конфигурация и т.д.) летательного аппарата. При этом достаточно, чтобы устройство 1 принимало параметры, отображающие эти условия как можно надежнее.
В конкретном варианте осуществления:
указанное средство 6 контроля и регулировки двигателя является обычной, с полным разрешением цифровой системой управления двигателем типа FADEC. Известно, что система типа FADEC содержит два канала. Активный канал, который управляет тягой, и так называемый пассивный канал, который обеспечивает контроль указанного активного канала и отключение как следует, то есть если двигатель не соответствует команде пилота и результирующая тяга вызывает неуправляемый режим летательного аппарата; и/или
указанное средство 11 является простым компьютером типа PRIM, который имеет преимущество в том, что он является критически важным элементом (уровень A), имеет данные о положении сектора 3 газа, а также о фазе полета (с характеристиками, такими как высота, скорость летательного аппарата или скорость колес).
В конкретном варианте осуществления указанное средство 11 приводит в действие через линию 14 связи реле для замыкания цепи в каналах системы типа FADEC, что последнее интерпретирует как разрешение действовать (в частности, разрешение на отключение), если зарегистрирован сбой типа указанного ранее TCM.
Кроме того, в конкретном варианте осуществления, предназначенном для управления множеством двигателей летательного аппарата, в частности транспортного летательного аппарата, указанная система 2 управления содержит множество узлов 15, каждый из которых соединен с одним из указанных двигателей, и содержит в каждом случае, как указано выше, в частности сектор 3 газа, средство 6 контроля и регулировки и устройство 1 для выдачи разрешающего сигнала.
Указанное средство 11 включает различные функциональные группы, которые могут выполняться, в частности, как функция фазы полета летательного аппарата. Некоторые 16, 17, 18 из этих функциональных групп будут подробно описаны ниже.
Функциональная группа 16, представленная в виде схемы на фиг.2, применяется для случая, когда летательный аппарат находится на земле.
Функциональная группа 16 включает:
средство 19 для определения того, что находится ли положение сектора 3 газа указанного двигателя ниже положения холостого хода или совпадает с ним, то есть обеспечивается ли управление в этом положении расходом топлива, который ниже расхода топлива или равен расходу топлива, заданному для указанного положения холостого хода;
средство 20 для определения того, является ли положение другого сектора газа летательного аппарата, то есть сектора газа, управляющего другим двигателем летательного аппарата, отличным от сектора газа, рассматриваемого в данный момент, ниже заранее установленного положения или совпадает с ним;
логический элемент 21 И, который соединен с указанными средствами 19 и 20;
средство 22 для определения того, выдвинуты ли тормозные интерцепторы летательного аппарата;
средство 23 для определения того, нагружено ли основное шасси летательного аппарата, то есть касается ли оно земли;
логический элемент 21 ИЛИ, который соединен с указанными средствами 22 и 23;
средство 25 для определения того, является ли скорость колес летательного аппарата выше заранее установленной скорости;
средство 26 для определения того, является ли высота летательного аппарата относительно земли (полученная радиовысотомером) выше заранее установленной высоты;
средство 27 для проверки и указания, что высота летательного аппарата относительно земли была выше заранее установленной высоты, по меньшей мере, в течение заранее установленного времени;
логический элемент 28 ИЛИ, соединенный с указанными средствами 25 и 27;
логический элемент 29 И, соединенный с указанными логическими элементами 24 и 28 ИЛИ;
средство 30 для проверки и указания, что результат, полученный от указанного логического элемента 29 И, был достоверным, по меньшей мере, в течение заранее установленного времени; и
логический элемент 31 И, который соединен с логическим элементом 21 И и со средством 30 и который обеспечивает выдачу разрешающего сигала через линию 32 связи, соединенную с линией 14 связи.
Следовательно, указанная функциональная группа 16 указанного средства 11 выдает разрешающий сигнал, когда:
двигатель работает вхолостую, то есть когда:
положение сектора 3 газа указанного двигателя ниже положения холостого хода или совпадает с ним (средство 19) и (элемент 21);
положение сектора газа другого двигателя летательного аппарата ниже заранее установленного положения или совпадает с ним (средство 20) и (элемент 31);
летательный аппарат находится на земле, то есть когда:
тормозные интерцепторы выдвинуты (средство 22) или (элемент 24), основное шасси летательного аппарата нагружено (средство 23) и (элемент 29);
скорость колес летательного аппарата выше заранее установленной скорости (средство 25) или (элемент 28), высота летательного аппарата относительно земли ниже заранее установленной высоты (средство 26).
Кроме того, функциональная группа 17, которая изображена в виде схемы на фиг.3, применяется для случая, когда летательный аппарат находится в фазе полета рядом с землей (так называемое выравнивание при посадке), относящейся к фазе перехода между высотой при заходе на посадку и высотой при приземлении.
Функциональная группа 17 включает:
средство 33 для определения того, является ли высота летательного аппарата относительно земли (полученная радиовысотомером) ниже заранее установленной высоты;
средство 34 для определения того, является ли выходная мощность двигателя выше заранее установленной выходной мощности;
средство 35 для определения того, является ли положение сектора 3 газа ниже заранее установленного положения или совпадает с ним; и
логический элемент 36 И, который соединен с указанными средствами 33, 34 и который обеспечивает выдачу разрешающего сигнала через линию 37 связи, соединенную с линией 14 связи.
Следовательно, указанная функциональная группа 17 выдает разрешающий сигнал, когда в одно и тоже время (элемент 36):
высота летательного аппарата относительно земли ниже заранее установленной высоты (средство 33);
выходная мощность двигателя выше заранее установленной выходной мощности (средство 34); и
положение сектора 3 газа ниже заранее установленного положения или совпадает с ним (средство 35).
Кроме того, функциональная группа 18, изображенная на фиг.4, обеспечивает запрещение выдачи разрешающего сигнала и, следовательно, предотвращает выдачу такого сигнала устройством 1 или, более того, отмену такого сигнала, заранее выданного указанным устройством 1.
Более конкретно указанная функциональная группа 18 запрещает выдачу разрешающего сигнала через линию 39 связи при выполнении одного из нижеследующих условий a), b) и c):
a) по меньшей мере, другой двигатель летательного аппарата является неисправным (различные данные относительно других двигателей соответственно получаются через линии 11, 12 и 13 связи) или (логический элемент 38 ИЛИ);
b) по меньшей мере, другой двигатель летательного аппарата был отключен (данные, полученные через линии 14, 15 и 16 связи) или (элемент 38);
c) разрешающий сигнал выдается или был выдан устройством 1 для другого двигателя (данные, полученные через линию 17 связи).
Формула изобретения
1. Устройство для выдачи разрешающего сигнала, соответствующего разрешению воздействия на рабочий режим, по меньшей мере, одного двигателя летательного аппарата, содержащее: первое средство (4, 10) для определения конкретных параметров, относящихся к летательному аппарату, в том числе положения сектора (3) газа, управляющего подачей топлива в двигатель, и второе средство (11) для определения на основании указанных конкретных параметров, находится ли летательный аппарат в состоянии, разрешающем воздействие на рабочий режим двигателя, и для выдачи, при необходимости, соответствующего разрешающего сигнала, причем указанное устройство дополнительно содержит: третье средство (10) для определения того, выполняются ли нижеследующие условия: а) другой двигатель летательного аппарата является неисправным, b) другой двигатель выключен и с) разрешающий сигнал выдан для другого двигателя, и четвертое средство (11) для запрещения выдачи разрешающего сигнала, когда указанное третье средство (10) регистрирует выполнение, по меньшей мере, одного из указанных условий а), b) и с).
2. Устройство по п.1, в котором указанное второе средство (11) выдает разрешающий сигнал, когда летательный аппарат находится на земле, и двигатель работает вхолостую.
3. Устройство по п.2, в котором указанное второе средство (11) определяет, что двигатель работает вхолостую, если, по меньшей мере, положение сектора (3) газа для указанного двигателя находится ниже положения холостого хода или совпадает с ним.
4. Устройство по п.3, в котором указанное второе средство (11) определяет, что двигатель работает вхолостую, если положение сектора газа для другого двигателя летательного аппарата находится ниже заранее установленного положения или совпадает с ним.
5. Устройство по п.2, в котором указанное второе средство (11) определяет, что летательный аппарат находится на земле, когда, по меньшей мере, тормозные интерцепторы выдвинуты, или основное шасси летательного аппарата нагружено.
6. Устройство по п.5, в котором указанное второе средство (11) определяет, что летательный аппарат находится на земле, если высота летательного аппарата относительно земли ниже заранее установленной высоты, или скорость колес летательного аппарата выше заранее установленной скорости.
7. Устройство по п.1, в котором указанное второе средство (11) выдает разрешающий сигнал, когда в одно и тоже время: высота летательного аппарата относительно земли ниже заранее установленной высоты; выходная мощность двигателя выше заранее установленной выходной мощности; и положение сектора (3) газа находится ниже заранее установленного положения или совпадает с ним.
8. Система для управления, по меньшей мере, одним двигателем летательного аппарата, причем указанная система (2) управления содержит, по меньшей мере: сектор (3) газа, пригодный для приведения в действие пилотом летательного аппарата, для управления подачей топлива в двигатель, и средство (6) контроля и регулировки двигателя, которое пригодно для воздействия на рабочий режим указанного двигателя, причем указанная система дополнительно содержит, по меньшей мере, одно устройство (1) по п.1 для выдачи разрешающего сигнала и указанное средство (6) контроля и регулировки двигателя выполнено таким образом, что пригодно для воздействия на рабочий режим указанного двигателя, если оно предварительно получило разрешающий сигнал, выданный указанным устройством (1).
9. Система управления по п.8, в которой указанное средство (6) контроля и регулировки двигателя пригодно для воздействия на рабочий режим указанного двигателя посредством изменения расхода топлива указанного двигателя или посредством отключения указанного двигателя.
10. Система управления по п.8, в которой для управления множеством двигателей летательного аппарата указанная система содержит множество узлов (15), соединенных, соответственно, с указанными двигателями, и причем каждый из них содержит сектор (3) газа, средство (6) контроля и регулировки и устройство (1) для выдачи разрешающего сигнала.
11. Летательный аппарат, содержащий, по меньшей мере, одну систему (2) управления, по п.8, для управления, по меньшей мере, одним двигателем указанного летательного аппарата.
РИСУНКИ
|
|