|
(21), (22) Заявка: 2007108411/11, 02.03.2006
(24) Дата начала отсчета срока действия патента:
02.03.2006
(30) Конвенционный приоритет:
02.03.2006 RU PCT/RU 2006/000096
(43) Дата публикации заявки: 27.11.2008
(46) Опубликовано: 27.04.2009
(56) Список документов, цитированных в отчете о поиске:
US 2004144893 A1, 29.07.2004. US 6138957 A1, 31.10.2000. SU 69339 A1, 01.01.1947. X-47 Pegasus Naval Unmanned Combat Air Vehicle(UCAV-N), 06.2001, ]. Team Decepticon Storm Shadow. Unmanned Strike Fighter, 15.01.2001, . RU 2010744 C1, 15.04.1994.
(85) Дата перевода заявки PCT на национальную фазу:
16.05.2007
(86) Заявка PCT:
RU 2006/000096 20060302
(87) Публикация PCT:
WO 2007/100271 20070907
Адрес для переписки:
117587, Москва, Варшавское ш., 128, корп.2, кв.32, А.В. Колдаеву
|
(72) Автор(ы):
Барковский Владимир Иванович (RU), Безверхний Валерий Борисович (RU), Дмитриев Владимир Григорьевич (RU), Колдаев Александр Васильевич (RU), Коржуев Михаил Вадимович (RU), Кострубский Эдуард Карлович (RU), Малов Юрий Иванович (RU), Моржин Александр Михайлович (RU), Федоров Алексей Иннокентьевич (RU), Цивилев Сергей Викторович (RU)
(73) Патентообладатель(и):
Барковский Владимир Иванович (RU), Безверхний Валерий Борисович (RU), Дмитриев Владимир Григорьевич (RU), Колдаев Александр Васильевич (RU), Коржуев Михаил Вадимович (RU), Кострубский Эдуард Карлович (RU), Малов Юрий Иванович (RU), Моржин Александр Михайлович (RU), Федоров Алексей Иннокентьевич (RU), Цивилев Сергей Викторович (RU)
|
(54) МАЛОЗАМЕТНЫЙ БЕСПИЛОТНЫЙ ЛЕТАТЕЛЬНЫЙ АППАРАТ
(57) Реферат:
Изобретение относится к авиации, а именно к малозаметным беспилотным летательным аппаратам. Малозаметный беспилотный летательный аппарат выполнен по аэродинамической схеме «летающее крыло» по форме в горизонтальной плоскости в виде ромба, все четыре кромки крыла которого равны между собой по длине, а передние кромки крыла параллельны противоположно расположенным задним кромкам крыла. Передние кромки крыла образуют с прямой, перпендикулярной продольной оси, углы в 40 градусов. Каждый из элевонов на задних кромках крыла выполнен из трех секций с отдельным и независимым управлением каждой секцией. Входные отверстия воздухозаборников выполнены не выступающими за плавный обвод верхней поверхности летательного аппарата, по форме на виде сверху они представляют собой треугольники. Плоское выходное сопло выполнено не выходящим за обводы центропланной части крыла, а его нижняя кромка совпадает с задней кромкой центропланной части крыла. Достигается снижение заметности беспилотного летательного аппарата, повышение устойчивости и управляемости в полете. 13 з.п. ф-лы, 3 ил.
Область техники, к которой относится изобретение
Изобретение относится к области разработки и производства малозаметных беспилотных летательных аппаратов, предназначенных для решения широкого круга разведывательных и ударных задач.
Такие беспилотные летательные аппараты должны обладать малой заметностью при использовании против них радиолокационных, инфракрасных и оптических средств обнаружения.
Скрытность подлета в заданный район, выполнения поставленной задачи и возвращения на базу является необходимым условием для их эффективного применения и многоразового использования.
Уровень техники
Известны конструктивные формы малозаметных беспилотных летательных аппаратов по патентам США D 508,013 S; Des 382,851 и Des 388,392. Благодаря своей внешней геометрической форме, отсутствию традиционного хвостового оперения, покрытию и другим конструктивным особенностям они имеют крайне низкую эффективную поверхность рассеяния, то есть обладают малой радиолокационной заметностью.
Указанный ударный беспилотный летательный аппарат обладает относительно высокой радиолокационной заметностью. Повышенное значение эффективной поверхности рассеяния определяется, в первую очередь, изломами задней кромки крыла и существенно выступающими за поверхность обвода входными отверстиями воздухозаборников, а также интерцепторами, расположенными непосредственно на передних кромках крыла. Достаточно высокая заметность прототипа в инфракрасном диапазоне длин волн вызвана высокой температурой реактивной струи отработанных газов, выходящей из плоских сопел двигательной установки, размещенных непосредственно у задней кромки крыла, и неэффективным смешиванием этой струи с окружающим холодным воздухом. Кроме того, прототип не обладает высокими показателями устойчивости и управляемости беспилотного летательного аппарата, что приводит к снижению его маневренности. Это обусловлено недостаточной эффективностью управляющих поверхностей из-за их конфигурации, площади, места расположения и системы управления ими.
Сущность изобретения
Патентуемое изобретение решает задачи снижения заметности беспилотного летательного аппарата, а также повышения его устойчивости и управляемости в полете.
Патентуемое изобретение включает в себя:
– малозаметный беспилотный летательный аппарат, выполненный по аэродинамической схеме «летающее крыло», содержащий центропланную часть крыла с относительно утолщенным профилем, а также левую и правую консоли крыла;
– передние кромки крыла, соединяющиеся в носовой части, являющиеся прямолинейными и находящиеся под углом друг к другу;
– задние кромки крыла, образованные отрезками прямых линий, параллельных передним кромкам крыла;
– управляющие поверхности, состоящие из элевонов на задних кромках крыла и интерцепторов на поверхности крыла;
– опорные элементы конструкции в виде продольных лонжеронов и поперечных шпангоутов;
– двигательную установку, размещенную внутри центропланной части крыла;
– отсек полезной нагрузки, размещенный внутри центропланной части крыла;
– воздухозаборники, входные отверстия которых находятся на верхней поверхности крыла в носовой части беспилотного летательного аппарата симметрично друг другу относительно его продольной оси;
– трехопорное убирающееся шасси;
– люки для уборки шасси;
– люк доступа в отсек полезной нагрузки;
– топливные баки;
– плоское выходное сопло;
– бортовой компьютер;
– автономные средства навигации, использующие спутниковую систему радионавигации;
– средства радиоэлектронной борьбы;
– радиолокационную станцию;
– средства радиосвязи;
– средства наблюдения.
Кроме того, в патентуемом изобретении:
– беспилотный летательный аппарат выполнен по форме в горизонтальной плоскости в виде ромба, все четыре кромки крыла которого равны между собой по длине, а передние кромки крыла параллельны противоположно расположенным задним кромкам крыла;
– передние кромки крыла образуют с прямой, перпендикулярной продольной оси, углы в 40 градусов;
– каждый из элевонов на задних кромках крыла выполнен из трех секций с отдельным и независимым управлением каждой секцией;
– входные отверстия воздухозаборников выполнены не выступающими за плавный обвод верхней поверхности летательного аппарата;
– по форме на виде сверху входные отверстия воздухозаборников представляют собой треугольники, две стороны которых параллельны близлежащим передним кромкам крыла, две другие стороны параллельны противоположно расположенным передним кромкам крыла, а две третьи стороны параллельны друг другу и вертикальной плоскости симметрии беспилотного летательного аппарата;
– плоское выходное сопло выполнено не выходящим за обводы центропланной части крыла, а его нижняя кромка совпадает с задней кромкой центропланной части крыла.
Снижение радиолокационной заметности в патентуемом изобретении достигается главным образом за счет выполнения беспилотного летательного аппарата по форме в горизонтальной плоскости в виде ромба, все четыре кромки крыла которого равны между собой по длине, а передние кромки крыла параллельны противоположно расположенным задним кромкам крыла. Передние кромки крыла беспилотного летательного аппарата образуют с прямой, перпендикулярной его продольной оси, углы в 40 градусов. Кроме того, входные отверстия воздухозаборников выполнены не выступающими за плавный обвод верхней поверхности беспилотного летательного аппарата. По форме на виде сверху они представляют собой треугольники, две стороны которых параллельны близлежащим передним кромкам крыла, две другие стороны параллельны противоположно расположенным передним кромкам крыла, а две третьи стороны параллельны друг другу и вертикальной плоскости симметрии беспилотного летательного аппарата.
Дополнительное снижение радиолокационной заметности патентуемого беспилотного летательного аппарата может быть достигнуто благодаря выполнению кромок люков для уборки стоек шасси и доступа в отсек полезной нагрузки параллельными кромкам крыла.
В патентуемом изобретении исключены вспомогательные люки для технического обслуживания и ремонта беспилотного летательного аппарата, которые могут вызывать дополнительные отражения радиолокационного сигнала как неоднородности. Для проведения этих работ предусмотрен доступ к системам и устройствам беспилотного летательного аппарата через люки отсека полезной нагрузки и уборки стоек шасси.
Снижение заметности в инфракрасном диапазоне длин волн в патентуемом изобретении достигается за счет выполнения плоского выходного сопла двигательной установки не выходящим за обводы центропланной части крыла, а его нижней кромки совпадающей с задней кромкой центропланной части крыла. При этом температура реактивной струи горячих газов, скользящей по задней кромке центропланной части крыла, существенно снижается из-за перемешивания этих горячих газов с окружающим холодным воздухом. Задняя кромка центропланной части крыла экранирует выходящую реактивную струю горячих газов для находящихся в нижней полусфере инфракрасных средств обнаружения как раз в момент ее выхода из плоского сопла, когда температура этих горячих газов является самой высокой.
Повышение устойчивости и управляемости патентуемого беспилотного летательного аппарата в полете достигается за счет выполнения беспилотного летательного аппарата по форме в горизонтальной плоскости в виде ромба, все четыре кромки крыла которого равны между собой по длине, а передние кромки крыла параллельны противоположно расположенным задним кромкам крыла, а также размещения элевонов на задних кромках крыла, каждый из которых выполнен из трех секций с отдельным и независимым управлением каждой секцией.
Дополнительное повышение устойчивости и управляемости патентуемого беспилотного летательного аппарата в полете может быть получено за счет снабжения плоского выходного сопла средствами для управления вектором тяги в горизонтальной плоскости, в вертикальной плоскости или в обеих указанных плоскостях.
В патентуемом малозаметном беспилотном летательном аппарате увеличение управляемости и маневренности беспилотного летательного аппарата без существенного увеличения его радиолокационной заметности достигается за счет выполнения интерцепторов по форме в виде прямоугольников и расположения их на поверхности крыла так, что
– их продольные оси параллельны близлежащим передним кромкам крыла;
– их продольные оси параллельны близлежащим задним кромкам крыла;
– их продольные оси перпендикулярны продольной оси беспилотного летательного аппарата.
В зависимости от назначения патентуемого малозаметного беспилотного летательного аппарата и особенностей применяемой полезной нагрузки его двигательная установка может быть выполнена в виде трех вариантов исполнения:
– двух турбореактивных двигателей, расположенных симметрично относительно продольной оси беспилотного летательного аппарата, а отсек полезной нагрузки размещен между ними вдоль этой продольной оси (при этом отсек полезной нагрузки имеет максимальную длину, сравнимую с длиной самого беспилотного летательного аппарата);
– одного турбореактивного двигателя, расположенного посередине центропланной части крыла вдоль продольной оси беспилотного летательного аппарата, а два отсека полезной нагрузки размещены симметрично друг другу относительно этой продольной оси справа и слева от турбореактивного двигателя;
– одного турбореактивного двигателя, расположенного смещенным от середины центропланной части крыла в сторону одной консоли, а отсек полезной нагрузки смещен от середины центропланной части крыла в сторону другой консоли.
Патентуемый малозаметный беспилотный летательный аппарат содержит средства наблюдения, выполненные в виде гиростабилизированной оптико-электронной системы, имеющей телевизионный и тепловой каналы, лазерный дальномер и лазерную подсветку для указания целей.
Патентуемый малозаметный беспилотный летательный аппарат содержит средства радиосвязи, в которых реализован широкополосный канал передачи информации, использующий ретрансляторы спутникового и воздушного базирования для дальности его действия.
Перечень фигур чертежей
В дальнейшем изобретения поясняются конкретными примерами их выполнения со ссылками на прилагаемые чертежи, на которых изображены:
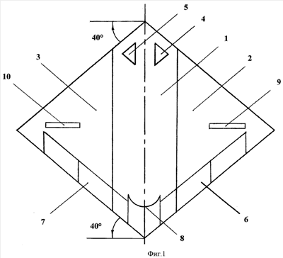
Фигура 1 – вид сверху на малозаметный беспилотный летательный аппарат.
Фигура 2 – вид спереди на малозаметный беспилотный летательный аппарат.
Фигура 3 – вид сбоку на малозаметный беспилотный летательный аппарат.
Осуществление изобретения
Малозаметный беспилотный летательный аппарат (фиг.1), выполненный по схеме «летающее крыло», содержит (на виде сверху) цетропланную часть крыла 1, правую консоль крыла 2, левую консоль крыла 3, входные отверстия воздухозаборников 4 и 5, трехсекционные элевоны 6 и 7, плоское выходное сопло 8, интерцепторы 9 и 10.
Малозаметный беспилотный летательный аппарат (фиг.2) содержит (на виде спереди) цетропланную часть крыла 1, правую консоль крыла 2, левую консоль крыла 3, входные отверстия воздухозаборников 4 и 5, интерцепторы 9 и 10, трехопорное убирающееся шасси 11.
Малозаметный беспилотный летательный аппарат (фиг.3) содержит (на виде сбоку) цетропланную часть крыла 1, левую консоль крыла 3, входное отверстие воздухозаборников 5, трехсекционный элевон 7, плоское выходное сопло 8, интерцептор 10 и трехопорное убирающееся 5 шасси 11.
Промышленная применимость
Изобретение предназначено для создания малозаметных беспилотных летательных аппаратов, используемых для решения широкого круга разведывательных и ударных задач.
Каждое из средств, применение которого предусмотрено изобретением, выпускается промышленностью разных стран. Предусмотренное изобретением взаимодействие средств реализуется в известных процессах различного назначения в области авиастроения и использования летательных аппаратов различного назначения.
Транспортировка малозаметного беспилотного летательного аппарата к месту его применения может быть осуществлена наземным, морским и воздушным транспортом. Разобранный на отсеки малозаметный беспилотный летательный аппарат размещается в двух контейнерах, которые могут быть установлены в грузовой кабине транспортного средства, например самолета ИЛ-76.
Формула изобретения
1. Малозаметный беспилотный летательный аппарат, выполненный по аэродинамической схеме «летающее крыло», содержащий центропланную часть крыла с относительно утолщенным профилем, левую и правую консоли крыла, передние кромки крыла, соединяющиеся в носовой части, являющиеся прямолинейными и находящимися под углом друг к другу, задние кромки крыла, образованные отрезками прямых линий, параллельных передним кромкам крыла, управляющие поверхности, состоящие из элевонов на задних кромках крыла и интерцепторов на поверхности крыла, опорные элементы конструкции в виде продольных лонжеронов и поперечных шпангоутов, двигательную установку и отсек полезной нагрузки, которые размещены внутри центропланной части крыла, воздухозаборники, входные отверстия которых находятся на верхней поверхности крыла в носовой части беспилотного летательного аппарата симметрично друг другу относительно его продольной оси, трехопорное убирающееся шасси, люки для уборки шасси и люк доступа в отсек полезной нагрузки, топливные баки, плоское выходное сопло, бортовой компьютер, автономные средства навигации, использующие спутниковую систему радионавигации, средства радиоэлектронной борьбы, радиолокационную станцию, средства радиосвязи и средства наблюдения, отличающийся тем, что, с целью снижения заметности, повышения устойчивости и управляемости в полете, беспилотный летательный аппарат выполнен по форме в горизонтальной плоскости в виде ромба, все четыре кромки крыла которого равны между собой по длине, а передние кромки крыла параллельны противоположно расположенным задним кромкам крыла, его передние кромки крыла образуют с прямой, перпендикулярной продольной оси беспилотного летательного аппарата углы в 40°, каждый из элевонов на задних кромках крыла выполнен из трех секций с отдельным и независимым управлением каждой секцией, входные отверстия воздухозаборников выполнены не выступающими за плавный обвод верхней поверхности летательного аппарата, по форме на виде сверху они представляют собой треугольники, две стороны которых параллельны близлежащим передним кромкам крыла, две другие стороны параллельны противоположно расположенным передним кромкам крыла, а две третьи стороны параллельны друг другу и вертикальной плоскости симметрии беспилотного летательного аппарата, плоское выходное сопло выполнено не выходящим за обводы центропланной части крыла, а его нижняя кромка совпадает с задней кромкой центропланной части крыла.
2. Малозаметный беспилотный летательный аппарат по п.1, отличающийся тем, что кромки люков для уборки стоек шасси и доступа в отсек полезной нагрузки выполнены параллельными кромкам крыла.
3. Малозаметный беспилотный летательный аппарат по п.1, отличающийся тем, что доступ к его системам и устройствам для их технического обслуживания и ремонта осуществляется через люки отсека полезной нагрузки и уборки стоек шасси.
4. Малозаметный беспилотный летательный аппарат по п.1, отличающийся тем, что плоское выходное сопло снабжено средствами для управления вектором тяги в горизонтальной плоскости.
5. Малозаметный беспилотный летательный аппарат по п.1, отличающийся тем, что плоское выходное сопло снабжено средствами для управления вектором тяги в вертикальной плоскости.
6. Малозаметный беспилотный летательный аппарат по п.1, отличающийся тем, что плоское выходное сопло снабжено средствами для управления вектором тяги в горизонтальной и вертикальной плоскостях.
7. Малозаметный беспилотный летательный аппарат по п.1, отличающийся тем, что интерцепторы выполнены по форме в виде прямоугольников и расположены на поверхности крыла так, что их продольные оси параллельны близлежащим передним кромкам крыла.
8. Малозаметный беспилотный летательный аппарат по п.1, отличающийся тем, что интерцепторы выполнены по форме в виде прямоугольников и расположены на поверхности крыла так, что их продольные оси параллельны близлежащим задним кромкам крыла.
9. Малозаметный беспилотный летательный аппарат по п.1, отличающийся тем, что интерцепторы выполнены по форме в виде прямоугольников и расположены на поверхности крыла так, что их продольные оси перпендикулярны продольной оси беспилотного летательного аппарата.
10. Малозаметный беспилотный летательный аппарат по п.1, отличающийся тем, что двигательная установка выполнена в виде двух турбореактивных двигателей, расположенных симметрично относительно продольной оси беспилотного летательного аппарата, а отсек полезной нагрузки находится между ними вдоль продольной оси летательного аппарата.
11. Малозаметный беспилотный летательный аппарат по п.1, отличающийся тем, что двигательная установка выполнена в виде одного турбореактивного двигателя, расположенного посередине центропланной части крыла вдоль продольной оси беспилотного летательного аппарата, а два отсека полезной нагрузки находятся симметрично друг другу относительно продольной оси справа и слева от турбореактивного двигателя.
12. Малозаметный беспилотный летательный аппарат по п.1, отличающийся тем, что двигательная установка выполнена в виде одного турбореактивного двигателя, расположенного смещенным от середины центропланной части крыла в сторону одной консоли, а отсек полезной нагрузки, смещен от середины центропланной части крыла в сторону другой консоли.
13. Малозаметный беспилотный летательный аппарат по п.1, отличающийся тем, что в качестве средств наблюдения использована гиростабилизированная оптико-электронная система, имеющая телевизионный и тепловой каналы, лазерный дальномер и лазерную подсветку для указания целей.
14. Малозаметный беспилотный летательный аппарат по п.1, отличающийся тем, что в средствах радиосвязи реализован широкополосный канал передачи информации, использующий ретрансляторы спутникового и воздушного базирования.
РИСУНКИ
|