|
|
(21), (22) Заявка: 2007135393/11, 24.09.2007
(24) Дата начала отсчета срока действия патента:
24.09.2007
(46) Опубликовано: 27.04.2009
(56) Список документов, цитированных в отчете о поиске:
SU 1794731 А1, 15.02.1993. SU 212318 А1, 01.01.1968. GB 547390 А, 25.08.1942. GB 214434 А, 24.04.1924.
Адрес для переписки:
622007, Свердловская обл., г. Нижний Тагил, Восточное ш., 28, ОАО “НПК “Уралвагонзавод”, руководителю патентной службы А.Б.Левину
|
(72) Автор(ы):
Ефимов Виктор Петрович (RU), Пранов Александр Алексеевич (RU), Мартынов Владимир Александрович (RU), Щелоков Владимир Федорович (RU), Любимов Юрий Андреевич (RU), Белоусов Константин Анатольевич (RU), Еленевский Игорь Николаевич (RU), Карпов Сергей Владимирович (RU), Ширшов Петр Васильевич (RU), Азаров Сергей Васильевич (RU)
(73) Патентообладатель(и):
Открытое акционерное общество “Научно-производственная корпорация “Уралвагонзавод” имени Ф.Э. Дзержинского” (RU)
|
(54) БУКСОВЫЙ УЗЕЛ (ВАРИАНТЫ)
(57) Реферат:
Изобретение относится к железнодорожному транспорту, в частности к буксовым узлам с подшипниками качения колесных пар подвижного состава. Буксовый узел по первому варианту содержит корпус с крышкой, лабиринтное уплотнение, установленные на шейке оси подшипники качения, приставное кольцо, к которому прилегает тарельчатая шайба, закрепленная на шейке оси болтами. Соединение «тарельчатая шайба-шейка оси» имеет натяг. Величина натяга выбрана таким образом, что усилие сдвига тарельчатой шайбы с оси не менее суммарного усилия затяжки болтов. Согласно второму варианту тарельчатая шайба установлена на шейку оси с натягом и имеет кольцевой выступ, торец которого упирается в передний подшипник. Обеспечивается неподвижность соединения «тарельчатая шайба-шейка оси», равномерное распределение напряжений, снижение напряжений в крепительных болтах. 2 н. и 2 з.п. ф-лы, 2 ил.
Изобретение относится к железнодорожному транспорту, в частности к буксовым узлам с подшипниками качения колесных пар подвижного состава.
В существующих буксовых узлах с шайбовым торцовым креплением подшипников имеет место ослабление затяжки болтов, крепящих шайбу.
Известна конструкция буксового узла (см. А.с. 1451060), в которой в качестве ограничителя колебаний тарельчатой шайбы в вертикальной плоскости используется упругий элемент (кольцо), монтируемый в проточку шайбы.
Недостатком данной конструкции является то, что наличие упругого элемента усложняет конструкцию детали и обуславливает снижение надежности в связи с возможной потерей упругих свойств или разрушением упругого элемента.
Известна также конструкция буксового узла, в которой на шейку оси посажены задний и передний роликовые подшипники, причем передний имеет приставное кольцо. От осевых перемещений подшипники удерживаются тем, что в приставное кольцо упирается тарельчатая шайба, закрепленная на торце шейки оси болтами. Тарельчатая шайба устанавливается на ось с зазором. Вся конструкция размещена в корпусе с крышкой (прототип, см. «Инструктивные указания по эксплуатации и ремонту вагонных букс с роликовыми подшипниками». МПС РФ, 2001 г., стр. 16; Е.А.Мазуров, И.П.Позняков «Пособие слесарю по техническому обслуживанию вагонов». Изд. Транспорт, 1990 г., стр.121).
Данная конструкция наиболее близкая к предлагаемой и выбрана в качестве прототипа.
Недостатком данной конструкции, как и аналога, является то, что в условиях эксплуатации на болты торцевого крепления помимо постоянного усилия, возникающего от затяжки нормированным моментом, действуют переменные осевые усилия, которые при наложении могут превысить предел текучести материала болтов, что приводит к ослаблению усилия их затяжки и торцевого крепления в целом. При этом снижается надежность и долговечность буксового узла.
Предлагаемым изобретением решается задача повышения эксплуатационной надежности и долговечности буксового узла, что способствует повышению безопасности движения поездов.
При этом достигается следующий технический результат: обеспечивается неподвижность соединения «тарельчатая шайба – шейка оси», равномерное распределение напряжений, снижение напряжений в крепительных болтах.
Для достижения этого технического результата в буксовом узле, содержащем корпус с крышкой, лабиринтное уплотнение, установленные на шейке оси подшипники качения, приставное кольцо, к которому прилегает тарельчатая шайба, закрепленная на шейке оси болтами, соединение «тарельчатая шайба – шейка оси» имеет натяг, причем величина натяга выбрана так, что усилие сдвига тарельчатой шайбы с оси не менее суммарного усилия затяжки болтов.
Во втором варианте указанный технический результат при осуществлении изобретения достигается тем, что в известном буксовом узле, содержащем корпус с крышкой, лабиринтное уплотнение, установленные на шейке оси подшипники качения, приставное кольцо и тарельчатая шайба выполнены за одно целое в виде общей детали – тарельчатой шайбы с кольцевым выступом, торец которого упирается в передний подшипник.
С целью удобства монтажа, демонтажа тарельчатая шайба может быть снабжена технологическим буртом.
Признаки, отличающие предлагаемый буксовый узел от наиболее близкого к нему известного – наличие натяга в соединении «тарельчатая шайба – шейка оси», обеспечиваемого разностью диаметров посадочных мест соединения.
Признаки, отличающие второй вариант – тарельчатая шайба имеет кольцевой выступ, торец которого упирается в передний подшипник, устанавливается на шейку оси с натягом, причем величина натяга в этом варианте будет меньше за счет увеличения площади прессового соединения «тарельчатая шайба – шейка оси». В этом случае упрощается конструкция, уменьшается количество деталей и стыков между стягиваемыми элементами, повышается точность сборки, а также обеспечивается вышеописанный технический результат.
Совокупность существенных признаков позволяет снизить напряжение в болтах, крепящих тарельчатую шайбу, путем исключения воздействия на них вертикальных и переменных осевых сил, уравновесить весь спектр переменных осевых нагрузок, что приведет к повышению эксплуатационной надежности и долговечности торцевого крепления подшипников буксового узла, а значит к существенному повышению безопасности движения поездов.
Отличительные признаки являются новыми и соответствуют критерию «новизна». При изучении других известных решений в этой области признаки, отличающие заявляемое решение, не были выявлены, что обеспечивает изобретению соответствие критерию «изобретательский уровень».
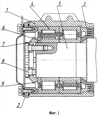
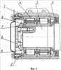
Сущность изобретения поясняется чертежами, где на фиг.1 и фиг.2 изображены два варианта исполнения буксового узла.
Буксовый узел для оснащения колесных пар подвижного состава (фиг.1) состоит из корпуса 1 с крышкой 2, лабиринтного уплотнения 3, установленных на шейку оси 5 подшипников качения 4, приставного кольца 6, к которому прилегает тарельчатая шайба 7, закрепленная на шейке оси 5 болтами 8.
В буксовом узле возможна установка тарельчатой шайбы 7 и приставного кольца 6 в объединенном варианте (фиг.2), где тарельчатая шайба 7 и приставное кольцо 6 выполнены за одно целое в виде общей детали – тарельчатой шайбы 7, имеющей кольцевой выступ, торец которого упирается в передний подшипник. Тарельчатая шайба может быть изготовлена с буртом 9 для удобства монтажа и демонтажа с шейки оси при ремонтах буксового узла.
В обоих вариантах величина натяга выбрана таким образом, чтобы сила сдвига тарельчатой шайбы 7 с оси 5 была не менее суммарного усилия затяжки болтов.
Во время работы буксового узла весь спектр переменных осевых нагрузок будет уравновешиваться силой трения прессового соединения тарельчатой шайбы 7 и шейки оси 5, а болты 8 будут нагружены только постоянным усилием, возникающим от их затяжки нормированным моментом. Исключается также действие на болты 8 каких-либо вертикальных сил.
Совокупность существенных признаков не известна из уровня техники, что соответствует критерию «новизна», а также для специалистов явным образом не следует из уровня техники, что говорит о соответствии предлагаемого изобретения критерию «изобретательский уровень.
В настоящее время на заявляемое изобретение разработана конструкторская документация.
Формула изобретения
1. Буксовый узел, содержащий корпус с крышкой, лабиринтное уплотнение, установленные на шейке оси подшипники качения, приставное кольцо, к которому прилегает тарельчатая шайба, закрепленная на шейке оси болтами, отличающийся тем, что соединение «тарельчатая шайба – шейка оси» имеет натяг, причем величина натяга выбрана так, что усилие сдвига тарельчатой шайбы с оси не менее суммарного усилия затяжки болтов.
2. Буксовый узел по п.1, отличающийся тем, что тарельчатая шайба снабжена технологическим буртом.
3. Буксовый узел, содержащий корпус с крышкой, лабиринтное уплотнение, установленные на шейке оси подшипники качения, тарельчатую шайбу, закрепленную на шейке оси болтами, отличающийся тем, что тарельчатая шайба установлена на шейку оси с натягом и имеет кольцевой выступ, торец которого упирается в передний подшипник.
4. Буксовый узел по п.2, отличающийся тем, что тарельчатая шайба снабжена технологическим буртом.
РИСУНКИ
|
|