|
|
(21), (22) Заявка: 2007133575/11, 07.09.2007
(24) Дата начала отсчета срока действия патента:
07.09.2007
(46) Опубликовано: 27.04.2009
(56) Список документов, цитированных в отчете о поиске:
SU 605730 A1, 05.04.1978. RU 2108649 C1, 10.04.1998. RU 2297928 C1, 27.04.2007. DE 4136058 A1 06.05.1993. US 4414461 A1, 08.11.1983. WO 8910651 A1, 02.11.1989.
Адрес для переписки:
109456, Москва, 1-й Вешняковский пр-д, 2, ГНУ ВИЭСХ, О.В. Голубевой
|
(72) Автор(ы):
Стребков Дмитрий Семенович (RU), Петрик Виктор Иванович (RU)
(73) Патентообладатель(и):
Стребков Дмитрий Семенович (RU), Российская Академия сельскохозяйственных наук Государственное научное учреждение Всероссийский научно-исследовательский институт электрификации сельского хозяйства (ГНУ ВИЭСХ РОССЕЛЬХОЗАКАДЕМИИ) (RU)
|
(54) СПОСОБ ПИТАНИЯ ЭЛЕКТРИЧЕСКИХ ТРАНСПОРТНЫХ СРЕДСТВ И УСТРОЙСТВО ДЛЯ ЕГО ОСУШЕСТВЛЕНИЯ
(57) Реферат:
Изобретение относится к способам электроснабжения электрического транспорта и может быть использовано для электропитания троллейбусов, электромобилей, электропогрузчиков, трамваев, электротракторов, электровозов и других электротранспортных средств. Способ питания электротранспортных средств предусматривает подачу электрической энергии через высоковольтный высокочастотный преобразователь к индивидуальным токоприемникам от одного из трех однофазных высокочастотных резонансных трансформаторов. Подачу питания от каждой однопроводниковой линии к каждому электротранспортному средству осуществляют методом электростатической индукции через воздушный промежуток между изолированной однопроводниковой линией и токоприемником. Устройство, реализующее данный способ, содержит источник электрической энергии, к которому присоединен преобразователь частоты, повышающий резонансный трансформатор, однопроводниковую линию для каждой полосы движения и токоприемники электротранспортных средств. Каждый токоприемник выполнен в виде тонкого изолированного листа из проводящего материала и установлен на электротранспортном средстве параллельно однопроводниковой линии. Технический результат заключается в повышении надежности и снижении потерь питания электротранспортных средств. 12 н. и 37 з.п. ф-лы, 12 ил.
Изобретение относится к способам электроснабжения электрического транспорта и может быть использовано для электропитания троллейбусов, электромобилей, электропогрузчиков, трамваев, электротракторов, электровозов и других электротранспортных средств.
Известен способ питания рельсового электротранспортного средства, например трамвая и электропоезда, предусматривающий передачу электрической энергии по однопроводной контактной сети через токосъемник на транспортные средства, преобразование электрической энергии сети до заданных значений и подачу ее на тяговые электродвигатели (а.с. СССР 1729843, МКИ 6 B60L 9/08, 1992, БИ 16). Недостатком данного способа электроснабжения рельсового транспортного средства является большая металлоемкость устройства, необходимого для осуществления способа, состоящего из двухпроводной токопроводящей линии, содержащей контактный провод и металлический рельс.
Другим недостатком является невозможность использования данного способа для питания нерельсового электротранспорта, например электромобиля или троллейбуса.
Известен способ питания электротранспортного средства путем подачи электрической энергии через двухпроводную контактную сеть, штанговые троллейные токоприемники на тяговые электродвигатели (а.с. СССР 1440767, МКИ 6 B60L 5/34, БИ 44, 1988).
Недостатком данного способа является большой расход проводникового материала. Другим недостатком является низкая надежность работы троллейного токоприемника, особенно при движении с большой скоростью и при изменении направления и рядности движения.
Известен способ бесконтактной передачи электрической энергии с помощью электромагнитной индукции. В этом случае провода однофазной тяговой линии из двух изолированных кабелей, соединенных накоротко в конце линии и присоединенных к подстанции переменного тока, передают энергию через воздушный промежуток к приемнику из нескольких витков провода, образующих вторичную обмотку трансформатора. Приемник устанавливают на электротранспортном средстве и перемещают относительно линии. Переменный магнитный поток, создаваемый током в линии, индуктирует в обмотке приемника через воздушный промежуток электродвижущую силу (ЭДС), как в обычном трансформаторе. Для индукционной бесконтактной передачи используют ток высокой частоты 2-20 кГц. Для рельсового транспорта применяют верхнюю воздушную подвеску высокочастотных тяговых кабелей, а для безрельсового транспорта – подземную прокладку тяговых кабелей (В.Е.Розенфельд, Н.А.Староскольский. Высокочастотный бесконтактный электрический транспорт. М.: Транспорт, 1975 г., стр.4-8).
Недостатком известного способа и устройства бесконтактной передачи электрической энергии на транспортное средство являются большие потери в тяговой линии из-за большого индуктивного сопротивления проводов при высокой частоте. Вследствие высокой частоты в витках обмотки приемника и в кабельной линии возникают значительные ЭДС самоиндукции, активная составляющая которой направлена встречно по отношению к напряжению подстанции, питающей тяговую сеть. Для компенсации индуктивного сопротивления и ЭДС самоиндукции в линии и в приемнике последовательно включают конденсаторы. Для снижения рассеивания энергии производят транспозицию – перекрещивание тяговых кабелей, при этом в местах транспозиции возникают затруднения с питанием транспортного средства, так как в точке перекрещивания тяговых кабелей в приемнике не наводится ЭДС. Из-за высокой стоимости и низкого к.п.д. бесконтактного метода передачи электрической энергии с помощью электромагнитной индукции этот способ не нашел практического использования.
Наиболее близким по технической сущности к предлагаемому изобретению является способ питания электротранспортных средств и устройство для его осуществления путем подачи питания к однопроводной контактной сети, расположенной над каждой полосой (рядом) движения электротранспортного средства, подключения указанной контактной сети через определенное расстояние к выводу одного или нескольких высоковольтных высокочастотных электростатических генераторов свободных электрических зарядов, генерации и перемещения этих электрических зарядов и связанной с ними энергии электрического поля в резонансном режиме через контактную сеть и токоприемники к электротранспортному средству и обратного преобразования энергии электрического поля свободных зарядов в энергию электрического переменного тока, которую используют для электропривода транспортного средства.
Устройство, реализующее данный способ, представляет собой источник электрической энергии, высокочастотный преобразователь и высоковольтный электростатический генератор электрических зарядов, соединенный с однопроводной контактной сетью, состоящей из множества параллельных проводов, установленных над каждой полосой движения автострады и электротранспортных средств с выдвигающимися токоприемниками, каждые из которых имеют приемносогласующее устройство, диодный блок, преобразователь постоянного тока в переменный, соединенный с блоком управления и вентильным электродвигателем электротранспортного средства (пат. РФ 2136515, С1 B60L 9/00, БИ 25, 10.09.99).
Использование известного способа и устройства питания электротранспортного средства обеспечивает повышение эффективности, надежности работы, увеличение срока службы, уменьшение потерь энергии и обеспечение многорядного движения электротранспортных средств по автостраде. Недостатком известного способа является наличие однопроводного троллея, ограничивающего возможности перемещения транспортного средства и его надежность.
Задачей предлагаемого изобретения является создание способа питания электротранспортных средств и устройства для его осуществления, характеризующегося высокой надежностью и малыми потерями и обеспечивающего высокую маневренность электротранспортного средства при многополосном (многорядном) движении.
В результате использования предлагаемого изобретения появляется возможность питания электротранспортных средств с резиновыми и другими колесами из электроизоляционного и проводящего материала при многорядном движении электротранспортных средств по автостраде.
Вышеуказанный технический результат достигается тем, что в способе питания электротранспортных средств, предусматривающем подачу электрической энергии через высоковольтный высокочастотный преобразователь и однопроводниковую сеть к индивидуальным токоприемникам транспортных средств, подачу питания к каждому электротранспортному средству, движущемуся по одной полосе движения, осуществляют от одного из трех однофазных высокочастотных резонансных трансформаторов путем соединения входа каждого из трех резонансных трансформаторов через емкость к трехфазному преобразователю частоты, а выхода каждого резонансного трансформатора к одной из однопроводниковых линий, подачу питания от каждой однопроводниковой линии к каждому электротранспортному средству осуществляют методом электростатической индукции через воздушный промежуток между изолированной однопроводниковой линией и токоприемником, установленным на электротранспортном средстве, от резонансной однопроводниковой системы электропитания с использованием переменного электростатического поля с частотой 0,1-400 кГц и напряжением в линии 0,5-1000 кВ, напряжение на токоприемнике понижают путем присоединения токоприемника к высоковольтной обмотке высокочастотного резонансного трансформатора и присоединения другого вывода высоковольтной обмотки к естественной емкости или земле, преобразуют в напряжение постоянного тока, аккумулируют электрическую энергию и преобразуют электрическую энергию в механическую энергию перемещения электротранспортного средства.
В одном варианте способа подачу питания на электротранспортные средства осуществляют методом электростатической индукции через воздушные промежутки между каждой из трех однофазных однопроводниковых кабельных линий, установленных на электроизолированном дорожном покрытии или в земле непосредственно около их поверхности, и изолированными токоприемниками, установленными под днищем каждого электротранспортного средства.
В другом варианте способа питание электротранспортного средства производят между однопроводниковой линией, установленной на опорах над дорожным покрытием или землей, и токоприемником, установленным над электротранспортным средством.
Еще в одном варианте способа питание электротранспортного средства производят через воздушный промежуток между однопроводниковой линией и токоприемником, установленными около боковой поверхности электротранспортного средства.
Устройство, реализующее данный способ питания электротранспортного средства, содержащее источник электрической энергии, к которому присоединен преобразователь частоты, повышающий резонансный трансформатор, однопроводниковую линию для каждой полосы движения и токоприемники электротранспортных средств, выполнено в виде трехфазной резонансной электрической системы с частотой 0,1-400 кГц и напряжением каждой из трех однофазных однопроводниковых линий 0,5-1000 кВ с воздушным промежутком 0,01-50 м между электроизолированной от земли однопроводниковой линией и токоприемником, установленным на электротранспортном средстве, устройство содержит три резонансных передающих контура и N приемных, где N – число электротранспортных средств, настроенных на одинаковую частоту f0=0,1-400 кГц, вход каждого из трех передающих контуров присоединен к преобразователю частоты, а выходы через три однофазных резонансных высокочастотных трансформатора и три однопроводниковые линии и воздушные промежутки к токоприемникам, каждый токоприемник выполнен в виде тонкого изолированного листа из проводящего материала и установлен на электротранспортном средстве параллельно однопроводниковой линии; вход каждого приемного резонансного контура присоединен к токоприемнику через резонансный понижающий трансформатор, один из выводов высоковольтной обмотки трансформатора подключен к естественной емкости или земле, а выводы низковольтной обмотки через емкость, выпрямитель, аккумулятор и блок управления к электродвигателю электротранспортного средства.
В одном из вариантов устройства участки изолированной однопроводниковой линии установлены в дорожном покрытии или в земле непосредственно около их поверхности, а изолированные токоприемники с воздушным промежутком установлены под днищем электротранспортного средства.
В другом варианте устройства участки однопроводниковой линии установлены над каждой полосой движения, а токоприемники установлены с воздушным промежутком над крышей электротранспортного средства.
Еще в одном варианте устройства изолированная однопроводниковая линия установлена у края дороги, а изолированные токоприемники с воздушным промежутком установлены у боковой поверхности электротранспортного средства.
В варианте способа питания рельсовых электротранспортных средств, предусматривающем подачу электрической энергии через высоковольтный высокочастотный преобразователь и однопроводниковую сеть к индивидуальным токоприемникам транспортных средств, подачу питания к рельсовому электротранспортному средству осуществляют методом электростатической индукции через воздушный промежуток между однопроводниковой линией и токоприемником, установленным на электротранспортном средстве, от резонансной однопроводниковой системы электропитания с использованием переменного электростатического поля с частотой 0,1-400 кГц и напряжением в линии 0,5-1000 кВ, напряжение на токоприемнике понижают путем присоединения токоприемника к высоковольтной обмотке высокочастотного резонансного трансформатора Тесла и присоединения другого вывода высоковольтной обмотки через колесные пары к заземленным рельсам; преобразуют в напряжение постоянного тока, аккумулируют электрическую энергию и преобразуют электрическую энергию в механическую энергию перемещения транспортного средства.
В одном из вариантов способа подачу питания на рельсовое электротранспортное средство осуществляют методом электростатической индукции через воздушный промежуток между изолированной однопроводниковой линией, установленной в дорожном покрытии или земле непосредственно около их поверхности, и токоприемником, установленным под днищем электротранспортного средства.
В другом варианте способа электропитание рельсового электротранспортного средства осуществляют через воздушный промежуток между однопроводниковой линией, установленной на опорах над дорожным покрытием или землей, и токоприемником, установленным над электротранспортным средством.
Еще в одном варианте способа электропитание рельсового электротранспортного средства производят через воздушный промежуток между однопроводниковой линией и токоприемником, установленным около боковой поверхности электротранспортного средства.
Устройство, реализующее данный способ электропитания рельсового электротранспортного средства, содержащее источник электрической энергии, к которому присоединен преобразователь частоты, однопроводниковую линию для каждого рельсового пути движения и токоприемники, установленные на электротранспортных средствах, выполнено в виде резонансной электрической системы с частотой 0,1-400 кГц и напряжением однопроводниковой линии 0,5-1000 кВ с воздушным промежутком 0,01-50 м между однопроводниковой линией и токоприемником, устройство содержит два резонансных контура, один передающий и один приемный, настроенных на одинаковую частоту f0=0,1-400 кГц, вход передающего контура присоединен к преобразователю частоты, а выход через резонансный повышающий трансформатор, однопроводниковую линию и воздушный промежуток к токоприемнику, токоприемник выполнен в виде тонкого изолированного листа из проводящего материала и установлен на транспортном средстве параллельно однопроводниковой линии, токоприемник присоединен к одному из выводов высоковольтной обмотки понижающего резонансного трансформатора, второй вывод высоковольтной обмотки присоединен к земле через колесные пары электротранспортного средства и рельсы, вход второго приемного резонансного контура присоединен к токоприемнику через резонансный понижающий трансформатор, а выход через выпрямитель, аккумулятор и блок управления – к электродвигателю электротранспортного средства.
В одном варианте устройства участки однопроводниковой сети изолированы и установлены параллельно между рельсами под каждой полосой движения, а изолированные токоприемники установлены с воздушным промежутком под днищем рельсового электротранспортного средства.
В другом варианте устройства участки однопроводниковой сети изолированы и установлены параллельно над каждой полосой рельсового пути, а изолированные токоприемники установлены с воздушным промежутком над крышей рельсового электротранспортного средства.
Еще в одном варианте устройства изолированная однопроводниковая линия установлена у края рельсового пути, а изолированные токоприемники установлены с воздушным промежутком у боковой поверхности электротранспортного средства.
В способе питания электротранспортных средств, предусматривающем подачу электрической энергии через высоковольтный высокочастотный преобразователь и однопроводниковую сеть к индивидуальным токоприемникам транспортных средств, подачу питания к электротранспортному средству осуществляют методом электростатической индукции через два воздушных промежутка между двумя участками однопроводниковой линии и двумя токоприемниками, установленными на электротранспортном средстве, от резонансной однопроводниковой системы электропитания с использованием переменного электростатического поля с частотой 0,1-400 кГц и напряжением в линии 0,5-1000 кВ, напряжение на токоприемнике понижают путем присоединения двух токоприемников к двум выводам высоковольтной обмотки понижающего высокочастотного резонансного трансформатора Тесла и присоединения одного из выводов низковольтной обмотки к естественной емкости или земле; преобразуют в напряжение постоянного тока, аккумулируют электрическую энергию и преобразуют электрическую энергию в механическую энергию перемещения электротранспортного средства.
В одном из вариантов способа однопроводниковая линия установлена зигзагообразно на каждом ряду движения с расстоянием между участками линии 0,5-5 м и длиной каждого участка в зигзаге 0,1-100 км.
В одном из вариантов способа питание электротранспортного средства производят через воздушный промежуток между двумя участками изолированной однопроводниковой линии, установленной в дорожном покрытии или земле около их поверхности, и двумя токоприемниками, установленными под днищем электротранспортного средства.
В другом варианте способа питание электротранспортного средства производят между двумя участками однопроводниковой линии, установленной на опорах над дорожным покрытием или землей, и двумя токоприемниками, установленными над электротранспортным средством.
Еще в одном варианте способа питание электротранспортного средства производят через воздушный промежуток между двумя участками однопроводниковой линии и двумя токоприемниками, установленными около боковой поверхности электротранспортного средства.
Устройство, реализующее данный способ питания электротранспортного средства, содержащее источник электрической энергии, к которому присоединен преобразователь частоты, однопроводниковую линию для каждой полосы движения и токоприемники электротранспортных средств, выполнено в виде резонансной электрической системы с частотой 0,1-400 кГц и напряжением однопроводниковой линии 0,5-1000 кВ с двумя воздушными промежутками 0,01-50 м между двумя участками электроизолированной от земли однопроводниковой линии с расстоянием между участками 0,5-5 м и длиной каждого участка 0,1-100 км, установленной на опорах над дорожным покрытием или землей на высоте, превышающей высоту электротранспортного средства, и двумя токоприемниками, установленными на электротранспортном средстве, устройство содержит два резонансных контура, один передающий и один приемный, настроенных на одинаковую частоту f0=0,1-400 кГц, вход передающего контура присоединен к преобразователю частоты, а выход через резонансный повышающий трансформатор, два участка однопроводниковой линии и воздушный промежуток – к двум токоприемникам, токоприемники выполнены в виде тонкого изолированного листа из проводящего материала и установлены на электротранспортном средстве параллельно участкам однопроводниковой линии; два входа второго приемного резонансного контура присоединены к токоприемникам через резонансный понижающий трансформатор, а выводы низковольтной обмотки через выпрямитель, аккумулятор и блок управления – к электродвигателю электротранспортного средства.
В одном из вариантов устройства участки изолированной однопроводниковой линии установлены в дорожном покрытии или в земле непосредственно около их поверхности, а изолированные токоприемники с воздушным промежутком установлены под днищем электротранспортного средства.
В другом варианте устройства участки однопроводниковой линии установлены над каждой полосой движения, а токоприемники установлены с воздушным промежутком над крышей электротранспортного средства.
Еще в одном варианте устройства изолированная однопроводниковая линия установлена у края дороги, а изолированные токоприемники с воздушным промежутком установлены у боковой поверхности электротранспортного средства.
В варианте способа питания рельсовых электротранспортных средств, предусматривающем подачу электрической энергии через высоковольтный высокочастотный преобразователь и однопроводниковую контактную сеть к индивидуальным токоприемникам электротранспортных средств, подачу питания к электротранспортному средству осуществляют по двум однопроводниковым линиям от двух высокочастотных трансформаторов методом электростатической индукции через воздушный промежуток между двумя однопроводниковыми линиями с расстоянием между линиями 0,5-5 м и двумя токоприемниками, установленными на электротранспортном средстве, от резонансной высокочастотной системы электропитания с использованием переменного электростатического поля с частотой 0,1-400 кГц и напряжением в линии 0,5-1000 кВ, напряжение на токоприемниках понижают путем присоединения токоприемников к двум высоковольтным обмоткам двух высокочастотных резонансных трансформаторов Тесла и присоединения других двух выводов высоковольтной обмотки к естественной емкости или земле; преобразуют в напряжение постоянного тока, аккумулируют электрическую энергию и преобразуют электрическую энергию в механическую энергию перемещения электротранспортного средства.
В одном из вариантов способа подачу питания на электротранспортное средство осуществляют методом электростатической индукции через три воздушных промежутка между двумя изолированными однопроводниковыми линиями, установленными в дорожном покрытии или земле непосредственно около их поверхности, и двумя токоприемниками, установленными под днищем электротранспортного средства.
В другом варианте способа электропитание электротранспортного средства осуществляют через воздушные промежутки между двумя однопроводниковыми линиями, установленными на опорах над дорожным покрытием или землей, и двумя токоприемниками, установленными над электротранспортным средством.
Еще в одном варианте способа электропитание электротранспортного средства производят через воздушные промежутки между двумя однопроводниковыми линиями и двумя токоприемниками, установленными около боковой поверхности электротранспортного средства.
Устройство, реализующее данный способ электропитания электротранспортного средства, содержащее источник электрической энергии, к которому присоединен преобразователь частоты, однопроводниковые линии и токоприемники, установленные на электротранспортных средствах, выполнено в виде резонансной электрической системы с двухфазным высокочастотным трансформатором и двумя однопроводниковыми линиями, установленными на каждой полосе движения с расстоянием между линиями 0,5-5 м, с частотой 0,1-400 кГц и напряжением каждой однопроводниковой линии 0,5-1000 кВ с воздушным промежутком 0,01-50 м между каждой однопроводниковой линией и каждым токоприемником, устройство содержит четыре резонансных контура, два передающих и два приемных, настроенных на одинаковую частоту f0=0,1-400 кГц, входы передающих контуров присоединены к преобразователю частоты, а выходы через двухфазный резонансный повышающий трансформатор, две однопроводниковые линии и воздушные промежутки – к двум токоприемникам, каждый токоприемник выполнен в виде тонкого изолированного листа из проводящего материала и установлен на транспортном средстве параллельно однопроводниковой линии, а токоприемники присоединены к одному из выводов двух высоковольтных обмоток понижающего резонансного трансформатора, второй вывод каждой высоковольтной обмотки присоединен к естественной емкости или к земле. Входы двух приемных резонансных контуров присоединены к токоприемникам через два резонансных понижающих трансформатора, а выходы через выпрямитель, аккумулятор и блок управления – к электродвигателю электротранспортного средства.
В одном варианте устройства две однопроводниковые линии изолированы и установлены параллельно под каждой полосой движения, а изолированные токоприемники установлены с воздушным промежутком под днищем электротранспортного средства.
В другом варианте устройства две однопроводниковые линии изолированы и установлены параллельно над каждой полосой движения, а изолированные токоприемники установлены с воздушным промежутком над крышей рельсового электротранспортного средства.
Еще в одном варианте устройства две изолированные однопроводниковые линии установлены у края полосы движения, а изолированные токоприемники установлены с воздушным промежутком у боковой поверхности электротранспортного средства.
В способе питания электротранспортных средств, предусматривающем подачу электрической энергии через высоковольтный высокочастотный преобразователь и однопроводниковую контактную сеть к индивидуальным токоприемникам электротранспортных средств, подачу питания к электротранспортному средству осуществляют от трехфазного высокочастотного повышающего трансформатора методом электростатической индукции через три воздушных промежутка между тремя однопроводниковыми линиями и тремя токоприемниками, установленными на электротранспортном средстве, от резонансной высокочастотной системы электропитания с использованием переменного электростатического поля с частотой 0,1-400 кГц и напряжением в каждой линии 0,5-1000 кВ, напряжение на токоприемнике понижают путем присоединения трех токоприемников к трем выводам высоковольтных обмоток трехфазного высокочастотного резонансного трансформатора Тесла и присоединения одного из выводов каждой высоковольтной обмотки к естественной емкости или земле; преобразуют в напряжение постоянного тока, аккумулируют электрическую энергию и преобразуют электрическую энергию в механическую энергию перемещения электротранспортного средства.
В одном из вариантов способа подачу питания на электротранспортное средство осуществляют методом электростатической индукции через три воздушных промежутка между тремя изолированными однопроводниковыми линиями, установленными в дорожном покрытии или земле непосредственно около их поверхности, и тремя токоприемниками, установленными под днищем электротранспортного средства.
В другом варианте способа электропитание электротранспортного средства осуществляют через воздушные промежутки между тремя однопроводниковыми линиями, установленными на опорах над дорожным покрытием или землей, и тремя токоприемниками, установленными над электротранспортным средством.
Еще в одном варианте способа электропитание электротранспортного средства производят через воздушные промежутки между тремя однопроводниковыми линиями и тремя токоприемниками, установленными около боковой поверхности электротранспортного средства.
Устройство, реализующее данный способ электропитания электротранспортного средства, содержащее источник электрической энергии, к которому присоединен преобразователь частоты, однопроводниковые линии и токоприемники, установленные на электротранспортных средствах, выполнено в виде резонансной электрической системы с трехфазным высокочастотным трансформатором и тремя однопроводниковыми линиями, установленными на каждой полосе движения с расстоянием между линиями 0,5-5 м, с частотой 0,1-400 кГц и напряжением каждой однопроводниковой линии 0,5-1000 кВ с воздушным промежутком 0,01-50 м между каждой однопроводниковой линией и каждым токоприемником, устройство содержит шесть резонансных контуров, три передающих и три приемных, настроенных на одинаковую частоту f0=0,1-400 кГц, входы передающих контуров присоединены к преобразователю частоты, а выходы через трехфазный резонансный повышающий трансформатор, три однопроводниковые линии и три воздушных промежутка к трем токоприемникам, каждый токоприемник выполнен в виде тонкого изолированного листа из проводящего материала и установлен на транспортном средстве параллельно однопроводниковой линии, а токоприемники присоединены к одному из выводов высоковольтных обмоток трехфазного понижающего резонансного трансформатора, второй вывод каждой высоковольтной обмотки присоединен к естественной емкости или к земле, входы приемных резонансных контуров присоединены к трем токоприемникам через трехфазный резонансный понижающий трансформатор, а выход через трехфазный выпрямитель, аккумулятор и блок управления – к электродвигателю электротранспортного средства.
В одном варианте устройства три однопроводниковые линии изолированы и установлены параллельно под каждой полосой движения, а изолированные токоприемники установлены с воздушным промежутком под днищем электротранспортного средства.
В другом варианте устройства три однопроводниковые линии изолированы и установлены параллельно над каждой полосой движения, а изолированные токоприемники установлены с воздушным промежутком над крышей рельсового электротранспортного средства.
Еще в одном варианте устройства три изолированные однопроводниковые линии установлены у края полосы движения, а изолированные токоприемники установлены с воздушным промежутком у боковой поверхности электротранспортного средства.
В способе питания электротранспортного средства, предусматривающем подачу электрической энергии через высоковольтный высокочастотный преобразователь и однопроводниковую сеть к индивидуальным токоприемникам электротранспортного средства, подачу питания к электротранспортному средству осуществляют от присоединенного к проводящей поверхности высокочастотного повышающего трансформатора методом электростатической индукции через воздушный промежуток между плоскостью проводящей поверхности и токоприемником, установленным под днищем электротранспортного средства, от резонансной однопроводниковой системы электропитания с использованием переменного электростатического поля с частотой 0,1-400 кГц и напряжением в каждой линии 0,5-1000 кВ, напряжение на токоприемнике понижают путем присоединения токоприемника к выводу высоковольтной обмотки высокочастотного резонансного трансформатора Тесла и присоединения другого вывода высоковольтной обмотки к естественной емкости или земле; преобразуют в напряжение постоянного тока, аккумулируют электрическую энергию и преобразуют электрическую энергию в механическую энергию перемещения электротранспортного средства.
Устройство, реализующее данный способ питания электротранспортных средств, содержащее источник электрической энергии, к которому присоединен преобразователь частоты, однопроводниковую линию и токоприемники электротранспортных средств, выполнено в виде резонансной электрической системы с частотой 0,1-400 кГц и напряжением 0,5-1000 кВ, однопроводниковая линия выполнена в виде проводящей поверхности с воздушным промежутком 0,01-50 м между плоскостью проводящей поверхности и токоприемником, установленным под транспортным средством, устройство содержит два резонансных контура, один передающий и один приемный, настроенных на одинаковую частоту f0=0,1-400 кГц, вход передающего контура присоединен к преобразователю частоты, а выход через резонансный повышающий трансформатор, однопроводниковую линию в виде проводящей поверхности и воздушный промежуток – к токоприемнику, токоприемник выполнен в виде тонкого изолированного листа из проводящего материала и установлен на транспортном средстве параллельно или под небольшим углом к плоскости водной поверхности; вход второго приемного резонансного контура присоединен к токоприемнику через резонансный понижающий трансформатор, другой вывод высоковольтной обмотки подключен к естественной емкости, а выводы низковольтной обмотки через выпрямитель, аккумулятор и блок управления – к электродвигателю электротранспортного средства.
В одном варианте устройства проводящая поверхность выполнена в виде поверхности водной среды.
В другом варианте устройства проводящая поверхность выполнена в виде электроизолированной металлической пленки, установленной на поверхности земли.
Еще в одном варианте устройства питания электротранспортных средств проводящая поверхность выполнена в виде спирали из изолированного проводника, площадь спирали соизмерима с площадью перемещения электротранспортного средства.
Еще в одном варианте устройства проводящая поверхность выполнена в виде изолированной сетки из проводящего материала, установленной на поверхности земли.
Еще в одном варианте устройства проводящая поверхность выполнена в виде множества параллельно соединенных изолированных однопроводниковых линий, длина которых равна длине перемещения электротранспортного средства, а расстояние между крайними проводниками примерно равно ширине электротранспортного средства.
В другом варианте устройства электротранспортное средство выполнено в виде воздушного судна, например экранолета.
Еще в одном варианте устройства электротранспортное средство выполнено в виде судна на воздушной подушке.
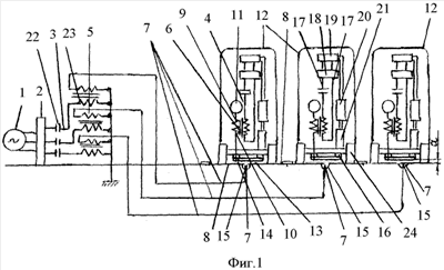
Сущность предлагаемого способа питания электротранспортных средств и устройства для его осуществления поясняется фиг.1, 2, 3, 4, 5, 6, 7, 8.
На фиг.1 изображена общая схема устройства, реализующего способ питания электротранспортных средств от трехфазной резонансной системы через воздушные промежутки между тремя изолированными однопроводниковыми линиями, установленными в дорожном покрытии, и токоприемниками, установленными на трех транспортных средствах.
На фиг.2 – схема устройства для подачи электроэнергии трехфазной резонансной системы и три однопроводниковые линии через воздушные промежутки к токоприемникам, установленным на крыше электротранспортного средства.
На фиг.3 – схема устройства для питания электротранспортных средств с использованием зигзагообразной однопроводной линии в каждом ряду движения.
На фиг.4 – схема устройства для подачи электроэнергии через два воздушных промежутка на два токоприемника на каждом электротранспортном средстве и зигзагообразную однопроводниковую линию на каждой полосе движения.
На фиг.5 – схема устройства для подачи электроэнергии через два воздушных промежутка на два токоприемника с двух разных участков однопроводниковой линии на рельсовое электротранспортное средство.
На фиг.6 – схема устройства для подачи электроэнергии через воздушный промежуток и однопроводниковую линию с использованием гальванической связи с землей для рельсовых электротранспортных средств.
На фиг.7 – схема устройства для подачи электрической энергии через три воздушных промежутка, через три однопроводниковые линии к трем токоприемникам, установленным под днищем рельсового электротранспортного средства.
На фиг.8 – схема устройства для подачи электропитания от проводящей поверхности водной среды через воздушный промежуток к токоприемнику, установленному на нижней поверхности воздушного электротранспортного средства.
На фиг.9 – схема устройства питания электротранспортного средства с использованием проводящей плоскости в виде спирали.
На фиг.10 – схема устройства питания электротранспортного средства с использованием проводящей плоскости в виде сетки.
На фиг.11 – схема устройства питания электротранспортного средства с использованием проводящей плоскости в виде множества параллельно соединенных однопроводниковых линий.
На фиг.12 – схема устройства питания электротранспортного средства с использованием проводящей плоскости в виде металлической фольги.
Устройство на фиг.1 содержит трехфазный источник электрической энергии 1 частотой 50 Гц, трехфазный преобразователь частоты 2 и резонансную электрическую систему, состоящую из шести резонансных контуров, трех передающих 3, установленных стационарно, и трех приемных 4, установленных на трех электротранспортных средствах, шести однопроводных резонансных высокочастотных трансформаторов 5 и 6, соединенных тремя однопроводниковыми линиями 7, установленными под каждой полосой движения 2 в дорожном покрытии 8 между повышающим 5 и понижающим 6 трансформаторами. Один из выводов 9 высоковольтной обмотки 10 понижающего высокочастотного трансформатора 6 соединен с естественной емкостью 11. Источник электрической энергии 7, трехфазный преобразователь частоты 2, три резонансных контура 3, три высокочастотных трансформатора 5 и три однопроводниковые линии 7 установлены стационарно, а резонансные контуры 4, высокочастотные трансформаторы 6 установлены на каждом электротранспортном средстве 72. Стационарная и передвижная часть резонансной системы соединены с помощью воздушного конденсатора 13, одна из обкладок которого выполнена стационарно в виде однопроводниковой линии 7 в дорожном покрытии 8, а вторая обкладка выполнена перемещающейся в виде плоского токоприемника 14, установленного под днищем электротранспортного средства 72. Промежуток между обкладками воздушного конденсатора а=0,01-50 м. Кабельные однопроводниковые линии 7 установлены в дорожном покрытии 8 под каждым рядом движения и снабжены дополнительно слоем электрической изоляции 15 для дополнительной изоляции линии 7 от дорожного покрытия и поверхности земли. Изоляция 15 выполнена в виде слоя кварцевого песка между кабельной линией 7 и поверхностью дорожного покрытия и земли. Слой кварцевого песка 75 скреплен водонепроницаемым гидрофобным веществом в монолитную среду и предназначен для снижения емкости линии 7 относительно земли в условиях воздействия атмосферных осадков. Токоприемники 14 установлены под днищем электротранспортных средств 12 на изоляторах 16 с воздушным промежутком а между дорожным покрытием 8 и однопроводниковой линией 7 и соединен с приемным резонансным контуром 4, выход 17 которого соединен через выпрямитель 18, аккумулятор 19 и блок управления 20 с электродвигателем 21 транспортного средства 12. В качестве естественной емкости 11 может быть использовано изолированное проводящее тело или земля.
Способ реализуется следующим образом.
К трехфазному источнику электрической энергии 7 стандартной частотой 50 Гц через трехфазный преобразователь частоты 2 присоединяют три передающих резонансных контура 3, каждый из которых состоит из конденсатора 22 и низковольтной обмотки 23 повышающего трансформатора 5. Электрические колебания тока и напряжения в режиме резонанса повышают по частоте до 0,1-400 кГц и по напряжению до 0,4-100 кВ и направляют по трем однопроводниковым электроизолированным линиям 7 вдоль дорожного покрытия 8, по которому перемещаются электротранспортные средства 12.
На фиг.1 показаны три ряда движения. В однопроводниковых линиях возникают стоячие волны в виде пучностей и узлов напряжения и тока. При полуволновой длине линии пучность напряжения располагается приблизительно в середине линии 7, а пучности тока сдвинуты на 90° или на относительно пучностей напряжения и располагаются на краях линии, на выводах 9 и 25 резонансных трансформаторов 5 и 6. Фазовый сдвиг между волнами тока и напряжения приводит к появлению свободных электрических зарядов в линии 7, которые перемещаются вдоль линии 7 от источника энергии 7 к потребителю – электродвигателю 27, приводящему в движение колеса 24 транспортного средства 12. Благодаря электростатической индукции и использованию переменного электростатического поля через воздушный конденсатор в токоприемнике 14 формируют электрический заряд и ток, которые поступают через понижающий трансформатор 6 в приемный резонансный контур 4, который настроен на частоту f0=0,1-400 кГц передающего контура 3, электрические колебания тока и напряжения в приемном резонансном контуре 4 выделяются на резонансной частоте f0 и поступают через выпрямитель 18, аккумулятор 19 и блок управления 20 на тяговый электродвигатель 27 электротранспортного средства 72.
На фиг.2 однопроводниковые линии 7 установлены над дорожным покрытием над каждым рядом движения на высоте, превышающей высоту электротранспортного средства 12. Однопроводниковые линии закреплены на опорах 25 и изолированы друг от друга с помощью изоляторов 26. Токоприемники 14 удалены от линий 7 на расстояние а. В качестве естественной емкости 11 используют металлические экраны, установленные под днищем транспортного средства 12 на изоляторах 27.
На фиг.3 источник электрической энергии повышенной частоты 28 через резонансный контур 3, состоящий из емкости 22 и низковольтной обмотки 23 однофазного высокочастотного трансформатора 29, передает электрическую энергию на однопроводниковую линию 30, которая зигзагообразно установлена на каждом ряде движения 31. Расстояние между соседними участками 32 и 33 и 34-35 однопроводниковой линии 30 b=0,5-5 м, а длина каждого участка 32 и 33 в зависимости от частоты составляет .
На фиг.4 представлена схема питания электротранспортного средства 35 от однопроводниковой линии 30, установленной в дорожном покрытии 8 зигзагообразно согласно фиг.3 в виде участков 32 и 33 в одном ряду движения и 33, 34 в другом ряду движения. Электротранспортное средство 35 имеет два токоприемника 36 и 37, установленные на изоляторах 16 напротив участков 32 и 33 под днищем электротранспортного средства 35 с промежутком а относительно дорожного покрытия 8. Токоприемники 36 и 37 подключены к высоковольтной обмотке 10 резонансного понижающего трансформатора 6. Направление токов, показанное в соседних участках однопроводниковой линии 30 знаками и , является встречным, и между этими участками имеется разность потенциалов V, зависящая от расстояния l вдоль линии 30 между этими участками, частоты f0 и напряжения в линии 30. Эта разность потенциалов V поступает через трансформатор 6 на резонансный контур 4. Электрическая энергия, выделенная на резонансном корпусе 4, через выпрямитель 18, аккумулятор 19 и блок управления 20 поступает на электродвигатель 21, связанный трансмиссией с колесами 24 электротранспортного средства 35.
На фиг.5 однопроводниковая линия 38 установлена над рельсовым электротранспортным средством 39, имеющим большую протяженность l. На крайних вагонах 40 и 41 установлены токоприемники 42 и 43 с воздушным промежутком а между токоприемниками 42, 43 и однопроводниковой линией 38. Токоприемники 42 и 43 подключены к высоковольтной обмотке 10 резонансного понижающего трансформатора 6. Способ питания электротранспортного средства 39 аналогичен способу на фиг.4. Если в способе питания электротранспортного средства согласно фиг.4 и 5 разность потенциалов на длине l незначительна, каждый из токоприемников 42 и 43 одновременно присоединяют к двум дополнительным резонансным понижающим трансформаторам 44, как показано на фиг.6, для получения электроэнергии с использованием полного потенциала линии в месте нахождения электротранснортного средства 39.
На фиг.6 рельсовое электротранспортное средство 45 присоединено к однопроводниковой линии 38 через воздушный конденсатор 13 с расстоянием между обкладками а, в качестве обкладок используют однопроводниковую линию 38 и токоприемник 42. Однопроводниковая линия 38 закреплена между опорами 46 и 47 с помощью изоляторов 26. Один из выводов высоковольтной обмотки 9 присоединен через рельсы 48 к земле.
На фиг.7 показана схема устройства для питания рельсового электротранспортного средства 46 от трехфазной резонансной системы по трем однопроводниковым линиям 7, установленным под каждым направлением движения. Три однопроводниковые линии 7 установлены между рельсами 48 на шпалах 49 в изолирующем корпусе 50. Под днищем электротранспортного средства 46 установлены на изоляторах 27 три плоских токоприемника 14, соединенные с тремя высоковольтными обмотками 51 трех резонансных понижающих трансформаторов 52. Низковольтные обмотки 53 трансформаторов 52 через емкости 54 соединены с трехфазным выпрямителем 55, аккумулятором 19, блоком управления 20 и тяговым электродвигателем 21, свободные концы 56 высоковольтных обмоток 57 и свободные концы 57 низковольтных обмоток 53 соединены через рельсы 48 с землей.
Способ питания реализуется следующим образом. При подаче питания по трем однопроводниковым линиям 7 от трехфазного источника энергии 7 между однопроводниковыми линиями возникает разность потенциалов и разность фаз. В каждой из однопроводниковых линий устанавливается режим стоячих волн с узлами и пучностями тока и напряжения и сдвигом фаз 90° между пучностями тока и напряжения. В условиях резонанса частот в резонансных контурах понижающего резонансного трансформатора возникают колебания электрической энергии, передаваемой через воздушные конденсаторы 13 методом электростатической индукции.
На фиг.8 в качестве однопроводниковой линии используется проводящая поверхность водной среды 49. Электрическая энергия передается на воздушное электротранспортное средство 50 от источника энергии повышенной частоты 28 через резонансный высокочастотный трансформатор 29, водную среду 49, воздушный конденсатор 57 с промежутком а между проводящей поверхностью водной среды 49 и токоприемником 52, установленным под днищем электротранспортного средства 50 и изолированным от него изолирующей прокладкой 53. Токоприемник 52 присоединен к высоковольтной обмотке 10 понижающего резонансного трансформатора 6. Другой конец 9 высоковольтной обмотки 10 соединен с естественной емкостью 54, выполненной в виде металлической оболочки в верхней части корпуса 55, изолированной от корпуса слоем изоляции 56. Электрическая энергия через выпрямитель 18, аккумулятор 79, блок управления 20 передается на электродвигатели 21 и 57 для создания воздушной подушки и перемещения электротранспортного средства 50. В качестве воздушного электротранспортного средства могут быть использованы экранолеты и суда на воздушной подушке.
На фиг.9 однопроводниковая линия выполнена в виде проводящей поверхности в форме спирали 56 из изолированного проводника, установленного на поверхности земли. Площадь спирали 56 соизмерима с площадью перемещения электротранспортного средства 57.
На фиг.10 проводящая поверхность выполнена в виде сетки 58 из проводящего материала, установленной на поверхности земли.
На фиг.11 проводящая поверхность выполнена в виде множества параллельно соединенных однопроводниковых линий 59, длина которых L равна длине перемещения электротранспортного средства 57, а расстояние с между однопроводниковыми линиями в 3-5 раз меньше ширины b электротранспортного средства 57.
На фиг.12 проводящая поверхность выполнена в виде электроизолированной металлической пленки 60, установленной на поверхности земли.
В отличие от электромагнитной индукции, величина которой при передаче энергии через воздушный трансформатор пропорциональна напряжению в первой степени, электростатическая индукция пропорциональна квадрату напряжения на конденсаторе 13. Однопроводниковые линии, в отличие от двух- и трехпроводниковых линий, используемых при передаче энергии в методе электромагнитной индукции, имеют малое индуктивное и емкостное сопротивление, что позволяет передать без больших потерь электрическую энергию бесконтактным методом.
Электрическая мощность, которая передается через воздушный конденсатор 13 с емкостью с на транспортное средство 12, определяется по формуле:

где V – напряжение в линии 7.
Принимая f0=5 кГц, с=10·10-9 ф, V=10 кВ, получим Рэл.=31,4 кВт.
Преимущество предлагаемого способа электропитания электротранспортных средств при подземной прокладке однопроводниковой линии 7 заключается в освобождении дороги от опор, тросов, проводов и троллеев и в возможности электропитания грузовых и легковых автомашин, автобусов, инвалидных колясок, внутрискладского транспорта. Однопроводниковая линия 7 выполняется изолированной и безопасна, в отличие от голого контактного провода при троллейном способе электропитания. Предлагаемые способ и устройство электропитания электротранспортных средств имеют более высокую надежность по сравнению с троллейным способом электропитания благодаря отсутствию износа и искрения при бесконтактном методе передачи электроэнергии.
Формула изобретения
1. Способ питания электротранспортных средств, предусматривающий подачу электрической энергии через высоковольтный высокочастотный преобразователь и однопроводниковую сеть к индивидуальным токоприемникам электротранспортных средств, отличающийся тем, что подачу питания к каждому электротранспортному средству, движущемуся по одной полосе движения, осуществляют от одного из трех однофазных высокочастотных резонансных трансформаторов путем соединения входа каждого из трех резонансных трансформаторов через емкость к трехфазному преобразователю частоты, а выход каждого резонансного трансформатора к одной из однопроводниковых линий, подачу питания от каждой однопроводниковой линии к каждому электротранспортному средству осуществляют методом электростатической индукции через воздушный промежуток между изолированной однопроводниковой линией и токоприемником, установленным на электротранспортном средстве, от резонансной однопроводниковой системы электропитания с использованием переменного электростатического поля с частотой 0,1-400 кГц и напряжением в линии 0,5-1000 кВ, напряжение на токоприемнике понижают путем присоединения токоприемника к высоковольтной обмотке высокочастотного резонансного трансформатора и присоединения другого вывода высоковольтной обмотки к естественной емкости или земле, преобразуют в напряжение постоянного тока, аккумулируют электрическую энергию и преобразуют электрическую энергию в механическую энергию перемещения транспортного средства.
2. Способ питания электротранспортных средств по п.1, отличающийся тем, что подачу питания на электротранспортные средства осуществляют методом электростатической индукции через воздушные промежутки между каждой из трех однофазных однопроводниковых кабельных линий, установленных в электроизолированном дорожном покрытии или в земле непосредственно около их поверхности, и изолированными токоприемниками, установленными под днищем каждого электротранспортного средства.
3. Способ питания электротранспортных средств по п.1, отличающийся тем, что питание электротранспортного средства осуществляют через воздушный промежуток между однопроводниковой линией, установленной на опорах над дорожным покрытием или землей на высоте, превышающей высоту транспортного средства, и токоприемником, установленным над крышей электротранспортного средства.
4. Способ питания электротранспортного средства по п.1, отличающийся тем, что питание электротранспортного средства производят через воздушный промежуток между однопроводниковой линией и токоприемником, установленными около боковой поверхности электротранспортного средства.
5. Устройство питания электротранспортного средства, содержащее источник электрической энергии, к которому присоединен преобразователь частоты, повышающий резонансный трансформатор, однопроводниковую линию для каждой полосы движения и токоприемники электротранспортных средств, отличающееся тем, что оно выполнено в виде трехфазной резонансной электрической системы с частотой 0,1-400 кГц и напряжением каждой из трех однофазных однопроводниковых линий 0,5-1000 кВ с воздушным промежутком 0,01-50 м между электроизолированной от земли однопроводниковой линией и токоприемником, установленным на электротранспортном средстве, устройство содержит три резонансных передающих контура и N приемных, где N – число электротранспортных средств, настроенных на одинаковую частоту f0=0,1-400 кГц, вход каждого из трех передающих контуров присоединен к трехфазному преобразователю частоты, а выходы через три однофазных резонансных высокочастотных трансформатора, три однопроводниковые линии и воздушные промежутки – к токоприемникам, каждый токоприемник выполнен в виде тонкого изолированного листа из проводящего материала и установлен на электротранспортном средстве параллельно однопроводниковой линии; вход каждого приемного резонансного контура присоединен к токоприемнику через резонансный понижающий трансформатор, один из выводов высоковольтной обмотки трансформатора подключен к естественной емкости или земле, а выводы низковольтной обмотки через емкость, выпрямитель, аккумулятор и блок управления – к электродвигателю электротранспортного средства.
6. Устройство питания электротранспортного средства по п.5, отличающееся тем, что участки изолированной однопроводниковой линии установлены в дорожном покрытии или в земле непосредственно около их поверхности, а изолированные токоприемники с воздушным промежутком установлены под днищем электротранспортного средства.
7. Устройство питания электротранспортного средства по п.5, отличающееся тем, что участки однопроводниковой линии установлены над каждой полосой движения, а токоприемники установлены с воздушным промежутком над крышей электротранспортного средства.
8. Устройство питания электротранспортных средств по п.5, отличающееся тем, что изолированная однопроводниковая линия установлена у края дороги, а изолированные токоприемники с воздушным промежутком установлены у боковой поверхности электротранспортного средства.
9. Способ питания рельсовых электротранспортных средств, предусматривающий подачу электрической энергии через высоковольтный высокочастотный преобразователь и однопроводниковую сеть к индивидуальным токоприемникам электротранспортных средств, отличающийся тем, что подачу питания к рельсовому электротранспортному средству осуществляют методом электростатической индукции через воздушный промежуток между однопроводниковой линией и токоприемником, установленным на электротранспортном средстве, от резонансной однопроводниковой системы электропитания с использованием переменного электростатического поля с частотой 0,1-400 кГц и напряжением в линии 0,5-1000 кВ, напряжение на токоприемнике понижают путем присоединения токоприемника к высоковольтной обмотке высокочастотного резонансного трансформатора и присоединения другого вывода высоковольтной обмотки через колесные пары к заземленным рельсам; преобразуют в напряжение постоянного тока, аккумулируют электрическую энергию и преобразуют электрическую энергию в механическую энергию перемещения электротранспортного средства.
10. Способ питания рельсовых электротранспортных средств по п.9, отличающийся тем, что подачу питания на рельсовое электротранспортное средство осуществляют методом электростатической индукции через воздушный промежуток между изолированной однопроводниковой линией, установленной в дорожном покрытии или земле непосредственно около их поверхности, и токоприемником, установленным под днищем электротранспортного средства.
11. Способ питания рельсовых электротранспортных средств по п.9, отличающийся тем, что подачу питания осуществляют через воздушный промежуток между однопроводниковой линией, установленной на опорах над дорожным покрытием или землей, и токоприемником, установленным над электротранспортным средством.
12. Способ питания рельсовых электротранспортных средств по п.9, отличающийся тем, что подачу питания производят через воздушный промежуток между однопроводниковой линией и токоприемником, установленными около боковой поверхности электротранспортного средства.
13. Устройство питания рельсовых электротранспортных средств, содержащее источник электрической энергии, к которому присоединен преобразователь частоты, и однопроводниковую линию для каждого рельсового пути движения и токоприемники, установленные на электротранспортных средствах, отличающееся тем, что устройство выполнено в виде резонансной электрической системы с частотой 0,1-400 кГц и напряжением однопроводниковой линии 0,5-1000 кВ с воздушным промежутком 0,01-50 м между однопроводниковой линией и токоприемником; устройство содержит два резонансных контура, один передающий и один приемный, настроенных на одинаковую частоту f0=0,1-400 кГц, вход передающего контура присоединен к преобразователю частоты, а выход через резонансный повышающий трансформатор, однопроводниковую линию и воздушный промежуток – к токоприемнику, токоприемник выполнен в виде тонкого изолированного листа из проводящего материала и установлен на транспортном средстве параллельно однопроводниковой линии, токоприемник присоединен к одному из выводов высоковольтной обмотки понижающего резонансного трансформатора, второй вывод высоковольтной обмотки присоединен к земле через колесные пары электротранспортного средства и рельсы, вход второго приемного резонансного контура присоединен к токоприемнику через резонансный понижающий трансформатор, а выход через выпрямитель, аккумулятор и блок управления – к электродвигателю электротранспортного средства.
14. Устройство питания рельсовых электротранспортных средств по п.13, отличающееся тем, что участки однопроводниковой сети изолированы и установлены параллельно между рельсами под каждой полосой движения, а изолированные токоприемники установлены с воздушным промежутком под днищем рельсового электротранспортного средства.
15. Устройство для питания рельсовых электротранспортных средств по п.13, отличающееся тем, что участки однопроводниковой сети изолированы и установлены параллельно над каждой полосой рельсового пути, а изолированные токоприемники установлены с воздушным промежутком над крышей рельсового электротранспортного средства.
16. Устройство питания рельсовых электротранспортных средств по п.13, отличающееся тем, что изолированная однопроводниковая линия установлена у края рельсового пути, а изолированные токоприемники установлены с воздушным промежутком у боковой поверхности электротранспортного средства.
17. Способ питания электротранспортных средств, предусматривающий подачу электрической энергии через высоковольтный высокочастотный преобразователь и однопроводниковую сеть к индивидуальным токоприемникам электротранспортных средств, отличающийся тем, что подачу питания к электротранспортному средству осуществляют методом электростатической индукции через два воздушных промежутка между двумя участками однопроводниковой линии и двумя токоприемниками, установленными на электротранспортном средстве, от резонансной однопроводниковой системы электропитания с использованием переменного электростатического поля с частотой 0,1-400 кГц и напряжением в линии 0,5-1000 кВ, напряжение на токоприемнике понижают путем присоединения двух токоприемников к двум выводам высоковольтной обмотки понижающего высокочастотного резонансного трансформатора Тесла и присоединения одного из выводов низковольтной обмотки к естественной емкости или земле; преобразуют в напряжение постоянного тока, аккумулируют электрическую энергию и преобразуют электрическую энергию в механическую энергию перемещения транспортного средства.
18. Способ питания электротранспортных средств по п.14, отличающийся тем, что однопроводниковая линия установлена зигзагообразно на каждом ряду движения с расстоянием между участками линии 0,5-5 м и длиной каждого участка в зигзаге 0,1-100 км.
19. Способ питания электротранспортных средств по п.17, отличающийся тем, что питание электротранспортных средств производят через воздушный промежуток между двумя участками изолированной однопроводниковой линии, установленной в дорожном покрытии или земле около их поверхности, и двумя токоприемниками, установленными под днищем транспортного средства.
20. Способ питания электротранспортных средств по п.17, отличающийся тем, что питание электротранспортного средства производят между двумя участками однопроводниковой линии, установленной на опорах над дорожным покрытием или землей, и двумя токоприемниками, установленными над электротранспортным средством.
21. Способ питания электротранспортных средств по п.17, отличающийся тем, что питание электротранспортного средства производят через воздушный промежуток между двумя участками однопроводниковой линии и двумя токоприемниками, установленными около боковой поверхности электротранспортного средства.
22. Устройство питания электротранспортных средств, содержащее источник электрической энергии, к которому присоединен преобразователь частоты, однопроводниковую линию для каждой полосы движения и токоприемники электротранспортных средств, отличающееся тем, что оно выполнено в виде резонансной электрической системы с частотой 0,1-400 кГц и напряжением однопроводниковой линии 0,5-1000 кВ с двумя воздушными промежутками 0,01-50 м между двумя участками электроизолированной от земли однопроводниковой линии с расстоянием между участками 0,5-5 м и длиной каждого участка 0,1-100 км, установленной на опорах над дорожным покрытием или землей на высоте, превышающей высоту транспортного средства, и двумя токоприемниками, установленными на транспортном средстве, устройство содержит два резонансных контура, один передающий и один приемный, настроенных на одинаковую частоту f0=0,1-400 кГц, вход передающего контура присоединен к преобразователю частоты, а выход через резонансный повышающий трансформатор, два участка однопроводниковой линии и воздушный промежуток – к двум токоприемникам, токоприемники выполнены в виде тонкого изолированного листа из проводящего материала и установлены на транспортном средстве параллельно участкам однопроводниковой линии; два входа второго приемного резонансного контура присоединены к токоприемникам через резонансный понижающий трансформатор, а выводы низковольтной обмотки через выпрямитель, аккумулятор и блок управления – к электродвигателю электротранспортного средства.
23. Устройство питания электротранспортных средств по п.22, отличающееся тем, что участки изолированной однопроводниковой линии установлены в дорожном покрытии или в земле непосредственно около их поверхности, а изолированные токоприемники с воздушным промежутком установлены под днищем электротранспортного средства, в другом варианте устройства участки однопроводниковой линии установлены над каждой полосой движения, а токоприемники установлены с воздушным промежутком над крышей электротранспортного средства.
24. Устройство питания электротранспортных средств по п.22, отличающееся тем, что изолированная однопроводниковая линия установлена у края дороги, а изолированные токоприемники с воздушным промежутком установлены у боковой поверхности электротранспортного средства.
25. Способ питания электротранспортных средств, предусматривающий подачу электрической энергии через высоковольтный высокочастотный преобразователь и однопроводниковую сеть к индивидуальным токоприемникам электротранспортных средств, отличающийся тем, что подачу питания к электротранспортному средству осуществляют по двум однопроводниковым линиям от двух высокочастотных трансформаторов методом электростатической индукции через воздушный промежуток между двумя однопроводниковыми линиями с расстоянием между линиями 0,5-5 м и двумя токоприемниками, установленными на электротранспортном средстве, от резонансной высокочастотной системы электропитания с использованием переменного электростатического поля с частотой 0,1-400 кГц и напряжением в линии 0,5-1000 кВ, напряжение на токоприемниках понижают путем присоединения токоприемников к двум высоковольтным обмоткам двух высокочастотных резонансных трансформаторов Тесла и присоединения других двух выводов высоковольтной обмотки к естественной емкости или земле; преобразуют в напряжение постоянного тока, аккумулируют электрическую энергию и преобразуют электрическую энергию в механическую энергию перемещения электротранспортного средства.
26. Способ питания электротранспортных средств по п.25, отличающийся тем, что подачу питания на электротранспортное средство осуществляют методом электростатической индукции через три воздушных промежутка между двумя изолированными однопроводниковыми линиями, установленными в дорожном покрытии или земле непосредственно около их поверхности, и двумя токоприемниками, установленными под днищем электротранспортного средства.
27. Способ питания электротранспортных средств по п.25, отличающийся тем, что питание электротранспортного средства осуществляют через воздушные промежутки между двумя однопроводниковыми линиями, установленными на опорах над дорожным покрытием или землей, и двумя токоприемниками, установленными над электротранспортным средством.
28. Способ питания электротранспортных средств по п.25, отличающийся тем, что электропитание электротранспортного средства производят через воздушные промежутки между двумя однопроводниковыми линиями и двумя токоприемниками, установленными около боковой поверхности электротранспортного средства.
29. Устройство питания электротранспортных средств, содержащее источник электрической энергии, к которому присоединен преобразователь частоты, однопроводниковые линии и токоприемники, установленные на электротранспортных средствах, отличающееся тем, что устройство выполнено в виде резонансной электрической системы с двухфазным высокочастотным трансформатором и двумя однопроводниковыми линиями, установленными на каждой полосе движения с расстоянием между линиями 0,5-5 м, с частотой 0,1-400 кГц и напряжением каждой однопроводниковой линии 0,5-1000 кВ с воздушным промежутком 0,01-50 м между каждой однопроводниковой линией и каждым токоприемником, устройство содержит четыре резонансных контура, два передающих и два приемных, настроенных на одинаковую частоту f0=0,1-400 кГц, входы передающих контуров присоединены к преобразователю частоты, а выходы через двухфазный резонансный повышающий трансформатор, две однопроводниковые линии и воздушные промежутки – к двум токоприемникам, каждый токоприемник выполнен в виде тонкого изолированного листа из проводящего материала и установлен на транспортном средстве параллельно однопроводниковой линии, а токоприемники присоединены к одному из выводов двух высоковольтных обмоток понижающего резонансного трансформатора, второй вывод каждой высоковольтной обмотки присоединен к естественной емкости или к земле, входы двух приемных резонансных контуров присоединены к токоприемникам через два резонансных понижающих трансформатора, а выходы через выпрямитель, аккумулятор и блок управления – к электродвигателю электротранспортного средства.
30. Устройство питания электротранспортных средств по п.29, отличающееся тем, что две однопроводниковые линии изолированы и установлены параллельно под каждой полосой движения, а изолированные токоприемники установлены с воздушным промежутком под днищем электротранспортного средства.
31. Устройство питания электротранспортных средств по п.29, отличающееся тем, что две однопроводниковые линии изолированы и установлены параллельно над каждой полосой движения, а изолированные токоприемники установлены с воздушным промежутком над крышей рельсового электротранспортного средства.
32. Устройство питания электротранспортных средств по п.29, отличающееся тем, что две изолированные однопроводниковые линии установлены у края полосы движения, а изолированные токоприемники установлены с воздушным промежутком у боковой поверхности электротранспортного средства.
33. Способ питания электротранспортных средств, предусматривающий подачу электрической энергии через высоковольтный высокочастотный преобразователь и однопроводниковую сеть к индивидуальным токоприемникам электротранспортных средств, отличающийся тем, что подачу питания к электротранспортному средству осуществляют от трехфазного высокочастотного повышающего трансформатора методом электростатической индукции через три воздушных промежутка между тремя однопроводниковыми линиями и тремя токоприемниками, установленными на электротранспортном средстве, от резонансной высокочастотной системы электропитания с использованием переменного электростатического поля с частотой 0,1-400 кГц и напряжением в каждой линии 0,5-1000 кВ, напряжение на токоприемнике понижают путем присоединения трех токоприемников к трем выводам высоковольтных обмоток трехфазного высокочастотного резонансного трансформатора Тесла и присоединения одного из выводов каждой высоковольтной обмотки к естественной емкости или земле; преобразуют в напряжение постоянного тока, аккумулируют электрическую энергию и преобразуют электрическую энергию в механическую энергию перемещения электротранспортного средства.
34. Способ питания электротранспортных средств по п.33, отличающийся тем, что подачу питания на электротранспортное средство осуществляют методом электростатической индукции через три воздушных промежутка между тремя изолированными однопроводниковыми линиями, установленными в дорожном покрытии или земле непосредственно около их поверхности, и тремя токоприемниками, установленными под днищем электротранспортного средства.
35. Способ питания электротранспортных средств по п.33, отличающийся тем, что электропитание электротранспортного средства осуществляют через воздушные промежутки между тремя однопроводниковыми линиями, установленными на опорах над дорожным покрытием или землей, и тремя токоприемниками, установленными над электротранспортным средством.
36. Способ питания электротранспортных средств по п.33, отличающийся тем, что электропитание электротранспортного средства производят через воздушные промежутки между тремя однопроводниковыми линиями и тремя токоприемниками, установленными около боковой поверхности электротранспортного средства.
37. Устройство электропитания электротранспортных средств, содержащее источник электрической энергии, к которому присоединен преобразователь частоты, однопроводниковые линии и токоприемники, установленные на электротранспортных средствах, отличающееся тем, что устройство выполнено в виде резонансной электрической системы с трехфазным высокочастотным трансформатором и тремя однопроводниковыми линиями, установленными на каждой полосе движения с расстоянием между линиями 0,5-5 м, с частотой 0,1-400 кГц и напряжением каждой однопроводниковой линии 0,5-1000 кВ с воздушным промежутком 0,01-50 м между каждой однопроводниковой линией и каждым токоприемником, устройство содержит шесть резонансных контуров, три передающих и три приемных, настроенных на одинаковую частоту f0=0,1-400 кГц, входы передающих контуров присоединены к преобразователю частоты, а выходы через трехфазный резонансный повышающий трансформатор, три однопроводниковые линии и три воздушных промежутка к трем токоприемникам, каждый токоприемник выполнен в виде тонкого изолированного листа из проводящего материала и установлен на транспортном средстве параллельно однопроводниковой линии, а токоприемники присоединены к одному из выводов высоковольтных обмоток трехфазного понижающего резонансного трансформатора, второй вывод каждой высоковольтной обмотки присоединен к естественной емкости или к земле, входы приемных резонансных контуров присоединены к трем токоприемникам через трехфазный резонансный понижающий трансформатор, а выход через трехфазный выпрямитель, аккумулятор и блок управления – к электродвигателю электротранспортного средства.
38. Устройство питания электротранспортных средств по п.37, отличающееся тем, что три однопроводниковые линии изолированы и установлены параллельно под каждой полосой движения, а изолированные токоприемники установлены с воздушным промежутком под днищем электротранспортного средства.
39. Устройство питания электротранспортных средств по п.37, отличающееся тем, что три однопроводниковые линии изолированы и установлены параллельно над каждой полосой движения, а изолированные токоприемники установлены с воздушным промежутком над крышей рельсового электротранспортного средства.
40. Устройство питания электротранспортных средств по п.37, отличающееся тем, что три изолированные однопроводниковые линии установлены у края полосы движения, а изолированные токоприемники установлены с воздушным промежутком у боковой поверхности электротранспортного средства.
41. Способ питания электротранспортных средств, предусматривающий подачу электрической энергии через высоковольтный высокочастотный преобразователь и однопроводниковую сеть к индивидуальным токоприемникам электротранспортного средства, отличающийся тем, что подачу питания к электротранспортному средству осуществляют от присоединенного к проводящей поверхности высокочастотного повышающего трансформатора методом электростатической индукции через воздушный промежуток между плоскостью проводящей поверхности и токоприемником, установленным под днищем электротранспортного средства, от резонансной однопроводниковой системы электропитания с использованием переменного электростатического поля с частотой 0,1-400 кГц и напряжением в каждой линии 0,5-1000 кВ, напряжение на токоприемнике понижают путем присоединения токоприемника к выводу высоковольтной обмотки высокочастотного резонансного трансформатора Тесла и присоединения другого вывода высоковольтной обмотки к естественной емкости или земле; преобразуют в напряжение постоянного тока, аккумулируют электрическую энергию и преобразуют электрическую энергию в механическую энергию перемещения электротранспортного средства.
42. Устройство электропитания электротранспортных средств, содержащее источник электрической энергии, к которому присоединен преобразователь частоты, однопроводниковую линию и токоприемники электротранспортных средств, отличающееся тем, что оно выполнено в виде резонансной электрической системы с частотой 0,1-400 кГц и напряжением 0,5-1000 кВ, однопроводниковая линия выполнена в виде проводящей поверхности с воздушным промежутком 0,01-50 м между плоскостью проводящей поверхности и токоприемником, установленным под транспортным средством, устройство содержит два резонансных контура, один передающий и один приемный, настроенных на одинаковую частоту f0=0,1-400 кГц, вход передающего контура присоединен к преобразователю частоты, а выход через резонансный повышающий трансформатор, однопроводниковую линию в виде проводящей поверхности и воздушный промежуток – к токоприемнику, токоприемник выполнен в виде тонкого изолированного листа из проводящего материала и установлен на транспортном средстве параллельно или под небольшим углом к плоскости водной поверхности; вход второго приемного резонансного контура присоединен к токоприемнику через резонансный понижающий трансформатор, другой вывод высоковольтной обмотки подключен к естественной емкости, а выводы низковольтной обмотки через выпрямитель, аккумулятор и блок управления – к электродвигателю электротранспортного средства.
43. Устройство питания электротранспортных средств по п.42, отличающееся тем, что проводящая поверхность выполнена в виде поверхности водной среды.
44. Устройство питания электротранспортного средства по п.42, отличающееся тем, что проводящая поверхность выполнена в виде электроизолированной металлической пленки, установленной на поверхности земли.
45. Устройство питания электротранспортного средства по п.42, отличающееся тем, что проводящая поверхность выполнена в виде спирали из изолированного проводника, площадь спирали соизмерима с площадью перемещения электротранспортного средства.
46. Устройство питания электротранспортного средства по п.42, отличающееся тем, что проводящая поверхность выполнена в виде изолированной сетки из проводящего материала, установленной на поверхности земли.
47. Устройство питания электротранспортного средства по п.42, отличающееся тем, что проводящая поверхность выполнена в виде множества параллельно соединенных изолированных однопроводниковых линий, длина которых равна длине перемещения электротранспортного средства, а расстояние между проводниками значительно меньше ширины электротранспортного средства.
48. Устройство питания электротранспортных средств по п.42, отличающееся тем, что электротранспортное средство выполнено в виде воздушного судна, например, экранолета.
49. Устройство питания электротранспортного средства по п.42, отличающееся тем, что электротранспортное средство выполнено в виде судна на воздушной подушке.
РИСУНКИ
|
|