|
|
(21), (22) Заявка: 2007122726/12, 19.06.2007
(24) Дата начала отсчета срока действия патента:
19.06.2007
(46) Опубликовано: 27.04.2009
(56) Список документов, цитированных в отчете о поиске:
RU 2079413 C1, 20.05.1997. SU 1838158 A3, 30.08.1993. SU 948301 A3, 30.07.1982. RU 2243613 C1, 27.12.2004. US 2002066377 A1, 06.06.2002. WO 2004000571 A1, 31.12.2003. JP 3297647 A, 27.12.1991.
Адрес для переписки:
119526, Москва, пр-кт Вернадского, 101, корп.1, ИПМех РАН, патентный отдел, Г.В. Самохвалову
|
(72) Автор(ы):
Гурович Борис Аронович (RU), Кулешов Дмитрий Борисович (RU)
(73) Патентообладатель(и):
Общество с ограниченной ответственностью “ДЖИ Би Эй” (RU)
|
(54) СПОСОБ ИЗГОТОВЛЕНИЯ ПЕЧАТНЫХ ФОРМ ДЛЯ ОФСЕТНОЙ ПЕЧАТИ
(57) Реферат:
Изобретение относится к технологии изготовления печатных форм для офсетной печати. Способ изготовления печатных форм для офсетной печати осуществляется путем изменения свойств смачиваемости участков рабочей поверхности печатных форм, при этом преобразование свойств осуществляют за счет изменения химического состава рабочей поверхности, выполненной из нитрида кремния, нитрида алюминия, карбида кремния посредством воздействия на выбранные участки потоком ускоренных частиц. Изобретение позволяет упростить и ускорить процесс производства, повысить разрешающую способность и износостойкость форм. 6 з.п. ф-лы, 1 ил., 1 табл.
Изобретение относится к технологии изготовления печатных форм для офсетной печати путем изменения свойств смачиваемости печатной формы.
Из описания к европейской заявке ЕР 262475 В1 [1] известна печатная машина, снабженная печатной формой, на которой подлежащее печати изображение может быть отображено с помощью соответствующих гидрофобных и гидрофильных зон. Для обеспечения переключения между гидрофильным, соответственно гидрофобным, состоянием в отдельных зонах на печатной форме предусмотрен ферроэлектрический материал, который можно локально поляризовать, соответственно деполяризовать. Таким образом, гидрофилизацию, соответственно перегидрофилизацию, печатной формы осуществляют с помощью механизма поляризации (соответственно деполяризации), который можно реверсивно выполнять внутри печатной машины. Однако недостатком этого способа является то, что эффект основан на имеющих большой радиус действия электростатических силах притяжения и в соответствии с этим разрешающая способность подлежащего печати изображения ограничена обладающими большим радиусом действия электростатическими силами притяжения.
Из описания к патенту США US 3678852 [2] известна печатная пластина, которая покрыта аморфным полупроводником. Аморфное состояние полупроводника можно изменять с помощью лазерного луча из неупорядоченного аморфного состояния в более упорядоченное кристаллическое состояние. В кристаллическом состоянии полупроводниковая поверхность более шероховата, так что изменение состояния полупроводниковой поверхности приводит к тому, что жидкость в зоне более шероховатой поверхности лучше удерживается, чем в аморфных гладких зонах. Разрешающая способность печатной пластины, изготовленной согласно этому способу, ограничена минимальным размером кристаллических зон.
Известен также способ изготовления офсетной печатной формы прямым способом лазерной записи на предварительно очувствленных формных пластинах с копировальным слоем из состава на основе ортонафтохинондиазидов, которую осуществляют CO2 лазером с длиной волны 1,06 мкм методом линейной развертки при мощности записывающего луча 5 Вт и линейной скорости 1,5 м/с, после чего осуществляют экспонирование копировального слоя в течение 3-5 мин металлогалогенными лампами с последующим проявлением копии, ее гидрофилизацию, олефилизацию и покрытие формы защитным раствором (Авторское свидетельство СССР SU 1419921, кл. В41С 1/10 [3]). Недостатком данного способа является сложность технологического процесса и относительно невысокая разрешающая способность.
Наиболее близким к заявляемому является способ изготовления офсетной печатной формы путем формирования печатающих и пробельных элементов на формной пластине из полиэфирной основы с металлизированным покрытием (RU 2079413 [4]). При этом формирование печатающих элементов осуществляют возгонкой металлизированного покрытия до полиэфирной основы в местах воздействия лучом лазера длиной волны 1,06 мкм, так что оставшиеся участки металлизированного покрытия служат пробельными элементами. Пробельные элементы печатной формы подвергают обработке 5 10%-ным водным раствором натрия кремнекислого мета-9-водного с рН 10 13. В данном процессе используют мощные лазеры с длиной волны 1,06 или 10,6 мкм, например, на алюмоиттриевом гранате или на CO2. Лазерное излучение модулируется в соответствии с командами управления от вычислительной машины. В качестве формной пластины используют пленку с полиэфирной основой толщиной 0,05 0,30 мм и напыленным на нее металлизированным покрытием, например из титана, нержавеющей стали, алюминия толщиной от 0,25 до 1,50 мкм.
Использование твердотельного лазера обеспечивает запись изображения с диаметром точки от 5 мкм и более. Тиражеустойчивость полученных форм достигает порядка 60000 оттисков.
Недостатком известного способа является недостаточно высокая разрешающая способность, обусловленная тем, что невозможно сфокусировать лазерный луч в пятно малого размера с высокой плотностью энергии, необходимой для возгонки металлизированного покрытия. Кроме того, из-за того что в качестве формной пластины используют пленку с полиэфирной основой толщиной 0,05 0,30 мм и напыленным на нее металлизированным покрытием, износостойкость такой формы относительно невелика. К тому же подвергнутая облучению рабочая поверхность формы нуждается в дополнительной обработке водными растворами.
Заявляемый способ изготовления печатных форм для офсетной печати направлен на упрощение и ускорение процесса производства, повышение разрешающей способности и износостойкости и обеспечение многократного использования форм.
Указанный результат достигается тем, что способ изготовления печатных форм для офсетной печати реализуется путем изменения свойств смачиваемости участков рабочей поверхности печатных форм, при этом преобразование свойств осуществляют за счет изменения химического состава рабочей поверхности посредством воздействия на выбранные участки потоком ускоренных частиц.
Указанный результат достигается также тем, что заготовку печатной формы изготавливают в виде подложки и нанесенного на нее в качестве рабочей поверхности покрытия.
Указанный результат достигается также тем, что нанесенное в качестве рабочей поверхности покрытие выполняют толщиной 5-200 нм.
Указанный результат достигается также тем, что в качестве материала рабочей поверхности формы используют покрытие из нитрида кремния, нитрида алюминия, карбида кремния.
Указанный результат достигается также тем, что в качестве ускоренных частиц используют протоны (или ионы H2 +).
Указанный результат достигается также тем, что в качестве ускоренных частиц используют ионы гелия.
Указанный результат достигается также тем, что в качестве ускоренных частиц используют атомы водорода или гелия.
Указанный результат достигается также тем, что воздействие на выбранные участки осуществляют потоком ускоренных частиц с энергией от 100 эВ до 5 кэВ.
Изменение свойств смачиваемости участков рабочей поверхности (слоя) печатных форм за счет изменения химического состава рабочей поверхности посредством воздействия на выбранные участки потоком ускоренных частиц и превращения на облученных участках покрытия из нитрида кремния в оксид кремния или покрытия из нитрида алюминия в оксид алюминия существенно упрощает и ускоряет процесс производства форм с одновременным повышением разрешающей способности. Действительно, процесс обработки рабочей поверхности (рабочего слоя) заготовки для достижения изменения свойств поверхности происходит в одну стадию, обработке подвергается одновременно вся поверхность заготовки и за счет использования в качестве средства воздействия потока ускоренных частиц обеспечивается высокое (в несколько микрон) разрешение.
При этом особенностью заявляемого способа изготовления печатных форм является то, что получаемые таким образом после облучения ускоренными частицами печатные формы готовы к употреблению без проявления или какой-либо дополнительной обработки.
Наиболее целесообразно заготовку печатной формы изготавливать в виде подложки и нанесенного на него в качестве рабочей поверхности покрытия. Это позволяет использовать для подложки более дешевые и достаточно прочные конструкционные материалы и многократно использовать подложку путем удаления износившегося рабочего слоя, содержащего «изображение» и нанесение нового с последующим его облучением потоком ускоренных частиц. Как показали опыты, наиболее целесообразно наносимое в качестве рабочей поверхности покрытие выполнять слоем с толщиной 5-200 нм. Если выполнять покрытие толщиной менее 5 нм, то покрытие трудно изготовить сплошным. Если выполнять покрытие толщиной более 200 нм, то это не улучшает свойств и ресурса пресс-форм, а приводит лишь к их удорожанию. Также экспериментально было установлено что наиболее подходящими материалами для использования в качестве рабочей поверхности формы являются нитрид кремния, нитрид алюминия, карбид кремния. С одной стороны, они обеспечивают достаточный срок эксплуатации изготавливаемых офсетных форм, т.к. обладают высокой износоустойчивостью, а с другой стороны, облегчают процесс их изготовления, т.к. легко изменяют свои свойства под воздействием потока ускоренных частиц из-за изменения химического состава вещества покрытия. Указанные изменения свойств позволяют использовать эти покрытия после облучения в составе офсетных форм без проявления. Как было установлено экспериментально, в качестве ускоренных частиц, обеспечивающих преобразование химического состава вещества и связанных с этим свойств смачиваемости материала рабочей поверхности заготовки, могут быть использованы ионы водорода или гелия или атомы водорода или гелия. Использование более тяжелых ионов или атомов возможно, но нецелесообразно, т.к. в этом случае процесс изменения химического состава покрытия происходит менее эффективно и на меньшую глубину, при этом он сопровождается значительным распылением материала покрытия. Воздействие на выбранные участки необходимо осуществлять потоком ускоренных частиц с энергией от 100-150 эВ до 5 кэВ. Если энергия частиц в потоке будет меньше чем 100 эВ, то изменения химического состава рабочей поверхности (а значит и смачиваемости) происходить не будут. Если энергия частиц в потоке будет больше чем 5 кэВ, то под воздействием потока ускоренных частиц может происходить не только изменение химического состава рабочей поверхности, но и ее значительный разогрев, что нежелательно.
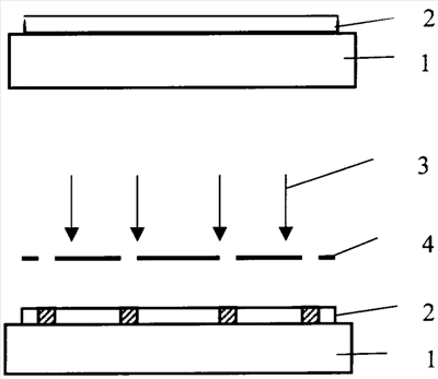
Сущность заявляемого изобретения поясняется примерами его реализации и чертежом, на котором схематично показана последовательность операций воздействия потоком ускоренных частиц на рабочую поверхность заготовки офсетной формы с использованием шаблона.
Пример 1. В общем случае способ изготовления офсетной формы осуществляется следующим образом. На подложку 1 (см. чертеж), которая может быть выполнена из алюминия или иного металла, пластика, лавсана и т.п. с достаточной толщиной, обеспечивающей требуемые прочностные характеристики, вакуумным напылением наносят рабочий слой 2 из различных двух- или многоатомных веществ. В качестве таковых преимущественно могут быть использованы соединения кремния или алюминия, а также некоторых других химических элементов с азотом, углеродом и некоторыми другими химическими элементами. Наиболее подходящими материалами для использования в качестве рабочей поверхности формы являются нитрид кремния, нитрид алюминия, карбид кремния. Полученные заготовки помещают в рабочую камеру, содержащую источник ускоренных частиц, и создают в ней вакуум ~10-2-10-7 Па. В качестве ускоренных частиц могут быть использованы протоны, ионы гелия, атомы водорода или гелия. Заготовки облучают потоком 3 ускоренных частиц с необходимым (предварительно определенным) значением энергии через шаблон (маску) 4. Шаблон (маска) может быть размещен непосредственно на заготовке, т.е. может находиться в контакте с верхним слоем облучаемого вещества или находиться на некотором удалении от него. Под воздействием потока 3 ускоренных частиц происходит изменение химического состава рабочей поверхности на облучаемых участках 5 за счет замещения атомов азота или углерода атомами кислорода в поверхностных слоях нитридов или карбида рабочего слоя, т.е. в рабочем слое создается некоторый рисунок, который обладает свойствами, иными, чем окружающая его матрица, не подвергавшаяся воздействию ускоренных частиц.
Требуемый диапазон значений энергий для осуществления технологического процесса определяется расчетным путем или экспериментально.
При экспериментальном определении энергии ускоренных частиц, необходимой для оптимального проведения процесса, проводят несколько предварительных экспериментов. Для этого подготовленные заготовки с рабочим слоем из вещества требуемой толщины облучают через шаблон потоком ускоренных частиц с различной энергией и получают дозовые зависимости изменения требуемых свойств. Для этого на подложку наносят слой исходного вещества и осуществляют облучение с фиксированной дозой, после чего исследуют его свойства. Затем дозу облучения увеличивают и снова исследуют свойства. Например, берут в качестве исходного материала нитрид кремния и исследуют полноту его превращения в оксид кремния, а также определяют изменение угла смачивания в воде или в воде с 10% содержанием спирта. Естественно, что по мере увеличения дозы облучения все большее число атомов азота или углерода будут замещаться на атомы кислорода вплоть до полного превращения в оксид. Соответствующие участки печатной формы при печати не будут производить окрашивание бумаги. Ориентируясь на качество печати по полученным данным выбирают оптимальную дозу облучения. На основании дозных зависимостей определяют дозу облучения, которая необходима для достижения заданного уровня требуемых свойств.
В ряде случаев целесообразно использовать и расчетный, и экспериментальный методы определения оптимальных значений энергий частиц, необходимых для реализации способа. Сначала расчетным путем значение энергии частиц определяется приблизительно, а затем уточняется проведением предварительных экспериментов. Это позволяет сэкономить время и средства, необходимые для выбора вида и энергии ускоренных частиц для их использования в технологическом процессе.
Облучение подготовленной заготовки может осуществляться с использованием одного или нескольких шаблонов, имеющих сквозные отверстия, или путем сканирования по поверхности заготовки модулированным по интенсивности пучком ускоренных частиц.
Пример 2. Способ реализуется по общей схеме, описанной в примере 1. На подложку, выполненную из алюминия, размером 15×15 мм, толщиной 0,5 мм посредством вакуумного распыления был нанесен слой нитрида кремния толщиной 150 нм. После этого, для того чтобы обеспечить изменение свойств материала рабочего слоя через шаблон с соответствующим рисунком, заготовка была облучена потоком протонов с энергией 2 кэВ в течение 240 мин. В результате в слое в облученных участках произошло превращение материала из нитрида кремния в оксид кремния.
Пример 3. Способ реализовывался по общей схеме, изложенной в примерах 1 и 2 с использованием различных веществ в качестве рабочего слоя и различного вида ускоренных частиц. Для удобства восприятия результаты сведены в таблицу.
 п/п |
Материал подложки |
Материал рабочего слоя |
Толщина рабочего слоя, нм |
Вид частиц |
Энергия частиц, кэВ |
| 1. |
Алюминий |
Нитрид кремния |
5 |
Протоны |
0,15 |
| 2. |
Алюминий |
Нитрид кремния |
100 |
Протоны |
2 |
| 3. |
Алюминий |
Нитрид кремния |
200 |
Протоны |
5 |
| 4. |
Алюминий |
Нитрид кремния |
30 |
Протоны |
1 |
| 5. |
Алюминий |
Нитрид кремния |
150 |
Протоны |
3,5 |
| 6. |
Алюминий |
Нитрид кремния |
10 |
Ионы гелия |
1 |
| 7. |
Алюминий |
Нитрид кремния |
25 |
Атомы водорода |
1,5 |
| 8. |
Лавсан |
Нитрид кремния |
60 |
Протоны |
2 |
| 9. |
Лавсан |
Нитрид кремния |
100 |
Протоны |
4 |
| 10. |
Лавсан |
Нитрид кремния |
150 |
Протоны |
3 |
| 11. |
Лавсан |
Нитрид алюминия |
10 |
Протоны |
0,2 |
| 12. |
Лавсан |
Нитрид алюминия |
50 |
Протоны |
1 |
| 13. |
Лавсан |
Нитрид алюминия |
100 |
Протоны |
3 |
| 14. |
Алюминий |
Нитрид алюминия |
200 |
Протоны |
4,5 |
| 15. |
Алюминий |
Нитрид алюминия |
8 |
Ионы гелия |
0,5 |
| 16 |
Лавсан |
Карбид кремния |
30 |
Протоны |
0,5 |
| 17. |
Алюминий |
Карбид кремния |
150 |
Атомы водорода |
2,5 |
| 18. |
Лавсан |
Карбид кремния |
200 |
Протоны |
4,0 |
| 19. |
Лавсан |
Карбид кремния |
40 |
Ионы H2 + |
1 |
Формула изобретения
1. Способ изготовления печатных форм для офсетной печати путем изменения свойств смачиваемости участков рабочей поверхности печатных форм, характеризующийся тем, что преобразование свойств осуществляют за счет изменения химического состава рабочей поверхности, выполненной из нитрида кремния, нитрида алюминия, карбида кремния посредством воздействия на выбранные участки потоком ускоренных частиц.
2. Способ по п.1, отличающийся тем, что заготовку печатной формы изготавливают в виде подложки и нанесенного на него в качестве рабочей поверхности покрытия.
3. Способ по п.1, отличающийся тем, что нанесенное в качестве рабочей поверхности покрытие выполняют толщиной 5-200 нм.
4. Способ по п.1, отличающийся тем, что в качестве ускоренных частиц используют протоны.
5. Способ п.1, отличающийся тем, что в качестве ускоренных частиц используют ионы гелия.
6. Способ по п.1, отличающийся тем, что в качестве ускоренных частиц используют атомы водорода или гелия.
7. Способ по п.1, отличающийся тем, что воздействие на выбранные участки осуществляют потоком ускоренных частиц с энергией от 100 эВ до 5 кэВ.
РИСУНКИ
|
|