|
|
(21), (22) Заявка: 2006103629/02, 07.07.2004
(24) Дата начала отсчета срока действия патента:
07.07.2004
(30) Конвенционный приоритет:
08.07.2003 NL 1023854
(43) Дата публикации заявки: 10.08.2006
(46) Опубликовано: 27.04.2009
(56) Список документов, цитированных в отчете о поиске:
WO 98/53989 A1, 03.12.1998. US 5160771 A, 03.11.1992. RU 2027555 C1, 27.01.1995. US 5417385 A, 23.05.1995.
(85) Дата перевода заявки PCT на национальную фазу:
08.02.2006
(86) Заявка PCT:
NL 2004/000486 20040707
(87) Публикация PCT:
WO 2005/002834 20050113
Адрес для переписки:
129090, Москва, ул. Б.Спасская, 25, стр.3, ООО “Юридическая фирма Городисский и Партнеры”, пат.пов. С.А.Дорофееву
|
(72) Автор(ы):
РАДЖАБАЛИ Абдул Фазиль (NL), ТЕР СТЕГ Виллем Ян Николас (DE)
(73) Патентообладатель(и):
СТОРК ФОККЕР АЕСП Б.В. (NL)
|
(54) СЛОИСТЫЙ МАТЕРИАЛ СО СЛОЕМ ЗАПОЛНИТЕЛЯ
(57) Реферат:
Изобретение может быть использовано в самолетной обшивке. Слоистый материал состоит из чередующихся металлических слоев и по меньшей мере одного пластмассового связывающего слоя. Каждый металлической слой содержит по меньшей мере две секции металлического слоя, имеющие перекрывающие друг друга края, связанные друг с другом. Для выравнивания разностей толщины предусмотрен заполнитель, содержащий по меньшей мере один металлический слой, толщина которого по меньшей мере такова, что в местоположении заполнителя толщина слоистого материала равна толщине в местоположении перекрывающих друг друга краев. Обе стороны слоистого материала полностью плоские. 10 з.п. ф-лы, 2 ил.
Изобретение относится к слоистому материалу, состоящему из чередующихся металлических слоев и по меньшей мере одного пластмассового связывающего слоя; при этом каждый из металлических слоев содержит две секции металлического слоя, взаимно перекрывающие края которых связаны друг с другом.
Такие слоистые материалы известны, например, из патента США US 5160771. Данным слоистым материалом может быть слоистый материал, в котором металлические слои связаны друг с другом клеевым слоем, или слоистый материал, в котором один или более волоконных слоев, пропитанных клеем, расположены между металлическими слоями. Поскольку секции металлического слоя перекрывают друг друга, то слоистый материал имеет неровность, которая в некоторых случаях может быть причиной конструкционных недостатков. Если слоистый материал прикреплен к такому конструкционному компоненту, как несущий элемент, то одна из секций металлического слоя должна быть снабжена ответными пазами и выступами для обеспечения непосредственного контакта обеих секций металлического слоя с несущим элементом. В случае применения для самолетной обшивки – это означает, что ее внешняя сторона также имеет соединение ответными выступами и пазами, которое нежелательно с точки зрения аэродинамики.
Поэтому задача настоящего изобретения заключается в предоставлении слоистого материала упоминаемого выше типа и не имеющего указанных недостатков. Эта задача решается за счет применения заполнителя, толщина которого по меньшей мере такова, что в местоположении заполнителя слоистый материал имеет толщину, равную толщине в местоположении перекрывающих друг друга краев.
В слоистом материале согласно настоящему изобретению соединительного выступа или паза нет ни на одной из сторон, и поэтому, например, при установке этого материала на несущем элементе его сторона, обращенная от несущего элемента, может оставаться совершенно плоской. Слой заполнителя предпочтительно расположен непосредственно вдоль двух перекрывающих друг друга краев, в результате чего обе стороны слоистого материала имеют форму настолько единообразную, насколько это возможно. В этом случае заполнитель может находиться на обеих сторонах двух перекрывающих друг друга краев.
Край одной из перекрывающих друг друга секций металлического слоя можно соединить при помощи ответных выступов и пазов таким образом, что секции металлического слоя будут, по существу, продолжением друг друга. В этом случае заполнители также могут быть продолжением друг друга.
Как упомянуто выше, этот слоистый материал выполнен с возможностью соединения его с несущим элементом. В этом случае нет необходимости обеспечения всего слоистого материала заполнителями. Следовательно, слоистый материал может содержать часть, в которой имеется по меньшей мере один заполнитель, и также часть без заполнителя.
Заполнитель можно выполнить разными способами. Например, заполнитель может содержать по меньшей мере один пластмассовый связывающий слой. Также можно применить несколько металлических слоев и несколько пластмассовых связывающих слоев. Заполнитель может также содержать металлический слой, толщина которого будет превышать толщину других металлических слоев. Но тогда пластмассовый связывающий слой должен быть соответственно тоньше. Пластмассовые связывающие слои могут состоять просто из клеевого слоя или волоконных слоев, пропитанных клеем.
Далее изобретение поясняется более подробно со ссылкой на вариант осуществления, показанный на чертежах.
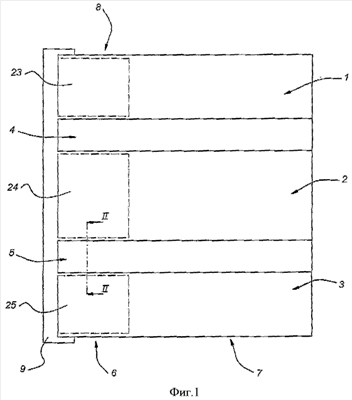
Фиг.1 – горизонтальная проекция слоистого слоя согласно изобретению.
Фиг.2 – сечение по линии II-II на Фиг.1.
Слоистый материал согласно Фиг.1 содержит три слоистые части 1, 2, 3, которые прикреплены друг к другу стыками 4 и 5. Также в слоистом материале можно выделить две области, т.е.: область 6, в которой заполнитель, в целом, обозначенный позицией 8, расположен между слоями слоистого материала; и область без заполнителя, т.е. обычный слоистый материал 7. В местоположении области 6 слоистый материал можно прикрепить к другому слоистому материалу при помощи полосы 9.
Известно, что в местоположении стыков 4, 5 толщина обычного слоистого материала несколько увеличена, т.к. края слоистого материала перекрывают друг друга. Это означает, что по меньшей мере одна сторона слоистого материала не плоская, а в некоторой степени ступенчатая. В некоторых случаях применения это нежелательно. Например, в случае применения для самолетной обшивки лучше, чтобы обе стороны слоистого материала были совершенно плоскими. Тогда несущие элементы 9 можно будет прикрепить к одной внутренней, стороне, и при этом другая сторона все же будет иметь аэродинамические свойства по причине ее полностью плоской формы. Плоскостность поверхности слоистого материала может также быть желательной по другим причинам. В качестве прочих примеров можно назвать фурнитуру таких базовых конструкционных элементов, как элементы жесткости, краевое усиление люков или крышек, углы дверных проемов и т.п.
Согласно настоящему изобретению заполнитель, в целом, обозначенный позицией 8, расположен в области 6 в местоположении соединения с несущим элементом 9. Этот заполнитель не требуется снаружи упомянутой области 6, т.е. в области 7. Наружная поверхность слоистого материала полностью плоская в этой области и не является проблемой, если внутренняя поверхность слоистого материала в этом местоположении ступенчатая. Тем более, что несущий элемент не нужно прикреплять к слоистому материалу в этом местоположении.
Как показано на Фиг.2, стыки 4, 5 выполнены известным образом с перекрывающимися краями металлических слоев 10, 11, 12 и 13. Эти металлические слои связаны друг с другом при помощи армированных волокном связывающих слоев 14., 15, 16 и 17. Однако металлические слои можно также связать непосредственно друг с другом клеем без волоконных слоев между ними.
В местоположении стыков 4, 5 каждый металлический слой 10-13 образует две секции 18, 19 металлического слоя с соответствующими перекрывающими друг друга краями 20 и 21. Эти перекрывающие друг друга края прикреплены друг к другу клеем 22 для передачи усилий в слоистом материале посредством сдвиговых усилий.
Согласно настоящему изобретению заполнители 8 в виде металлических слоев 24, 25 в комбинации с пластмассовыми связывающими слоями 28, 29 расположены на обеих сторонах перекрывающих друг друга краев 20, 21 металлических слоев 10-13. Согласно Фиг.1 в зависимости от числа стыков 4, 5 имеется несколько заполнителей. Толщина заполнителей равна сумме толщины одного из металлических слоев 10-13 плюс толщина одного из пластмассовых связывающих слоев 14-17, в результате чего толщина слоистого материала на обеих сторонах стыков 4, 5 та же, что и толщина слоистого материала в местоположении стыков 4, 5. Обе стороны 26, 27 слоистого материала поэтому полностью плоские.
Формула изобретения
1. Слоистый материал, состоящий из чередующихся металлических слоев (10-13) и по меньшей мере одного пластмассового связывающего слоя (14-17), причем каждый металлический слой (10-13) содержит две секции (18, 19) металлического слоя, имеющие перекрывающие друг друга края (20, 21), связанные друг с другом, отличающийся тем, что предусмотрен заполнитель (8), который содержит по меньшей мере один металлический слой (23, 24, 25) и толщина которого по меньшей мере такова, что в местоположении заполнителя (8) слоистый материал имеет толщину, равную толщине в местоположении перекрывающих друг друга краев (20, 21).
2. Слоистый материал по п.1, отличающийся тем, что заполнитель (8) расположен непосредственно вдоль двух перекрывающих друг друга краев (20, 21).
3. Слоистый материал по п.1 или 2, отличающийся тем, что заполнитель (8) расположен на обеих сторонах двух перекрывающих друг друга краев (20, 21).
4. Слоистый материал по п.1, отличающийся тем, что край (20) одной из перекрывающих друг друга секций (18) металлического слоя продолжен таким образом, что секции (18, 19) металлического слоя, относящиеся к металлическому слою (10-13), являются, по существу, продолжением друг друга.
5. Слоистый материал по п.3, отличающийся тем, что заполнители (8) являются продолжением друг друга.
6. Слоистый материал по п.1, отличающийся тем, что слоистый материал имеет область (6), в которой имеется по меньшей мере один заполнитель (8), и также область (7) без заполнителя (8).
7. Слоистый материал по п.1, отличающийся тем, что заполнитель (8) дополнительно содержит по меньшей мере один пластмассовый связывающий слой (28, 29).
8. Слоистый материал по п.1, отличающийся тем, что заполнитель (8) содержит по меньшей мере один металлический слой, толщина которого превышает толщину других металлических слоев (10-13).
9. Слоистый материал по п.7, отличающийся тем, что пластмассовый связывающий слой состоит из слоя клея.
10. Слоистый материал по п.7 или 9, отличающийся тем, что пластмассовый связывающий слой состоит из волоконного слоя, пропитанного клеем.
11. Слоистый материал по п.1, отличающийся тем, что заполнитель (8) является межслойным.
РИСУНКИ
|
|