|
|
(21), (22) Заявка: 2007128246/12, 23.07.2007
(24) Дата начала отсчета срока действия патента:
23.07.2007
(46) Опубликовано: 27.04.2009
(56) Список документов, цитированных в отчете о поиске:
RU 2284910 C1, 10.10.2006. RU 2051034 C1, 27.12.1995. SU 937226 A1, 23.06.1982. SU 835809 A1, 07.06.1981. JP 10156790 A, 16.06.1998.
Адрес для переписки:
150023, Ярославль, Московский пр., 88, ЯГТУ
|
(72) Автор(ы):
Вещев Александр Александрович (RU), Проворов Александр Витальевич (RU)
(73) Патентообладатель(и):
Ярославский государственный технический университет (RU)
|
(54) НОЖ ДЛЯ РАЗРЕЗАНИЯ ПОКРЫШКИ
(57) Реферат:
Нож для разрезания покрышки содержит кольцевое лезвие диаметром, меньшим внутреннего диаметра брекерно-протекторной части покрышки, и диск, наружный диаметр которого меньше внутреннего диаметра брекерно-протекторной части покрышки и больше наружного диаметра кольцевого лезвия ножа, причем кольцевое лезвие ножа имеет фигурную форму. Кроме того, диск имеет разъемную конструкцию из секторов и выполнен из высокоэластичного материала, например вулканизованной резины. Изобретение обеспечивает расширение функциональных возможностей ножа. 2 з.п. ф-лы, 6 ил.
Заявляемое изобретение относится к машиностроению, а именно к оборудованию, применяемому для разрезания автомобильных шин (изношенных, бракованных и т.д.).
Аналогом заявляемого изобретения является нож для разрезания покрышки на части, выполненный в виде отдельных подвижных ножей-лезвий (см. патент DE 4200949, МПК7 В29Н 17/02, 1994).
Недостатком аналога является необходимость многократного воздействия на покрышку для разрезания ее на части и низкая производительность процесса резания.
Прототипом заявляемого изобретения является нож для разрезания покрышки, выполненный в виде кольцевого лезвия диаметром, меньшим внутреннего диаметра брекерно-протекторной части покрышки (см. патент RU 2284910, МПК7 В29Н 17/02, 2005).
Недостатком прототипа является его узкая функциональность и возможность использования только с целью предварительного измельчения покрышки.
Задачей, на решение которой направлено заявляемое изобретение, является расширение функциональных возможностей ножа.
Для достижения указанного технического результата нож для разрезания покрышки, выполненный в виде кольцевого лезвия диаметром, меньшим внутреннего диаметра брекерно-протекторной части покрышки, снабжен диском с наружным диаметром, меньшим внутреннего диаметра брекерно-протекторной части покрышки и большим наружного диаметра кольцевого лезвия ножа, имеющего фигурную форму.
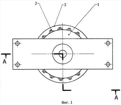
На фиг.1 представлен вид ножа сверху, на фиг.2 представлен вариант исполнения ножа с жестким диском – вид спереди с разрезом, на фиг.3 представлен вид ножа снизу – со стороны режущих кромок, на фиг.4 представлен внешний вид изделия, получаемого после разрезания покрышки, на фиг.5 представлен вариант исполнения ножа с диском, выполненным из высокоэластичного материала, на фиг.6 представлен вариант исполнения диска в виде разъемной конструкции, состоящей из секторов, вид сверху.
Нож для разрезания покрышки содержит основание 1, кольцевое фигурное лезвие 2 и диск 3. Диск 3 помещается внутрь покрышки 4 и обеспечивает разрезание только одной боковины покрышки, предохраняя вторую боковину от повреждения ножом. Диск 3 может быть выполнен из металла или из высокоэластичного материала (например, вулканизованной резины). Для облегчения процесса размещения внутри покрышки диск 3 может быть выполнен разъемной конструкции, состоящей из секторов 7. Режущая кромка кольцевого фигурного лезвия 2 может иметь различную форму, обеспечивая различные варианты линии реза боковины 6 покрышки 4. Для упрощения установки диска 3 внутрь покрышек предусматривается возможность выполнения разъемной конструкции, состоящей из отдельных сегментов 7. Другим вариантом является выполнение диска 3 из высокоэластичного материала (например, вулканизованной резины).
Конкретным примером заявляемого ножа является нож, предназначенный для разрезания покрышки 4. Покрышка устанавливается своей внутренней полостью на диск 3 и фиксируется на нем. Под воздействием привода кольцевое фигурное лезвие 2 ножа опускается вниз до контакта с диском 3. При этом происходит разрезание боковины 6 покрышки 4. Затем лезвие 2 поднимается в исходное состояние, часть боковины 6 с бортовым кольцом удаляется. Оставшаяся часть покрышки 4 снимается с диска 3.
Введение в конструкцию ножа диска 3 обеспечивает рез только одной боковины покрышки и исключает возможность разрезания второй боковины. Использование кольцевого фигурного лезвия 2 позволяет получать сложную линию реза, например, в виде лепестков. В совокупности указанные признаки предоставляют возможность получать из изношенной покрышки готовое изделие, пригодное для дальнейшей эксплуатации, например в качестве клумбы на приусадебном участке. Другим примером может послужить составная конструкция из множества покрышек, связанных вырезанными лепестками, используемая после заполнения грунтом для укрепления земляных откосов.
Формула изобретения
1. Нож для разрезания покрышки, выполненный в виде кольцевого лезвия диаметром, меньшим внутреннего диаметра брекерно-протекторной части покрышки, отличающийся тем, что нож снабжен диском, наружный диаметр которого меньше внутреннего диаметра брекерно-протекторной части покрышки и больше наружного диаметра кольцевого лезвия ножа, а кольцевое лезвие ножа имеет фигурную форму.
2. Нож по п.1, отличающийся тем, что диск имеет разъемную конструкцию, выполненную из секторов.
3. Нож по п.1, отличающийся тем, что диск выполнен из высокоэластичного материала, например вулканизованной резины.
РИСУНКИ
|
|