|
|
(21), (22) Заявка: 2007142044/02, 15.11.2007
(24) Дата начала отсчета срока действия патента:
15.11.2007
(46) Опубликовано: 27.04.2009
(56) Список документов, цитированных в отчете о поиске:
RU 2038209 C1, 27.06.1995. RU 2135353 C1, 27.08.1999. RU 2100193 C1, 27.12.1997. US 4802836 A, 07.02.1989. US 5059110 A, 22.10.1991.
Адрес для переписки:
105066, Москва, пер. Токмаков, 13-15, кв.11, М.М. Скобелеву
|
(72) Автор(ы):
Бочаров Юрий Александрович (RU)
(73) Патентообладатель(и):
Набатников Сергей Александрович (RU), Поздняев Андрей Сергеевич (RU)
|
(54) ВИБРОПРЕСС И СПОСОБ ВИБРОПРЕССОВАНИЯ С ЕГО ИСПОЛЬЗОВАНИЕМ
(57) Реферат:
Изобретения относятся к обработке давлением и могут быть использованы для вибропрессования архитектурно-строительной смеси. Вибропресс содержит станину и центральный элемент в виде подвижной формовочной матрицы с тягами. Матрица имеет по меньшей мере одну полость с отверстием для уплотняемой смеси. Для сдавливающего воздействия на смесь сверху предусмотрено средство в виде ползуна с пуансонами. Снизу на смесь воздействуют с помощью вибростола с поддоном и приводным устройством. Приводное устройство представляет собой встроенный в стол гидровибратор. Последний обеспечивает изменение параметров вибрации путем регулирования по программе частоты, амплитуды виброперемещения и амплитуды удельной силы вибрационного воздействия. Гидровибратор содержит силовой гидроцилиндр, гидровозбудитель виброимпульсов, цикловой аккумулятор, насосную станцию и систему гидроканалов. Параметры вибрации изменяют на этапах засыпки смеси и формования из нее изделий, которое ведут в два этапа. В результате обеспечивается повышение эффективности процесса вибропрессования и улучшение качества полученных изделий. 2 н. и 2 з.п. ф-лы, 4 ил.
Область техники
Изобретение относится к вибропрессам вертикального типа с гидравлическими вибраторами и способам вибропрессования с их использованием.
Уровень техники
Одними из наиболее известных вибропрессов вертикального типа являются вибропрессы американской компании Бессер (Besser). Наиболее близкими к предлагаемым объектам изобретения – вибропрессу и способу вибропрессования с его использованием – являются устройство и способ по патенту США 4978488 (1990) с включением в тексте описания ссылки на патент США 4395213 (1983).
Описанный вибропресс содержит станину вертикального типа со стойками-направляющими, приводной блок для вала с кулаками, ответными для кулаков роликами для ползуна с пуансонами и для матрицы, открытой сверху и снизу, и с вибропрессуемой смесью, поддон матрицы, цилиндры-уравновешиватели ползуна и матрицы, устройства прижима матрицы с поддоном к вибростолу, вибраторы вибростола и его амортизаторы.
В указанном вибропрессе использованы дебалансные вибраторы с приводом от электродвигателей. Частоту вибраций (обычно 25 или 50 Гц) устанавливают применением электродвигателей с частотой вращения 1500 или 3000 об/мин, которая не изменяется в течение цикла, амплитуду в течение цикла вибропрессования устанавливают по программе перестановкой дебалансных масс. Для этого вал вибратора могут не останавливать во время цикла вибропрессования, а поворот дебалансных масс осуществлять встроенным в полость приводного вала перемещаемым поршневым механизмом преимущественно пневмопривода с программным управлением.
Вал вибратора вращают с практически постоянной угловой скоростью (постоянной частотой вращения). Амплитуду вибрации могут изменять по программе за счет перемещения контрбаланса, который эксцентрически вызывает вибрацию, и двигатель продолжает вращаться во время всего цикла прессования изделия, после чего останавливают приводной электродвигатель системы.
Непрерывно вращаемый узел вала содержит закрепленную эксцентриковую часть и переставляемую контрбалансную массу. Узел вала имеет цилиндр с поршнем, присоединенным к контрбалансной массе для вращательного движения груза относительно закрепленной эксцентриковой части. Возврат массы в исходное положение выполняет пружина с заранее установленным уровнем силы.
Применение дебалансных вибраторов ограничивает возможности эффективного вибропрессования изделий большого объема и особенно изделий из новых полистирол-бетонных материалов для приготовления современных изделий архитектурно-строительных блоков, где кроме цементно-песчаных рабочих смесей применяют полистирол-бетонные рабочие смеси и другие материалы, требующие для оптимизации процесса формования применения переменного в течение цикла вибровоздействия на рабочую смесь с изменяемыми параметрами вибрации: частотой и амплитудами виброперемещений и удельных сил вибраций.
Указанный в американском патенте вибропресс также использован для реализации способа вибропрессования с программно изменяемой в течение этапов цикла вибропрессования амплитудой и практически постоянной частотой вибраций. По этому способу цементно-песчаную смесь (далее рабочая смесь) подают в открытую сверху и снизу матрицу, расположенную на поддоне. Во время формования изделия на рабочую смесь воздействуют сверху статической силой, которую создают формующие пуансоны, и снизу динамическими вибрациями, которые создают вибраторы, воздействующие на поддон с установленной на нем матрицей. После окончания формования силовое и вибрационное воздействия прекращают, пуансоны и матрицу удаляют, а изделия на поддоне передают для окончательного затвердевания. Ограничением способа является наличие только двух этапов цикла вибропрессования и регулирование практически только одного параметра амплитуды виброперемещений, что значительно сужает функциональные возможности способа, не дает возможности оптимизировать процесс изменением частоты и удельных сил вибраций, снижает эффективность вибропрессования и качество получаемых изделий.
Раскрытие изобретения
Технической задачей изобретения является повышение эффективности процесса вибропрессования и качества (высоких величин плотности до 60% и равноплотности до 95 98%) изделий из бетонных смесей с разными типами примесей (песчано-, полистирол- и т.п.), разных объемов и номенклатуры. Для изготовления современных изделий, кроме цементно-песчаных рабочих смесей, применяют полистирол-бетонные рабочие смеси и другие материалы, требующие для оптимизации процесса формования применения переменного в течение трех этапов цикла вибровоздействия на рабочую смесь с изменяемыми параметрами вибрации: частотой в диапазоне 10… 100 Гц, амплитудой удельных сил вибраций 10 200 кПа и амплитудой виброперемещений 1 3 мм.
В заявляемых устройстве вибропресса и способа вибропрессования с его использованием эта задача решается посредством применения встроенного в вибростол оригинального гидровибратора с гидровозбудителем виброимпульсов, который обеспечивает переменные, регулируемые дистанционно по программе частоту, амплитуду перемещения и величину удельной силы воздействия на изделие и его виброуплотнение в течение трех этапов процесса формования: заполнения матрицы пресс-формы, предварительного виброуплотнения и окончательного виброуплотнения.
Вибропресс вертикального типа для вибропрессования архитектурно-строительной смеси содержит станину, центральный элемент в виде установленной с возможностью вертикального перемещения и открытой сверху и снизу формовочной матрицы с тягами, имеющей по меньшей мере одну полость с отверстием для уплотняемой архитектурно-строительной смеси. Также вибропресс содержит средство сдавливающего воздействия сверху на архитектурно-строительную смесь в матрице, выполненное в виде имеющего возможность вертикального перемещения ползуна с пуансонами, соответствующими отверстиям в матрице, и средство вибрационного воздействия снизу на архитектурно-строительную смесь в матрице, выполненное в виде вибростола с расположенным между ним и матрицей поддоном и приводным устройством. Также есть приводные устройства для перемещения ползуна с пуансонами и матрицы в виде раздельных кулаков, взаимодействующих с ответными роликами, выполненные с цикловым управлением от общего приводного двигателя с системой механических передач к кулакам. Также есть вспомогательные узлы в виде зажимных рычагов для прижима матрицы с поддоном к вибростолу, уравновешивателей масс ползуна с пуансонами и матрицы с тягами и зажимными рычагами и амортизаторов, установленных между вибростолом и станиной.
Предлагаемый вибропресс отличается тем, что приводное устройство вибростола выполнено в виде встроенного в стол гидровибратора, который выполнен с обеспечением изменения параметров вибрации путем регулирования по программе частоты, амплитуды виброперемещения и амплитуды удельной силы вибрационного воздействия.
Гидровибратор содержит силовой гидроцилиндр, гидровозбудитель виброимпульсов, цикловой аккумулятор, насосную станцию и систему гидроканалов. Гидровозбудитель содержит поршневой клапан с возвратной пружиной и тормозным плунжером и шариковый сервоклапан с нажимным плунжером и пружиной. Причем поршневой клапан выполнен с возможностью автоматического открытия при высоком давлении жидкости в месте соединения входа гидровозбудителя, циклового аккумулятора и выхода нагнетания насосной станции и автоматического закрытия при низком давлении, а также с обеспечением во время автоматического открытия поступления жидкости под давлением из циклового аккумулятора в силовой гидроцилиндр, а во время автоматического закрытия – заполнения циклового аккумулятора жидкостью из насосной станции для формирования в силовом гидроцилиндре импульсов жидкости для вибрационного воздействия. Поршневой сервоклапан снабжен пружиной, выполненной с возможностью регулирования ее сжатия посредством сервомеханизма дистанционного и/или программного управления для обеспечения регулирования давления жидкости, времени открытия и закрытия поршневого клапана для изменения частоты, амплитуды виброперемещения и амплитуды удельной силы вибрационного воздействия.
Для расширения возможностей вибропресса насосная станция также может иметь возможность дистанционного и/или программного регулирования подачи жидкости и давления на своем выходе.
С помощью такого вибропресса с встроенным гидровибратором и с такими возможностями регулирования параметров вибрации предлагается реализовать способ вибропрессования архитектурно-строительной смеси, включающий этап засыпки рабочей архитектурно-строительной смеси в полости матрицы вибропресса, которую осуществляют с вибрационным воздействием на указанную рабочую смесь от вибростола вибропресса, формование из последней изделий путем сдавливающего воздействия на рабочую архитектурно-строительную смесь сверху пуансонами вибропресса и вибрационного воздействия от вибростола снизу. При этом формование изделий осуществляют в два этапа, на одном из которых производят предварительное виброуплотнение рабочей архитектурно-строительной смеси, а на другом – окончательное виброуплотнение. На этапе засыпки рабочей смеси и этапах формования из нее изделий осуществляют изменение параметров вибрации путем регулирования по программе частоты, амплитуды виброперемещения и амплитуды удельной силы вибрационного воздействия, величины которых на упомянутых этапах устанавливают в зависимости от состава рабочей смеси. Причем на этапе засыпки рабочей смеси частоту вибрационного воздействия устанавливают составляющей 80 100% от максимальной величины, а амплитуду виброперемещения и амплитуду удельной силы вибрационного воздействия – составляющими 20 50% от максимальной величины, а на этапах предварительного и окончательного виброуплотнения частоту устанавливают составляющей, соответственно 50 80% и 10 50% от максимальной величины, а упомянутые амплитуду виброперемещения и амплитуду удельной силы вибрационного воздействия – составляющими 50 70% от максимальной величины на этапе предварительного виброуплотнения и 70 100% от максимальной величины на этапе окончательного уплотнения.
Частоту вибраций устанавливают преимущественно в диапазоне 10 100 Гц, амплитуду удельной силы вибровоздействия устанавливают в диапазоне 10 200 кПа при амплитуде виброперемещений 1 3 мм (такие диапазоны величин параметров вибраций эффективнее обеспечить предлагаемым вибропрессом с встроенным гидровибратором, чем с дебалансным вибратором).
Перечень чертежей
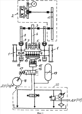
На фиг.1 – комбинированная кинематическая и гидравлическая схема вибропресса.
На фиг.2 – разрез гидровибратора, встроенного в вибростол.
На фиг.3 – обобщенная циклограмма этапов вибропрессования в виде графика регулирования давления на входе в гидровозбудитель по времени.
На фиг.4 – обобщенные графики непрерывного изменения параметров вибраций: амплитуды перемещений, частоты и амплитуды удельной силы вибровоздействия в зависимости от величины регулируемого давления на входе в гидровозбудитель в процессе вибропрессования с отметкой фиксированных величин параметров на каждом из этапов цикла вибропрессования.
Осуществление изобретения
На фиг.1-2 позициями обозначены: 1 – станина вибропресса вертикального типа с двумя стойками-направляющими; 2 – приводной блок (электродвигатель, зубчатая передача 1, муфта-тормоз, промежуточный вал, зубчатая передача 2); 3 – главный вал для привода кулаков; 4 – центральный приводной кулак (для ползуна); 5 – ответный центральный ролик; 6 – ползун с пуансонами, взаимодействующими с матрицей; 7 – цилиндры-уравновешиватели ползуна с пуансонами; 8 – боковые приводные кулаки для матрицы; 9 – ответные боковые ролики; 10 – тяги матрицы; 11 – формовочная матрица, открытая сверху и снизу; 12 – возвратные цилиндры-уравновешиватели матрицы, тяг и зажимных рычагов; 13 – поддон матрицы; 14 – вибростол; в составе гидровибратора: 15 – силовой исполнительный гидроцилиндр с пружиной возврата поршня; 16 – гидровозбудитель виброимпульсов в сборе; 17 – пружина с управляемой силой затяжки от сервомеханизма 18 управления переменными параметрами виброимпульсов гидровозбудителя; 18 – дистанционно (программно) управляемое исполнительное устройство (сервомеханизм) для управления гидровозбудителем 16 через пружину 17; 19 – цикловой гидроаккумулятор; 20 – типовая гидростанция питания с регулируемыми подачей и давлением; 21 – поршневой клапан; 22 – шариковый сервоклапан управления поршневым клапаном 21; 23 – нажимной плунжер от пружины 17 на шарик сервоклапана 22; 24 – возвратная пружина поршневого клапана 21; 25 – тормозной плунжер поршневого клапана 21.
Сокращенные обозначения на фиг.1, 2: ДУ – дистанционное управление; ПУ – программное управление. На фиг.2 также буквенно обозначены: Р – подвод потока от насосной станции 20 на вход гидровозбудителя 16 с присоединенным цикловым аккумулятором 19; С – слив в бак насосной станции 20, Ц – подвод потока от гидровозбудителя 16 к силовому цилиндру 15. Пунктирными линиями со стрелками на элементе 16 схемы фиг.1 условно обозначена обратная связь по перепаду давления, который переключает поршневой клапан 21 гидровозбудителя 16.
На фиг.1 не показаны зажимные рычаги с резиновыми баллонами для прижима матрицы 11 с поддоном 13 к вибростолу 14; баллоны и амортизаторы вибростола 14.
Вибропресс выполнен вертикального типа с двухстоечной станиной 1, в верхней части которой расположен приводной блок 2, состоящий из электродвигателя, зубчатой передачи 1, фрикционной дисковой муфты-тормоза, промежуточного вала, который связан зубчатой передачей 2 с главным валом 3. На главном валу 3 закреплены центральный 4 и два боковых 8 приводных кулака, спрофилированные в соответствии с циклом для перемещения ползуна 6 с пуансонами, закрепленными на нем, и матрицы 11. Центральный кулак 4 взаимодействует с роликом 5, закрепленным на ползуне 6. Ползун 6 под воздействием центрального кулака 4 может перемещаться вертикально в направляющих станины 1. Масса ползуна 6 с пуансонами уравновешена с помощью пневматических поршневых цилиндров-уравновешивателей 7, штоки которых закреплены на ползуне 6, а сила, развиваемая цилиндрами-уравновешивателями 7, достаточна для постоянного прижима ролика 5 к кулаку 4 и возвратного хода ползуна 6 в исходную верхнюю позицию.
Два боковых кулака 8 взаимодействуют с матрицей 11 с помощью тяг 10 с роликами 9. В нижней части станины 1 размещен вибростол 14, который имеет возможность перемещаться вертикально в направляющих (не показаны) в пределах амплитуды под воздействием вибраций. На вибростоле 14 сверху размещается поддон 13, а на него устанавливается открытая сверху и снизу матрица 11. Матрица 11 во время вибраций плотно прижимается к поддону 13 и вибростолу 14 зажимными рычагами (не показаны) под воздействием беспоршневых резиновых баллонов (не показаны). Снизу вибростол 14 опирается на баллоны и амортизаторы (не показаны), установленные на станине 1 для уменьшения шума и воздействия вибраций на станину 1. Масса матрицы 11, двух тяг 10 и двух зажимных рычагов уравновешена с помощью пневматических поршневых цилиндров-уравновешивателей 12, скрепленных со станиной 1. Сила уравновешивателей 12 обеспечивает постоянный прижим роликов 9 к кулакам 8 и возвращение матрицы в исходную верхнюю позицию.
В вибростол 14 встроен гидровибратор, состоящий из силового цилиндра 15 и гидровозбудителя виброимпульсов 16 с пружиной 17, регулируемой дистанционно (программно) управляемым сервомеханизмом 18 для изменения параметров вибраций гидровибратора. Цикловой аккумулятор 19 и гидроагрегат типовой насосной станции 20 гидровибратора установлены в непосредственной близости от него.
Гидровозбудитель 16 виброимпульсов, изображенный на фиг.2 в исходном положении, содержит поршневой клапан 21 с возвратной пружиной 24 и тормозным плунжером 25, шариковый сервоклапан 22, нажимной плунжер 23, регулируемую пружину 17, сервомеханизм 18, типовой цикловой аккумулятор 19, максимальный объем жидкости в котором достаточен для обеспечения одного максимально возможного виброимпульса гидровибратора. Достаточно сложная система коммутации гидроканалов между основными элементами гидровозбудителя 16 также подробно показана на фиг.2.
Гидровозбудитель виброимпульсов работает следующим образом.
В исходном положении пружина 17, сила которой установлена по программе сервопривода 18, воздействует на нажимной плунжер 23, при этом шариковый сервоклапан 22 закрыт. Полости над поршневым клапаном 21 соединены каналом Р с цикловым аккумулятором 19, который в исходном состоянии разгружен.
При включении насосной станции 20 рабочая жидкость под установленным давлением поступает в цикловой аккумулятор 19, создавая в нем объем, необходимый для одного виброимпульса. Давление в аккумуляторе 19 и в полости над поршневым клапаном 21 и перед шариковым сервоклапаном 22 повышается до установленного наибольшего значения, противодействуя пружине 17 через нажимной плунжер 23.
При силе давления жидкости на шариковый сервоклапан 22, превышающей силу пружины 17, затянутой с помощью сервомеханизма 18, шариковый сервоклапан 22 открывается и соединяет полости перед шариковым клапаном 22 и над поршневым клапаном 21 со сливной магистралью в бак насосной станции 20.
Давление жидкости в цикловом аккумуляторе 19 повышается при подаче жидкости от насоса 20. Поршневой клапан 21 перемещается вверх под действием неуравновешенной силы давления жидкости на нижний торец поршня клапана 21. В конечном верхнем положении поршень клапана 21 останавливается безударно с помощью тормозного плунжера 25. Происходит соединение магистрали Р с каналом Ц и цикловой аккумулятор 19 разряжается полностью на гидроцилиндр 15, создавая импульсное воздействие на вибростол 14 с установленной на нем на поддоне 13 матрицей 11, заполненной рабочей смесью.
В следующий момент, как только давление рабочей жидкости в цикловом аккумуляторе 19 и полостях гидровозбудителя 16 понизится до установленного наименьшего значения под действием возвратной пружины 24, поршень клапана 21 возвращается в исходное нижнее положение, описанное ранее, разъединяя магистраль Р с каналом Ц. Таким образом, поршневой клапан 21 открывается автоматически при определенном высоком давлении жидкости и закрывается при определенном низком давлении. Цикл гидровозбудителя повторяется с программно установленными регулируемыми параметрами виброимпульсов.
Итак, во время открытия поршневого клапана 21 жидкость под давлением поступает из циклового аккумулятора 19 в силовой цилиндр 15, а во время закрытия клапана 21 аккумулятор 19 заполняется жидкостью, поступающей из насосной станции 20 с возможностью программного управления максимальными подачей и давлением насосной станции. Это формирует повторяющиеся с определенной частотой импульсы давления рабочей жидкости, поступающей в силовой цилиндр 15, который обеспечивает вибровоздействие на вибростол 14 с установленным на нем поддоном 13 с матрицей 11 с рабочей смесью. Давление устанавливается дистанционно (программно) управляемым сервомеханизмом 18, воздействующим на пружину 17, нажимной плунжер 23 и шариковый сервоклапан 22, соединенный с верхней полостью поршневого клапана 21.
Изменение частоты, амплитуды перемещений и удельной силы вибровоздействия осуществляют сжатием-ослаблением пружины 17 за счет вращения регулировочного винта с помощью исполнительного сервомеханизма 18 дистанционного или программного управления, а также, возможно, дистанционным (программным) управлением изменения давления предохранительного клапана и подачи насосной станции 20.
Варианты реализации сервомеханизма 18 могут быть, например, следующие:
1) соосно регулировочному винту установлено червячное колесо, взаимодействующее с червячным валом шагового электродвигателя. Изменяемый по программе сигнал управления от программного устройства поступает на вход шагового электродвигателя, который на выходе обеспечивает поворот червячного вала и связанного с ним червячного колеса и связанного с ним посредством шлицевого соединения регулировочного винта пружины 17. Поворотом на заданный угол регулировочный винт увеличивает или уменьшает силу затяжки пружины 17;
2) гидро- или пневмоцилиндр с бесконтактным дистанционно управляемым по программе перемещением штока. Шток цилиндра связан с рейкой, взаимодействующей с шестерней, установленной соосно с регулировочным винтом;
3) поворотный гидро- или пневмодвигатель (но не цилиндр) с дистанционным управлением, установленный соосно с регулировочным винтом пружины 17 и взаимодействующий с ним посредством шлицевого соединения.
Вибропресс работает следующим образом. В исходном состоянии матрица 11 и ползун 6 с пуансонами находятся в крайнем верхнем положении. Кулаки 4 и 8 развернуты в нулевое положение в соответствии с циклом. Поддон 13 размещен на вибростоле 14. Электродвигатель привода 2 вибропресса включен, муфта выключена, тормоз включен. При включении муфты тормоз выключается, главный вал 3 начинает вращение. Гидровибратор работает в течение всех трех этапов цикла предлагаемого способа вибропрессования. При вращении главного вала 3 матрица 11 опускается на поддон 13 под воздействием двух кулаков 8, роликов 9 и тяг 10. Во время остановки матрицы 11 в нижнем положении в нее загружают рабочую смесь. После этого ползун 6 с закрепленными на нем пуансонами движется вниз по направлению к матрице 11. Ползун 6 останавливается в крайнем нижнем положении, обеспечивая паузу за счет профиля кулака 4. Матрица 11 перемещается вверх под действием пневмоцилиндров-уравновешивателей 12. Вслед за матрицей 11 с отставанием, достаточным для прекращения контакта стенок матрицы 11 с отформованными изделиями, перемещается вверх ползун 6 с закрепленными пуансонами под воздействием кулака 4 и ролика 5. Матрица 11 и ползун 6 с пуансонами достигают крайнего верхнего исходного положения под действием цилиндров-уравновешивателей 7. Отформованные изделия на поддоне 13 перемещают на приемный стол или транспортер (не показаны) для затвердевания. Цикл вибропрессования завершен.
Осуществление предлагаемого способа вибропрессования иллюстрируется обобщенными графиками на фиг.3 и 4. Три этапа процесса эффективного вибропрессования: 1) засыпка смеси с высокой частотой (80 100% от максимума) и малыми амплитудами виброперемещений и удельной силы вибровоздействия (20 50% от максимума); 2) предварительное виброуплотнение со средней частотой (50 80% от максимума) и средними амплитудами (50 70% от максимума); 3) окончательное уплотнение с низкой частотой (10 50% от максимума) и большими амплитудами (70 100% от максимума).
Обобщенные зависимости амплитуды виброперемещений (А, мм), частоты (v, Гц) и амплитуды удельной (по площади) силы (q, кПа) вибропрессования от давления (Р, мПа) на входе в гидровозбудитель 16 показаны при фиксированных параметрах максимальных подачи и давления насосной станции 20 на этапах цикла вибропрессования цементно-песчаных смесей и других архитектурно-строительных материалов. Регулированием давления на входе в вибровозбудитель 16 по программе изменяют режимы вибропрессования по этапам цикла процесса. Наиболее рациональные режимы устанавливаются опытным путем для каждого материала и изделия номенклатуры, запоминаются процессором управляющей компьютерной системы и повторяются для всей партии изделий.
Пример осуществления способа.
Экспериментально исследовался случай вибропрессования изделия из полусухих цементно-песчаных смесей. Диапазоны регулирования параметров вибрации, их изменения по этапам цикла: частоту вибраций регулировали в диапазоне от 10 до 100 Гц, удельную силу вибровоздействия в диапазоне 10 200 кПа (давление на входе в гидровозбудитель от 1 до 20 МПа) при амплитуде виброперемещений 1 3 мм.
Конкретно по этапам цикла наборы регулируемых параметров были следующие:
на этапе 1: частота вибраций 100 Гц; амплитуда вибраций 1,0 мм; амплитуда удельной силы вибровоздействия до 100 кПа (50%); длительность этапа от 2 до 3 с;
на этапе 2: частота вибраций 65 Гц; амплитуда вибраций 1,8 мм; амплитуда удельной силы вибровоздействия до 140 кПа (70%); длительность этапа от 0,5 до 1 с;
на этапе 3: частота вибраций 10 Гц; амплитуда вибраций 3,0 мм; амплитуда удельной силы вибровоздействия до 200 кПа (100%); длительность этапа от 0,5 до 1 с.
Применение вибропрессования с этими параметрами обеспечивает получение необходимого уровня удельных сил и высокую эффективность вибропрессования. При этом повышение эффективности вибропрессования подтверждается объективными численными оценками результатов экспериментальных исследований предлагаемого способа с использованием предлагаемого устройства: анализ технологических особенностей процесса изготовления заготовок из полусухих цементно-песчаных смесей, а также и смесей на основе нитрид-кремниевых порошков показал перспективность изготовления сложнопрофильных заготовок вибрационного прессования с трехэтапным циклическим вибрационным нагружением смеси в матрице, что позволяет достичь плотности заготовки 60% (это примерно на 25% лучше традиционных результатов) при равноплотности 95 98%, практически недостижимой при традиционных способах вибропрессования с дебалансными вибраторами.
Формула изобретения
1. Вибропресс вертикального типа для вибропрессования архитектурно-строительной смеси, содержащий станину, центральный элемент в виде установленной с возможностью вертикального перемещения и открытой сверху и снизу формовочной матрицы с тягами, имеющей по меньшей мере одну полость с отверстием для уплотняемой архитектурно-строительной смеси, средство сдавливающего воздействия сверху на архитектурно-строительную смесь в матрице, выполненное в виде имеющего возможность вертикального перемещения ползуна с пуансонами, соответствующими отверстиям в матрице, средство вибрационного воздействия снизу на архитектурно-строительную смесь в матрице, выполненное в виде вибростола с расположенным между ним и матрицей поддоном и приводным устройством, приводные устройства для перемещения ползуна с пуансонами и матрицы в виде раздельных кулаков, взаимодействующих с ответными роликами, выполненные с цикловым управлением от общего приводного двигателя с системой механических передач к кулакам, а также вспомогательные узлы в виде зажимных рычагов для прижима матрицы с поддоном к вибростолу, уравновешивателей масс ползуна с пуансонами и матрицы с тягами и зажимными рычагами и амортизаторов, установленных между вибростолом и станиной, отличающийся тем, что приводное устройство вибростола выполнено в виде встроенного в стол гидровибратора, который выполнен с обеспечением изменения параметров вибрации путем регулирования по программе частоты, амплитуды виброперемещения и амплитуды удельной силы вибрационного воздействия и содержит силовой гидроцилиндр, гидровозбудитель виброимпульсов, цикловой аккумулятор, насосную станцию и систему гидроканалов, гидровозбудитель содержит поршневой клапан с возвратной пружиной и тормозным плунжером и шариковый сервоклапан с нажимным плунжером и пружиной, причем поршневой клапан выполнен с возможностью автоматического открытия при высоком давлении жидкости в месте соединения входа гидровозбудителя, циклового аккумулятора и выхода нагнетания насосной станции и автоматического закрытия при низком давлении, а также с обеспечением во время автоматического открытия поступления жидкости под давлением из циклового аккумулятора в силовой гидроцилиндр, а во время автоматического закрытия – заполнения циклового аккумулятора жидкостью из насосной станции для формирования в силовом гидроцилиндре импульсов жидкости для вибрационного воздействия, а поршневой сервоклапан снабжен пружиной, выполненной с возможностью регулирования ее сжатия посредством сервомеханизма дистанционного и/или программного управления для обеспечения регулирования давления жидкости, времени открытия и закрытия поршневого клапана для изменения частоты, амплитуды виброперемещения и амплитуды удельной силы вибрационного воздействия
2. Вибропресс по п.1, отличающийся тем, что насосная станция выполнена с возможностью дистанционного и/или программного регулирования подачи жидкости и давления на своем выходе.
3. Способ вибропрессования архитектурно-строительной смеси на вибропрессе вертикального типа по п.1, включающий этап засыпки рабочей архитектурно-строительной смеси в полости матрицы вибропресса, которую осуществляют с вибрационным воздействием на указанную рабочую смесь от вибростола вибропресса, формование из последней изделий путем сдавливающего воздействия на рабочую архитектурно-строительную смесь сверху пуансонами вибропресса и вибрационного воздействия от вибростола снизу, при этом формование изделий осуществляют в два этапа, на одном из которых производят предварительное виброуплотнение рабочей архитектурно-строительной смеси, а на другом – окончательное виброуплотнение, на этапе засыпки рабочей смеси и этапах формования из нее изделий осуществляют изменение параметров вибрации путем регулирования по программе частоты, амплитуды виброперемещения и амплитуды удельной силы вибрационного воздействия, величины которых на упомянутых этапах устанавливают в зависимости от состава рабочей смеси, причем на этапе засыпки рабочей смеси частоту вибрационного воздействия устанавливают составляющей 80 – 100% от максимальной величины, а амплитуду виброперемещения и амплитуду удельной силы вибрационного воздействия – составляющими 20 – 50% от максимальной величины, а на этапах предварительного и окончательного виброуплотнения частоту устанавливают составляющей, соответственно, 50 – 80% и 10 – 50% от максимальной величины, а упомянутые амплитуду виброперемещения и амплитуду удельной силы вибрационного воздействия – составляющими 50 – 70% от максимальной величины на этапе предварительного виброуплотнения и 70 – 100% от максимальной величины на этапе окончательного уплотнения.
4. Способ по п.3, в котором частоту вибрационного воздействия устанавливают в диапазоне 10 – 100 Гц, а амплитуду удельной силы вибрационного воздействия устанавливают в диапазоне 10 – 200 кПа при амплитуде виброперемещений 1 – 3 мм.
РИСУНКИ
|
|