|
|
(21), (22) Заявка: 2008104270/03, 04.02.2008
(24) Дата начала отсчета срока действия патента:
04.02.2008
(46) Опубликовано: 27.04.2009
(56) Список документов, цитированных в отчете о поиске:
RU 2152489 C1, 10.07.2000. RU 2054067 С1, 10.06.1992. US 2350996 А, 13.06.1944. US 3067806 A, 11.12.1962. WO 9210602 A1, 25.06.1992. DK 128526 B, 20.05.1974. WO 8800265 A1, 14.01.1988. WO 9300464 A1, 17.01.1993. WO 9416164 A1, 21.07.1994.
Адрес для переписки:
454080, г.Челябинск, пр. им. В.И. Ленина, 76, ЮУрГУ, технический отдел
|
(72) Автор(ы):
Коваль Григорий Иванович (RU), Каримова Татьяна Григорьевна (RU)
(73) Патентообладатель(и):
Государственное образовательное учреждение высшего профессионального образования “Южно-Уральский государственный университет” (RU)
|
(54) СПОСОБ ПРОИЗВОДСТВА МНОГОСЛОЙНЫХ МИНЕРАЛОВАТНЫХ ИЗДЕЛИЙ
(57) Реферат:
Изобретение относится к производству минераловатных изделий, преимущественно многослойных. Способ включает получение минераловатного ковра, его перемещение, продольную резку ковра на полосы по ширине, изменение формы и размеров поперечного сечения полос, укладку полос друг на друга, их совместное перемещение, отверждение. Перед укладкой ((n-1), где n – число полос, нарезаемых из минераловатного ковра) полосы дважды поворачивают вокруг их продольных осей на угол 180 град. После каждого поворота направление перемещения указанных полос в плоскости ковра изменяют на угол 180> >0 град. Углы , характеризующие изменение направления перемещения каждой полосы, равны между собой. Технический результат – упрощение технологии получения многослойных минераловатных изделий. 1 ил.
Изобретение относится к производству минераловатных изделий, преимущественно многослойных.
Известны способы производства многослойных минераловатных изделий [Г.Ф.Тобольский, Ю.Л.Бобров. Минераловатные утеплители и их применение в условиях сурового климата. Л.: Стройиздат, Ленинградское отделение, 1981, с.31-34]. В данном способе получение многослойных минераловатных изделий осуществляется путем горизонтальной продольной резки минераловатного ковра на полосы по толщине, соответствующего изменения формы и размеров поперечного сечения этих полос, их укладки друг на друга и соединения путем отверждения связующего.
Недостатком такого способа являются ограниченные технологические возможности по изменению формы и размеров поперечного сечения получаемых полос, особенно в случае необходимости уменьшения ширины части полос. При укладке полос разной ширины друг на друга и их соединении получается минераловатное изделие с разной шириной слоев, что снижает качество получаемых минераловатных изделий. Другим недостатком такого способа является получение полос с разной структурой и механическими свойствами, так как полосы вырезаются из разных частей ковра по высоте. Еще одним очевидным недостатком такого способа является достаточно сложная технология продольной горизонтальной резки ковра на слои, требующая точной настройки положения режущего инструмента для получения слоев требуемой толщины. Все это ограничивает возможности данного способа по получению высококачественных многослойных минераловатных изделий.
Таким образом, основными недостатками данного способа являются ограниченные технологические возможности по обеспечению качества получаемых минераловатных изделий.
Наиболее близким по технической сущности и достигаемому эффекту является способ изготовления отвержденного нетканого полотна из минераловатного ковра [Патент РФ 2152489, МПК В28В 1/52, Е04В 1/78, В65В 27/12, D04M 1/70, Е04С 2/16. «Способ изготовления отвержденного нетканого полотна из минераловатного волокна и устройство для его осуществления», опубл. 10.07.2000 г.].
В данном способе получение многослойных минераловатных изделий осуществляют путем получения минераловатного ковра, его перемещения, продольной резки ковра на полосы, изменения формы и размеров поперечного сечения полос до или после продольной резки, укладки полос друг на друга, их совместного перемещения и отверждения.
Недостатком этого способа является необходимость применения достаточно сложной и громоздкой технологии передачи полос неограниченной длины из положения нахождения в одной плоскости в положение укладки в стопу.
Задачей изобретения является упрощение технологии получения многослойных минераловатных изделий.
Поставленная задача достигается тем, что в заявляемом способе производства многослойных минераловатных изделий, включающем получение минераловатного ковра, его перемещение, продольную резку ковра на полосы по ширине, изменение формы и размеров поперечного сечения полос, укладку полос друг на друга, их совместное перемещение, отверждение, согласно изобретению перед укладкой (n-1) полосы дважды поворачивают вокруг их продольных осей на угол 180 град., при этом после каждого поворота направления перемещения указанных полос в плоскости ковра изменяют на угол 180> >0 град., причем углы , характеризующие изменение направления перемещения каждой полосы, равны между собой, где n – число полос, нарезаемых из минераловатного ковра.
Двукратное осуществление поворота полос вокруг их продольной оси на угол 180 град., кроме одной, перемещающейся без поворота, в сочетании с изменением направления перемещения на угол , обеспечивает установку полос одну над другой в одну линию. Ограничение угла >0 град. позволяет изменять положение полос без нарушения их сплошности, точнее без разрыва их краев. Второе ограничение связано с тем, что при угле =180 град. полосы изменят направление перемещения на противоположное, что исключает их установку в положение друг над другом.
Применение предложенного способа обеспечивает компоновку многослойного ковра с минимальным количеством технологических операций в одной компактной непрерывной технологической линии и позволяет получать многослойное минераловатное изделие высокого качества.
Таким образом, применение предложенного способа позволяет существенно упростить технологию производства многослойных минераловатных изделий.
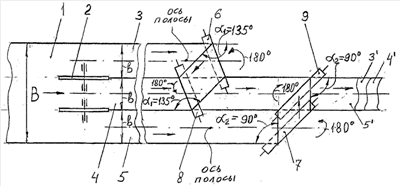
Предложенный способ производства многослойных минераловатных изделий проиллюстрирован на чертеже, на котором показан процесс получения из минераловатного ковра многослойного минераловатного изделия.
Рассмотрим технологию получения трехслойного минераловатного изделия шириной b из минераловатного ковра шириной В.
Минераловатный ковер 1 шириной В со связующим из камеры волокноосаждения передается на перемещающийся транспортер (на чертеже не показано) и поступает к механизму продольной резки 2, с помощью которого из минераловатного ковра 1 получаются три полосы 3, 4, 5 шириной b. Далее полосы поступают на дальнейшую обработку, где, например, осуществляется изменение их толщины и плотности. Затем с помощью направляющих роликов 6, 8 полосы 3 и 5 поворачивают вокруг их продольной оси на угол 180 град. с одновременным изменением направления перемещения полосы 3 на угол 1=135 град., а полосы 5 на угол 2=90 град. Полоса 4 при этом перемещается без изменения направления перемещения. При дальнейшем перемещении полосы 3 и 5 еще раз поворачивают вокруг их продольной оси на угол 180 град. и изменяют направления перемещения полосы 3 на угол 1=135 град., а полосы 5 на угол 2=90 град. Благодаря этому обеспечивается установка полос 3 и 5 над полосой 4. Далее полосы 3 , 4 , 5 синхронно перемещают, укладывают друг на друга и подают в камеру отверждения на агрегаты продольной и поперечной резки для получения минераловатных изделий в виде полос и плит (на чертеже не показано).
Таким образом, предложенный способ позволяет осуществлять получение многослойных минераловатных изделий на малооперационной, компактной технологической линии.
В настоящее время ведутся научно-исследовательские и опытно-конструкторские работы по созданию головного образца технологической линии по производству многослойных минераловатных изделий.
Формула изобретения
Способ производства многослойных минераловатных изделий, включающий получение минераловатного ковра, его перемещение, продольную резку ковра на полосы по ширине, изменение формы и размеров поперечного сечения полос, укладку полос друг на друга, их совместное перемещение, отверждение, отличающийся тем, что перед укладкой (n-1) полосы дважды поворачивают вокруг их продольных осей на угол 180°, при этом после каждого поворота направления перемещения указанных полос в плоскости ковра изменяют на угол 180> >0°, причем углы , характеризующие изменение направления перемещения каждой полосы, равны между собой, где n – число полос, нарезаемых из минераловатного ковра.
РИСУНКИ
|
|