|
|
(21), (22) Заявка: 2006142225/02, 29.11.2006
(24) Дата начала отсчета срока действия патента:
29.11.2006
(43) Дата публикации заявки: 10.06.2008
(46) Опубликовано: 27.04.2009
(56) Список документов, цитированных в отчете о поиске:
RU 2278776 C1, 27.06.2006. SU 289897, 22.12.1970. GB 2345928, 26.07.2000.
Адрес для переписки:
426011, г.Ижевск, ул. Пушкинская, 268, а/я 4013, НПП “Термопласт”
|
(72) Автор(ы):
Касаткин Виктор Алексеевич (RU), Синельник Максим Викторович (RU), Нужный Виктор Анатольевич (RU), Нужный Алексей Викторович (RU), Кочуров Леонид Николаевич (RU)
(73) Патентообладатель(и):
НПП “Термопласт” (RU)
|
(54) ПНЕВМАТИЧЕСКИЙ МОЛОТОК С АМОРТИЗАЦИОННЫМ УСТРОЙСТВОМ
(57) Реферат:
Пневматический молоток с амортизационным устройством относится к ударным инструментам и может быть использован в горном деле, строительстве, судостроении и в других отраслях народного хозяйства. Пневматический молоток с амортизационным устройством содержит размещенный в кожухе корпус с установленной на нем амортизационной пружиной, ударник, установленный с возможностью возвратно-поступательного движения в корпусе, рукоятку и втулку, образующие воздушную амортизационную камеру. Молоток снабжен муфтой, выполненной в виде цилиндра с наружным и внутренним буртами, установленной в кожухе молотка на корпусе с возможностью вращения. Наружный бурт муфты размещен между амортизационной пружиной и кожухом. Муфта имеет фиксатор рабочего инструмента, установленный на внутреннем бурте муфты. Обеспечивается удобство эксплуатации, улучшение амортизационных свойств молотка. 1 ил.
Пневматический молоток с амортизационным устройством содержит размещенный в кожухе корпус с установленной на нем амортизационной пружиной, ударник, установленный с возможностью возвратно-поступательного движения в корпусе, рукоятку и втулку, образующие воздушную амортизационную камеру, он снабжен муфтой, выполненной в виде цилиндра с наружным и внутренним буртами, установленной в кожухе молотка на корпусе с возможностью вращения, при этом наружный бурт муфты размещен между амортизационной пружиной и кожухом, муфта имеет фиксатор рабочего инструмента, установленный на внутреннем бурте муфты.
Технический результат – обеспечение удобства эксплуатации, улучшение амортизационных свойств молотка.
Изобретение относится к пневматическим молоткам с амортизационным устройством и может быть использовано в горном деле, строительстве, литейном производстве, судостроении и других отраслях народного хозяйства.
Известен пневматический молоток с амортизационным устройством по заявке 2004132951/02 (035814), дата подачи заявки 11.11.2004 г., заявитель НПП «Термопласт», патент RU 2278776 C1, содержащий рукоятку, кожух, корпус, установленный в кожухе, воздушную амортизационную камеру и амортизационную пружину, в котором между рукояткой и кожухом размещена втулка, в которой установлен с возможностью перемещения воздухоподводящий патрубок, воздушная амортизационная камера образована рукояткой и втулкой, а амортизационная пружина установлена между буртами, выполненными на корпусе и кожухе.
Недостатками данного пневматического молотка с амортизационным устройством являются: неудобство эксплуатации, пониженное амортизационное свойство ввиду того, что оператор во время работы молотком одной рукой должен держатся за инструмент и управлять им, поворачивая его вокруг продольной оси в зависимости от объекта работы, при этом рука его испытывает вредное воздействие вибрации, передаваемое от инструмента, все это приводит к неудобству эксплуатации и к опасности развития профессионального заболевания.
Технический результат – обеспечение удобства эксплуатации, улучшение амортизационных свойств молотка. Технический результат достигается тем, что пневматический молоток с амортизационным устройством, содержащий размещенный в кожухе корпус с установленной на нем амортизационной пружиной, ударник, установленный с возможностью возвратно-поступательного движения в корпусе, рукоятку и втулку, образующие воздушную амортизационную камеру, он снабжен муфтой, выполненной в виде цилиндра с наружным и внутренним буртами, установленной в кожухе молотка на корпусе с возможностью вращения, при этом наружный бурт муфты размещен между амортизационной пружиной и кожухом, муфта имеет фиксатор рабочего инструмента, установленный на внутреннем бурте муфты.
Наличие указанных отличительных признаков обуславливает соответствие предложенного технического решения критерию «новизна».
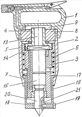
Изобретение поясняется чертежом, где схематично представлен пневматический молоток с амортизационным устройством, продольный разрез.
Пневматический молоток с амортизационным устройством содержит кожух 2 с буртом 7, размещенный в нем корпус 3 с установленной на нем амортизационной пружиной 6, ударник 15, установленный с возможностью возвратно-поступательного движения в корпусе 3, рукоятку 1 и втулку 8, образующие воздушную амортизационную камеру 9, молоток снабжен муфтой 16, выполненной в виде цилиндра с наружным 17 и внутренним 18 буртами, установленной в кожухе 2 молотка на корпусе 3 с возможностью вращения, при этом наружный бурт 17 муфты 16 размещен между амортизационной пружиной 6 и кожухом 2, муфта 16 имеет фиксатор рабочего инструмента 19, установленный на внутреннем бурте 18 муфты 16.
Пневматический молоток с амортизационным устройством работает следующим образом.
При включении молотка сжатый воздух заполняет воздушную амортизационную камеру 9, под действием сжатого воздуха на площадь поперечного сечения патрубка 4 корпус 3 сместится вниз, действуя буртом 5 на амортизационную пружину 6 и займет некоторое нейтральное положение в кожухе 2, в тот момент, когда силы, действующие на корпус 3 сверху и снизу, уравновесятся. Далее из воздушной амортизационной камеры 9 по каналу 13 патрубка 4 сжатый воздух поступает в воздухораспределительный механизм 14, который обеспечивает возвратно-поступательные движения ударника 15 в корпусе 3. При этом колебания корпуса 3 около нейтрального положения относительно рукоятки 1 с кожухом 2 не передаются на руки оператора.
Работа муфты 16 с фиксатором 19 осуществляется следующим образом.
При установке рабочего инструмента 20 в корпус 3 фиксатор 19 устанавливается на муфту 16 и западает в паз 21 в рабочем инструменте 20, тем самым фиксирует его в определенном положении, не позволяет вращаться относительно муфты 16, обеспечивает возможность продольного перемещения инструмента 20 относительно фиксатора 19 с муфтой 16.
Приступая к работе оператор одной рукой держится за рукоятку 1, а другой за муфту 16 и легко управляет инструментом 20, поворачивая муфту 16 вокруг продольной оси, устанавливает инструмент 20 под нужным углом к объекту работы независимо от положения рукоятки 1. При этом обеспечивается удобство эксплуатации при работе молотком и надежная защита рук оператора от вредного воздействия вибрации.
Формула изобретения
Пневматический молоток с амортизационным устройством, содержащий размещенный в кожухе корпус с установленной на нем амортизационной пружиной, ударник, установленный с возможностью возвратно-поступательного движения в корпусе, рукоятку и втулку, образующие воздушную амортизационную камеру, отличающийся тем, что он снабжен муфтой, выполненной в виде цилиндра с наружным и внутренним буртами, установленной в кожухе молотка на корпусе с возможностью вращения, при этом наружный бурт муфты размещен между амортизационной пружиной и кожухом, муфта имеет фиксатор рабочего инструмента, установленный на внутреннем бурте муфты.
РИСУНКИ
|
|