|
|
(21), (22) Заявка: 2006133905/02, 22.02.2005
(24) Дата начала отсчета срока действия патента:
22.02.2005
(30) Конвенционный приоритет:
23.02.2004 FI 20040278
(43) Дата публикации заявки: 27.03.2008
(46) Опубликовано: 27.04.2009
(56) Список документов, цитированных в отчете о поиске:
WO 03004822 A1, 16.01.2003. SU 1028840 A1, 15.07.1983. RU 2167990 C2, 27.05.2001. RU 2079735 C1, 20.05.1997. SU 1798165 A1, 28.02.1993. SU 694636 A1, 30.10.1979. SU 1293328 A1, 28.02.1987.
(85) Дата перевода заявки PCT на национальную фазу:
25.09.2006
(86) Заявка PCT:
FI 2005/050045 20050222
(87) Публикация PCT:
WO 2005/080051 20050901
Адрес для переписки:
129090, Москва, ул. Б.Спасская, 25, стр.3, ООО “Юридическая фирма Городисский и Партнеры”, пат.пов. С.А.Дорофееву
|
(72) Автор(ы):
КЕСКИНИВА Маркку (FI), МЯКИ Йорма (FI), ЭСКО Маури (FI), АХОЛА Эркки (FI), ХЕЛИН Аймо (FI)
(73) Патентообладатель(и):
САНДВИК МАЙНИНГ ЭНД КОНСТРАКШН ОЙ (FI)
|
(54) УСТРОЙСТВО УДАРНОГО ДЕЙСТВИЯ, УПРАВЛЯЕМОЕ НАПОРНОЙ ЖИДКОСТЬЮ
(57) Реферат:
Изобретение относится к устройствам ударного действия. Устройство содержит корпус, инструмент, расположенный в корпусе с возможностью перемещения в продольном направлении корпуса, средства для подачи напорной жидкости в устройство и для возврата напорной жидкости в бак напорной жидкости, средства для формирования импульса механического напряжения в инструменте путем использования давления напорной жидкости и передаточный поршень. Со стороны передаточного поршня, обращенной к инструменту, размещена зарядная напорная камера, а с обратной стороны передаточного поршня – рабочая напорная камера. Средства для формирования импульса механического напряжения содержат источник напорной жидкости, соединенный с рабочей напорной камерой и предназначенный для поддержания давления в рабочей напорной камере, и средства для прерывистой подачи в зарядную напорную камеру напорной жидкости. Средства для прерывистой подачи в зарядную напорную камеру напорной жидкости обеспечивают перемещение передаточного поршня по направлению к рабочей напорной камере и попеременное обеспечение быстрого выпуска напорной жидкости из зарядной рабочей камеры. При этом усилие, создаваемое давлением сжатой напорной жидкости, находящейся в рабочей напорной камере и рабочей жидкости, втекающей в указанную камеру из источника напорной жидкости, обеспечивает перемещение передаточного поршня в направлении инструмента. В результате увеличивается частота ударов устройства. 6 з.п. ф-лы, 4 ил.
Настоящее изобретение относится к устройству ударного действия, управляемому напорной жидкостью, содержащему корпус для расположения в нем инструмента с возможностью перемещения в продольном направлении корпуса, средства для подачи напорной жидкости в устройство и для возврата напорной жидкости в бак напорной жидкости, и средства для формирования импульса механического напряжения в инструменте путем использования давления напорной жидкости, рабочую напорную камеру, заполненную напорной жидкостью, и передаточный поршень, расположенный между рабочей напорной камерой и инструментом с возможностью перемещения в продольном направлении корпуса, при этом поршень находится в непосредственном или в косвенном контакте с инструментом, по меньшей мере, во время формирования импульса механического напряжения, и зарядную напорную камеру на стороне передаточного поршня, обращенной к инструменту, так что передаточный поршень снабжен напорной поверхностью, обращенной к рабочей напорной камере, а на стороне зарядной напорной камеры – напорной поверхностью, обращенной к инструменту.
В известном устройстве ударного действия импульс механического напряжения в инструменте формируется за счет использования поршня ударного действия, совершающего возвратно-поступательное движение, который в конце своего ударного перемещения бьет по концу инструмента или хвостовика, соединенного с ним, формируя таким образом импульс механического напряжения в инструменте, распространяющийся по направлению к материалу, подлежащему воздействию ударами. Возвратно-поступательное перемещение поршня ударного действия в типичном случае достигается с помощью напорной среды, давление которой приводит поршень в движение, по меньшей мере, в одном направлении, а в настоящее время – как правило, в двух направлениях. Для интенсификации ударного перемещения поршня можно использовать аккумулятор давления или пружину, либо аналогичное средство, для аккумулирования энергии во время возвратного перемещения.
Вследствие возвратно-поступательного перемещения поршня в устройствах ударного действия, оснащенных поршнем ударного действия, создаются усилия, придающие ускорение и действующие в противоположных направлениях, которые подвергают механизм воздействию механического напряжения и ухудшают управление устройством ударного действия. Кроме того, из-за таких усилий, конструкции стрел и подающие устройства, обычно применяемые для поддержки устройства ударного действия, приходится делать более устойчивыми к внешним воздействиям, чем понадобилось бы в противном случае. Помимо этого, для обеспечения достаточно эффективной передачи импульса механического напряжения от инструмента к материалу, по которому следует наносить удары, например, к разрушаемой горной породе, на устройство ударного действия, а, значит, и на инструмент, приходится оказывать давление по направлению к материалу с помощью достаточного усилия. Из-за динамических усилий, придающих ускорение, величину усилия подачи и размеры подающих конструкций приходится выбирать из соображений достаточной устойчивости к воздействиям, вследствие чего усилие, создаваемое давлением и прикладываемое к инструменту, которое сохраняется из-за разницы в ускорении, обуславливаемой усилием подачи и движением поршня ударного действия, будет по-прежнему достаточно большим. Кроме того, только устройства ударного действия, оснащенные поршнем ударного действия, работа которого основана на возвратно-поступательном ударном перемещении, способны обеспечить низкие частоты ударов, поскольку придание поршню ударного действия ускорения в направлении его перемещения всегда требует приложения мощности некоторой величины к массе поршня ударного действия, а высокие частоты потребовали бы большого ускорения, а значит – и исключительно больших мощностей. Это, в свою очередь, практически нереализуемо, потому что все остальные составные части в устройстве ударного действия и его несущей конструкции должны были бы иметь соответствующим образом подобранные размеры. В то же время, поскольку увеличение частоты могло бы сказаться в значительном уменьшении кпд, частота ударов в существующих устройствах ударного действия в лучшем случае составляет лишь несколько дюжин герц.
Краткое изложение сущности изобретения
Целью настоящего изобретения является создание устройства ударного действия, обеспечивающее создание в нем динамических усилий и значительно уменьшающее обуславливаемые этим недостатки, имеющее приемлемый кпд и обеспечивающее частоты импульсов механического напряжения, значительно превышающие импульсы, создаваемые в известных устройствах.
Согласно изобретению созданное устройство ударного действия согласно изобретению отличается тем, что средства для формирования импульса механического напряжения содержат источник напорной жидкости, соединенный с рабочей напорной камерой и предназначенный для поддержания давления в рабочей напорной камере, и средства для прерывистой подачи в зарядную напорную камеру напорной жидкости, давление которой обеспечивает перемещение передаточного поршня по направлению к рабочей напорной камере с противодействием давлению рабочей жидкости в рабочей напорной камере и с достижением предварительно определенного отведенного положения передаточного поршня таким образом, что напорная жидкость выпускается из рабочей напорной камеры, а также для попеременного обеспечения быстрого выпуска напорной жидкости из зарядной рабочей камеры таким образом, что усилие, создаваемое давлением сжатой напорной жидкости, находящейся в рабочей напорной камере, и рабочей жидкости, втекающей в эту камеру из источника напорной жидкости, обеспечивает перемещение передаточного поршня в направлении инструмента, обуславливая сжатие инструмента в его продольном направлении и формирование таким образом импульса механического напряжения в инструменте.
Основная идея изобретения состоит в том, что передаточный поршень непрерывно подвергается воздействию давления, которое направлено к инструменту, причем это давление создается источником напорной жидкости, соединенным с рабочей напорной камерой.
Другая идея изобретения состоит в том, что сжатая напорная жидкость подается в зарядную напорную камеру, расположенную с другой стороны от передаточного поршня, для перемещения передаточного поршня в конкретное предварительно определенное положение, т.е. в положение, из которого передаточный поршень посредством усилия, создаваемого за счет давления в рабочей камере, получает возможность оказывать резкий нажим на инструмент по направлению к материалу, по которому следует наносить удары, и тем самым формировать импульс механического напряжения в инструменте.
Еще одна идея, лежащая в основе изобретения, состоит в том, что, когда передаточный поршень находится в упомянутом положении и, по существу, в контакте с инструментом или хвостовиком, зарядная напорная камера «подключена к давлению бака», так что давление, действующее с противоположной стороны передаточного поршня, обеспечивает внезапный нажим на инструмент или аналогичное средство, вследствие чего формируется импульс механического напряжения, который распространяется через инструмент в материал, по которому нужно наносить удары.
Преимущество изобретения состоит в том, что оно гарантирует достижение приемлемого кпд, поскольку движение передаточного поршня в положение инициации импульса механического напряжения, т.е. в положение высвобождения, происходит, по существу, при постоянном давлении. Дополнительное преимущество изобретения состоит в том, что изобретение гарантирует отражение энергии сжимающего механического напряжения, доставляемой волной механического напряжения, от материала, на который оказывается воздействие, через инструмент и передаточный поршень в рабочую напорную камеру с целью рекуперации. Еще одно дополнительное преимущество изобретения состоит в том, что частоту формирования импульсов механического напряжения можно сделать значительно большей, чем в известных устройствах ударного действия, потому что здесь нет имеющего большую массу, а значит и медленно движущегося передаточного поршня, которому приходится сообщать возвратно-поступательное движение. И еще одно преимущество изобретения состоит в том, что это устройство является простым в осуществлении и простым в работе.
Краткое описание чертежей
Ниже будет приведено подробное описание изобретения со ссылками на прилагаемые чертежи, на которых изображено следующее:
фиг.1а и 1b проиллюстрируют схемы устройства ударного действия в соответствии с изобретением во время зарядки и во время формирования импульса механического напряжения соответственно;
фиг.2а и 2b показывают теоретические графики энергии, связанной с зарядкой и формированием импульса механического напряжения соответственно.
Подробное описание изобретения
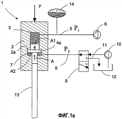
На фиг.1а схематически показан вариант осуществления устройства ударного действия в соответствии с изобретением в ситуации, когда устройство ударного действия «заряжается», чтобы сформировать импульс механического напряжения. На чертеже показано устройство 1 ударного действия, содержащее корпус 2. Корпус содержит рабочую напорную камеру 3 для напорной жидкости, ограниченную с одной стороны передаточным поршнем 4. Рабочая напорная камера 3 соединена посредством канала 5 с источником давления таким, как насос 6 напорной жидкости, который подает сжатую напорную жидкость в полость камеры 3 под давлением Р1. С другой стороны передаточного поршня, противоположной той, с которой находится напорная камера 3, предусмотрена зарядная напорная камера 7, которая, в свою очередь, соединена посредством канала 8 и клапана 9 с источником напорной жидкости таким, как насос 10 напорной жидкости, который подает сжатую напорную жидкость, давление которой равно Р2. Предусмотрен также канал 11 возврата напорной жидкости, ведущий из клапана 9 в бак 12 напорной жидкости.
С устройством 1 ударного действия также соединен инструмент 13, который может быть буровой штангой или, как и бывает в типичном случае, хвостовиком, соединяемым с буровой штангой. На противоположном конце инструмента расположено буровое долото такое, как долото для горных пород или аналогичное средство, которое не показано, находящееся во время эксплуатации в контакте с материалом, по которому нужно наносить удары. Инструмент может дополнительно содержать аккумулятор 14 давления, соединенный с рабочей напорной камерой 3 для демпфирования импульсов давления.
В ситуации, показанной на фиг.1а, осуществляется «зарядка», во время которой напорная жидкость под управлением клапана 9 подается в зарядную напорную камеру 7 таким образом, что передаточный поршень 4 перемещается в направлении, обозначенном стрелкой А, до тех пор, пока не окажется в положении, соответствующем фиг.1а, то есть в своем крайнем верхнем, иными словами, отведенном положении. При этом напорная жидкость выпускается из рабочей напорной камеры. Отведенное положение передаточного поршня 4 определяется механическими решениями, реализуемыми в устройстве 1 ударного действия в виде буртиков или упоров. В варианте осуществления, соответствующем фиг.1а и 1b, это буртик 2а и задняя поверхность фланца 4а передаточного поршня. В процессе эксплуатации устройства ударного действия 1, на него оказывают давление по направлению к материалу, подлежащему воздействию, с усилием F1, т.е. с «усилием подачи», которое удерживает передаточный поршень 4 в контакте с инструментом 13, а его наконечник, т.е. буровую штангу или аналогичное средство, в контакте с материалом, подлежащим воздействию. Когда передаточный поршень 4 переместится настолько, насколько это возможно, в направлении стрелки А, клапан 9 перемещается в положение, показанное на фиг.1b, в котором обеспечивается резкий выпуск напорной жидкости из зарядной напорной камеры 7 в бак 12 напорной жидкости. Затем передаточный поршень получает возможность двигаться вперед в направлении инструмента 13 благодаря давлению напорной жидкости как уже находящейся в рабочей напорной камере 3, так и продолжающей течь в нее из насоса 6 напорной жидкости. Давление Р1, действующее на передаточный поршень 4 в рабочей напорной камере 3, создает усилие, которое обеспечивает нажим на передаточный поршень 4 в направлении стрелки В к инструменту 13, сжимая инструмент 13. В результате, в инструменте 13 через посредство передаточного поршня 14 создается внезапное сжимающее механическое напряжение, и это сжимающее механическое напряжение приводит к формированию импульса механического напряжения через посредство инструмента 13, при этом импульс полностью прикладывается к материалу, на который оказывается воздействие. В свою очередь, «отраженный импульс», отражающийся от материала, на который оказывается воздействие, возвращается через инструмент 13, обуславливая нажим на передаточный поршень 4 снова в направлении стрелки А, показанной на фиг.1а, так что энергия импульса механического напряжения передается напорной жидкости в рабочей напорной камере. При этом клапан 9 снова переключается в положение, показанное на фиг.1а, и напорная жидкость снова подается в зарядную камеру 7, оказывая нажим на поршень 4 с переводом его в предварительно определенное отведенное положение.
Площади напорных поверхностей передаточного поршня 4, т.е. площадь А1 поверхности, обращенной к рабочей напорной камере 3, и площадь А2 поверхности, обращенной к зарядной камере 7, соответственно, можно выбрать многими разными путями. Простейшим воплощением является вариант, показанный на фиг.1а и 1b, в котором величины площадей поверхностей являются разными. В таком случае, надлежащий выбор площадей поверхностей гарантирует использование давлений одинаковой величины с обеих сторон передаточного поршня 4, иными словами, можно сделать давления Р1 и Р2 равными по величине. Это упрощает реализацию устройства ударного действия. А это, в свою очередь, приводит к дополнительному преимуществу, заключающемуся в том, что можно легко снабдить передаточный поршень 4 фланцем 4а в форме буртика, а корпус можно легко снабдить буртиком 2а соответственно, и поэтому буртик 2а каркаса 2 будет определять отведенное положение передаточного поршня 4. Это крайнее верхнее положение на чертежах, т.е. положение, в котором всегда начинается формирование импульса механического напряжения. Упомянутые площади поверхностей также можно сделать равными по величине, и в этом случае давление Р2 будет больше, чем давление Р1.
На фиг.2а и 2b представлены теоретические графики энергии, относящиеся к зарядке и формированию импульса механического напряжения, соответственно, в устройстве ударного действия, соответствующем изобретению.
Когда передаточный поршень движется в соответствии с фиг.2а, преодолевая давление Р1, действующее в рабочей напорной камере, в конце этого движения величина «заряженной» энергии составляет Р1·V1, т.е. равна произведению давления и объема, заменяемому напорной площадью А1, которая показана прямоугольником А. Если бы величина давления, действующего в рабочей камере, была равна 0, то величина «заряженной» энергии составляла бы Р1·V1/2, т.е. была бы равна половине энергии, упомянутой выше, что показано треугольником В. Точно также величина энергии, подведенной в устройство ударного действия, обозначена треугольником С, показанным пунктирными линиями, который отображает произведение давления Р2 (по существу, постоянного) на прирост объема V2, который возник в результате перехода напорной поверхности А2. Эта площадь поверхности треугольника С, т.е. подведенная энергия, равна по размеру площади поверхности прямоугольника А.
Когда передаточный поршень в соответствии с фиг.2b получает возможность оказывать давление на инструмент, величина энергии, преобразуемой в импульс механического давления, будет составлять Р1·V1/2, т.е. половину вышеупомянутой энергии, что отображено треугольником Е.
Хотя эта теоретическая проверка не точно отражает реальные процессы эксплуатации и уровни давления, встречающиеся на практике, она все же обеспечивает недвусмысленное описание того, как устройство ударного действия согласно изобретению за счет использования тех же величин давления подаваемой напорной жидкости обеспечивает мощность, которая больше, чем та, которая получается в устройствах, где давление изменяется от нуля до максимального достигаемого давления.
За счет коротких перемещений в направлении инструмента устройство ударного действия, соответствующее изобретению, гарантирует формирование импульсов механического напряжения с большей частотой, потому что необходимые количества подаваемой напорной жидкости относительно малы, гарантируя при этом большое создаваемое усилие. Кроме того, поскольку масса передаточного поршня 4 мала, значительные динамические усилия не возникают. При этом перемещение передаточного поршня 4 в его отведенное положение, т.е. исходное положение, требует лишь короткого движения, гарантируя тем самым формирование импульсов и достижение высокой частоты импульсов механического напряжения, что приводит к высокой частоте импульсов механического напряжения между инструментом и материалом, на который оказывается воздействие, обычно называемой частотой ударов в связи с известными устройствами ударного действия. Чертежи и связанное с ними описание предназначены лишь для того, чтобы проиллюстрировать изобретательский замысел. Подробности этого изобретения могут изменяться в рамках объема притязаний формулы изобретения.
Формула изобретения
1. Устройство ударного действия, управляемое напорной жидкостью, содержащее корпус (2), инструмент (13), расположенный в корпусе (2) с возможностью перемещения в продольном направлении корпуса, средства для подачи напорной жидкости в устройство и для возврата напорной жидкости в бак напорной жидкости, средства для формирования импульса механического напряжения в инструменте путем использования давления напорной жидкости, рабочую напорную камеру (3), заполненную напорной жидкостью, передаточный поршень (4), расположенный между рабочей напорной камерой (3) и инструментом (13) с возможностью перемещения в продольном направлении корпуса (2), при этом передаточный поршень находится в непосредственном или в косвенном контакте с инструментом (13) по меньшей мере во время формирования импульса механического напряжения, и зарядную напорную камеру (7), размещенную со стороны передаточного поршня (4), обращенной к инструменту (13), при этом передаточный поршень (4) выполнен с напорной поверхностью (А1), обращенной к рабочей напорной камере (3), а со стороны зарядной напорной камеры (7) – с напорной поверхностью (А2), обращенной к инструменту (13), отличающееся тем, что средства для формирования импульса механического напряжения содержат источник напорной жидкости, соединенный с рабочей напорной камерой (3) и предназначенный для поддержания давления в рабочей напорной камере (3), и средства для прерывистой подачи в зарядную напорную камеру (7) напорной жидкости, давление которой обеспечивает перемещение передаточного поршня (4) по направлению к рабочей напорной камере (3) при противодействии давления рабочей жидкости в рабочей напорной камере (3) и достижение передаточным поршнем (4) предварительно определенного отведенного положения с обеспечением выпуска напорной жидкости из рабочей напорной камеры (3), а также попеременное обеспечение быстрого выпуска напорной жидкости из зарядной рабочей камеры (7) таким образом, что усилие, создаваемое давлением сжатой напорной жидкости, находящейся в рабочей напорной камере (3), и рабочей жидкости, втекающей в указанную камеру из источника напорной жидкости, обеспечивает перемещение передаточного поршня (4) в направлении инструмента (13) для сжатия инструмента (13) в его продольном направлении и формирования таким образом импульса механического напряжения в инструменте (13).
2. Устройство по п.1, отличающееся тем, что средства для подачи сжатой напорной жидкости в рабочую напорную камеру (3) выполнены с возможностью подачи напорной жидкости таким образом, что давление в напорной рабочей камере (3) остается, по существу, постоянным во время работы устройства.
3. Устройство по п.1 или 2, отличающееся тем, что напорная жидкость подается под одинаковым давлением в рабочую напорную камеру (3) и в зарядную напорную камеру, а напорные поверхности (A1, A2) передаточного поршня (4), обращенные к рабочей напорной камере (3) и зарядной напорной камере (7), соответственно, имеют такие размеры, что сумма создаваемых усилий обеспечивает воздействие на передаточный поршень (4) с переводом его в отведенное положение.
4. Устройство по п.1 или 2, отличающееся тем, что рабочая напорная камера (3) соединена с источником напорной жидкости, выполненный в виде насоса (6) напорной жидкости, с обеспечением возможности непрерывной подачи напорной жидкости указанным источником напорной жидкости в упомянутую камеру.
5. Устройство по п.1 или 2, отличающееся тем, что оно содержит аккумулятор давления, соединенный с рабочей напорной камерой (3).
6. Устройство по п.3, отличающееся тем, что рабочая напорная камера (3) соединена с источником напорной жидкости, выполненный в виде насоса (6) напорной жидкости, с обеспечением возможности непрерывной подачи напорной жидкости указанным источником напорной жидкости в упомянутую камеру.
7. Устройство по п.3, отличающееся тем, что оно содержит аккумулятор давления, соединенный с рабочей напорной камерой (3).
РИСУНКИ
|
|