|
(21), (22) Заявка: 2007115577/02, 26.04.2007
(24) Дата начала отсчета срока действия патента:
26.04.2007
(43) Дата публикации заявки: 10.11.2008
(46) Опубликовано: 27.04.2009
(56) Список документов, цитированных в отчете о поиске:
SU 542622 А, 02.02.1977. RU 2287420 С2, 10.06.2005. SU 737201 A, 05.06.1980. US 4480410 A, 06.11.1984.
Адрес для переписки:
111531, Москва, ул. Сталеваров, 4, корп.2, кв.165, В.Я.Матвейчику
|
(72) Автор(ы):
Матвейчик Вячеслав Яковлевич (RU)
(73) Патентообладатель(и):
Матвейчик Вячеслав Яковлевич (RU)
|
(54) СПОСОБ ШЛИФОВАНИЯ ЦЕНТРОВЫХ ОТВЕРСТИЙ НА УСТРОЙСТВЕ ДЛЯ ВНУТРЕННЕГО ШЛИФОВАНИЯ
(57) Реферат:
Изобретение относится к области прецизионного машиностроения и может быть использовано при изготовлении электрошпинделей и пневмошпинделей. Шлифование центровых отверстий валов электрошпинделей осуществляют на устройстве для внутреннего шлифования деталей, имеющем жесткие призматические опоры, расположенные на поворотной плите, упор для воздействия на торец детали, подпружиненный упор, размещенный сверху детали, и бабку со шлифовальным кругом. Вал электрошпинделя базируют в горизонтальном положении по наружной поверхности с расположением двух его шеек на жестких призматических опорах устройства. Валу электрошпинделя сообщают вращение вокруг собственной оси. Ограничивают его осевое перемещение вдоль оси упором, воздействующим на торец, а его отклонение от оси вращения – подпружиненным упором. В результате обеспечивается точное расположение центровых отверстий относительно базовой наружной поверхности вала электрошпинделя, что создает условия для повышения точности работы круглошлифовальных станков. 23 ил.
Изобретение относится к области прецизионного машиностроения. Возникло при производстве электрошпинделей и пневмошпинделей, может быть использовано в станкостроительной, электротехнической и авиационной промышленности.
Известны центровые шлифовальные станки, содержащие вертикально расположенную станину, приспособление с центровым устройством для установки детали, которое перемещается по направляющим станины станка, люнет для установки детали параллельно направляющим станины станка, шлифовальный шпиндель, правящий механизм для правки шлифовального круга под угол 45°-120°.
Задача изобретения: шлифование центровых отверстий на многофункциональном устройстве для внутреннего шлифования (патент 2287420), выполнение аналогичной работы горизонтальным способом, не уступающим по качеству, которое достигается в результате круглого шлифования на круглошлифовальном станке.
Деталь по отношению к шлифовальному кругу находится под углом 30°, шлифование производится кругом прямого профиля.
В ходе проведенных патентных исследований по научно-технической и патентной литературе не было обнаружено источников, аналогичных предложенному. В соответствии с изложенным можно сделать вывод о его соответствии критериям «новизна» и «существенные отличия».
Шлифование внутреннего отверстия вала на устройстве для внутреннего шлифовании производится с целью получения определенного размера и точного расположения внутреннего отверстия относительно базового наружного диаметра.
Шлифование центрового отверстия на устройстве для внутреннего шлифования – технологическое мероприятие, которое обеспечивает точность расположения центровых отверстий по отношению к базовой наружной поверхности, и тем самым обеспечивается высочайшая точность при круглом шлифовании, которое позволяет одновременно выдерживать прецизионные параметры по некруглости формы наружного диаметра шеек вала электрошпинделя в пределах 0,0002-0,0005 мкм. или 2-5 нанометра, и биение шеек вала эдектрошпинделя в пределах 1-2 мкм.
Прошлифованные таким способом центровые отверстия расположены на базовой осевой линии, что позволяет повышать точность при круглом шлифовании.
Данные технологические мероприятия переходят в область нанотехнологий.
Устройство представлено на чертежах где:
– на фиг.1 – общий вид устройства;
– на фиг.2 – вид сверху фиг.1;
– на фиг.3 – вид сверху фиг.1 с устройством, расположенным под углом 30° по отношению к направляющим станины станка;
– на фиг.4 – узел А фиг.1;
– на фиг.5 – разрез по Б-Б фиг.4;
– на фиг.6 – разрез по В-В фиг.5;
– на фиг.7 – разрез по Г-Г фиг.6;
– на фиг.8 – разрез по Д-Д фиг.4;
– на фиг.9 – узел Е фиг.5;
– на фиг.10 – разрез Ж-Ж фиг.9;
– на фиг.11 – разрез Ж-Ж фиг.9;
– на фиг.12 – разрез Ж-Ж фиг.9 под углом 30°;
– на фиг.13 – аксонометрия устройства.
На представленных фотографиях отражен процесс проверки произведенной (выполненной) работы.
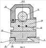
Устройство состоит из плиты 1, в которой выполнены направляющие поверхности 2, 3, 4, по которым в процессе наладки станка передвигаются стойки 5 и 6, электродвигатель 7 мощностью 0,08 кВт 1400 об/мин для вращения детали 8 с помощью гибкого элемента в виде сильфона 9, втулки 10, соединяющей сильфон 9 и обрабатываемую деталь. Назначение сильфона 8 состоит в том, чтобы устранить воздействие электродвигателя 7 на деталь 8.
Стойка для крепления призм 11 и 12 состоит из трех основных частей: основания 13, вертикальной части стойки 14 и проушины 18.
В вертикальной части стойки выполнен паз, который имеет две плоскости 15 и 16 для крепления призм 11 и 12. По поверхности 16 путем перемещения плиты маховиком 31 производится проверка перпендикулярности плоскости стойки относительно направляющих станины (станка) устройства. По поверхности паза 15 определяется точность соосного расположения вертикальной части стойки относительно направляющих станины устройства. Вертикальная часть стойки 14 соединена с основанием 13 болтами 17. В вертикальной части стойки закреплена проушина 18, которая обладает возможностью поворота для установки детали 8 на призмы 11 и 12, на штифте соединяющих детали 14 и 18. В проушине 18 установлен подпружиненный упор 19, удерживающий деталь в оси вращения в процессе обработки. Проушина 18 прижата к вертикальной части стойки болтом 20.
Стойка на направляющих поверхностях 2-4 закреплена болтом 21, расположенным под углом 45 градусов.
Призма состоит из двух симметричных частей 11 и 12, что позволяет прошлифовать их с высокой точностью. Рабочие поверхности призм 38 могут быть оснащены сплавом ВК8 или другим материалом, имеющим низкий коэффициент трения и высокую износоустойчивость (износостойкость). Рабочие поверхности призм могут иметь одинаковые или разные углы в зависимости от вида выполняемых работ. Призмы изготавливаются из ст.45 и после термообработки имеют твердость НРС 38-42 ед. После предварительного шлифования производится наплавка пластины 38 на рабочую поверхность призмы, затем следует окончательное шлифование призм и рабочей поверхности.
В процессе наладки призмы 11 и 12 фиксируются к плоскости 16 болтами 22.
Индикаторным глубиномером определяется разность по высоте между осями детали 8 и шлифовального круга 24. Величина разности определяется толщиной регулировочной пластины 25.
Магнитная стойка с индикаторной головкой установлена на разрезную бабку 26. Маховик 23 осуществляет перемещение стола по направляющим станины станка, что позволяет определить положение детали 8 в вертикальной и горизонтальной плоскостях относительно направляющих станины станка. Точность фиксируется индикатором в момент касания поверхности детали 8. Таким образом возможно получить близкую параллельность оси детали с линией резания шлифовального круга 24.
Основание бабки 27 установлено на столе устройства 28, который обладает возможностью возвратно-поступательного перемещения по направляющим станины устройства. В разрезную бабку 26 установлен электрошпиндель 29, по выступающему диаметру которого производится проверка точности установки электрошпинделя относительно направляющих станины станка магнитной стойкой с индикаторной головкой, который размещается на плите 1. Перемещение стола 28 производится маховиком 23, что позволяет установить электрошпиндель в горизонтальной и вертикальной плоскостях относительно направляющих станины станка. Это позволяет линии резания наиболее точно совпадать с направляющими станка. Болтами 32 фиксируется положение разрезной бабки 26 на основании 27.
Подпружиненный упор 19 размещен в проушине 18 и служит для ограничения перемещения детали по диаметру (устраняет возможность биения детали при ее вращении в процессе обработки).
Ограничение перемещения детали вдоль оси в процессе шлифования устраняет упор 33, который имеет твердосплавный наконечник 34. Упор может быть установлен на призме в зависимости от конструкции обрабатываемой детали. Крепление упора на боковой и торцевой поверхности осуществляется с помощью резьбы 35, нарезанной в призме, и болтом 36, которым производится закрепление упора к призме. По оси 37 плита установлена с возможностью поворота для шлифования конусных отверстий. Наибольший угол разворота плиты равен 30 градусов. Устройство снабжено станиной 39 с направляющими и приспособлением 40 для правки шлифовального круга.
Устройство работает следующим образом.
В стойки 5 и 6 устанавливают призмы 11 и 12, которые соответствуют диаметру детали 8. Под призмы 11 и 12 подкладывают регулировочные пластины 25, соответствующие данному диаметру детали. Стойки 5 и 6 закрепляют болтами 21 на направляющих плоскостях 2-4.
Производится проверка точности установки детали 8 магнитной стойкой с индикаторной головкой 30, устанавливаемой на разрезной бабке 26. Маховиком 23 производится перемещение стола 28 по направляющим станины станка. По верхней части детали определяют положение ее в вертикальной плоскости, а по боковой поверхности – положение детали в горизонтальной плоскости. На одну из призм устанавливают упор 33, ограничивающий перемещение детали вдоль оси. Стойку с электродвигателем устанавливают и закрепляют с таким расчетом, чтобы сильфон 9 работал на сжатие или растяжение. Деталь 8 соединяется с сильфоном втулкой 10, в которой резьба для болта (винта), с помощью которого производится соединение детали с электродвигателем. Деталь, установленная на призмы 11 и 12, фиксируется в рабочем положении болтом 20.
Правка шлифовального круга 24 осуществляется приспособлением 40 с алмазным карандашом. Шлифование отверстия детали производится возвратно-поступательным движением стола, увеличение размера прошлифованного диаметра детали осуществляется поперечной подачей маховиком 31.
Для устранения конусности прошлифованной поверхности детали служит механизм тонкой подачи угла разворота детали 41 с индикаторной головкой типа ИЧ-10. На рабочие поверхности призмы подается смазочно-охлаждающая жидкость (СОЖ), которая снижает коэффициент трения между деталью и поверхностью призм, предохраняет деталь от абразивной пыли, находящейся в воздушной среде, снижает температуру в точке соприкосновения детали с призмами.
Конструкция призм, направляющих поверхностей плиты, основания и вертикальной части стойки имеют прямоугольные формы, что позволяет в процессе окончательной обработки производить плоское шлифование, т.е. в процессе изготовления деталей отсутствуют силы закрепления, которые изменяют форму и положение ее в приспособлении. При этом параллельные и перпендикулярные плоскости могут быть прошлифованы с минимальной ошибкой, имеющей значение в один или два микрометра (0,001-0,002 мм). В процессе сборки и установки по базовым плоскостям основания и вертикальной части стойки производится подгонка деталей с таким расчетом, чтобы установка призм обеспечивала отклонение оси обрабатываемой детали в горизонтальной и вертикальной плоскостях от оси электрошпинделя до 0,01 мм.
Точность установки обрабатываемой детали в патроне и люнете проверяется вращением детали, т.е. каждая обрабатываемая деталь устанавливается (центруется) по базовой поверхности наружного диаметра относительно оси вращения патрона передней бабки. На точность установки каждой детали затрачивается вспомогательное время.
Шлифование на призмах позволяет сократить время на вспомогательные операции на установку каждой обрабатываемой детали, т.е. в процессе наладки станка на партию деталей производится проверка совпадения оси обрабатываемой детали в вертикальной и горизонтальной плоскостях относительно оси электрошпинделя один раз на всю партию.
Процесс шлифования центрового отверстия производится в следующей последовательности.
Плита с устройством разворачивается на угол 30°, для проведения данной операции производятся следующие действия. Механизм тонкой подачи угла разворота детали позволяет развернуть на угол 30° деталь, расположенную на призмах устройства, для этой цели на станке существует шкала угла разворота устройства по оси 37, ослабляется гайка механизма тонкой подачи, по пазу 42 производится перемещение болта механизма тонкой подачи угла разворота детали, после разворота производится затяжка гайки механизма тонкой подачи.
Механизмом 40 для правки шлифовального круга производится правка шлифовального круга прямого профиля, вращающегося со скоростью 36000 об/мин, при этом перемещение бабки 26 со шпинделем производится реверсированием стола от гидравлической системы станка или вручную рукояткой 23 для перемещения стола со шпинделем по направляющим станины станка.
На фиг.12 показано расположение детали и шлифовального круга в процессе шлифования центрового отверстия.
На фото 1 и фото 2 изображен реальный процесс шлифования центрового отверстия.
Бабка со шпинделем и вращающимся шлифовальным кругом подводится рукояткой 23 вручную до контакта с вращающимся валом на призмах устройства. Перемещение детали относительно шлифовального круга, процесс шлифования происходит за счет перемещения детали с развернутым под угол 30° устройством, механизмом поперечной подачи 31. Происходит врезное шлифование, в процессе шлифования стол со шлифовальным кругом перемещается вручную. После 5-10 секунд шлифования рукояткой 23 шлифовальный круг выводится из центрового отверстия. Процесс шлифования центрового отверстия выполнен.
На фиг.11 показано шлифование центрового отверстия конусным шлифовальным кругом. Шлифование конусным шлифовальным кругом требует дополнительного механизма для правки шлифовального круга под угол 30°, шлифование центрового отверстия таким способом дает кольцевые канавки, к этому добавляется разность скорости резания на большом и малом диаметре центрового отверстия.
Шлифование конусным шлифовальным кругом центрового отверстия проигрывает по качеству и производительности шлифованию центрового отверстия кругом прямого профиля.
Проверка биения центровых отверстий относительно шеек вала электрошпинделя производится на приборе «КАРЛ ЦЕЙС».
Фото 3. Общий вид прибора «КАРЛ ЦЕЙС».
На призмы прибора кладут вал электрошпинделя, в центровое отверстие помещается шарик, который упирается в предназначенный для этой цели упор, на противоположном конце вала производится проверка биения центрового отверстия. Такой способ проверки позволяет установить достоверное значение биения. Процесс вращения вала во время проверки производится вручную.
Проверка биения производится миникатором типа ИРПВ 1 класса точности. Цена деления 1 мкм. Диапазон измерения ±40 мкм.
Фото 4. Проверка биения центрового отверстия относительно шеек вала электрошпинделя.
Фото 5. Специальный упор, ограничивающий перемещение вала электрошпинделя вдоль оси, и шарик, помещенный в центровое отверстие.
Проведенная проверка показывает, что прошлифованные центровые отверстия расположены на одной прямой линии с отклонением от наружных поверхностей не более 0,002 мм.
Центровые отверстия вала, прошлифованные таким способом на устройстве для внутреннего шлифования от базы наружного диаметра детали, расположены параллельно оси детали и, таким образом, создают высококачественную технологическую установочную базу, которая является залогом высокой точности при круглом шлифовании на круглошлифовальном станке.
Возникает эффект свойства базы вращающегося тела, когда в процессе шлифования принимают участие только вершины центрового отверстия, которые расположены на одной оси. Благодаря стечению этих благоприятных обстоятельств, окончательное шлифование на созданной таким образом технологической установочной базе создает условия для повышения точности формы окружности прошлифованной поверхности вала. Некруглость формы прошлифованной поверхности не превышает 0,0015 мм. Биение шеек вала электрошпинделя не превышает 0,002 мм.
Проверка биения шеек вала электрошпинделя относительно центровых отверстий производится на приборе ПБ-500 (прибор для проверки биения в центрах).
Фото 6. Общий вид прибора ПБ-500.
Фото 7. Проверка биения передней шейки вала электрошпинделя,
Фото 8. Проверка биения задней шейки вала электрошпинделя.
Проверка биения шеек вала электрошпинделя в центрах на приборе ПБ-500 производится микатором 05 ИМПУ Цена деления 0,0005 мм. 1 класс точности. Диапазон измерения ±25 мкм. ГОСТ 14712-79.
Проверка формы центрового отверстия на приборе «Talerond» показывает огранку центрового отверстия. Высота гребешков не превышает 0,001 мм.
Фото 9. Круглограмма переднего центрового отверстия.
Фото 10. Круглограмма заднего центрового отверстия.
Окончательное шлифование вала электрошпинделя на таком центровом отверстии позволяет получить некруглость шейки вала до 0,0015 мм.
Способ шлифования центровых отверстий на устройстве для внутреннего шлифования добавляет дополнительную функцию, выполняемую на специализированном станке, и у станка появляется дополнительная организующая функция, которая повышает точность геометрической формы поверхности детали, прошлифованной на круглошлифовальном станке.
Шлифование центрового отверстия производится на предварительно прошлифованной поверхности вала. Центровые отверстия шлифуются дважды после первого предварительного шлифования и искусственного старения и после второго предварительного шлифования и искусственного старения, непосредственно перед окончательным круглым шлифованием.
Простой и производительный способ шлифования центрового отверстия, в котором главной становится сама деталь – вал электрошпинделя, позволяет прошлифовать (создать) высококачественную технологическую установочную базу, на устройстве для внутреннего шлифования. Созданная таким способом технологическая установочная база (ТУБ) создает условия, которые позволяют повышать точность работы круглошлифовального станка, что повышает конкурентоспособность произведенной продукции.
Формула изобретения
Способ шлифования центровых отверстий валов электрошпинделей на устройстве для внутреннего шлифования деталей, имеющем жесткие призматические опоры, расположенные на поворотной плите, упор для воздействия на торец детали, подпружиненный упор, размещенный сверху детали, и бабку с шлифовальным кругом, заключающийся в том, что вал электрошпинделя базируют в горизонтальном положении по наружной поверхности с расположением двух его шеек на жестких призматических опорах, сообщают вращение валу электрошпинделя вокруг собственной оси и ограничивают его осевое перемещение вдоль оси упором, воздействующим на торец, а его отклонение от оси вращения – подпружиненным упором с обеспечением точного расположения центровых отверстий относительно базовой наружной поверхности вала электрошпинделя.
РИСУНКИ
|