|
|
(21), (22) Заявка: 2006122631/02, 25.11.2004
(24) Дата начала отсчета срока действия патента:
25.11.2004
(30) Конвенционный приоритет:
27.11.2003 DE 10356111.0
(43) Дата публикации заявки: 10.01.2008
(46) Опубликовано: 27.04.2009
(56) Список документов, цитированных в отчете о поиске:
DE 19955768 A1, 15.03.2001. SU 1636099 A1, 23.03.1991. SU 1326420 A1, 30.07.1987. RU 2029665 C1, 27.02.1995. GB 1584661 A, 18.02.1981.
(85) Дата перевода заявки PCT на национальную фазу:
27.06.2006
(86) Заявка PCT:
DE 2004/002614 20041125
(87) Публикация PCT:
WO 2005/051594 20050609
Адрес для переписки:
101000, Москва, М.Златоустинский пер., 10, кв.15, “ЕВРОМАРКПАТ”
|
(72) Автор(ы):
КРУЗЕ Йохен (DE), РОЗЕНБЕРГЕР Клаус (DE)
(73) Патентообладатель(и):
ЦФ ФРИДРИХСХАФЕН АГ (DE)
|
(54) СПОСОБ ИЗГОТОВЛЕНИЯ ШАРОВЫХ ЦАПФ ХОЛОДНОЙ ОБРАБОТКОЙ ДАВЛЕНИЕМ
(57) Реферат:
Изобретение относится к способам изготовления холодной обработкой давлением шаровых цапф, имеющих шаровой участок, конической участок и резьбовой участок для установки в шаровые шарниры. Сначала из полуфабриката в виде прутка методом выдавливания изготавливают заготовку шаровой цапфы со сформованным коническим участком и цилиндрическими участками. Один из цилиндрических участков предназначен для выполнения на нем резьбы. Другой цилиндрический участок предназначен для придания ему шаровой формы и со стороны его свободного конца выполнен прилив и затем на нем прокаткой с помощью обжимных инструментов формируют шаровой участок. В результате чего обеспечивается возможность применения более дешевых марок стали, поскольку холодная обработка давлением позволяет получать шаровые цапфы с достаточно высокой усталостной прочностью. 10 з.п. ф-лы, 10 ил.
Настоящее изобретение относится к способу изготовления шаровых цапф, имеющих шаровой участок, конической участок и резьбовой участок для установки в шаровые шарниры, холодной обработкой давлением.
Шаровые цапфы, предназначенные для установки в шаровые шарниры, в принципе можно изготавливать и обработкой резанием, и обработкой давлением. При изготовлении шаровых цапф обработкой резанием образуется повышенное количество металлических отходов, которые необходимо утилизировать. Другой недостаток обработки резанием состоит в том, что отходы изначально являются частью полуфабриката и поэтому увеличивают его стоимость. Еще один недостаток обработки резанием заключается в том, что обычные на сегодняшний день станки имеют ограниченную производительность, не позволяющую изготавливать шаровые цапфы в количестве, существенно превышающем 10 изделий в минуту. Помимо этого при изготовлении шаровых цапф обработкой резанием, по меньшей мере, их резьбовой участок приходится подвергать соответствующей обработке, состоящей в выполнении на нем необходимой резьбы путем накатывания соответственно прокатки. Производительность при подобных операциях выполнения резьбы путем накатывания, соответственно прокатки, также не превышает указанного выше значения, составляющего примерно 10 изделий в минуту.
Известной из уровня техники альтернативой обработке резанием является изготовление шаровых цапф холодной или горячей объемной штамповкой. Объемная штамповка может осуществляться с приложением усилия в направлении продольной оси изготавливаемой шаровой цапфы, на одном конце заготовки которой при этом обычно образуется остаточный облой, либо в горизонтальном направлении в состоящем из двух половин прессовом штампе с образованием облоя по всему периметру штампованной заготовки. Образовавшийся при объемной штамповке облой удаляют согласно уровню техники путем последующей обработки резанием. Тем самым и изготовление шаровой цапфы обработкой давлением до придания ей окончательного вида связано с дорогостоящими, соответственно занимающими много времени технологическими переходами.
Помимо этого из уровня техники известны сборные шаровые цапфы, изготовление которых, однако, в настоящем описании более подробно не рассматривается, поскольку предлагаемый в изобретении способ относится к изготовлению цельных шаровых цапф.
В основу настоящего изобретения была положена задача разработать способ изготовления шаровых цапф, имеющих шаровой участок, конической участок и резьбовой участок, который позволял бы существенно увеличить количество изготавливаемых в единицу времени отдельных шаровых цапф и тем самым позволил бы значительно уменьшить неизбежные производственные расходы.
Указанная задача решается согласно изобретению с помощью способа, заявленного в п.1 формулы изобретения. Предлагаемый в изобретении способ заключается в основном в том, что сначала из полуфабриката, представляющего собой пруток, методом выдавливания изготавливают заготовку шаровой цапфы со сформованным коническим участком и цилиндрическими участками, один из которых предназначен для выполнения на нем резьбы, а другой участок, со стороны свободного конца которого при выдавливании расположена пресс-шайба (“Pressansatz”), предназначен для придания ему шаровой формы, и затем за, по меньшей мере, еще один технологический переход методом запускаемой импульсом синхронизированной прокатки путем перекатывания фасонных заготовок между обжимными инструментами формируют шаровой участок. Предлагаемая в изобретении новая комбинация указанных выше технологических стадий позволяет избежать всякой обработки резанием. Производительность при выдавливании составляет примерно 100 изделий в минуту, а производительность при последующей прокатке составляет примерно 50 изделий в минуту.
В качестве метода прокатки для изготовления шаровых цапф предлагаемым в изобретении способом можно использовать метод прокатки между плоскими обжимными инструментами либо метод прокатки между круглыми обжимными инструментами.
Комбинация указанных выше технологических методов (выдавливания и прокатки) позволяет тем самым изготавливать шаровые цапфы в значительно большем количестве штук в единицу времени, чем известные в настоящее время из уровня техники способы. Повышение производительности обеспечивается помимо прочего благодаря возможности одновременной обработки за один технологической переход при прокатке между плоскими обжимными инструментами или при прокатке между круглыми обжимными инструментами нескольких функциональных участков, таких, например, как шаровой участок, конический участок и резьбовой участок. Помимо этого при такой обработке, как очевидно, не образуются в отличие от обработки резанием никакие требующие утилизации отходы.
Поскольку инвестиционные расходы на прокатный станок соизмеримы со стоимостью токарного станка, предлагаемое в изобретении решение обеспечивает и экономические преимущества с точки зрения начальных капитальных вложений в изготовление шаровых цапф, что обусловлено большим объемом выпускаемых изделий.
При изготовлении шаровых цапф предлагаемым в изобретении способом в процессе прокатки между плоскими обжимными инструментами или между круглыми обжимными инструментами сначала предпочтительно формировать шейку между коническим участком и цилиндрическим участком, предназначенным для придания ему шаровой формы. По результатам оценочных измерений прочности изготовленных предлагаемым в изобретении новым способом шаровых цапф было установлено, что формообразование шейки путем прокатки позволяет повысить усталостную прочность шаровых цапф на величину, достигающую 50%. Благодаря повышению усталостной прочности, достигаемому за счет формообразования шейки путем прокатки, появляется возможность использовать для изготовления шаровых цапф легированных микролегирующими элементами стали, расходы на приобретение которых гораздо ниже, чем на приобретение улучшаемых сталей, требующих термической обработки. При изготовлении шаровых цапф из углеродисто-марганцовистых сталей с микролегирующими элементами холодной обработки давлением вполне достаточно для придания шаровой цапфе необходимой прочности, прежде всего, на участке ее шейки. Повышение показателей прочности позволяет изготавливать соответствующие шаровые цапфы меньших размеров, способные, тем не менее, воспринимать такие же внешние нагрузки.
Помимо этого при изготовлении шаровых цапф предлагаемым в изобретении способом согласно еще одному варианту его осуществления перед процессом прокатки со стороны предназначенного для формирования шарового участка свободного конца заготовки шаровой цапфы целесообразно прессованием выполнять открытое с торца углубление в виде глухого отверстия.
Такое углубление в виде глухого отверстия можно выполнять с помощью используемого при выдавливании верхнего пуансона. Подобное углубление облегчает пластическое деформирование предназначенного для формирования шарового участка цилиндрического участка шаровой цапфы вплоть до придания ему окончательной шаровой формы. Помимо этого углубление, как очевидно, обеспечивает и экономию материала. Если углубление в виде глухого отверстия, так называемого полюсного отверстия, все еще, по меньшей мере, частично сохраняется после изготовления шарового участка шаровой цапфы, то его можно использовать, например, для размещения в нем датчиков или в качестве емкости для консистентной смазки. Очевидно, что такое углубление в связи с вышесказанным можно также закрыть, например, пластиковой крышкой.
Ниже изобретение более подробно рассмотрено со ссылкой на прилагаемые чертежи, на которых проиллюстрирована последовательность операций, выполняемых при изготовлении шаровой цапфы прокаткой между плоскими обжимными инструментами и прокаткой между круглыми обжимными инструментами, и на которых, в частности, показано:
на фиг.1 – вид сбоку заготовки шаровой цапфы перед формообразованием шарового участка запускаемым импульсом, синхронизированным процессом прокатки,
на фиг.2 – схематичный вид в плане устройства для прокатки между плоскими обжимными инструментами с расположенной между ними шаровой цапфой в процессе прокатки,
на фиг.3А – фрагмент изображенного в сечении плоскостью А-А по фиг.2 устройства для прокатки между плоскими обжимными инструментами в начале процесса прокатки,
на фиг.3Б – фрагмент изображенного в сечении плоскостью В-В по фиг.2 устройства для прокатки между плоскими обжимными инструментами в процессе прокатки,
на фиг.3В – фрагмент изображенного в сечении плоскостью С-С по фиг.2 устройства для прокатки между плоскими обжимными инструментами в момент завершения процесса формообразования шаровой цапфы,
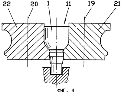
на фиг.4 – схематичный вид изображенного в разрезе устройства для прокатки между круглыми обжимными инструментами с расположенной между ними заготовкой шаровой цапфы,
на фиг.5 – вид в плане изображенного на фиг.4 устройства для прокатки между круглыми обжимными инструментами,
на фиг.6 – вид в перспективе выполненного по другому варианту устройства для прокатки между круглыми обжимными инструментами с расположенной между ними заготовкой шаровой цапфы,
на фиг.7 – схематичный вид устройства для прокатки между круглыми обжимными инструментами с расположенной между ними заготовкой шаровой цапфы, и
на фиг.8 – вид в плане изображенного на фиг.7 устройства для прокатки между круглыми обжимными инструментами.
На фиг.1 показана заготовка шаровой цапфы, изготавливаемая методом выдавливания и состоящая в основном из нескольких последовательно расположенных в ее продольном направлении отдельных участков различной пространственной формы. Этим различным участкам шаровой цапфы после процесса изготовления ее заготовки выдавливанием необходимо путем холодной обработки давлением предлагаемым в изобретении способом придать окончательную форму с получением готовой шаровой цапфы, показанной на фиг.3В.
Обозначенная общей позицией 1 заготовка шаровой цапфы состоит согласно фиг.1 из расположенного на свободном конце заготовки 1 цилиндрического участка 2, на котором после изготовления шаровой цапфы находится резьба, которой шаровая цапфа крепится к соответствующей детали машины или автомобильного кузова. К цилиндрическому участку 2 непосредственно примыкает конический участок 3. Этот конический участок 3 по завершении процесса выдавливания заготовки шаровой цапфы в принципе уже имеет свои окончательные форму и размеры и может лишь подвергаться дополнительной обработке, заключающейся в выглаживании его конической поверхности. К коническому участку в свою очередь примыкает еще один цилиндрический участок 4, на котором у готовой шаровой цапфы располагается ее так называемая шейка и на котором согласно фиг.3В в качестве перехода к примыкающему к нему участку формируют канавку. На своем втором свободном конце заготовка 1 шаровой цапфы оканчивается еще одним цилиндрическим участком 5, который в месте перехода к цилиндрическому участку 4 может иметь скругленную часть 6. Эту часть 6, образующую переход к цилиндрическому участку 4, можно также выполнять не скругленной, а конической формы. Последнему из указанных – цилиндрическому участку 4 – необходимо придать путем обработки давлением предлагаемым в изобретении способом шаровидную форму с образованием на верхнем свободном конце шаровой цапфы показанной на фиг.3В шаровой головки 18. С целью упростить процесс обработки давлением на цилиндрическом участке 5 заготовки шаровой цапфы со стороны ее верхнего свободного конца можно выполнить углубление 7 в виде глухого отверстия в основном также цилиндрической формы. Это глухое отверстие можно выполнять в ходе предшествующего выдавливания заготовки, используя пуансон соответствующего пресса для штамповки выдавливанием. При этом разделительная линия между обеими половинами штампа должна располагаться в зоне разделительной линии 8, чтобы плоскость разъема штампа и возможно образующийся в ее зоне облой располагались вне цилиндрического участка 5, которому требуется придать шаровую форму.
Для придания заготовке 1 шаровой цапфы окончательной формы методом запускаемой импульсом синхронизированной прокатки, при которой фасонные заготовки обрабатывают путем их обкатки, можно использовать один из трех возможных методов прокатки. Эти три различных метода прокатки более подробно рассмотрены ниже со ссылкой на прилагаемые чертежи.
Одним из методов прокатки, которым можно изготавливать шаровую цапфу, является так называемая поперечная прокатка между плоскими обжимными инструментами. Применяемое для прокатки этим методом соответствующее устройство состоит из двух плоских обжимных инструментов 9 и 10, один из которых, обозначенный на фиг.2 позицией 9, выполнен неподвижным, а другой, расположенный напротив него плоский обжимной инструмент 10 совершает поступательное движение в направлении стрелки Р. Между плоскими обжимными инструментами 9 и 10 находится зона 11 деформации с входным участком 12 и выходным участком 13. В начале процесса прокатки между плоскими обжимными инструментами, когда подвижный плоский обжимной инструмент 10 находится в обозначенном штрихпунктирной линией положении, заготовку 1 шаровой цапфы вводят вблизи секущей плоскости А-А в зону 11 деформации. При последующем приведении в движение подвижного плоского обжимного инструмента 10 заготовка 1 шаровой цапфы перекатывается им и таким путем перемещается через зону 11 деформации. В процессе подобного перемещения заготовки шаровой цапфы через зону 11 деформации происходит формообразование ее шаровой головки и примыкающей к ней шейки. Для подобного формообразования плоские обжимные инструменты 9 и 10 имеют в своих входных частях, с которых согласно фиг.3А начинается собственно процесс прокатки, контур, который в основном соответствует контуру заготовки 1 шаровой цапфы. Для иллюстрации сказанного заготовка 1 шаровой цапфы показана на фиг.3А вместе с плоским обжимным инструментом 9. Профиль рабочей поверхности показанного на фиг.3А, 3Б и 3В другого плоского обжимного инструмента 10 в принципе соответствует профилю рабочей поверхности показанного на этих же чертежах плоского обжимного инструмента 9. Профиль обращенных друг к другу рабочих поверхностей 14 и 15 плоских обжимных инструментов 9 и 10 непрерывно изменяется вплоть до выходного участка 13, на котором их профиль полностью соответствует наружному контуру готовой шаровой цапфы, показанной на фиг.3В. С учетом поступательного движения подвижного плоского обжимного инструмента 10 начальный профиль его рабочей поверхности, соответствующий начальному профилю рабочей поверхности показанного на фиг.3А плоского обжимного инструмента 9, при нахождении плоского обжимного инструмента 10 в показанном на фиг.2 положении располагается, как очевидно, внизу вблизи секущей плоскости С-С, а окончательный профиль его рабочей поверхности, соответствующий показанному на фиг.3В окончательному профилю рабочей поверхности плоского обжимного инструмента 9, располагается вблизи секущей плоскости А-А. В соответствии с этим плоские обжимные инструменты 9 и 10 выполнены симметричными в зоне, показанной на фиг.2, секущей плоскости В-В. Из сказанного выше касательно изменения профилей рабочих поверхностей 14 и 15 плоских обжимных инструментов 9 и 10 со всей очевидностью следует, что процесс формообразования шаровой головки и шейки происходит последовательно постадийно. После задачи заготовки 1 шаровой цапфы в зону 11 деформации сначала формируется шейка 16, и одновременно с этим происходит профилирование верхней части 17 цилиндрического участка 5, протекание которого (профилирования) облегчает описанное выше со ссылкой на фиг.1 углубление 7, предусмотренное в заготовке 1 со стороны ее свободного конца. Формирование шейки 16 путем прокатки приводит к значительному повышению прочности материала в этой части шаровой цапфы, поскольку в этом месте в отличие от обработки резанием не происходит никакого съема материала, а более того, происходит пластическая деформация материала заготовки шаровой цапфы.
В дальнейшем в ходе процесса прокатки на участке между секущими плоскостями В-В и С-С происходит завершающее формообразование шаровой головки 18 с приданием ей окончательной формы, и по завершении процесса прокатки подвижный плоский обжимной инструмент 10 достигает обозначенного на фиг.2 пунктирной линией положения III. Одновременно на протяжении всего процесса прокатки поверхность конического участка 3 заготовки 1 шаровой цапфы можно подвергать выглаживанию за счет придания контуру рабочих поверхностей 14 и 15 плоских обжимных инструментов 9 и 10 соответствующей формы. Очевидно также, что в процессе прокатки можно выполнять и необходимую резьбу на цилиндрическом участке 2, расположенном на нижнем свободном конце заготовки 1 шаровой цапфы. В соответствии с этим в некоторых случаях можно при соответствующем исполнении плоских обжимных инструментов получать за один цикл поступательного движения подвижного плоского обжимного инструмента 10 окончательно сформированную шаровую цапфу без необходимости при этом съема материала и его утилизации, как это имеет место при обработке резанием. Помимо этого процесс прокатки приводит в целом к повышению прочности поверхности изготавливаемой шаровой цапфы и тем самым позволяет избежать необходимости подвергать шаровую цапфу последующему упрочнению. Вместо прокатки между плоскими обжимными инструментами для изготовления готовой шаровой цапфы путем рассмотренного выше процесса прокатки можно также использовать устройства, обжимные инструменты которых имеют изогнутую форму. Ниже со ссылкой на фиг.4 и 5 сначала рассмотрен первый вариант изготовления шаровой цапфы прокаткой между круглыми обжимными инструментами. При этом показанное на фиг.4 и 5 устройство для прокатки между круглыми обжимными инструментами имеет в качестве таковых два прокатных цилиндра 21 и 22, которые расположены рядом друг с другом на параллельных осях 19 и 20 вращения. Между обоими прокатными цилиндрами аналогично прокатке между плоскими обжимными инструментами имеется зона 11 деформации, в которую вводится заготовка 1 шаровой цапфы. Боковые рабочие поверхности обоих прокатных цилиндров 21 и 22 имеют профиль, который является негативным по отношению к наружному контуру заготовки 1 шаровой цапфы в начальной точке прокатки и к наружному контуру готовой шаровой цапфы в конечной точке прокатки, которая может быть смещена по окружности примерно на 270° относительно начальной точки.
Прокатка выполняется путем приведения прокатных цилиндров 21 и 22 во вращение во взаимно противоположных направлениях, при котором сама шаровая цапфа постоянно находится в зоне 11 деформации.
На фиг.4 и 5 прокатные цилиндры показаны в положении непосредственно после задачи заготовки 1 в зону 11 деформации. Как показано в разрезе на фиг.4, боковым поверхностям прокатных цилиндров 21 и 22 в точках P1 и Р2, расположенных на их окружности и показанных на фиг.5 после поворота прокатных цилиндров на 180°, придан профиль, который в основном соответствует профилю показанного на фиг.3Б плоского обжимного инструмента 9. В точках Р3 и Р4, расположенных на окружности прокатных цилиндров 21 и 22, их боковые поверхности имеют профиль, который соответствует профилю показанного на фиг.3В плоского обжимного инструмента 9. В соответствии с этим процесс прокатки заготовки шаровой цапфы вплоть до придания ей окончательной формы происходит при повороте прокатных цилиндров 21 и 22 на 270°. Очевидно, что и при изготовлении шаровой цапфы методом прокатки между круглыми обжимными инструментами одновременно можно также подвергать выглаживанию поверхность конического участка 3 заготовки 1 и выполнять необходимую резьбу на ее цилиндрическом участке 2.
В другом варианте изготовления шаровой цапфы прокаткой между круглыми обжимными инструментами используют устройства, у которых один их прокатный (обжимной) инструмент выполнен в виде прокатного цилиндра 23, который аналогичен прокатному цилиндру устройства, используемого в описанном выше первом варианте, а второй прокатный (обжимной) инструмент выполнен в виде полого прокатного цилиндра 24, концентрично охватывающего первый прокатный цилиндр. В этом варианте аналогично описанному выше варианту между прокатным цилиндром 23 и охватывающим его полым прокатным цилиндром 24 имеется показанная на фиг.6 зона 11 деформации, в которую вводится подвергаемая пластическому формообразованию заготовка 1 шаровой цапфы. Внутренней боковой рабочей поверхности полого прокатного цилиндра 24, а также наружной боковой рабочей поверхности прокатного цилиндра 23 придан профиль, который соответствует внешнему контуру подвергаемой прокатке заготовки 1 и соответственно изготавливаемой из нее шаровой цапфы. Собственно процесс прокатки осуществляется путем приведения прокатного цилиндра 23 и полого прокатного цилиндра 24 во вращение относительно друг друга во взаимно противоположных направлениях, при этом для формообразования решающее значение имеет относительное перемещение прокатного цилиндра 23 и полого прокатного цилиндра 24. В соответствии с этим в некоторых случаях во вращение можно также приводить только один из цилиндров 23 или 24 при неподвижном другом цилиндре. При изготовлении шаровой цапфы прокаткой в соответствии с этим вариантом в некоторых случаях также можно за один технологический переход вместе с формообразованием ее шаровой головки и шейки подвергать выглаживанию поверхность ее конического участка и формировать резьбу на соответствующем цилиндрическом участке с получением в результате полностью готовой шаровой цапфы. Тем самым и этот вариант изготовления шаровой цапфы прокаткой между круглыми обжимными инструментами обладает соответствующими преимуществами, которые по сравнению с известными из уровня техники методами состоят в возможности увеличения объема производства шаровых цапф и в возможности повышения их прочности.
Шаровую цапфу можно также изготавливать обработкой давлением на известном как таковом устройстве для прокатки между круглыми обжимными инструментами, например, устройстве, показанном на фиг.7 и 8. В этом случае обработка заготовки 1 шаровой цапфы заключается в ее пластическом деформировании путем ее обжатия между вращающимися вокруг своих осей симметричными прокатными цилиндрами 25 и 26. В процессе такой обработки давлением заготовка 1 шаровой цапфы расположена в зоне 11 деформации между прокатными цилиндрами 25, 26. Придание заготовке 1 шаровой цапфы ее шаровой формы обеспечивается за счет выполнения боковых рабочих поверхностей прокатных цилиндров 25, 26 с соответствующим профилем. Для этого боковым рабочим поверхностям 27 и 28 прокатных цилиндров 25 и 26 придан профиль, который является негативным по отношению к наружному контуру заготовки 1 шаровой цапфы, соответственно к наружному контуру готовой шаровой цапфы и который позволяет также формировать цилиндрический участок 5. Перед началом собственно процесса прокатки вращающиеся прокатные цилиндры 25, 26 сначала перемещают к заготовке 1 шаровой цапфы. Для подобного перемещения прокатных цилиндров к заготовке шаровой цапфы можно использовать, например, гидроцилиндр.
Формула изобретения
1. Способ изготовления шаровой цапфы, имеющей шаровой участок, конический участок и резьбовой участок для установки в шаровые шарниры, холодной обработкой давлением, заключающийся в том, что сначала из полуфабриката, представляющего собой пруток, методом выдавливания изготавливают заготовку (1) шаровой цапфы со сформованным коническим участком (3) и цилиндрическими участками, один (2) из которых предназначен для выполнения на нем резьбы, а другой участок (5) предназначен для придания ему шаровой формы и на его свободном конце выдавлен прилив, и затем за по меньшей мере еще один технологический переход методом прокатки путем перекатывания фасонной заготовки между обжимными инструментами формируют шаровой участок.
2. Способ по п.1, отличающийся тем, что при прокатке подача заготовки к обжимным инструментам синхронизирована с движением обжимных инструментов.
3. Способ по п.2, отличающийся тем, что одновременно с формированием шарового участка выполняют резьбовой участок с приданием ему окончательной формы.
4. Способ по п.1, отличающийся тем, что одновременно с формированием шарового участка подвергают выглаживанию поверхность сформированного в ходе предшествующего выдавливания конического участка (4) с приданием ему окончательной формы.
5. Способ по п.1, отличающийся тем, что перед процессом прокатки со стороны предназначенного для формирования шарового участка свободного конца заготовки (1) шаровой цапфы прессованием выполняют открытое с торца углубление (7) в виде глухого отверстия.
6. Способ по п.5, отличающийся тем, что углубление (7) выполняют с помощью используемого при выдавливании верхнего пуансона.
7. Способ по п.1, отличающийся тем, что в ходе прокатки сначала выполняют цилиндрическую шейку (4) между коническим участком (3) и цилиндрическим участком (5), предназначенным для придания шаровой формы.
8. Способ по одному из пп.1-7, отличающийся тем, что в качестве метода прокатки используют метод прокатки между плоскими обжимными инструментами.
9. Способ по одному из пп.1-7, отличающийся тем, что в качестве метода прокатки используют метод прокатки между круглыми обжимными инструментами.
10. Способ по п.9, отличающийся тем, что круглые обжимные инструменты выполнены в виде расположенных рядом друг с другом на параллельных осях (19, 20) вращения прокатных цилиндров (21, 22), рабочая поверхность каждого из которых имеет профиль, представляющий собой половину негативной формы, соответствующей наружному контуру изготавливаемой прокаткой шаровой цапфы, которая при прокатке располагается в зоне (11) деформации между прокатными цилиндрами (21, 22, соответственно 25, 26).
11. Способ по п.9, отличающийся тем, что один из круглых обжимных инструментов выполнен в виде прокатного цилиндра (23), а другой выполнен в виде концентрично охватывающего его полого прокатного цилиндра (24), при этом наружная рабочая поверхность прокатного цилиндра (23) и внутренняя рабочая поверхность полого прокатного цилиндра (24) имеют профиль, изменяющийся по наружному, соответственно внутреннему периметру половины негативной формы, соответствующей наружному контуру изготавливаемой прокаткой шаровой цапфы, которая при прокатке располагается в зоне (11) деформации между наружной рабочей поверхностью прокатного цилиндра (23) и внутренней рабочей поверхностью полого прокатного цилиндра (24).
РИСУНКИ
|
|