|
|
(21), (22) Заявка: 2005114108/02, 11.05.2005
(24) Дата начала отсчета срока действия патента:
11.05.2005
(43) Дата публикации заявки: 20.11.2006
(46) Опубликовано: 27.04.2009
(56) Список документов, цитированных в отчете о поиске:
SU 996159 А, 17.02.1983. SU 639581 А, 30.12.1978. SU 1572761 A1, 23.06.1990. RU 2201322 C2, 27.03.2003. US 6186391 A, 13.02.2001.
Адрес для переписки:
445633, Самарская обл., г. Тольятти, ул. Заставная, 2, корп.3/1, ОАО “АВТОВАЗ”, ДТР, ПЛО, А.П. Голикову
|
(72) Автор(ы):
Доблер Станислав Владимирович (RU)
(73) Патентообладатель(и):
Открытое акционерное общество “АВТОВАЗ” (RU)
|
(54) СПОСОБ УСТАНОВКИ ДЕТАЛЕЙ ПО ПЛОСКОСТИ И ОТВЕРСТИЯМ (ВАРИАНТЫ)
(57) Реферат:
Способ включает размещение деталей в приспособлении и досылание их в направлении установочной плоскости путем упругой деформации цанговых лепестков. При этом зажим деталей осуществляют в процессе рабочего перемещения цанги с одновременным самоцентрированием по отверстиям. Передние части цанг выполняют с опорным буртиком и переменным диаметром. При этом диаметр цанги в торце выполняют меньше диаметра отверстий деталей, а диаметр по боковой поверхности – с возрастанием до величины, большей диаметра отверстий деталей, с последующим уменьшением до диаметра отверстий деталей или сохранением прежним. Рельеф лепестков цанг выполняют с шейкой диаметром не менее диаметра отверстий деталей и высотой, равной сумме толщин собираемых деталей. Цанги перемещают через отверстия деталей с обеспечением сжатия их лепестков путем воздействия на их передние части до состояния, в котором лепестки цанг располагают с возможностью давления на кромки отверстий деталей для их удержания и устранения смещения относительно друг друга. Вариант способа предусматривает установку деталей перед сваркой и включает размещение деталей в приспособлении и досылание деталей в направлении установочной плоскости путем упругой деформации цанговых лепестков. При этом зажим деталей и самоцентрирование по отверстиям осуществляют одновременно в процессе рабочего перемещения цанги. При этом используют защитную пластину, которую располагают в цанге между ее осью и местом сварки. Технический результат: упрощение фиксации и повышение надежности установки деталей, улучшение эксплуатационных возможностей, повышение производительности труда и безопасности работы. 2 н.п. ф-лы, 5 ил.
Изобретение относится к машиностроению и может быть использовано при сборочно-сварочных работах с кузовными деталями автомобиля, а именно для позицирования и фиксации деталей в собранном состоянии.
Известен способ, при котором цангу устанавливают в корпусе устройства, она контактирует с упором, который закрепляют на корпусе, при движении трубы зажима цанга поворачивается, а так как сопрягаемые поверхности цанги и корпуса выполняют с равновесным профилем, то происходит одновременное самоцентрирование цанги и зажим детали (описание изобретения к а.с. СССР 1572761, МКИ В23В 31/20, «Способ закрепления», пр. от 26.04.88 г.).
Недостатком этого способа является то, что при этом способе невозможно фиксировать детали без трубы зажима, так как не происходит фиксации деталей по отверстиям и плоскости, а только по выступающим частям деталей.
Известен также способ установки деталей по плоскости и отверстиям с пересекающими ее осями, реализованный при помощи устройства для крепления деталей. В корпусе устройства размещены цанговые пальцы, выполненные в виде разрезной гильзы с разжимным корпусом, связанным с приводом. Опорный торец разрезной гильзы выполнен в виде сферического хвостовика, подпружиненного в направлении корпуса, что позволяет обеспечить самоустановку разрезной гильзы и повышает точность установки детали. Вначале деталь размещают таким образом, чтобы цанговые пальцы оказались внутри ее установочных отверстий с начальным гарантированным зазором. Затем с помощью гидравлического привода осуществляют разжим цанговых пальцев, закрепляя тем самым обрабатываемую деталь (SU 639681, МПК B23Q 3/00, 1978 г.).
Недостатком данного способа и реализующего его устройства является отсутствие досылания закрепляемой детали в направлении установочной базы. Вследствие этого возможно нарушение непрерывности контакта по установочной базе и перекос детали, что отрицательно сказывается на точности установки. Для устранения этого недостатка на практике применяют дополнительные зажимные элементы – прихваты. Однако при этом ограничивается зона доступа рабочего инструмента к поверхности детали.
Известен способ установки детали по плоскости и отверстиям, который включает в себя размещение детали в приспособлении с пересекающими ее осями и обеспечением начальных гарантированных зазоров между внутренними разжимными установочными элементами в виде цанговых досылающих пальцев и базовыми поверхностями отверстий детали, базирование детали с устранением радиальных зазоров путем разжима цанговых досылающих пальцев и закрепление детали посредством силового замыкания между ними и базовыми поверхностями отверстий детали, досылание детали в направлении установочной плоскости путем упругой осевой деформации сжатия цанговых досылающих пальцев (патент РФ 2201332, МПК B23Q 3/06, приоритет от 28.03.2000 г.).
Недостатком известного способа является то, что при использовании разжимного конического штока для разжима лепестков цанги применен сложный процесс фиксации деталей, с помощью данного приспособления фиксация происходит только по торцевой поверхности, а если детали нужно фиксировать малой толщины, то его применять нельзя.
Таким образом, задачами данного изобретения является упрощение способа фиксации, повышение надежности способа установки деталей по плоскости и отверстиям с пересекающими ее осями, улучшение эксплуатационных возможностей, повышение производительности труда и повышение безопасности работы в специфических условиях.
Указанные технические задачи решаются за счет того, что предлагается новый способ установки деталей по плоскости и отверстиям, включающий размещение деталей в приспособлении с ориентированием по плоскости и отверстиям с пересекающими ее осями, досылание деталей в направлении установочной плоскости путем упругой деформации цанговых лепестков, при этом зажим осуществляют в процессе рабочего перемещения цанги с одновременным самоцентрированием по отверстиям, согласно изобретению передние части цанг выполняют с опорным буртиком и переменным диаметром, при этом диаметр цанги в торце выполняют меньше диаметра отверстий деталей, а диаметр по боковой поверхности – с возрастанием, до величины, большей диаметра отверстий деталей, с последующим уменьшением до диаметра отверстий деталей или сохранением прежним, при этом рельеф лепестков цанг выполняют с шейкой диаметром не менее диаметра отверстий деталей и высотой, равной сумме толщин собираемых деталей, цанги перемещают через отверстия деталей с обеспечением сжатия их лепестков путем воздействия на их передние части до состояния, в котором лепестки цанг располагают с возможностью давления на кромки отверстий деталей для их удержания и устранения смещения относительно друг друга.
Как вариант при использовании способа в сварочных процессах, при способе установки детали по плоскости и отверстиям, используют защитную пластину, которую располагают в конструкции цанги между осью цангового фиксатора и местом сварки.
Такой способ установки детали по плоскости и отверстиям позволяет повысить надежность установки деталей различной толщины без разжимного конического штока, упростить конструкцию приспособления, повысить качество сборки устанавливаемых деталей, улучшить удобство эксплуатации, обеспечить сборку деталей при доступе к заготовкам деталей только с одной стороны, а применение в конструкции цанги защитной пластины или обечейки предотвратит попадание брызг при работе от сварки на внутренние поверхности цанг, т.е. при этом позволяет обеспечить повышение безопасности.
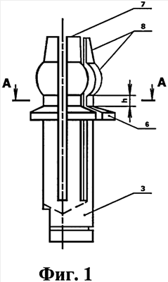
Сущность изобретения поясняется следующими чертежами. На фиг.1 изображен вид сбоку цанги для осуществления способа; на фиг.2 – вид с торца цанги, фиг.3 – пример конкретного выполнения способа на приспособлении; на фиг.4 показана защитная пластина; на фиг.5 показан рельеф лепестков цанг с шейкой.
Способ осуществляется с использованием прижимного приспособления, содержащего деталь 1, лепестки цанг 2, цанги 3, шейку 4, передние части 5 лепестков 2 цанг 3, опорный буртик 6 цанг 3, торец цанги 7, боковую поверхность цанги 8, защитную пластину 9.
Способ реализуется следующим образом.
Детали 1а и 1б размещают по плоскости и отверстиям, в которых располагают лепестки 2 цанг 3, движение деталей 1а и 1б относительно друг друга устраняют давлением лепестков 2 цанг 3 на кромки отверстий, при этом зазор между данными деталями и приспособлением в районе отверстий отсутствует, рельефы лепестков 2 цанг 3 удерживают детали 1а и 1б в приспособлении в собранном состоянии с помощью рельефа лепестков 2 цанг 3, в процессе сборки деталей 1а и 1б, при прохождении более широких передних частей 5 цанг 3 через меньшие отверстия деталей 1а и 1б лепестки 2 цанг 3 сжимаются до прохождения этими деталями максимального утолщения цанги 3 при диаметре D3, цанга 3 расширяется до момента упора детали 1б в упорные буртики 6 цанг 3, в этом месте контакта деталей 1а и 1б и цанг 3, на цангах 3 выполнена шейка 4 диаметром D1 не менее диаметра отверстий и высотой h, равной сумме толщин свариваемых деталей, контактной поверхностью шейки 4 цанги 3 препятствуют движению собранных деталей друг относительно друга в базовой плоскости, по нормали к базовой плоскости в собранном состоянии детали 1а и 1б удерживают упорные буртики 6 цанг 3 с одной стороны и широкие передние части боковой поверхности 8 цанг 3 с другой стороны, в результате чего руки рабочего свободны от удерживания детали 1 и удалены от опасной для него зоны, после сварки фиксаторы выводятся рабочим из отверстий, при прохождении широкой части через отверстия лепестки 2 сжаты и расправляются до момента полного отделения.
Использование в качестве полных фиксаторов цанг 3 и наличие широкой части цанг 3 позволяет без дополнительных действий до и во время обработки сохранять деталь 1 в собранном состоянии.
В случае отсутствия лепестков 2 в зоне находящейся между осью цангового фиксатора 3 и местом сварки в конструкцию цанга 3 вводится защитная пластина 9 для предотвращения попадания брызг от сварки на внутренние поверхности цанги.
Пример конкретного выполнения фиг.3.
Деталь, например «Держатель пластины замка двери задней автомобиля» 1а, вручную накладывается на «Соединитель наружной арки и боковины» правой/левой 1б или на «Усилитель центральной стойки боковины» правой/левой 1б так, чтобы отверстия на держателе 1а и на соединителе 1б или усилителе 1б были примерно соосны. Придерживая одной рукой детали 1а и 1б в собранном состоянии, другой рукой, с удобной стороны, приспособление вводится цангами 3 в отверстия, т.к. диаметр D2 цанги 3 в торце 7 меньше диаметра отверстия деталей 1а и 1б, то приспособление поместится между краями деталей 1а и 1б в отверстиях. Если величина перекрытия (несоосности) отверстий будет больше разности в диаметрах деталей 1а и 1б и торца 7 цанг 3, то рабочий вручную уменьшает перекрытие до момента прохода цанг 3в отверстия деталей 1а и 1б. При дальнейшем перемещении цанг 3 приспособления в отверстия деталей 1а и 1б происходит увеличение сечения цанги 3, находящихся в плоскости отверстий, и при соприкосновении деталей 1а 1б с цангой 3, последняя оказывает давление на кромки отверстий деталей 1а и 1б, что приводит детали в движение относительно друг друга до момента появления контакта лепестка 2 цанги 3 и точек кромок двух деталей одновременно. Когда это произойдет хотя бы в трех точках окружности отверстия, можно считать, что перекрытие отверстий устранено. Дальнейшее движение цанги 3 приводит к сжатию лепестков 2 цанги 3 деталями 1а и 1б до момента прохождения через плоскость деталей максимального диаметра D3 боковой поверхности 8 цанги 3. В случае, когда цанга 3 выполнена с сохранением дальнейшего диаметра D3 цанги 3, существенного сжатия лепестков 2 цанг 3 не происходит.
При дальнейшем уменьшении диаметра D3 боковой поверхности 8 цанги 3, лепестки 2 разжимаются, что предотвращает самопроизвольное соскальзывание деталей 1а и 1б с цанг 3, движение останавливает упорный буртик 6, выполненный хотя бы на одном лепестке 2 цанги 3. Проводится операция над собранными деталями 1а и 1б. Далее осущевляют съем цанг 3 движением в обратном направлении, в зависимости от исполнения боковых поверхностей 8 цанг 3 происходит или незначительный разжим лепестков 2 до последней точки максимального диаметра D3 боковой поверхности 8 цанг 3, а затем возврат лепестков 2 в исходное положение – разжатия, либо сжатие до момента прохождения максимального диаметра D3 боковой поверхности 8 через плоскость деталей 1а и 1б, а потом возврат лепестков 2 в исходное положение – разжатие.
Использование данного технического решения позволило повысить точность и надежность установки деталей в приспособлении, увеличить производительность труда и безопасность при работе и упростить конструкцию приспособления.
Формула изобретения
1. Способ установки деталей по плоскости и отверстиям, включающий размещение деталей в приспособлении с ориентированием по плоскости и отверстиям с пересекающими ее осями и досылание деталей в направлении установочной плоскости путем упругой деформации цанговых лепестков, при этом зажим деталей осуществляют в процессе рабочего перемещения цанги с одновременным самоцентрированием по отверстиям, отличающийся тем, что передние части цанг выполняют с опорным буртиком и переменным диаметром, при этом диаметр цанги в торце выполняют меньше диаметра отверстий деталей, а диаметр по боковой поверхности – с возрастанием до величины, большей диаметра отверстий деталей, с последующим уменьшением до диаметра отверстий деталей или сохранением прежним, при этом рельеф лепестков цанг выполняют с шейкой диаметром не менее диаметра отверстий деталей, и высотой, равной сумме толщин собираемых деталей, цанги перемещают через отверстия деталей с обеспечением сжатия их лепестков путем воздействия на их передние части до состояния, в котором лером лепестки цанг располагают с возможностью давления на кромки отверстий деталей для их удержания и устранения смещения относительно друг друга.
2. Способ установки деталей по плоскости и отверстиям перед сваркой, включающий размещение деталей в приспособлении с ориентированием по плоскости и отверстиям с пересекающими ее осями и досылание деталей в направлении установочной плоскости путем упругой деформации цанговых лепестков, при этом зажим деталей и самоцентрирование по отверстиям осуществляют одновременно в процессе рабочего перемещения цанги, отличающийся тем, что используют защитную пластину, которую располагают в цанге между ее осью и местом сварки.
РИСУНКИ
|
|