|
|
(21), (22) Заявка: 2007125917/02, 09.07.2007
(24) Дата начала отсчета срока действия патента:
09.07.2007
(46) Опубликовано: 27.04.2009
(56) Список документов, цитированных в отчете о поиске:
SU 1541913 A1, 20.06.1997. SU 1732572 A1, 20.06.1997. SU 1210330 A1, 23.12.1992. RU 2152859 C1, 20.07.2000. DE 4114669 A1, 12.11.1992.
Адрес для переписки:
400131, г.Волгоград, пр. Ленина, 28, ВолгГТУ, отдел интеллектуальной собственности
|
(72) Автор(ы):
Писарев Сергей Петрович (RU), Трыков Юрий Павлович (RU), Гуревич Леонид Моисеевич (RU), Шморгун Виктор Георгиевич (RU), Донцов Дмитрий Юрьевич (RU)
(73) Патентообладатель(и):
Государственное образовательное учреждение высшего профессионального образования Волгоградский государственный технический университет (ВолгГТУ) (RU)
|
(54) СПОСОБ ПОЛУЧЕНИЯ ИЗДЕЛИЙ С ВНУТРЕННИМИ ПОЛОСТЯМИ СВАРКОЙ ВЗРЫВОМ
(57) Реферат:
Изобретение может быть использовано для изготовления теплообменников, деталей электротермического и химического оборудования, теплорегуляторов и т.п. Собирают плоский пакет из полостеобразующих элементов в виде металлических труб с толщиной стенок, равной 0,133-0,2 их наружного диаметра, и заполняют полости труб водным наполнителем. Размещают пакет со сварочными зазорами симметрично между промежуточными прослойками из высокопластичного металла с толщиной, равной 0,4-0,6 наружного диаметра труб, и металлическими облицовками. Осуществляют сварку взрывом путем одновременного инициирования взрыва зарядов взрывчатого вещества, расположенного на наружных поверхностях металлических облицовок, с направлением детонации вдоль труб. Сварку проводят при скорости детонации взрывчатого вещества, равной 1690-2280 м/с. Сварочные зазоры и толщину зарядов взрывчатого вещества выбирают из условия получения скорости соударения металлических облицовок с промежуточными прослойками 330-450 м/с и скорости соударения промежуточных прослоек с трубами пакета 240-380 м/с. Способ обеспечивает получение цельносварных многоканальных изделий плоской формы из полостеобразующих элементов в виде труб и пластин, например, из стали и алюминия с высоким качеством сварки всех соединяемых поверхностей и гладкой поверхностью внутренних каналов. 3 з.п. ф-лы, 4 ил., 1 табл.
Изобретение относится к технологии получения изделий сваркой взрывом и может быть использовано для изготовления изделий с внутренними полостями, например теплообменников, деталей электротермического и химического оборудования, теплорегуляторов и т.п.
Известен способ получения сверхпроводящих изделий с внутренней полостью сваркой взрывом, при котором устанавливают соосно трубчатый полостеобразующий элемент с удаляемым водным наполнителем и наружную оболочку, в зазор между ними засыпают порошок сверхпроводящего материала и инициируют заряд взрывчатого вещества. При реализации способа между наружной поверхностью полостеобразующего элемента и слоем порошка сверхпроводящего материала помещают металлическую трубчатую упрочняющую прослойку из высокоэлектропроводного материала с внутренним диаметром, на 2-4 мм большим наружного диаметра полостеобразующего элемента, при этом берут взрывчатое вещество (ВВ) со скоростью детонации 2400-3520 м/с, а процесс ведут при отношении удельной массы ВВ к сумме удельных масс наружной оболочки, порошка сверхпроводящего материала и упрочняющей прослойки, равном 1,0-1,2 (Патент РФ 1732572, опубл. 20.06.97, БИ 17/97, М. кл. В23К 20/08).
К недостаткам данного способа можно отнести возможность размещения в его схеме сварки взрывом лишь одного полостеобразующего элемента, что позволяет получать по этому способу лишь одноканальные изделия цилиндрической формы. Кроме того, наличие керамического слоя между наружной оболочкой и трубчатой упрочняющей прослойкой затрудняет теплообмен между наружным и и внутренним слоем композиционного изделия, а это весьма ограничивает возможности использования данного способа при создании деталей химического, электротермического оборудования и т.п., где требуются материалы с развитой наружной поверхностью и пониженным термическим сопротивлением.
Наиболее близким по техническому уровню и достигаемому результату является способ получения изделий с внутренними полостями сваркой взрывом, при котором устанавливают наружную металлическую облицовку в виде стальной трубчатой оболочки с зазором относительно плакируемой заготовки в виде пучка труб, например, из меди с водным наполнителем в их внутренних полостях. Между трубами помещают соединительные стержни из более легкоплавкого металла, чем медь, а сварку взрывом осуществляют с помощью заряда взрывчатого вещества, расположенного на поверхности плакирующей заготовки. После взрывного воздействия с целью увеличения площади сварных соединений проводят термообработку изделия при температуре на 5-20°С выше температуры ликвидуса металла соединительных стержней (Авторское свидетельство СССР 1541913, М. кл. В23К 20/08, опубл. в БИ 17-97).
Недостатком этого способа является то, что в схеме установки плакирующей заготовки относительно плакируемой не создаются одинаковые условия деформирования трубчатых элементов на различных участках и, как следствие этого, в процессе сварки взрывом происходит лишь локальная сварка между соединяемыми элементами композиции. Для увеличения площади сварных соединений между составляющими композиционного изделия требуется дополнительная энергоемкая операция термической обработки, при которой соединительные стержни расплавляются и выполняют функции припоя. Но и после термообработки сварное соединение возникает не по всем поверхностям соприкосновения составляющих композита. Ширина зон непроваров может достигать 3-4 мм и распространяются такие зоны по всей длине изделия, что при повышенных изгибающих нагрузках может способствовать разрушению зон сварки, а это значительно ограничивает технологические области применения данного способа. Кроме того, высокотемпературная термообработка приводит к снижению прочности соединяемых металлов. В местах наибольших деформаций труб наблюдается повышенная шероховатость поверхностей внутренних каналов.
В связи с этим важнейшей задачей является создание нового способа получения плоских изделий с внутренними полостями сваркой взрывом по новой технологической схеме распределения импульсов давления в свариваемой заготовке с формированием сплошных зон сварки между соединяемыми элементами композиции, со снижением поперечных деформаций полостеобразующих элементов и получением при этом высокой герметичности промежутков между смежными полостями, с плоскими поверхностями металлических облицовок.
Техническим результатом заявленного способа является создание новой технологической схемы сварки взрывом, обеспечивающей получение за один цикл сварки сплошных соединений между трубами пакета и промежуточными прослойками из высокопластичного металла, а также между промежуточными прослойками и металлическими облицовками, со снижением при этом поперечных деформаций полостеобразующих элементов и благодаря этому с устранением вероятности нарушения сплошности стенок труб, с повышением герметичности промежутков между смежными полостями, с получением плоских поверхностей металлических облицовок без вмятин и других повреждений, а также гладких поверхностей внутренних каналов.
Указанный технический результат достигается тем, что в предлагаемом способе получения изделий с внутренними полостями сваркой взрывом, при котором используют полостеобразующие элементы в виде труб с удаляемым водным наполнителем и плакируют их снаружи сваркой взрывом, при этом предварительно собирают плоский пакет под сварку взрывом из полостеобразующих элементов в виде металлических труб с толщиной стенок, равной 0,133-0,2 их наружного диаметра, заполняют полости труб водным наполнителем, размещают пакет симметрично со сварочными зазорами между промежуточными прослойками из высокопластичного металла с толщиной, равной 0,4-0,6 наружного диаметра труб, и металлическими облицовками, располагают на наружных поверхностях металлических облицовок заряды взрывчатого вещества и осуществляют сварку взрывом путем одновременного инициирования взрыва зарядов взрывчатого вещества с направлением детонации вдоль труб, при этом процесс сварки ведут при скорости детонации взрывчатого вещества, равной 1690-2280 м/с, сварочные зазоры и толщины зарядов взрывчатого вещества выбирают такими, чтобы скорость соударения металлических облицовок с промежуточными прослойками была в пределах 330-450 м/с, а скорость соударения промежуточных прослоек с трубами пакета была в пределах 240-380 м/с, с получением при этом цельносварного изделия с внутренними полостями.
При этом металлические облицовки выполняют из стали, в качестве высокопластичного металла для изготовления промежуточных прослоек используют алюминий, а полостеобразующие элементы в виде металлических труб выполняют из меди.
Новый способ получения изделий с внутренними полостями сваркой взрывом имеет существенные отличия по сравнению с прототипом как по физическим механизмам формирования сварных соединений между металлическими поверхностями в получаемом композиционном изделии, так и по совокупности технологических приемов и режимов их получения. Так, предложено собирать плоский пакет под сварку взрывом из полостеобразующих элементов в виде металлических труб с толщиной стенок, равной 0,133-0,2 их наружного диаметра, и заполнять полости труб водным наполнителем. Использование полостеобразующих элементов в виде труб позволяет получить композиционное изделие с повышенной герметичностью. Водный наполнитель в полостях труб способствует благоприятному перераспределению импульсов давления в свариваемых заготовках, снижает объемные изменения полостеобразующих элементов.
При толщине стенок труб менее 0,133 их наружного диаметра возможно образование непроваров в местах соприкосновения смежных труб, возможно также локальное оплавление металла труб, что снижает герметичность получаемых изделий. Толщина стенок труб больше 0,2 их наружного диаметра является избыточной, поскольку на качестве сварных соединений не отражается, но снижается поперечное сечение внутренних полостей, что приводит к снижению эффективности получаемых изделий при использовании их в теплообменной аппаратуре.
Предложено размещать плакируемый плоский пакет симметрично со сварочными зазорами между промежуточными прослойками из высокопластичного металла с толщиной, равной 0,4-0,6 наружного диаметра труб, и металлическими облицовками, что обеспечивает в процессе сварки взрывом симметричное двухстороннее деформирование трубчатого пакета с наполнителем в полостях труб. Изменяя сварочные зазоры, можно регулировать скоростные режимы процесса сварки. Использование промежуточных прослоек из высокопластичного металла позволяет снизить поперечные деформации полостеобразующих элементов. Металл прослоек благодаря высокой пластичности в процессе взрывного воздействия заполняет неровности плакируемого пакета с одновременным образованием сварных соединений, благодаря чему наружные поверхности металлических облицовок получаются плоскими. При толщине промежуточных прослоек менее 0,4 наружного диаметра труб наружная поверхность металлических облицовок искривляется и может иметь волнообразную форму, что сужает возможные области применения полученных изделий. Толщина промежуточных прослоек больше 0,6 наружного диаметра труб является избыточной, так как это не улучшает качество получаемых изделий, но приводит к неоправданно высокому расходу материала на эти прослойки.
Предложено процесс сварки взрывом вести с направлением детонации вдоль труб при скорости детонации взрывчатого вещества, равной 1690-2280 м/с, а сварочные зазоры и толщины зарядов взрывчатого вещества выбирать такими, чтобы при выбранных толщинах металлических облицовок и промежуточных прослоек скорость соударения металлических облицовок с промежуточными прослойками была в пределах 330-450 м/с, а скорость соударения промежуточных прослоек с трубами пакета была в пределах 240-380 м/с, при этом в качестве материала металлических облицовок предложено использовать сталь, полостеобразующие элементы выполнять из меди, а в качестве высокопластичного металла для изготовления промежуточных прослоек использовать алюминий, что обеспечивает получение цельносварного изделия с внутренними полостями. При скорости детонации взрывчатого вещества и скоростях соударения соединяемых деталей ниже нижнего предела не обеспечивается надежная сварка по всем поверхностям соприкосновения свариваемых деталей. При указанных скоростных режимах выше верхнего предела возможно образование в зонах соединения избыточного количества нежелательных хрупких фаз, что снижает качество получаемых изделий. Кроме того, возможно нарушение герметичности стенок полостеобразующих элементов. Направление процесса детонации вдоль труб обеспечивает симметричную форму получаемых изделий, однородность процесса деформирования пакета при сварке и благодаря этому высокое качество сварных соединений. Медь для изготовления полостеобразующих элементов является наиболее подходящим материалом благодаря ее высокой тепло- и электропроводности. Использование алюминия в качестве материала для промежуточных прослоек обеспечивает высокую эффективность теплообмена между полостеобразующими элементами, надежную сварку всех деталей между собой, способствует получению изделия плоской формы. Металлические облицовки предложено изготавливать из стали. Сталь придает изделиям повышенную прочность на изгиб и как труднодеформируемый материал способствует получению изделий плоской формы.
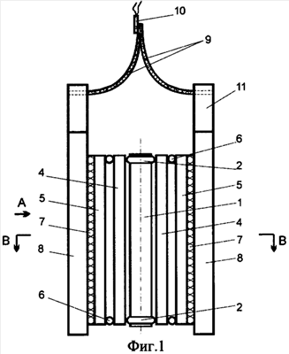
На фиг.1 изображена схема сварки взрывом изделий с внутренними полостями сваркой взрывом, на фиг.2 – вид по стрелке А; на фиг.3 – поперечное сечение В-В схемы сварки; на фиг.4 – поперечное сечение сваренного изделия с внутренними полостями.
Предлагаемый способ получения изделий с внутренними полостями сваркой взрывом осуществляется в следующей последовательности. Очищают соединяемые металлические поверхности от окислов и загрязнений, собирают плоский пакет под сварку взрывом из полостеобразующих элементов в виде металлических труб 1 (фиг.1-3). Скрепляют трубы с помощью бандажей 2. Толщина стенок труб должна быть равной 0,133-0,2 их наружного диаметра. Заполняют каналы труб водным наполнителем 3, а концы труб герметизируют герметиком, например пластилином. Размещают полученный пакет симметрично со сварочными зазорами между промежуточными прослойками 4 из высокопластичного металла и металлическими облицовками 5. Сварочные зазоры между пакетом и промежуточными прослойками подбирают, изменяя толщину бандажной ленты, а сварочные зазоры между промежуточными прослойками и металлическими облицовками выставляют с помощью упоров 6. Толщина промежуточных прослоек должна составлять 0,4-0,6 наружного диаметра труб. Укладывают на наружных поверхностях металлических облицовок защитные прослойки 7 из высокоэластичного материала, например из резины, защищающие поверхности облицовок от повреждений продуктами взрыва, а на их поверхностях располагают основные заряды взрывчатого вещества 8. Осуществляют сварку взрывом путем одновременного инициирования взрыва зарядов взрывчатого вещества с помощью детонирующих шнуров 9 равной длины, электродетонатора 10 и генераторов плоской детонационной волны 11. Направление детонации в основных зарядах ВВ – вдоль труб. Скорость детонации основных зарядов ВВ должна быть равной 1690-2280 м/с. Ее регулируют путем изменения состава ВВ и толщины зарядов. Оба заряда должны быть с одинаковыми размерами и параметрами ВВ. Скорость соударения металлических облицовок с промежуточными прослойками должна быть равной V1=330-450 м/с, а скорость соударения промежуточных прослоек с трубами пакета V2=240-380 м/с. Данные скорости получают, изменяя параметры зарядов ВВ, толщину металлических облицовок и величину сварочных зазоров, с учетом физических характеристик соединяемых деталей схемы сварки взрывом. При этом предложено металлические облицовки выполнять из стали, полостеобразующие элементы – из меди, а в качестве высокопластичного металла для изготовления промежуточных прослоек предложено использовать алюминий.
В результате получают цельносварное многоканальное изделие с высоким качеством сварки по всем соединяемым поверхностям, с плоскими наружными поверхностями металлических облицовок без вмятин и других повреждений, с гладкими поверхностями внутренних каналов без резких перегибов стенок полостеобразующих элементов. Удаление наполнителя из труб после сварки происходит самопроизвольно под воздействием волн разгрузки.
Пример 1 (см. также таблицу)
В качестве полостеобразующих элементов для сборки плоского пакета используют трубы из меди M1. Количество труб в пакете N=14. Наружный диаметр труб Dнар=10 мм, толщина их стенок Тст=2 мм, что составляет 0,2 Dнар. Длина труб Lтр=220 мм. Заполнение полостей труб осуществляли водой, герметизацию концов труб – пластилином. Бандажи для скрепления труб изготавливали из алюминия.
В качестве промежуточных прослоек из высокопластичного металла использовали пластины из алюминия АД1 длиной 220 мм, шириной 140 мм, толщиной Тпр=6 мм, что составляет 0,6 Dнар.
Металлические облицовки изготавливали из стали 12Х18Н10Т длиной 220 мм, шириной 140 мм, толщиной Тоб=2,5 мм. Сварочные зазоры между металлическими облицовками и промежуточными прослойками были одинаковыми и равными: h1=2 мм, а между промежуточными прослойками и сборным плоским пакетом из труб были одинаковыми и равными: h2=4 мм.
В качестве основных зарядов взрывчатого вещества использовалась смесь аммонита 6ЖВ с аммиачной селитрой с объемным соотношением 1:2. Длина основного заряда взрывчатого вещества – 260 мм, ширина 180 мм, толщина заряда TВВ=40 мм. Плотность ВВ ВВ=0,98 г/см3, скорость детонации ВВ DBB=1690 м/с. Для защиты наружных поверхностей изделий от повреждений между основными зарядами ВВ и металлическими облицовками размещали прослойки из высокоэластичного материала – резины толщиной 2 мм. Длина и ширина прослоек, такие же, как у металлических облицовок. Синхронное инициирование фронтов детонации в основных зарядах ВВ с направлением их движения вдоль труб осуществляли с помощью двух отрезков детонирующих шнуров равной длины, например 15-20 см, скрепленного с ними электродетонатора и генераторов плоской детонационной волны. Скорость соударения V1=330 м/с, V2=240 м/с. После сварки взрывом удаляют с боков сваренных изделий материал с краевыми эффектами.
В результате получают цельносварное многоканальное изделие с высоким качеством сварки по всем соединяемым поверхностям, с плоскими наружными поверхностями металлических облицовок без нарушений герметичности стенок полостеобразующих элементов, с гладкими поверхностями внутренних каналов без резких перегибов стенок полостеобразующих элементов.
Пример 2 (см. также таблицу)
То же, что в примере 1, но внесены следующие изменения.
Количество труб в пакете N=20; наружный диаметр труб Dнар=8 мм, толщина их стенок Тст=1,2 мм, что составляет 0,15 Dнар. Толщина промежуточных прослоек из высокопластичного металла Тпр=4 мм, что составляет 0,5 Dнар. Ширина прослоек – 160 мм.
Металлические облицовки имели толщину Тоб=2 мм, ширину 160 мм.
Сварочные зазоры h1=h2=1 мм.
В основных зарядах ВВ использовали смесь с объемным соотношением 1:3. Ширина основного заряда ВВ была равной 200 мм, его плотность ВВ=0,97 г/см3, скорость детонации DВВ=2070 м/с. Скорость соударения V1=380 м/с, V2=300 м/с.
Результаты получения изделий с внутренними полостями те же, что в примере 1.
Пример 3
То же, что в примере 1, но внесены следующие изменения.
Количество труб в пакете N=24; наружный диаметр труб Dнар=6 мм, толщина их стенок Тст=0,8 мм, что составляет 0,133 Dнар. Толщина промежуточных прослоек из высокопластичного металла Тпр=2,4 мм, что составляет 0,4 Dнар. Ширина прослоек – 145 мм.
Металлические облицовки имели толщину Тоб=1,5 мм, ширину 145 мм.
Сварочные зазоры h1=h2=1 мм.
В основных зарядах ВВ использовали смесь с объемным соотношением 1:2. Ширина основного заряда ВВ была равной 185 мм, его плотность ВВ=0,94 г/см3, скорость детонации DВВ=2280 м/с. Скорости соударения: V1=450 м/с, V2=380 м/с.
Результаты получения изделий с внутренними полостями те же, что в примере 1.
| Номер примера |
Способ получения изделий |
Параметры плакируемого пакета |
Параметры промежуточных прослоек |
Параметры металлических облицовок |
| 1 |
Предлагаемый способ |
Материал труб – медь M1; наружный диаметр Dнар=10 мм; толщина стенок – Тст=2 мм, что составляет 0,2 Внар. Количество труб в пакете N=14, длина труб Lтр=220 мм. Наполнитель в трубах – вода. |
Материал – алюминий АД1; толщина Тпр=6 мм, что составляет 0,6 Dнар. Длина – 220 мм, ширина – 140 мм. |
Материал – сталь 12Х18Н10Т; толщина Тоб=2,5 мм. Длина – 220 мм, ширина – 140 мм. |
| 2 |
Предлагаемый способ |
Материал труб – медь M1; Dнар=8 мм; Тст=1,2 мм, что составляет 0,15 Dнар. N=20, Lтр=220 мм, наполнитель – вода. |
То же, что в примере 1, но Тпр=4 мм, что составляет 0,5 Dнар. Ширина – 160 мм. |
Материал – сталь 12Х18Н10Т; толщина Тоб=2 мм. Длина – 220 мм, ширина – 160 мм. |
| 3 |
Предлагаемый способ |
Материал труб – медь M1; Dнар=6 мм; Тст=0,8 мм, что составляет 0,133 Dнар. N=24, Lтр=220 мм, наполнитель – вода. |
То же, что в примере 1, но Тпр=2,4 мм, что составляет 0,4 Dнар. Ширина – 145 мм. |
Материал – сталь 12Х18Н10Т; толщина Тоб=1,5 мм. Длина – 220 мм, ширина – 145 мм. |
| 4 |
Прототип |
Материал труб – медь M1; наружный диаметр труб Dнар=10 мм, внутренний – 6 мм, Тст=2 мм. Количество труб в пучке 7, длина труб – 160 мм. Наполнитель в трубах – вода. |
Используют круглые соединительные стержни из легкоплавкого материала с диаметром 0,13-0,15 Dнар и 0,250-0,35 Dнар. |
Плакирующая оболочка в виде трубы из стали 12Х18Н10Т; наружный диаметр – 52 мм, внутренний – 34 мм, толщина стенки – 9 мм, длина – 165 мм. |
| Продолжение таблицы |
| Номер примера |
Режимы сварки взрывом |
 |
| Сварочные зазоры, мм |
Скорость детонации ВВ |
Скорость соударения |
Результаты получения изделий с внутренними полостями |
| h1 |
h2 |
Dbb, м/с |
V1, м/с |
V2, м/с |
 |
| 1 |
2 |
4 |
1690 |
330 |
240 |
Обеспечивается получение за один цикл сварки качественных сплошных соединений между всеми соединяемыми деталями. Снижены поперечные деформации полостеобразующих элементов и благодаря этому, устранена вероятность нарушения сплошности стенок труб. Повышена герметичность промежутков между смежными полостями. Получены изделия с плоскими поверхностями металлических облицовок без вмятин и других повреждений, а также более гладкие поверхности внутренних каналов, чем по прототипу. Дополнительная термообработка изделия не требуется. |
| 2 |
1 |
1 |
2070 |
380 |
300 |
То же, что в примере 1 |
| 3 |
1 |
1 |
2280 |
450 |
380 |
То же, что в примере 1 |
| 4 |
– |
– |
– |
Скорость соударения плакирующей оболочки с плакируемой заготовкой 200-450 м/с. |
Получают многоканальное изделие круглого сечения лишь с локальной сваркой металлических составляющих между собой. Требуется дополнительная высокотемпературная термообработка изделия, повышающая прочность сварных соединений, но снижающая прочность соединяемых материалов изделия. Внутренние поверхности полостеобразующих элементов – более шероховатые, чем по предлагаемому способу, что сужает возможные области применения данного способа в промышленности. |
При получении изделий с внутренними полостями по прототипу, см. таблицу, пример 4, в результате сварки взрывом получают многоканальное изделие круглого сечения лишь с локальной сваркой металлических составляющих между собой. Дополнительная высокотемпературная термообработка, предназначенная для расплавления соединительных стержней и увеличения тем самым площади сварных соединений, не позволяет обеспечить получение цельносварного изделия. Кроме того, высокотемпературная термообработка изделий снижает прочность материалов изделий в результате процессов рекристаллизации, наружная поверхность изделия и внутренние поверхности полостеобразующих элементов шероховатые, что сужает возможные области применения данного способа в промышленности.
Формула изобретения
1. Способ получения цельносварного изделия с внутренними полостями сваркой взрывом, включающий использование полостеобразующих элементов в виде труб с удаляемым водным наполнителем, которые плакируют снаружи сваркой взрывом, отличающийся тем, что собирают плоский пакет под сварку взрывом из полостеобразующих элементов в виде металлических труб с толщиной стенок, равной 0,133-0,2 их наружного диаметра, заполняют полости труб водным наполнителем, размещают пакет симметрично, со сварочными зазорами, между промежуточными прослойками из высокопластичного металла с толщиной, равной 0,4-0,6 наружного диаметра труб, и металлическими облицовками, располагают на наружных поверхностях металлических облицовок заряды взрывчатого вещества и осуществляют сварку взрывом путем одновременного инициирования взрыва зарядов взрывчатого вещества с направлением детонации вдоль труб, при этом процесс сварки ведут при скорости детонации взрывчатого вещества, равной 1690-2280 м/с, сварочные зазоры и толщины зарядов взрывчатого вещества выбирают из условия обеспечения скорости соударения металлических облицовок с промежуточными прослойками в пределах 330-450 м/с, а скорости соударения промежуточных прослоек с трубами пакета – в пределах 240-380 м/с.
2. Способ по п.1, отличающийся тем, что металлические облицовки выполняют из стали.
3. Способ по п.1, отличающийся тем, что в качестве высокопластичного металла для изготовления промежуточных прослоек используют алюминий.
4. Способ по п.1, отличающийся тем, что полостеобразующие элементы в виде металлических труб выполняют из меди.
РИСУНКИ
|
|