|
|
(21), (22) Заявка: 2006127781/02, 31.07.2006
(24) Дата начала отсчета срока действия патента:
31.07.2006
(43) Дата публикации заявки: 10.02.2008
(46) Опубликовано: 27.04.2009
(56) Список документов, цитированных в отчете о поиске:
RU 2199415 С2, 27.02.2003. RU 2201311 С2, 27.03.2003. RU 2179494 С2, 20.02.2002.
Адрес для переписки:
160004, г.Вологда, ул. Благовещенская, 102, ООО “Александра-Плюс”, Н.М. Лебедеву
|
(72) Автор(ы):
Лебедев Николай Михайлович (RU), Горячкин Юрий Николаевич (UA), Бондарь Владимир Викторович (RU), Самойленко Анатолий Кириллович (UA), Коняхин Анатолий Васильевич (RU)
(73) Патентообладатель(и):
ООО “Александра-Плюс” (RU)
|
(54) КРИСТАЛЛИЗАТОР
(57) Реферат:
Изобретение относится к непрерывной разливке медной проволоки. Кристаллизатор содержит графитовую втулку с защитным слоем и дополнительным двухслойным покрытием, формообразующее тело, выполненное в виде трубки из теплопроводного материала и соединенное с графитовой втулкой, и две трубки, расположенные коаксиально друг другу и формообразующему телу. В полостях между трубками и формообразующим телом циркулирует охлаждающая жидкость. К одной из трубок или к формообразующему телу посредством вставок или накладок прикреплены ультразвуковые преобразователи. Акустическое поле ультразвуковых колебаний, передаваемых от ультразвуковых преобразователей к графитовой втулке, частично погруженной в расплав, препятствует захвату шлака кристаллизующейся проволокой. Обеспечивается повышение качества медной проволоки. 1 з.п. ф-лы, 3 ил.
Изобретение относится к металлургической промышленности, а именно к конструкциям кристаллизаторов для вытягивания и кристаллизации медной проволоки.
Известен кристаллизатор в виде втулки из графита с нанесенным защитным слоем из композиционного материала, содержащего тугоплавкое соединение в матрице из графита, дополнительно снабженный двухслойным покрытием.
RU 2199415, МПК B22D 11/059 2003 г.
Недостатком известного кристаллизатора является низкое качество продукции.
Задачи, на решение которых направлено предлагаемое изобретение – повышение качества медной проволоки.
Вышеупомянутый недостаток исключается тем, что кристаллизатор, выполненный в виде графитовой втулки с защитным слоем и двухслойным покрытием, согласно изобретению снабжен формообразующим телом, выполненным в форме трубки из теплопроводного материала, соединенным с графитовой втулкой, двумя трубками, расположенными коаксиально друг другу и формообразующему телу с образованием между ними полости для циркуляции охлаждающей жидкости, а к одной из трубок или к формообразующему телу крепятся ультразвуковые преобразователи, при этом крепление осуществлено посредством вставок или накладных элементов.
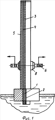
На чертежах показан кристаллизатор: на фиг.1 – общий вид; на фиг.2 – крепление ультразвукового преобразователя в виде вставки; на фиг.3 – крепление ультразвукового преобразователя в виде накладки.
Кристаллизатор для получения медной проволоки содержит графитовую втулку 1 с защитным слоем 2, которая соединяется с формообразующим телом в виде трубки 3, выполненной из теплопроводного материала, трубка 4 расположена коаксиально трубке 3, трубка 5 также расположена коаксиально трубке 4, при этом между трубками 3, 4 и 5 имеются полости, в которых циркулирует охлаждающая жидкость, к одной из трубок 3, или 4, или 5 жестко крепятся ультразвуковые преобразователи 6. Крепление ультразвуковых преобразователей 6 к трубкам 3, или 4, или 5 может осуществляться посредством вставок 7 или накладок 8, жестко соединенных с трубками 3, 4, 5 и с ультразвуковыми преобразователями 6. В случае соединения ультразвуковых преобразователей 6 к трубке 3 или 4 посредством вставок 7 применяются втулки 9, обеспечивающие герметичность между трубками 3, 4, 5. Циркуляция жидкости в полостях между трубками осуществляется за счет градиента температур между трубками: у более горячей поверхности трубок охлаждающая среда (вода) поднимается вверх, у более холодных сторон образуется поток вниз вдоль образующей трубки. Также возможно принудительное охлаждение: охлаждающая жидкость поступает во входной патрубок, протекает в полостях трубок, охлаждая их, выбрасывается из межтрубного пространства через выходной патрубок (не показан).
Принцип действия кристаллизатора для получения медной проволоки следующий. Графитовую втулку 1 частично погружают в расплав и производят вытягивание и кристаллизацию медной проволоки. В области вытягивания в расплаве происходит процесс концентрации шлаковых включений, которые частично захватываются кристаллизующейся медной проволокой. Акустическое поле ультразвуковых колебаний, передаваемых от ультразвуковых преобразователей 6 к внутренней поверхности трубки 3, а также и в близлежащие области графитовой втулки 1, частично погруженной в расплав, препятствует захвату и уносу шлаковых включений кристаллизирующейся проволокой. В то же время значительно снижается коэффициент поверхностного трения между движущейся медной проволокой и озвученной ультразвуком внутренней поверхностью трубки 3, что также положительно влияет на качество поверхности получаемой продукции. Частота, амплитуда колебаний ультразвуковых преобразователей 6 корректируются с учетом конкретных условий процесса медной проволоки.
В качестве ультразвуковых преобразователей, укрепленных, например, на трубке 3, возможно применение пьезометрических ультразвуковых преобразователей с частотой колебаний f=20 кВ/ч и потребляемой мощностью Р=100 Вт. Число ультразвуковых преобразователей для качественного обеспечения процесса может варьироваться от 2 до 7. Данная конструкция кристаллизатора позволяет получить высококачественную медную проволоку с хорошими физико-механическими свойствами, качественной поверхностью.
Формула изобретения
1. Кристаллизатор для получения медной проволоки, содержащий графитовую втулку с защитным слоем и дополнительным двухслойным покрытием, отличающийся тем, что он снабжен формообразующим телом, выполненным в виде трубки из теплопроводного материала, соединенным с графитовой втулкой, двумя трубками, расположенными коаксиально друг другу и формообразующему телу с образованием между ними полостей для циркуляции охлаждающей жидкости, и ультразвуковыми преобразователями, прикрепленными к одной из трубок или к формообразующему телу.
2. Кристаллизатор по п.1, отличающийся тем, что ультразвуковые преобразователи прикреплены с помощью вставок или накладных элементов.
РИСУНКИ
|
|