|
|
(21), (22) Заявка: 2006101262/02, 16.01.2006
(24) Дата начала отсчета срока действия патента:
16.01.2006
(43) Дата публикации заявки: 27.07.2007
(46) Опубликовано: 27.04.2009
(56) Список документов, цитированных в отчете о поиске:
US 3763685, 09.10.1973. RU 3675 U1, 10.03.2004. RU 2001128526, 10.01.2005.
Адрес для переписки:
198260, Санкт-Петербург, ул. Стойкости, 13, корп.2, кв.225, Б.К. Богданову
|
(72) Автор(ы):
Богданов Борис Корнилович (RU), Корытко Андрей Олегович (RU), Бутченко Елена Петровна (RU)
(73) Патентообладатель(и):
ООО “НПФ “Инстан” (RU)
|
(54) УСТРОЙСТВО ДЛЯ ГИБКИ ТРУБ
(57) Реферат:
Изобретение относится к машиностроению, в частности к устройствам для гибки труб. Устройство для гибки труб содержит станину, на оси которой закреплен дискообразный гибочный шаблон, на части круговой периферии которого расположена рабочая поверхность для гибки труб, выполненная по радиусу в поперечном сечении. На гибочном шаблоне установлен с возможностью перемещения элемент фиксации подлежащей гибке трубы. Устройство содержит рычаг, смонтированный с возможностью поворота относительно упомянутой оси станины с размещенным на нем свободно вращающимся обкатывающим роликом с рабочей поверхностью, которая в поперечном сечении выполнена с радиусом, равным радиусу поперечного сечения рабочей поверхности гибочного шаблона. Рабочая поверхность гибочного шаблона выполнена с расположенной вдоль ее средней части второй рабочей поверхностью, имеющей поперечное сечение с радиусом, меньшим, чем радиус поперечного сечения указанной первой рабочей поверхности, а вторая рабочая поверхность выполнена с третьей рабочей поверхностью, имеющей поперечное сечение с радиусом, меньшим, чем радиус поперечного сечения указанной второй рабочей поверхности. Обкатывающий ролик выполнен сменным для каждой рабочей поверхности гибочного шаблона. Рычаг выполнен с отверстиями для установки оси с соответствующим роликом. Обеспечивается возможность гибки труб различных диаметров. 7 ил.
Изобретение относится к машиностроению, в частности к оборудованию для холодной гибки.
Известен трубогиб для гибки труб методом обкатывания (см. паспорт «Трубогиб ручной», ООО «Металлица», 22.09.04 г.). Трубогиб, являющийся аналогом предлагаемого изобретения, состоит из неподвижного основания, на котором закреплен неподвижный трехъярусный ролик, выполняющий функцию гибочного шаблона. На этом ролике-шаблоне три кольцевые рабочие поверхности расположены друг над другом на его боковой поверхности вокруг оси ролика-шаблона и каждая рабочая поверхность в поперечном сечении имеет радиус, соответствующий одному из наружных радиусов трех типоразмеров подлежащих гибке труб.
Рядом с трехъярусным роликом-шаблоном находится трехъярусный обкатывающий ролик, на боковой поверхности которого вокруг его оси также имеются расположенные друг над другом три кольцевые рабочие поверхности, каждая из которых в поперечном сечении имеет такой же радиус, как и у соответствующей рабочей поверхности ролика-шаблона. Обкатывающий ролик установлен со свободой вращения на оси, которая смонтирована в поворотном корпусе-рычаге параллельно оси ролика-шаблона. Каждая рабочая поверхность обкатывающего ролика находится на одном уровне и рядом с соответствующей рабочей поверхностью ролика-шаблона, радиусы сечений этой пары рабочих поверхностей равны между собой, а сечения этой пары рабочих поверхностей в плоскости, проходящей через оси ролика-шаблона и обкатывающего ролика, образуют незамкнутую окружность. Таким образом, каждая смежная пара рабочая поверхность обкатывающего ролика – рабочая поверхность ролика-гибочного шаблона предназначена для гибки труб одного из трех разных наружных диаметров.
Поворотный корпус-рычаг, в котором на оси со свободой вращения установлен трехъярусный обкатывающий ролик, имеет возможность поворота вокруг оси ролика-гибочного шаблона. Указанный поворот корпуса-рычага может осуществляться как за счет физического усилия оператора, управляющего трубогибом, так и за счет усилия какого-либо внешнего привода.
На основании трубогиба рядом с роликом-гибочным шаблоном закреплен упор для фиксации конца подлежащей гибке трубы. Упор имеет выполненные со стороны ролика-гибочного шаблона три выемки, каждая из которых соответствует одному из трех наружных диаметров подлежащих гибке труб и расположена на том же уровне, что и рабочая поверхность ролика-гибочного шаблона, предназначенная для трубы этого диаметра.
Недостатки трубогиба следующие:
отсутствие продольного обнижения на дне каждой рабочей поверхности ролика-гибочного шаблона и обкатывающего гибочного ролика приводит к деформациям стенок на изогнутом участке трубы: на внутренней стороне этого участка стенка трубы подвергается гофрообразованию, а на наружной стороне указанного участка стенка трубы подвергается задирам. Все это снижает качество работы трубогиба;
применение в конструкции трубогиба ролика-гибочного шаблона и обкатывающего ролика с трехъярусными рабочими поверхностями увеличивает массу и металлоемкость этих элементов, что утяжеляет и удорожает трубогиб.
Эти недостатки исключены в станке для гибки труб по патенту США 3763685 кл. B21D 7/02, выбранном в качестве прототипа для первого варианта предлагаемого изобретения.
Прототип содержит станину, на котором неподвижно закреплен дискообразный гибочный шаблон. На части круговой периферийной поверхности шаблона вокруг его оси выполнена криволинейная рабочая поверхность, поперечное сечение которой имеет радиус, равный наружному радиусу подлежащей гибке трубы. Вдоль средней части указанной рабочей поверхности имеется продольное обнижение, поперечная ширина которого меньше поперечной ширины этой рабочей поверхности гибочного шаблона, а следовательно, меньше наружного диаметра подлежащей гибке трубы.
На оси гибочного шаблона расположен с возможностью принудительного поворота рычаг с отверстиями, в которых установлены оси двух обкатывающих роликов. Указанные ролики имеют свободу вращения на своих осях и расположены с возможностью качения по плоской продольной стенке элемента, у которого на противоположной продольной стенке, обращенной к гибочному шаблону, выполнена прямолинейная рабочая поверхность с продольным обнижением вдоль средней части этой рабочей поверхности. Поперечное сечение указанной рабочей поверхности имеет радиус равный наружному радиусу подлежащей гибке трубы, а ширина указанного обнижения меньше наружного диаметра подлежащей гибке трубы.
На гибочном шаблоне предусмотрен фиксатор конца подлежащей гибке трубы для удержания этого конца трубы в рабочей поверхности гибочного шаблона. Фиксатор имеет возможность поперечного перемещения относительно трубы.
В то же время прототип характеризуется следующими недостатками:
для гибки труб разных диаметров необходимо каждый раз демонтировать гибочный шаблон и продольный элемент с рабочими поверхностями одного сечения и устанавливать другие шаблон и элемент с рабочими поверхностями другого, нужного сечения. Это усложняет и удорожает технологический процесс гибки труб:
– увеличивается длительность и трудоемкость процесса гибки,
– возникает необходимость в организации хранения сменных шаблонов и элементов, что увеличивает сопутствующие затраты при эксплуатации прототипа (необходимы дополнительная производственная площадь, стеллажи и пр.).
Техническим результатом заявленного изобретения является устранение недостатков прототипа.
Технический результат достигается тем, что в устройстве для гибки труб, содержащем станину, на оси которой закреплен дискообразный гибочный шаблон с расположенной на части круговой периферии рабочей поверхностью для гибки труб, выполненной по радиусу в поперечном сечении, установленный с возможностью перемещения на гибочном шаблоне элемент фиксации подлежащей гибке трубы и смонтированный с возможностью поворота относительно упомянутой оси станины рычаг с размещенной на нем осью со свободно вращающимся обкатывающим роликом, имеющим рабочую поверхность, которая в поперечном сечении выполнена с радиусом, равным радиусу поперечного сечения рабочей поверхности гибочного шаблона, рабочая поверхность гибочного шаблона выполнена с расположенной вдоль ее средней части второй рабочей поверхностью, имеющей поперечное сечение с радиусом, меньшим, чем радиус поперечного сечения указанной первой рабочей поверхности, а вторая рабочая поверхность выполнена с третьей рабочей поверхностью, имеющей поперечное сечение с радиусом, меньшим, чем радиус поперечного сечения указанной второй рабочей поверхности, обкатывающий ролик выполнен сменным для каждой рабочей поверхности гибочного шаблона, а рычаг выполнен с отверстиями для установки оси с обкатывающим роликом.
Предлагаемые варианты изобретения поясняются чертежами:
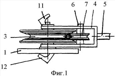
фиг.1 – вид сбоку на устройство для гибки труб,
фиг.2 – правая проекция фиг.1,
фиг.3 – в плане фиг.1,
фиг.4 – вид А на фиг.2,
фиг.5 – сечение Б-Б на фиг.3,
фиг.6 и 7 – аналогичные сечения устройства с разными роликами и с трубами разных диаметров.
Устройство для гибки труб содержит станину 1 (фиг.1-4), на которой неподвижно закреплен на оси 2 гибочный шаблон 3 в виде усеченного диска. На этой же оси 2 со свободой поворота вокруг нее смонтирован рычаг 4 с рукояткой 5. В рычаге 4 имеются два отверстия, в одном из которых расположена ось 6 со сменным обкатывающим роликом 7, который предназначен для трубы 8 наименьшего наружного диаметра, подлежащей гибке на данном устройстве.
На гибочном шаблоне 3 установлена ось 9, на которой со свободой поворота установлены в одной плоскости и под углом друг к другу фиксаторы 10, 11 и 12. Каждый из этих фиксаторов выполнен в виде крюка для накидывания на конец трубы, установленной в устройство для последующей гибки. Данное устройство предназначено для гибки труб трех разных диаметров и каждый из фиксаторов 10, 11 и 12 имеет свои размеры, обеспечивающие фиксацию трубы определенного диаметра в устройстве. В частности, фиксатор 10 предназначен для трубы 8, имеющей наименьший наружный диаметр.
На гибочном шаблоне 3 (фиг.5-7) имеются три рабочие поверхности, расположенные вокруг его оси 2. Первая рабочая поверхность в поперечном сечении имеет наибольший радиус R1 и предназначена для труб 13 наибольшего наружного диаметра, подлежащих гибке на данном устройстве. Вторая рабочая поверхность выполнена как обнижение вдоль средней части первой рабочей поверхности, в поперечном сечении имеет радиус R2 и предназначена для труб 14 промежуточного наружного диаметра. Третья рабочая поверхность выполнена как обнижение вдоль средней части второй рабочей поверхности, в поперечном сечении имеет радиус R3 и предназначена для труб 8 наименьшего наружного диаметра, подлежащих гибке на данном устройстве. Вдоль средней части третьей рабочей поверхности выполнено обнижение 15.
Как уже упоминалось выше, в рычаге 4 имеются два отверстия 16 и 17, предназначенные для установки оси 6, которая служит для размещения на ней обкатывающих роликов 7, 18 или 19: для гибки труб 8 наименьшего наружного диаметра на оси 6 устанавливают ролик 7, для гибки труб 14 промежуточного наружного диаметра – ролик 18 и для гибки труб 13 наибольшего наружного диаметра – ролик 19. Рабочие поверхности этих роликов расположены на их цилиндрических боковых поверхностях. Поперечные сечения этих рабочих поверхностей имеют те же радиусы, что и соответствующие им рабочие поверхности гибочного шаблона 3, то есть R1, R2 и R3. Вдоль средней части рабочей поверхности каждого обкатывающего ролика выполнено обнижение 20.
Устройство для гибки труб работает следующим образом.
Подлежащую гибке трубу 8 с наименьшим наружным диаметром (фиг.1-5) устанавливают в устройстве так, чтобы она легла в третью рабочую поверхность гибочного шаблона 3, имеющую в поперечном сечении наименьший радиус R3 (фиг.6, 7). На выступающий из гибочного шаблона конец трубы 8 накидывают крюкообразный элемент 10 (фиг.4) для фиксации трубы в рабочей поверхности шаблона.
Рычаг 4 поворачивают в направлении к элементу 10 (фиг.3) и в отверстие 17 рычага (фиг.7) устанавливают ось 6 с обкатывающим роликом 7, на боковой поверхности которого имеется рабочая поверхность с наименьшим радиусом R3 поперечного сечения (фиг.5). В результате труба 8 расположена между вышеназванными рабочими поверхностями гибочного шаблона 3 и обкатывающего ролика 7.
При помощи физического усилия оператора или при помощи какого-либо внешнего привода (не показаны) рычаг 4 поворачивают по часовой стрелке за рукоятку 5. Это вызовет силовое воздействие ролика 7 на трубу 8, который, обкатываясь по трубе, будет загибать ее к гибочному шаблону 3 и укладывать трубу в вышеуказанную рабочую поверхность шаблона. Так как вдоль средних частей рабочих поверхностей гибочного шаблона 3 и обкатывающего ролика 7 имеются обнижения 15 и 20 (фиг.5), стенка трубы 8 на внутреннем участке ее изгиба (со стороны гибочного шаблона) не будет иметь гофр, а стенка трубы на наружном участке ее изгиба (со стороны ролика 7) не будет иметь задиров.
Угол изгиба трубы 8 будет определяться углом поворота рычага 4.
Для гибки трубы 14 или 13 с большими наружными диаметрами (фиг.6, 7) соответствующую трубу необходимо установить в соответствующую рабочую поверхность гибочного шаблона 3, сориентировав ее относительно шаблона так же, как предыдущую трубу 8. Взамен обкатывающего ролика 7 следует установить на той же оси 6 ролик 18 или 19 в зависимости от выбранной трубы 14 или 13. Для ролика 18 ось 6 должна быть установлена на основании 21 в отверстие 17, а для ролика 19 – в отверстие 16.
На выступающий из гибочного шаблона конец трубы накидывают крюкообразный элемент: для трубы 14 – элемент 11, для трубы 13 – элемент 12 (не показано).
Далее выполняют аналогичный поворот рычага 4 за рукоятку 5 по часовой стрелке (применительно к фиг.3). Обкатывающий ролик 18 или 19 (фиг.6, 7), оказывая на трубу 14 или 13 силовое воздействие при обкатывании по ней, будет загибать трубу в направлении к гибочному шаблону и укладывать ее в соответствующую рабочую поверхность.
Так как вдоль средней части рабочей поверхности как ролика 18, так и ролика 19 имеется обнижение, стенка трубы 14 или 13 с внешней стороны своего изгиба (со стороны обкатывающего ролика) не будет подвергнута задирам.
Так как вдоль средней части рабочей поверхности гибочного шаблона 3, имеющей в поперечном сечении радиус R2, выполнено обнижение в виде третьей рабочей поверхности, а вдоль средней части первой рабочей поверхности шаблона, имеющей в поперечном сечении радиус R1, выполнено обнижение в виде второй рабочей поверхности, то на внутреннем участке изгиба трубы 14 или 13 ее стенка не будет подвергнута гофрообразованию. Угол изгиба трубы 14 или 13 будет определяться углом поворота рычага 4.
Для извлечения согнутой трубы из устройства рычаг 4 поворачивают против часовой стрелки в исходное положение (фиг.3) и снимают с конца трубы крюкообразный элемент 10, 11 или 12. После этого трубу вынимают из устройства, протаскивая ее конец между гибочным шаблоном 3 и обкатывающим роликом от элементов 10, 11, 12.
Формула изобретения
Устройство для гибки труб, содержащее станину, на оси которой закреплен дискообразный гибочный шаблон с расположенной на части круговой периферии рабочей поверхностью для гибки труб, выполненной по радиусу в поперечном сечении, установленный с возможностью перемещения на гибочном шаблоне элемент фиксации подлежащей гибке трубы и смонтированный с возможностью поворота относительно упомянутой оси станины рычаг с размещенной на нем осью со свободно вращающимся обкатывающим роликом, имеющим рабочую поверхность, которая в поперечном сечении выполнена с радиусом, равным радиусу поперечного сечения рабочей поверхности гибочного шаблона, отличающееся тем, что рабочая поверхность гибочного шаблона выполнена с расположенной вдоль ее средней части второй рабочей поверхностью, имеющей поперечное сечение с радиусом, меньшим, чем радиус поперечного сечения указанной первой рабочей поверхности, а вторая рабочая поверхность выполнена с третьей рабочей поверхностью, имеющей поперечное сечение с радиусом, меньшим, чем радиус поперечного сечения указанной второй рабочей поверхности, обкатывающий ролик выполнен сменным для каждой рабочей поверхности гибочного шаблона, а рычаг выполнен с отверстиями для установки оси с обкатывающим роликом.
РИСУНКИ
|
|