|
|
(21), (22) Заявка: 2005138299/02, 01.06.2004
(24) Дата начала отсчета срока действия патента:
01.06.2004
(30) Конвенционный приоритет:
09.06.2003 IT UD2003A000126
(43) Дата публикации заявки: 10.06.2006
(46) Опубликовано: 27.04.2009
(56) Список документов, цитированных в отчете о поиске:
ЕР 1126933А1, 29.08.2001. US 2126528, 09.08.1938. GB 1047571 A, 09.11.1966. US 6276628 A1, 21.08.2001. KR 20020090853 A, 05.12.2002. RU 2019331 C1, 15.09.1994. RU 2060070 C1, 20.05.1996. RU 2056185 C1, 20.03.1996. RU 2074037 C1, 27.02.1997.
(85) Дата перевода заявки PCT на национальную фазу:
08.12.2005
(86) Заявка PCT:
IT 2004/000322 20040601
(87) Публикация PCT:
WO 2004/108316 20041216
Адрес для переписки:
103735, Москва, ул. Ильинка, 5/2, ООО “Союзпатент”
|
(72) Автор(ы):
КАСТЕЛЛАНИ Федерико (IT)
(73) Патентообладатель(и):
С.И.М.А.К. С.П.А. (IT)
|
(54) УСОВЕРШЕНСТВОВАННАЯ КОНВЕЙЕРНАЯ НАМОТОЧНАЯ УСТАНОВКА ДЛЯ КАТАНОГО МАТЕРИАЛА
(57) Реферат:
Изобретение относится к установке для намотки катанки в прокатном стане. Установка содержит установленные за прокатным станом летучие ножницы для резки катанки, реверсивный разделитель, направляющее устройство для поступающей проволоки, наматываемой в бунт, по меньшей мере, две моталки для формирования бухт, каждая из которых имеет барабан с открывающимся внешним фланцем для обеспечения извлечения бухты сразу же после завершения намотки, причем фланец связан с подвижным направляющим средством введения проволоки для запуска намотки и формирования бунта, шлеппер для удаления и перемещения бунта в другое место, выполненный в виде стойки с флажковым поворотным рычагом портального типа, средствами для его подъема и опускания, на конце рычага имеется зацепляющее средство для зажима с помощью противолежащих зажимов или же губок, расположенных крест-накрест друг относительно друга и выполненных с возможностью их раскрывания для захвата ими и извлечения бунта из барабана моталок и помещения бунта после кантовки в зону последующей его обработки, зажимные губки могут взаимодействовать с расположенными в два ряда друг против друга подвижными валками для перевода их посредством поворотных рычагов и соответствующей системы, сообщающей им движение под воздействием текучей среды, находящейся под давлением, из повернутого вверх своего положения, в котором они прижимаются к бунту, причем валки смонтированы на противолежащем параллелограммном шарнирном сочленении, установленном на опоре валков вместе с устройством, упруго прижимающим их к бунту во время его намотки до тех пор, пока находящиеся друг против друга зажимные губки не зацепят бунт для извлечения его с оправки барабана наружу, зажав бунт между валками, при этом шлеппер расположен с возможностью перемещения бунта из моталки на находящуюся сзади обвязочную машину с двумя находящимися друг против друга обвязочными группами для обвязки бунта, находящегося между зажимными губками. Обеспечивается упрощение установки, повышение ее производительности и повышение качества катанки. 11 з.п. ф-лы, 16 ил.
Область техники, к которой относится изобретение
Изобретение относится к установке для намотки катанки в прокатном стане и предназначается для размещения ее по ходу технологического процесса непосредственно за проволочным, ленточным или полосовым прокатным станом, для которого вместо разрезания катанки летучими ножницами на отдельные куски предусматривается наматывание ее в бунты или рулоны, но не исключительно только лишь для этого.
Уровень техники
В данной области известны различные системы для непрерывного наматывания катанки, а также проволоки, предназначенные, например, для применения в других установках, среди которых можно, в качестве примера, назвать: установку, раскрываемую в патенте US-A-3,796,3 89, предназначенную для наматывания полосы и размещаемую в подающей линии с разделительной системой для двух намоточных машин, попеременно работающих в процессе наматывания с поочередной заменой друг друга.
Аналогичная установка раскрывается в патенте DE-A-4035193, в которой предусматривается наличие разделительной системы с летучими ножницами, предназначенной для раздельной подачи проволоки – без прекращения ее продвижения вперед – на любую из двух намоточных машин, благодаря чему становится возможным, в то время как происходит наматывание в одной из машин, приступить к извлечению бунта проволоки из другой машины.
Другая аналогичная установка рассматривается в патенте ЕР 1126933, где для каждой намоточной машины предусматривается наличие своего транспортировочного устройства, что позволяет удалить очередной намотанный бунт в осевом направлении из остановленной намоточной машины и передать упомянутый бунт на отводящий шлеппер, в то время как другая намоточная машина продолжает наматывание.
Известный уровень техники в данной области, относящейся к шлепперной стойке для бунтов, определяется следующими публикациями: патентами US-A-2,126,528, GB-A-1047571, US-A-3,105,653; реферативным патентным журналом Японии, т.1996, 06 от 28 июня 1996 г. (1996-06-28) и патентом JP-8039146-A, а также патентом WO 96/30137 A.
Для известных технических решений характерно наличие предельных скоростей ведения процесса, а также они сложны по своей конструкции, а их осуществление связано со значительными расходами.
В процессе наматывания могут происходить непреднамеренные остановки по причине запутывания, а транспортировочные устройства и складирующие приспособления для рулонов и бунтов непрактичны и действуют слишком медленно. Эти машины громоздки. Таким образом, обе системы страдают одним или несколькими из вышеупомянутых недостатков и ограничений.
В частности, техническое решение по патенту ЕР 1126933 является очень сложным и неэффективным – в особенности из-за ограниченной скорости проведения операций открывания и закрывания моталки, которые осуществляются при помощи системы, выполненной в виде крышки флажкового типа со всеми вытекающими отсюда недостатками. Сложность данного технического решения обусловлена, кроме того, также наличием соответствующей системы, предназначенной для захвата и перемещения сформированного бунта с помощью направляющих рельсов, проложенных по основанию, тележек и тому подобного оборудования. Все эти особенности приводят к тому, что система получается очень сложной, неудобной в пользовании, а также труднодоступной для проведения ее технического обслуживания. Кроме того, скорость протекания технологического процесса дополнительно ограничивается также в связи со сложной конструкцией систем, предназначенных для направления движения проволоки при заправке ее в машину, а также для контроля движения бунтов при захвате их после формирования.
Раскрытие изобретения
Цель настоящего изобретения заключается в устранении вышеупомянутых недостатков, повышении производительности установки и повышении качества и (или) снижении стоимости обработанного материала.
Согласно изобретению, установка для намотки катанки содержит установленные за прокатным станом летучие ножницы для резки катанки и реверсивный разделитель, направляющее устройство для поступающей проволоки, наматываемой в бунт, по меньшей мере, две моталки для формирования бухт, каждая из которых имеет барабан с открывающимся внешним фланцем для обеспечения извлечения бухты сразу же после завершения намотки, причем фланец связан с подвижным направляющим средством для обеспечения запуска намотки для формирования проволочного бунта, шлепперное средство для проволочных бунтов, выполненное с обеспечением возможности удаления с его помощью проволочного бунта и перемещения проволочного бунта в другое место, шлепперное средство для проволочных бунтов выполнено в виде стойки с флажковым поворотным рычагом портального типа, снабженным средствами для его поднимания и опускания, а на конце рычага имеется зацепляющее средство для зажима с помощью противолежащих зажимов или же губок, расположенных, по существу, крест-накрест друг относительно друга и выполненных с возможностью их раскрывания для захвата ими одного из проволочных бунтов, извлечения проволочного бунта из барабана моталок и помещения его после кантования в соответствующую зону последующей его обработки, зажимные губки выполнены с возможностью взаимодействия с расположенными в два ряда друг против друга подвижными валками для перевода их посредством поворотных рычагов и соответствующей системы, сообщающей им движение под воздействием текучей среды, находящейся под давлением, из повернутого вверх своего положения, в котором они прижимаются к проволочному бунту, причем валки смонтированы на противолежащем параллелограммном шарнирном сочленении, установленном на опоре валков вместе с устройством, упруго прижимающим их к проволочному бунту во время наматывания проволочного бунта до тех пор, пока находящиеся друг против друга зажимные губки не зацепят проволочный бунт для извлечения его с оправки барабана наружу, зажав проволочный бунт между упомянутыми валками, при этом шлепперное средство расположено с возможностью перемещения проволочного бунта из моталки на находящуюся сзади обвязочную машину с двумя находящимися друг против друга обвязочными группами для обвязки проволочного бунта, находящегося между зажимными губками, расположенными крест-накрест друг относительно друга.
Предпочтительно, внешний фланец барабана выполнен из фланцевых секторов, шарнирно закрепленных на моталке посредством рычажного механизма для поворота подобно лепесткам цветка из положения, соответствующего состоянию раскрытого цветка, а именно, из положения, по существу, радиального в ортогональном направлении по отношению к оси вращения барабана с получением, по существу, закрытого барабана для намотки катанки с формированием из нее проволочного бунта, в положение, соответствующее закрытому состоянию цветка, а именно, в положение кверху, с меньшим диаметром, чем внутренний диаметр проволочного бунта, для его извлечения.
Установка может быть снабжена внутренним приводным устройством с выполненным в нем осевым каналом, проходящим вдоль центральной оси к барабану для перемещения фланцевых секторов посредством внутреннего рычажно-шарнирного сочленения с передачей движения к барабану.
Целесообразно фланцевые секторы выполнять с возможностью поворота посредством рычажно-шарнирного механизма относительно вала невращающегося осевого цилиндра.
Оправка барабана может содержать продольные секторы, шарнирно закрепленые с одной своей стороны к фланцу основания барабана, и другие, подвижные при подведении к оси барабана и отведении от этой оси, переходящие от цилиндрической внешней формы к конической внешней форме с меньшим нижним основанием, имеющим диаметр, меньший, чем внутренний диаметр проволочного бунта, для его извлечения, при этом шарнирное подвижное средство имеет такое же внутреннее подвижное средство как фланцевые секторы, так что при цилиндрической форме оправки барабана внешние фланцевые секторы разомкнуты в форме раскрытого цветка с образованием барабана для намотки проволочного бунта, а при конической форме оправки барабана внешние фланцевые секторы располагаются в форме закрытого цветка, а именно, направлены кверху, с меньшим диаметром, чем внутренний диаметр проволочного бунта, для его извлечения.
Целесообразно в продольных секторах выполнять внутренние каналы для циркуляции в них соответствующей охлаждающей среды.
Для подвода охлаждающей среды и обеспечения ее циркуляции выполняют соединительные каналы, расположенные соосно друг другу вдоль не вращающейся центральной оси относительно барабана.
Наружная поверхность продольных секторов может быть выполнена волнообразной за счет выполнения на них соответствующих продольных наружных цекованных отверстий.
Предпочтительно, чтобы подвижные направляющие средства для поступающей проволоки были смонтированы на двух взаимосвязанных механизмах для сообщения им движения, первый из которых предназначен для сообщения вращательного движения поворотному рычагу с подведением его к барабану, а затем с отведением его от барабана назад, а второй – для обеспечения в ограниченных пределах быстрого перемещения в положение задачи соответствующего направления движения проволоки при формировании первых витков очередного проволочного бунта впритык к барабану и ускоренного возврата его из этого положения посредством шарнирного крепления на конце рычага первого механизма для сообщения движения.
Характеристики, приведенные в зависимых пунктах формулы изобретения, относятся, в частности, к техническим решениям, обеспечивающим определенные преимущества.
Полученные преимущества позволяют добиться намеченной цели и, в частности, обеспечивают получение высокой многофункциональной производительности и, кроме того, позволяют выпускать высококачественную продукцию при снижении себестоимости ее производства.
Совершенно очевидно, что все эти преимущества обеспечиваются благодаря применению системы удаления бунтов, имеющей вертикальную ось.
Перечень фигур чертежей.
Характеристики настоящего изобретения и другие относящиеся к нему отличительные признаки станут более понятными при рассмотрении прилагаемых чертежей, приводимых в качестве примера, не накладывающего каких-либо ограничений на данное изобретение, и на которых:
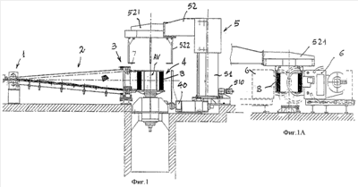
– Фигура 1 представляет собой схематический вид сбоку установки для намотки, применяемой в качестве концевой части прокатного стана и предназначенной для осуществления намоточной стадии или же для наматывания в первой намоточной машине из двух, действующих согласованно одинаковых намоточных машин, установленных рядом друг с другом и снабженных разветвлением со связанными с ним летучими ножницами.
– Фигура 1А представляет собой иллюстрацию стадии укладки бунта на посту скрепления.
– Фигура 2 представляет собой вид сверху для установки, показанной на Фигуре 1, и где можно увидеть две намоточные машины, установленные рядом друг с другом и связанные со шлеппером флажкового типа, а именно – со стойкой, имеющей поворотный поддерживающий рукав для поочередного удаления бунтов с каждой из обеих намоточных машин и укладки упомянутых бунтов на находящийся сзади пост скрепления, транспортировки и хранения, который показан на фигуре 2А.
– Фигуры 3А и 3В представляют собой вид сбоку в вертикальном разрезе для средникового шлеппера, такого же, как и на предыдущих фигурах, соответственно в опущенном положении без бунта и в поднятом положении с бунтом, подготовленным к перемещению посредством поворачивания.
– Фигура 3С представляет собой вид сверху для захватного приспособления с четырьмя зажимными губками для захвата бунта, которое находится на конце портального рукава средникового шлепперного устройства.
– Фигуры 4 и 4А представляют собой соответственно вид сбоку в вертикальном разрезе и вид сверху для намоточной машины, показанной со стороны подачи в нее наматываемой проволоки (АВ) и имеющей пару направляющих губок для проволоки, которые здесь опущены вниз так, чтобы охватывать собой моталку для проволоки, обеспечивая тем самым автоматическую заправку проволоки, рассекаемой летучими ножницами (4С-2,3), находящимися перед данной установкой по ходу технологического процесса, тогда как пара валков, удерживающих бунт в уплотненном состоянии в конце его наматывания, поворачивается вверх и отводится от моталки на некоторое расстояние (4В-422).
– Фигура 5 представляет собой вид, иллюстрирующий стадию, непосредственно следующую за заправкой проволоки и соответствующую начальному этапу наматывания (F), при этом находящиеся друг против друга направляющие губки (4С-431) для проволоки сразу же немного приподнимаются кратковременным расцепляющим движением из предыдущего их положения, в котором они направляют перемещающуюся проволоку, причем это движение выполняется очень быстро, поскольку оно не сопровождается общим расцеплением, осуществляемым с помощью расцепляющего механизма.
– Фигуры 6 и 6А – вид того же самого устройства, которое показано на предыдущих фигурах, но в таком своем положении, когда находящиеся друг против друга направляющие губки для проволоки полностью переведены в другое свое положение, которое они занимают за счет проворачивания их на другом шарнирном сочленении, отходя при этом в сторону от барабана (AV), тогда как две пары находящихся друг против друга валков (422), поворачиваясь, подводятся к проволочному бунту (В), который формируется в процессе вращения.
– Фигура 7 представляет собой изображенный в увеличенном масштабе вид, показывающий отдельные детали конструкции намоточного устройства для проволоки, предназначенной для формирования проволочного бунта, (моталки) с частичным осевым разрезом, чтобы показать соответствующий движущийся механизм и охлаждающее устройство.
Упомянутая моталка, или намоточное устройство, находится в положении наматывания.
– Фигура 7А представляет собой соответствующий вид намоточного устройства (AV), такого же, как и на предыдущей фигуре, но здесь оно показано с частичным осевым разрезом, причем движущийся механизм все еще виден здесь, но последний уже трансформировался из закрытой моталки в коническую моталку (410), и кромка (411) моталки при этом отгибается, поворачиваясь вверх, а именно, по направлению к оси, а также в наружном направлении, обеспечивая возможность извлечения упомянутого бунта (В) вдоль его оси.
– Фигура 7В представляет собой вид в плане для захватов, или секторов оправки моталки, количество которых составляет четыре и которые при соответствующем своем перемещении образуют собой намоточное устройство, а именно, оправку намоточного устройства с соответствующими внутренними отверстиями в ней, показанными пунктирными линиями, причем образующиеся при этом каналы предназначаются для циркуляции по ним охлаждающей воды и, следовательно, для отвода тепла, отдаваемого горячекатаной проволокой, поступающей для наматывания ее в бунт; кроме того, специфическая волнообразная внешняя форма упомянутых захватов способствует как можно большему уменьшению поверхности контакта их с проволокой, что позволяет улучшить рассеяние тепла за счет аэрации.
– Фигура 8 представляет собой вид спереди для захвата (410) моталки, где показаны соответствующие внутренние каналы (4102), проходящие вверх и вниз в виде змеевика и предназначенные для охлаждения.
Осуществление изобретения
Как показано на предыдущих фигурах, установка для намотки катанки (см. Фигуры 1-1А, 2-2А) включает в себя раздельную систему или же реверсивный разделитель (2) известного типа с летучими ножницами (1), которое отводит проволоку по двум линиям, подавая ее попеременно то на одну, то на другую линию, по которым она направляется к любой из двух моталок (4), установленных соответственно рядом друг с другом, с помощью соответствующих направляющих устройств (3) известного типа для проволоки, наматываемой в бунт (В).
В то время как в одной моталке происходит формирование проволочного бунта, другая моталка, находящаяся рядом с первой, останавливается, и законченная проволочная бухта переносится с помощью захвата на шлеппер (5, , 521).
Шлеппер для проволочных бунтов (позиция 5 на Фигурах 1, 1А, 2, 2А, 3А, 3В, 3С)
Шлеппер (5, , 521, Фигура 1А) портального типа для бунтов, а именно – имеющий стойку (51) с рычагом (52) портального типа, который выполнен поворотным (510), и конец (521) которого несет на себе раскрывающееся зажимное устройство, имеющее пару зажимов или же находящихся крест-накрест друг против друга губок (522) для захватывания бунта (В) и удаления его в осевом направлении из барабана (AV) соответствующей моталки (4, 4А) с тем, чтобы затем переместить упомянутый бунт (Фигура 2) из остановленной моталки на находящийся сзади пост скрепления или соединения бунтов, где бунты связывают при помощи двух известных в данной области и находящихся друг против друга обвязочных машин или же бунтосвязывающих машин (6, Фигура 2А), после чего осуществляется перемещение проволочного бунта в соответствующее хранилище для связанных бунтов (В1).
Таким образом, предлагаемый шлеппер относится к средниковым шлепперным устройствам портального типа, а его поворотный рычаг (52) может подниматься вверх и опускаться вниз при помощи поршня (520), перемещающегося под воздействием текучей среды, находящейся под давлением, и осуществляющего операции захватывания и укладки проволочных бунтов, тогда как поворачивание рычага обеспечивается при помощи соответствующего электродвигателя (510) без редуктора или же с редуктором, установленного в основании стойки на соответствующем опорном блоке (5101).
Поднимание рычага (52) вверх и опускание его вниз обеспечиваются с помощью коробчатой направляющей (520), снабженной парой расположенных друг против друга направляющих валков (5201), перемещающихся со скольжением по стойке, имеющей двутавровый профиль.
Захватывание проволочных бунтов облегчается благодаря применению зажимного устройства с четырьмя зажимами, которые самоцентрируются относительно проволочного бунта (В), причем эти зажимы размыкаются и смыкаются при помощи соответствующих цилиндров (5220), работающих под воздействием текучей среды, находящейся под давлением, и обеспечивающих размыкание и смыкание зажимов.
Таким образом, следует понимать, что такое движение, осуществляемое при перемещении, происходит очень быстро и на открытом воздухе, не вызывая при этом каких-либо затруднений или же препятствий для окружающих зон, что дополнительно способствует получению еще более компактной установки. Кроме того, совершенно очевидно, что механизм такого типа является очень простьм и исключительно надежным, а необходимое техническое обслуживание его сводится к минимуму.
Намоточные группы (4, 4А, 4В, 4С на Фигурах 4, 4А, 5, 6, 6А)
Две намоточные группы идентичны между собой и расположены рядом с намоточным устройством (F) для проволоки с раскрывающимся барабаном (AV), имеющим вертикальную ось.
В каждую из указанных групп, помимо центрального намоточного барабана (AV-41), входят также два расположенных одно напротив другого бунтоуплотняющих устройств (4В), выполненных в виде соответствующих пар валков (422), а еще две направляющие губки автоматического действия для проволоки, автоматически обеспечивающие соответствующее направление движения проволоки в начальный момент ее наматывания (4С).
В центре находится моталка (41) с раскрывающимся барабаном (AV).
Расположенные друг против друга бунтоуплотняющие устройства (4В)
Эти устройства представляют собой соответственно два шарнирных устройства (42), расположенных по обе стороны от барабана (AV) относительно линии продвижения проволоки, которая проходит боком внутрь моталки (АВ).
Валки смонтированы на сочлененном рычаге (421), шарнирно крепящемся к конструкции основания (420) и поворачивающемся в процессе работы из удаленного своего положения (Фигура 4) в такое свое положение, в котором он примыкает к очередному проволочному бунту (В, Фигура 6). Это его движение осуществляется при помощи основного цилиндра (4212), работающего под воздействием текучей среды, находящейся под давлением, и расположенного на реактивном рукаве (4210).
Упомянутые валки (422, см. Фигуру 6А) смонтированы попарно таким образом, чтобы образовался параллелограмм (4222) вместе с соответствующими парами расположенных друг против друга рычагов, смонтированных на опоре (4220) валков и упруго перемещающихся под воздействием давления, оказываемого на них соответствующим устройством (4221), выполненным в виде цилиндра, в который подается рабочая среда, находящаяся под давлением.
Таким образом, осуществляется простое и надежное перемещение и обеспечивается неизменная ориентация валков, достаточная для подконтрольного выполнения последних витков проволочного бунта (В) в намоточном устройстве (4V-41), что позволяет избежать появления в бунте слабины перед его захватыванием.
Направляющая группа (4С) для проволоки
Направляющая группа для проволоки представляет собой две находящиеся одна напротив другой полукруглые направляющие губки (431) для поступающей проволоки, шарнирно закрепленные сбоку в горизонтальном положении (430) и управляемые при помощи быстродействующего цилиндра (4311), работающего под воздействием текучей среды, находящейся под давлением, и расположенного на конце рычага (4310), перемещающего губки и шарнирно закрепленного сбоку на основании машины (4301), причем этот рычаг, поворачиваясь, отводится в сторону и возвращается назад при помощи соответствующего реактивного рычага (43101), перемещающегося под воздействием давления, оказываемого на него основным цилиндром (43102), в который подается рабочая среда, находящаяся под высоким давлением.
Таким образом, следует понимать, что тогда как находящиеся один напротив другого основные силовые цилиндры (43102) отводят в сторону направляющие губки (431) для поступающей проволоки и возвращают их назад, заключительное перемещение губок, осуществляемое быстро и с высокой точностью при введении их в контакт с проволокой и при выведении их из контакта с ней, производится с помощью отдельного органа управления (4311) кратковременного действия, работающего точно и быстро, так как в противном случае было бы практически невозможно добиться получения необходимой рабочей характеристики, применяя для подвода и отвода губок устройство (43102) такого типа, для которого характерен сравнительно большой рабочий ход.
Таким образом, благодаря отмеченной здесь выше особенности настоящего изобретения обеспечиваются очень высокая скорость работы предложенной установки, а также хорошая рабочая характеристика без возникновения при этом какой-либо опасности запутывания проволоки или же необходимости соответствующего снижения скорости продвижения наматываемой проволоки, либо необходимости формирования соответствующих петель с целью приспособиться к высокой скорости продвижения проволоки.
Кратковременное перемещение губок при введении их в контакт и при выведении их из контакта с проволокой наглядно показано на Фигуре 5.
Намоточная центральная группа – намоточное устройство (4А, Фигуры 7, 7А, 7В, 8)
Эта группа содержит центральную моталку (41) с раскрывающимся и закрывающимся барабаном (AV).
Действие барабана (AV) при его раскрывании и закрывании:
Раскрывание и закрывание барабана (AV), необходимое для извлечения из него проволочного бунта (В), после того как завершается его наматывание, производится с помощью поворотного лепесткового фланца (411), имеющего четыре сектора с реактивным рычагом (4111), перемещаемым посредством гильзы (413), которая движется в осевом направлении под воздействием цилиндра (4131-4132), в который из контура (4133) подается рабочая среда, находящаяся под высоким давлением, с передачей развиваемого при этом усилия на невращающееся основание (41330) моталки, расположенное соосно по отношению к вращающемуся барабану (AV).
Соответствующее преимущество, обеспечиваемое данным техническим решением, имеет очень важное значение для обеспечения компактности и простоты привода, осуществляющего вращение относительно гильзы (413) благодаря концевому соединению (4131) вала.
Изменение внешней формы оправки барабана (AV)
Оправка барабана (AV) состоит из четырех секторов, а именно – из четырех захватов (410), шарнирно закрепленных на основании (4121) нижнего фланца (412) намоточного устройства, который служит опорой для наматываемого проволочного бунта.
В верхней своей части указанные подвижные секторы (410) оправки намоточного устройства имеют шарнирное сочленение (4112) с упомянутой гильзой (413), выполненной с обеспечением возможности движения ее в осевом направлении.
Таким образом, в то время как подвижная гильза (413) поднимается вверх, происходит раскрывание находящихся сверху нее фланцевых лепестков (411), а более конкретно – они перемещаются при этом в ортогональном направлении по отношению к оси намоточного устройства, обеспечивая тем самым возможность формирования проволочного бунта (В) в процессе наматывания проволоки, а секторы (410) оправки намоточного устройства располагаются в данном случае параллельно друг относительно друга, образуя при этом цилиндр (Фигура 7).
Как только наматывание очередного проволочного бунта будет закончено, для того чтобы обеспечить возможность легкого извлечения его наружу, подвижная внутренняя гильза (413) отводится назад по направлению вниз, одновременно оказывая соответствующее воздействие на следующие элементы:
– верхние фланцевые лепестки намоточного устройства, которые при этом смыкаются друг с другом в верхнем направлении наподобие бутона цветка;
– секторы сердцевины, которые при этом снова находят на верхнюю часть (410, Фигура 7А), определяя собой коническую форму, размер которой по верхнему основанию конуса меньше, чем по нижнему его основанию.
Таким образом, при этом обеспечивается возможность извлечения намотанного проволочного бунта (В) при помощи губок зажимного устройства (522) и облегчается выполнение этой операции.
Система охлаждения
Внутри полукруглых секторов, или захватов, (410) оправки намоточного устройства выполнены отверстия, образующие собой соответствующие каналы (4102).
Указанные каналы сообщаются с соединительным трубопроводом (41020) посредством внутреннего сдвоенного трубопровода, образующего два канала (41021, 41022), расположенных соосно друг относительно друга.
Таким образом, обеспечивается охлаждение намоточного устройства.
Кроме того, упомянутые захваты, или секторы, сердцевины выполнены таким образом, что они имеют волнообразную внешнюю форму, образующуюся благодаря наличию на них чередующихся продольных наружных отверстий (4101), обработанных цекованием.
Таким образом, при этом обеспечивается соответствующее уменьшение поверхности контакта между поверхностью оправки барабана (AV) и наматываемым проволочным бунтом (В), а также облегчается циркуляция воздуха, который проходит сквозь указанные продольные цекованные наружные отверстия.
Барабан (AV) вращается соосно своей центральной оси при помощи соответствующего электропривода, известного в данной области техники, который подсоединяется к нему при помощи конической зубчатой передачи (40, 401-402).
Намоточный цикл
Начальная стадия наматывания проволочного бунта осуществляется при помощи упомянутого устройства (431), представляющего собой две находящиеся одна напротив другой подвижные полукруглые губки и работающего согласованно с системой (АВ) подачи проволоки, и заключается в наматывании нескольких первых, плотно прилегающих друг к другу витков проволоки на боковую сторону или же на основание фланца барабана (AV) рассматриваемой моталки.
Указанное устройство принимает проволоку (F), поступающую к нему от распределителя (2-3), плотно прижимая ее при этом к оправке намоточного устройства (AV), а после наматывания нескольких первых витков, зона формирования проволочного бунта должна быть немедленно освобождена. Для того чтобы выполнить эту операцию наиболее эффективным способом, очень быстро выполняется соответствующее движение, обеспечивающее ускоренное перемещение (кратковременное вращение 4310, Фигура 5).
Затем, выполняя соответствующие вращательные движения (4310-43102) в замедленном темпе и в более широких пределах, отводят направляющие губки для проволоки друг от друга, освобождая необходимое пространство для упомянутого подконтрольного наматывания последних витков проволочного бунта, к которому при этом прижимаются валки (422).
Таким образом, когда намотанный проволочный бунт остановится, последние его витки удерживаются в плотно прижатом друг к другу состоянии до тех пор, пока к ним не будет подведено зажимное устройство (522) шлеппера (5), четыре губки которого поворачиваются на 45°, зажимая при этом намотанный проволочный бунт (В) между упомянутыми валками (422).
После этого, валки (422) отводятся в разные стороны от намотанного проволочного бунта (В), который при этом все еще продолжает удерживаться от разматывания при помощи зажимного устройства. В то же самое время происходит также и раскрывание барабана (AV), благодаря чему обеспечивается подтягивание и смыкание друг с другом находящихся сверху него фланцевых лепестков, которые ориентированы в верхнем направлении.
Таким образом, при этом происходит также внутреннее расслабление блокированного проволочного бунта, и его легко можно будет снять соответствующим движением вверх, не поднимая при этом рычаг (52) шлеппера (5), и развернуть в заднем направлении для укладки на обвязочную машину, имеющую две находящиеся друг против друга обвязочные группы (6).
Начиная с этого момента, весь цикл повторяется снова: происходит возврат направляющих губок для проволоки в свое исходное положение, в котором они вплотную примыкают к оправке барабана (AV) с тем, чтобы обеспечить тем самым прием новой порции проволоки (F), поступающей для наматывания (Фигура 4).
Формула изобретения
1. Установка для намотки катанки в прокатном стане, содержащая установленные за прокатным станом летучие ножницы (1) для резки катанки и реверсивный разделитель (2), направляющее устройство (3) для поступающей проволоки, наматываемой в бунт, по меньшей мере, две моталки (4) для формирования бухт (В), каждая из которых имеет барабан (AV) с открывающимся внешним фланцем для обеспечения извлечения бухты (В) сразу же после завершения намотки, причем фланец связан с подвижным направляющим средством введения проволоки (43) для обеспечения запуска намотки для формирования проволочного бунта (В), шлепперное средство (5) для проволочных бунтов, выполненное с обеспечением возможности удаления с его помощью проволочного бунта (В) и перемещения проволочного бунта в другое место, отличающаяся тем, что шлепперное средство (5) для проволочных бунтов выполнено в виде стойки (51) с флажковым поворотным рычагом (52) портального типа (510-5101), снабженным средствами (520, 5200-5201) для его поднимания и опускания, а на конце рычага (521) имеется зацепляющее средство для зажима с помощью противолежащих зажимов или же губок (522), расположенных, по существу, крест-накрест друг относительно друга и выполненных с возможностью их раскрывания для захвата ими одного из проволочных бунтов (В), извлечения проволочного бунта из барабана (AV) моталок и помещения его после кантования в соответствующую зону (В 1-6) последующей его обработки, зажимные губки (522) выполнены с возможностью взаимодействия с расположенными в два ряда друг против друга подвижными валками (422) для перевода их посредством поворотных рычагов (421-420) и соответствующей системы (4212), сообщающей им движение под воздействием текучей среды, находящейся под давлением, из повернутого вверх своего положения, в котором они прижимаются к проволочному бунту, причем валки (422) смонтированы на противолежащем параллелограммном шарнирном сочленении (4222), установленном на опоре (4220) валков вместе с устройством (4221), упруго прижимающим их к проволочному бунту (В) во время наматывания проволочного бунта (В) до тех пор, пока находящиеся друг против друга зажимные губки (522) не зацепят проволочный бунт (В) для извлечения его с оправки барабана (AV) наружу, зажав проволочный бунт между упомянутыми валками (422), при этом шлепперное средство (5) расположено с возможностью перемещения проволочного бунта (В) из моталки (4) на находящуюся сзади обвязочную машину с двумя находящимися друг против друга обвязочными группами (6) для обвязки проволочного бунта (В), находящегося между зажимными губками (522), расположенными крест-накрест относительно друг друга.
2. Установка по п.1, отличающаяся тем, что внешний фланец барабана (AV) выполнен из фланцевых секторов (411), шарнирно закрепленных на моталке посредством рычажного механизма (4111) для поворота подобно лепесткам цветка из положения, соответствующего состоянию раскрытого цветка, а именно, из положения, по существу, радиального в ортогональном направлении по отношению к оси вращения барабана (AV) с получением, по существу, закрытого барабана для намотки катанки с формированием из нее проволочного бунта (В), в положение, соответствующее закрытому состоянию цветка, а именно, в положение кверху, с меньшим диаметром, чем внутренний диаметр проволочного бунта (В), для его извлечения.
3. Установка по п.2, отличающаяся тем, что она снабжена внутренним приводным устройством (413) с выполненным в нем осевым каналом, проходящим вдоль центральной оси к барабану (4133), для перемещения фланцевых секторов (411) посредством внутреннего рычажно-шарнирного сочленения (4111) с передачей движения к барабану (AV).
4. Установка по п.3, отличающаяся тем, что фланцевые сектора (411) выполнены с возможностью поворота посредством шарнирно-рычажного механизма (4111-413) относительно вала (4131) невращающегося осевого гидроцилиндра (4132).
5. Установка по любому из пп.2-4, отличающаяся тем, что оправка барабана (AV) содержит продольные сектора (410), шарнирно закрепленные с одной стороны к фланцу (4121-412) основания барабана, и другие, подвижные при подведении к оси барабана и отведении от этой оси, переходящие от цилиндрической внешней формы к конической внешней форме с меньшим нижним основанием, имеющим диаметр, меньший, чем внутренний диаметр проволочного бунта (В), для его извлечения, при этом шарнирное подвижное средство (4112) имеет такое же внутреннее подвижное средство (4112-413) как фланцевые сектора (411), так что при цилиндрической форме оправки барабана (AV-410) внешние фланцевые сектора разомкнуты в форме раскрытого цветка с образованием барабана для намотки проволочного бунта, а при конической форме оправки барабана (AV-410) внешние фланцевые сектора располагаются в форме закрытого цветка, а именно, направлены кверху, с меньшим диаметром, чем внутренний диаметр проволочного бунта (В), для его извлечения.
6. Установка по п.5, отличающаяся тем, что в продольных секторах (410) выполнены внутренние каналы (4102) для циркуляции в них соответствующей охлаждающей среды.
7. Установка по п.6, отличающаяся тем, что для подвода охлаждающей среды и обеспечения ее циркуляции выполнены соединительные каналы (41021, 1022), расположенные соосно друг другу вдоль невращающейся центральной оси относительно барабана (AV).
8. Установка по п.5, отличающаяся тем, что наружная поверхность продольных секторов (410) выполнена волнообразной за счет выполнения на них соответствующих продольных наружных цекованных отверстий (4101).
9. Установка по любому из пп.6 или 7, отличающаяся тем, что наружная поверхность продольных секторов (410) выполнена волнообразной за счет выполнения на них соответствующих продольных наружных цекованных отверстий (4101).
10. Установка по любому из пп.1-4 и 6-8, отличающаяся тем, что подвижные направляющие средства (43) для поступающей проволоки смонтированы на двух взаимосвязанных механизмах для сообщения им движения, первый из которых предназначен для сообщения вращательного движения поворотному рычагу (4301, 4310, 43101, 43102) с подведением его к барабану (AV), а затем с отведением его от барабана назад, а второй – для обеспечения в ограниченных пределах быстрого перемещения в положение задачи соответствующего направления движения проволоки при формировании первых витков очередного проволочного бунта впритык к барабану (4311) и ускоренного возврата его из этого положения посредством шарнирного крепления на конце рычага (4310) первого механизма для сообщения движения.
11. Установка по п.5, отличающаяся тем, что подвижные направляющие средства (43) для поступающей проволоки смонтированы на двух взаимосвязанных механизмах для сообщения им движения, первый из которых предназначен для сообщения вращательного движения поворотному рычагу (4301, 4310, 43101, 43102) с подведением его к барабану (AV), а затем с отведением его от барабана назад, а второй – для обеспечения в ограниченных пределах быстрого перемещения в положение задачи соответствующего направления движения проволоки при формировании первых витков очередного проволочного бунта впритык к барабану (4311) и ускоренного возврата его из этого положения посредством шарнирного крепления на конце рычага (4310) первого механизма для сообщения движения.
12. Установка по п.9, отличающаяся тем, что подвижные направляющие средства (43) для поступающей проволоки смонтированы на двух взаимосвязанных механизмах для сообщения им движения, первый из которых предназначен для сообщения вращательного движения поворотному рычагу (4301, 4310, 43101, 43102) с подведением его к барабану (AV), а затем с отведением его от барабана назад, а второй – для обеспечения в ограниченных пределах быстрого перемещения в положение задачи соответствующего направления движения проволоки при формировании первых витков очередного проволочного бунта впритык к барабану (4311) и ускоренного возврата его из этого положения посредством шарнирного крепления на конце рычага (4310) первого механизма для сообщения движения.
РИСУНКИ
|
|