|
|
(21), (22) Заявка: 2006125412/02, 11.11.2004
(24) Дата начала отсчета срока действия патента:
11.11.2004
(30) Конвенционный приоритет:
16.12.2003 DE 10360382.4
(43) Дата публикации заявки: 27.01.2008
(46) Опубликовано: 27.04.2009
(56) Список документов, цитированных в отчете о поиске:
DE 29620018 U, 08.01.1998. US 6217219 B1, 17.04.2001. SU 1524277 A1, 27.04.1999. RU 2051762 C1, 03.04.1992.
(85) Дата перевода заявки PCT на национальную фазу:
17.07.2006
(86) Заявка PCT:
EP 2004/012782 20041111
(87) Публикация PCT:
WO 2005/061139 20050707
Адрес для переписки:
129090, Москва, ул. Б.Спасская, 25, стр.3, ООО “Юридическая фирма Городисский и Партнеры”, пат.пов. С.А.Дорофееву
|
(72) Автор(ы):
РЕИНГ Конрад (DE), КЕЛЛЕР Карл (DE), ХЮККЕР Рольф (DE)
(73) Патентообладатель(и):
СМС ДЕМАГ АГ (DE)
|
(54) УСТРОЙСТВО УПЛОТНЕНИЯ
(57) Реферат:
Изобретение относится к устройству уплотнения для подшипника валков прокатной клети. Устройство уплотнения подшипника валка содержит цапфу с уплотнением, перед которым со стороны бочки валка расположено кольцевое уплотнение, жестко связанное с кольцевой надставкой корпуса подшипника и уплотнительная кромка которого прилегает к торцевой стороне валка с уплотняющим контактом, причем L-образный в поперечном сечении кольцевой профиль жестко связан его первой полкой с торцевой стороной валка, уплотнительная кромка прилегает к областям первой полки, вторая полка окружает L-образный кольцевой профиль, кольцевое уплотнение и область кольцевой надставки с незначительным зазором и уплотняет относительно бочки валка, кольцевая надставка имеет с наружной стороны и наружу открытую сточную канавку, причем, по меньшей мере, находящаяся в контакте с уплотнительной кромкой область первой полки упрочнена, например, полированием накаточными роликами и/или частично азотирована плазменным способом, и/или целенаправленно окислена. Обеспечивается увеличение срока службы уплотнения. 5 з.п. ф-лы, 1 ил.
Изобретение касается устройства уплотнения для подшипника валка с уплотнением цапфы, перед которым со стороны бочки валка расположено кольцевое уплотнение, которое жестко связано с кольцевой надставкой корпуса подшипника и рабочая уплотнительная кромка которого прилегает к торцевой стороне валка с уплотняющим контактом.
Такое устройство уплотнения известно, например, из документа DE 69410752 T2. Показанное здесь кольцевое уплотнение в жестком рабочем режиме валка постоянно подвержено воздействию смешанного с загрязнениями средства охлаждения, вследствие чего уплотнительная кромка имеет лишь очень короткий срок службы. К тому же, лежащая в противотоке поверхность, т.е. торцевая сторона валка изнашивается содержащимися в средстве охлаждения загрязнениями непропорционально сильно, так что также эта лежащая в противотоке поверхность имеет лишь короткий срок службы. Далее, каждое кольцевое уплотнение в своей нижней области имеет отверстия, которые служат для того, чтобы смешанное с загрязнениями средство охлаждения, проникшее между уплотнительной кромкой и лежащей в противотоке поверхностью в область расположенного позади лабиринта, могло снова вытекать из лабиринта. По меньшей мере, в области верхних валков прокатной клети создаваемые соседними валками водяные брызги могут проникать непосредственно в это отверстие, так что лежащее пространственно позади уплотнение цапфы будет чрезмерно нагружено загрязненным средством охлаждения.
Документ US-B1-6217219 раскрывает уплотнение подшипника с равномерной промывкой жидкостью. Использование такого уплотнения подшипника в прокатном стане не представляется очевидным. Представленный здесь ротор имеет торцы, которые затратны в производстве и обработке, и они не подходят для быстроизнашиваемых валков.
Полезная модель DE 29620018 U1 раскрывает подшипник валка для прокатной клети. Здесь перед уплотнением цапфы включено кольцевое уплотнение с кольцевой надставкой. Расположенный перед кольцевой надставкой вход лабиринта размещен, однако, таким образом, что поступающие от валка загрязнения могут беспрепятственно попадать к кольцевому уплотнению. Из документа D2 также нельзя получить сведений об обработке поверхности кольцевой надставки.
В основе изобретения лежит задача представить устройство уплотнения, в котором уплотняющая кромка кольцевого уплотнения едва ли будет подвержена воздействию смешанного с загрязнениями средства охлаждения, имеет больший срок службы, и при этом никакие водяные брызги не смогут проникать в выпускные отверстия. Кроме того, в основе изобретения лежит задача повысить срок службы, связанной с кольцевым уплотнением, лежащей в противотоке рабочей поверхности.
Для решения этой задачи предлагается, чтобы с торцевой стороной валка был жестко связан L-образный в поперечном сечении кольцевой профиль своей первой полкой, чтобы уплотнительная кромка прилегала к областям этой первой полки, чтобы вторая полка L-образного кольцевого профиля окружала с незначительным зазором кольцевое уплотнение и области кольцевой надставки и уплотняла со стороны бочки валка, и чтобы кольцевая надставка с наружной стороны имела открытую наружу сточную канавку.
Посредством того, что уплотнительная кромка прилегает к первой полке L-образного кольцевого профиля, износ торцевой стороны валка понижается. Окружающая кольцевое уплотнение и часть кольцевой надставки вторая полка обеспечивает то, что смешанное с загрязнениями средство охлаждения не может попадать непосредственно на кольцевое уплотнение. Благодаря незначительному расстоянию второй полки от кольцевой надставки обеспечивается образование своего рода лабиринта, через который едва ли смешанное с загрязнениями средство охлаждения сможет попадать вплоть до кольцевого уплотнения. Чтобы перед входом образованного между второй полкой и кольцевой надставкой лабиринта не смогло возникать никакого скопления смешанного с загрязнениями средства охлаждения, здесь предусмотрена сточная канавка, через которую вытекает смешанное с загрязнениями средство охлаждения, прежде чем оно вообще может попадать в лабиринт.
При этом выгодно, когда вторая полка прикрывает кольцевую надставку вплоть до сточной канавки, так что смешанное с загрязнениями средство охлаждения непосредственно попадает в сточную канавку, не скапливаясь прежде перед входом лабиринта. Далее выгодно, если зазор между кольцевой надставкой и второй полкой составляет только примерно от 0,5 до 1,5 мм. Этот зазор гарантирует, что производимое валками смещение еще может осуществляться, и что, тем не менее, лабиринт поддерживается как можно более узким и тем самым предоставляет в данном случае загрязненному средству охлаждения в распоряжение только как можно более суженный путь.
Если вращающаяся вместе с валком вторая полка на своем конце имеет, по меньшей мере, одну брызгоулавливающую кромку, то еще лучше обеспечивается, что смешанное с загрязнениями средство охлаждения стряхивается с полки и может попадать не в лабиринт, а в сточную канавку.
Оказалось полезным, что L-образный кольцевой профиль обработан по поверхности, например упрочнен и/или снабжен покрытием. Посредством накатного полирования роликами поверхность, с одной стороны, частично упрочняется и, с другой стороны, с поверхности удаляются возможно возникшие при производстве острые неровности, так что уплотнительной кромке противостоит как можно более гладкая поверхность. Увеличением твердости поверхности достигают того, что L-образный кольцевой профиль имеет большой срок службы.
Если L-образный кольцевой профиль дополнительно еще азотируется плазменным способом, то он получает еще большую твердость. Целенаправленным окислением достигают того, что в области поверхности L-образного кольцевого профиля все свободные связи молекул занимаются атомами кислорода, так что более позднее окисление L-образного кольцевого профиля больше невозможно.
Если к L-образному кольцевому профилю или же к торцевой стороне валка присоединена емкость со смазочным материалом, которая через соответствующие каналы может всегда выдавать незначительное количество смазочного материала к месту между уплотнительной кромкой кольцевого уплотнения и первой полкой L-образного кольцевого профиля, то гарантируется, что как уплотнительная кромка, так и L-образный кольцевой профиль получают еще больший срок службы.
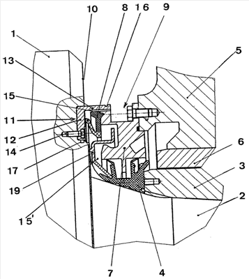
Изобретение разъясняется подробнее посредством чертежа. При этом чертеж показывает валок 1 с цапфой 2 валка, на которой устойчиво к проворачиванию укреплена втулка 3 цапфы. Втулка 3 валка держит в заданной позиции кольцевое уплотнение 4 цапфы. Фиксированный корпус 5 подшипника несет втулку 6 подшипника. На корпусе 5 подшипника жестко установлена кольцевая надставка 7, которая, в свою очередь, устойчива к проворачиванию, несет на себе кольцевое уплотнение 8. Кольцевая надставка 7 имеет сточную канавку 9, в которой может собираться смешанное с загрязнениями средство охлаждения и стекать в нижнюю область кольцеобразной сточной канавки.
На торцевой стороне 10 валка 1 расположен L-образный в поперечном сечении кольцевой профиль 11 с его первой полкой 12 и второй полкой 13. При этом первая полка 12 жестко связана болтами 14 с торцевой стороной 10. Вторая полка 13 отстоит с незначительным зазором от кольцевого уплотнения 8 и части кольцевой надставки 7, так что приходящие от валка 1 смешанные с загрязнениями средства охлаждения не могут попадать к кольцевому уплотнению 8, а направляются в сточную канавку 9.
Чтобы смешанное с загрязнениями средство охлаждения не смогло попадать через вторую полку 13 в образованный здесь лабиринт 15, вторая полка 13 имеет брызгоулавливающую кромку 16, которая при вращающейся второй полке 13 гарантирует еще более надежное сепарирование смешанного с загрязнениями средства охлаждения.
В области первой полки 12 и торцевой стороны 10 предусмотрена емкость 17 для смазочного материала, из которой смазочный материал может попадать к поверхности прилегания уплотнительной кромки 18 к первой полке 12, чтобы вызывать здесь соответствующий смазывающий эффект и вместе с тем обеспечивать повышенный срок службы.
Между кольцевым уплотнением 8 и уплотнением 4 цапфы еще один кольцеобразный профиль 19 способствует тому, чтобы возникал как можно более извилистый лабиринт 15′.
Перечень основных обозначений
1. Валок
2. Цапфа валка
3. Втулка цапфы
4. Уплотнение цапфы
5. Корпус подшипника
6. Втулка подшипника
7. Кольцевая надставка
8. Кольцевое уплотнение
9. Сточная канавка
10. Торцевая сторона
11. L-образный в поперечном сечении кольцевой профиль
12. Первая полка
13. Вторая полка
14. Болт
15. Лабиринт
16. Брызгоулавливающая кромка
17. Емкость для смазочного материала
18. Уплотнительная кромка
19. Кольцеобразный профиль
Формула изобретения
1. Устройство уплотнения подшипника валка с уплотнением (4) цапфы, перед которым со стороны бочки валка расположено кольцевое уплотнение (8), которое жестко связано с кольцевой надставкой (7) корпуса (5) подшипника и уплотнительная кромка которого прилегает к торцевой стороне (10) валка (1) с уплотняющим контактом, причем L-образный в поперечном сечении кольцевой профиль (11) жестко связан его первой полкой (12) с торцевой стороной (10) валка (1), уплотнительная кромка прилегает к областям первой полки (12), вторая полка (13) окружает L-образный кольцевой профиль (11), кольцевое уплотнение (8) и область кольцевой надставки (7) с незначительным зазором, уплотняя относительно бочки валка, кольцевая надставка (7) имеет с наружной стороны и наружу открытую сточную канавку (9), причем, по меньшей мере, находящаяся в контакте с уплотнительная кромкой область первой полки (12) упрочнена, например, полированием накаточными роликами, и/или частичным азотированием плазменным способом, и/или селективным оксидированием.
2. Устройство уплотнения подшипника валка по п.1, отличающееся тем, что вторая полка (13) прикрывает кольцевую надставку (7) вплоть до области сточной канавки (9).
3. Устройство уплотнения подшипника валка по любому из пп.1 или 2, отличающееся тем, что зазор между кольцевой надставкой (7) и второй полкой (13) составляет примерно от 0,5 до 1,5 мм.
4. Устройство уплотнения подшипника валка по любому из пп.1 или 2, отличающееся тем, что вторая полка (13) имеет, по меньшей мере, одну брызгоулавливающую кромку (16) в области ее свободного конца.
5. Устройство уплотнения подшипника валка по любому из пп.1 или 2, отличающееся тем, что к торцевой стороне (10) валка (1) и/или к первой полке (12) присоединена, по меньшей мере, одна емкость (17) для смазочного материала, и имеется соединение между емкостью (17) для смазочного материала и областью контакта уплотнительной кромки с первой полкой (12).
6. Устройство уплотнения подшипника валка по п.4, отличающееся тем, что к торцевой стороне (10) валка (1) и/или к первой полке (12) присоединена, по меньшей мере, одна емкость (17) для смазочного материала и имеется соединение между емкостью (17) для смазочного материала и областью контакта уплотнительной кромки с первой полкой (12).
РИСУНКИ
|
|