|
|
(21), (22) Заявка: 2003113238/02, 07.05.2003
(24) Дата начала отсчета срока действия патента:
07.05.2003
(30) Конвенционный приоритет:
09.05.2002 US 10/143,391
(43) Дата публикации заявки: 10.01.2005
(46) Опубликовано: 27.04.2009
(56) Список документов, цитированных в отчете о поиске:
US 5869140 A, 09.02.1999. US 5869140 A, 09.02.1999. ВАЙНЕР Я.В., ДАСОЯН М.А., Технология электрохимических покрытий. Учебник для химических техникумов. Изд. 2-е. – Л.: Машиностроение, 1972, с.32-33. WO 00129162 А, 25.05.2000. RU 2060908 C1, 27.05.1996. SU 1819858 A1, 07.06.1993.
Адрес для переписки:
103735, Москва, ул. Ильинка, 5/2, ООО “Союзпатент”, Н.Н.Высоцкой
|
(72) Автор(ы):
АНДЕРСОН Роберт А. (US), ГРЕЙС Уильям Б.Х. (US), ТИЛЛМАН Мэтью С. (US), АРТУР Шейн Э. (US), ХЭНСЕН Даррин М. (US), УАЙЭР Рик Г. (US), БЛОХОВИАК Кей И. (US), ДЖОУНС Стивен Р. (US)
(73) Патентообладатель(и):
ТЕ БОИНГ КОМПАНИ (US)
|
(54) СПОСОБ НЕПРЕРЫВНОЙ ОБРАБОТКИ ТИТАНА ИЛИ ТИТАНОВОГО СПЛАВА И МЕТАЛЛИЧЕСКОЕ ИЗДЕЛИЕ
(57) Реферат:
Изобретения относятся к непрерывной обработке поверхности металлов, в частности титана, титановых сплавов или алюминия, выполненных в форме фольги или сотовой конструкции. Способ включает механическое восстановление титана или титанового сплава для удаления оксидов с поверхности, приготовление золь-гелевого раствора, нанесение золь-гелевого раствора с образованием покрытия на механически восстановленный титан или титановый сплав и нанесение эпоксидного клейкого покрытия на нанесенный золь-гелевый раствор. Второй вариант способа включает очистку титана, титанового сплава или алюминия, по меньшей мере, одним щелочным очистителем и водным обезжиривающим агентом, восстановление металлического материала, по меньшей мере, механическим восстановителем, кондиционирование металлического материала щелочным раствором, содержащим 5-50% щелочи, нанесение золь-гелевого покрытия на металлический материал и нанесение эпоксидного клейкого покрытия на золь-гелевое покрытие. Способы позволяют повысить способность обрабатываемого металла к соединению с другими объектами и создать эпокси-совместимый клейкий слой на поверхности металла. 3 н. и 10 з.п. ф-лы, 2 ил., 2 табл.
Область техники, к которой относится изобретение
Настоящее изобретение относится к обработке поверхностей металлов, в частности титана или титанового покрытия и, более конкретно, к способу нанесения клейкого покрытия на поверхность титановой фольги, а также к металлическому изделию, полученному этим способом.
Описание уровня техники
Обработка металла перед его соединением является ключевым фактором как для начальной адгезии клеевого соединения, так и его долговечности в окружающих условиях. Существующие препараты для предварительной обработки поверхности либо неудобны, либо сложны в применении, содержат вредные материалы (сильные кислоты, шестивалентный хром, летучие органические соединения), и/или не обеспечивают такого состояния поверхности, которое необходимо для успешного получения долговечного соединения. Разрушения соединений, связанные, главным образом, с недостаточной обработкой поверхности, являются ограничивающим фактором для использования связующих технических средств, в особенности для первичной структуры.
Соединение титана с использованием стандартных методов подготовки поверхности не всегда является легким и воспроизводимым процессом. Чрезвычайно пассивная природа титана и трудность химической обработки титановых сплавов ограничивают использование титановых элементов для соединения с первичной или вторичной структурой. В некоторых программах проблема соединения титановых элементов решается успешно; однако, используемые способы подготовки поверхности часто являются трудными и предусматривают применение вредных химических веществ и технологий.
В этой связи существует потребность разработки экономичного и экологически безопасного способа подготовки металлических материалов для соединения с другими материалами.
Краткое изложение сущности изобретения
Настоящее изобретение обеспечивает способ соединения металлических материалов и неметаллических материалов с другими металлическими и неметаллическими материалами. Разработан способ обработки металлической поверхности, способствующий повышению способности металла к соединению с другими объектами. Поверхность металла подготавливают к нанесению покрытия из золь-гелевого раствора. Приготовленный золь-гелевый раствор наносят на поверхность металла. Затем на золь-гелевое покрытие наносят эпоксидный клей, в результате чего на поверхности металла создается эпокси-совместимый клейкий слой.
Краткое описание чертежей
Предпочтительные и альтернативные воплощения настоящего изобретения подробно описаны ниже со ссылкой на следующие чертежи.
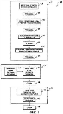
Фиг.1 изображает технологическую схему способа получения металлического слоистого материала согласно изобретению;
Фиг.2 изображает разобранный вид слоистого металлического материала.
Подробное описание изобретения
В настоящем изобретении предлагается способ обработки металлической поверхности методом периодической или непрерывной прокатки с целью создания клейкого слоя на металлическом материале, обладающего длительным сроком службы.
Способ обработки металлического материала, представляющего собой, по крайней мере, титан, титановый сплав или алюминий заключается в том, что материал, который предпочтительно используют по крайней мере, из фольги или сотовой конструкции подвергают следующим стадиям:
подготовку металлического материала для получения раствора золь-гелевого покрытия;
приготовление золь-гелевого раствора путем восстановления по крайней мере, механическим восстановителем (возможно восстановление и химическим восстановителем;
нанесение золь-гелевого раствора на металлический материал;
нанесение эпоксидного клейкого покрытия на нанесенный золь-гелевый раствор.
При этом подготовка металлического материала включает очистку металлического материала, по меньшей мере, одним щелочным очистителем и водным обезжиривающим агентом, а золь- гелевый раствор включает поверхностно-активное вещество.
Более подробно процесс описан на фиг.1 и 2, где из предпочтительных воплощений настоящего изобретения представлен процесс 20, предназначенный для соединения металла с адгезивом, включающий подготовку металлической поверхности 22, процесс получения золь-геля и его нанесения 24, с последующей сушкой 42, а также стадию нанесения эпоксидного покрытия 26 и последующую стадию сушки 46. Ниже приводится подробное описание процесса 20 соединения металла с адгезивом.
Металлический материал 54 на фиг.2 предпочтительно представляет собой титан или титановый сплав и, более предпочтительно, фольгу из сплава Ti-15V-3Cr-3Al-3Sn, имеющую толщину порядка 0,04 см (0,015 дюйма). Однако область изобретения, без конкретных ограничений, охватывает и другие металлические материалы, например, алюминий. Дополнительно следует отметить, что сплавы титана могут включать химически чистый Ti, Ti-6Al-4V, Ti-6Al-2Mo-2Sn-2Cr-2Fe, Ti-15V-3Cr-3Al-3Sn, Ti-6Al-6V-2Sn, Ti-10V-2Fe-3Al, Ti-3Al-8V-6Cr-4Nb, Ti-6Al-2Mo-4Zr-2Sn, T1-3A1-2.5V, T1-5A1-2.5V, Ti-5Al-5Mo-5V-3Cr-0.5Fe, Ti-5.5Al-5Mo-4.4V-1.4Fe-0.9Cr.
Следует особо отметить, что настоящее изобретение может применяться на металлическом материале любой толщины. Кроме этого, способ настоящего изобретения предпочтительно использовать для формирования титан/графитных слоистых структур. Однако область настоящего изобретения, без конкретных ограничений, также охватывает любые другие слоистые структуры типа волокно/металл или металл/металл, например титан/титановую слоистую структуру.
Возвращаясь к фиг.1 и 2, отметим, что на фиг.1 изображен предпочтительный способ 20 соединения металла с адгезивом 20. Следует отметить, что многие стадии процесса подготовки металлической поверхности хорошо известны в данной области техники. В результате, для понимания настоящего изобретения нет необходимости в подробном описании каждой стадии процесса подготовки металлической поверхности 22.
Процесс очистки металлической поверхности 22, предпочтительно начинается в блоке 28, где осуществляется щелочная очистка и водное обезжиривание поверхности с целью удаления нежелательных примесей. В блоке 28 обычно проводится начальное удаление смазочных масел, которые могут обнаруживаться на поверхности металла. Понятно, что операции, проводимые в блоке, являются необязательными для непрерывного процесса прокатки и зависят от состояния металла. Технологическая схема может не содержать блок 28, если на поверхности металла не имеется смазки или масла. Последующее полное промывание металла 54 осуществляется в блоке 32.
В блоке 32 производится восстановление поверхности металла 54. Более конкретно, в блоке 32 осуществляют удаление любого оксида металла, который может образовываться на поверхности металла 54. В блоке 32 может проводиться процесс химического восстановления или механического восстановления. Любая из перечисленных восстановительных обработок может применяться как для периодического, так и для непрерывного процесса прокатки. Однако следует иметь в виду, что процесс механического восстановления в большей степени подходит для непрерывного процесса прокатки, чем для периодического процесса, что связано с уменьшенным применением вредных химических веществ.
Химическое восстановление предпочтительно осуществляют с использованием стандартной промышленной смеси фтористоводородной и азотной кислот, HF и HNO3, соответственно, погружая металл 54 в смесь HF/HNO3 примерно на две минуты. С другой стороны, механическое восстановление обычно осуществляют методом воздушной или паравоздушной обдувки металлической крошкой. Дополнительную промывку проводят в блоке 33.
Кондиционирование поверхности металла 54 осуществляют в блоке 34. Металл 54, примерно, на 5 минут погружают в нагретый щелочной раствор. Предпочтительная температура раствора имеет значение в интервале 60-99°С (140-210°F), причем оптимальная температура составляет 87,8°С (190°F). В соответствии с предпочтительным воплощением щелочной раствор представляет собой разбавленный раствор Turco 5578, с оптимальным содержанием щелочи 5-50%. В представленной ниже Таблице 1 приведен пример составления раствора Turco 5578, используемого в настоящем изобретении. После кондиционирования поверхности в блоке 34 проводят еще одну промывку в блоке 35.
| Таблица 1 |
| Компонент |
Рекомендуемый объем, л (примерные галлоны) |
Контроль |
| Вода |
136,2 л (30) |
– |
| Turco 5578L |
227 л (50) |
163-228 г/л (25-35 унций/галлон) |
| Вода |
До баланса |
– |
| Температура |
– |
79,4-96,1°C (175-205°F) |
Если необходимо, то в блоке 36 может проводиться необязательная стадия кислотной обработки с целью удаления травильного шламма. В соответствии с предпочтительным воплощением изобретения кислотная обработка в блоке 36 не проводится. Однако, в зависимости от природы используемого металла 54, блок 36 может обеспечивать дополнительную желательную обработку поверхности. В последнем случае, после обработки в блоке 36 проводят промывку в блоке 37.
После подготовки поверхности в ходе процесса 22 проводят процесс получения и применения золь-геля 24. Процесс приготовления и применения золь-геля 24 включает приготовление золь-геля в блоке 38 и применение водного раствора золь-геля на металле 54 в блоке 40. Согласно предпочтительному воплощению изобретения золь-гель представляет собой смесь такого алкоксида циркония, как н-пропилат циркония, 3-глицидоксипропилтриметоксисилана, ледяной уксусной кислоты и поверхностно-активного вещества. Тем не менее, из соединений алкоксида циркония можно также использовать н-бутоксид циркония, т-бутоксид циркония, этилат циркония, изопропоксид циркония, н-пропилат циркония, 2-этил-шестиокись циркония, ди-н-бутоксид (бис-2,4-пентандионат) и другие соединения алкоксида циркония.
Согласно предпочтительному воплощению поверхностно-активное вещество представляет собой Antarox BL-240 от Rhodia. Однако область изобретения также охватывает другие поверхностно-активные вещества, например Tomadol 91-8.
Нанесение золь-гелевого покрытия на элементы в блоке 40 обычно завершают в течение 8 часов после подготовки поверхности в ходе процесса 22. В блоке 40 раствор золь-геля распыляют по поверхности требуемого элемента. Предпочтительно, раствор золь-геля распрыскивают по поверхности элемента в большом количестве. Избытку раствора дают стекать с поверхности. Предпочтительно, чтобы поверхности элемента не высыхали и несколько раз обрабатывались свежими порциями золь-гель раствора в ходе периода применения такого раствора. Однако следует учитывать возможность высыхания поверхности. Покрытой поверхности дают возможность высыхать, либо избыток раствора контролируют с помощью подходящего измерительного устройства, например резиновых валиков с согласованными зазорами.
В соответствии с предпочтительным воплощением металл 54 с золь-гель покрытием, предпочтительно, высушивают в печи блока 42 при повышенной температуре, в течение 3-6 минут. Однако следует иметь в виду, что точное время сушки зависит от конфигурации элемента. В этом случае время сушки может выходить за пределы указанного интервала.
После высушивания золь-гель покрытия на стадии 26 наносят эпоксидное покрытие. Стадию нанесения эпоксидного покрытия проводят в блоке 44, где его наносят на золь-гелевое покрытие, предпочтительно в течение 24 часов после завершения приготовления и применения золь-геля в блоке 24. В соответствии с предпочтительным воплощением изобретения эпоксидное покрытие представляет собой спреевый клей на основе эпоксидных смол.
Согласно предпочтительному воплощению эпоксидный материал наносят на металл с золь-гель покрытием, используя пистолет-распылитель большого объема, работающий при низком давлении (HVLP). Эпоксидный материал наносится на поверхность, подлежащую соединению сплошным слоем. Толщина эпоксидного покрытия на участке соединения составляет 0,0017 см (0,00065 дюйма). В блоке 45 осуществляют дегазацию покрытия при окружающих условиях, предпочтительно в течение минимального времени порядка 30 минут.
Процесс 20 соединения металла с адгезивом был успешно испытан в периодическом варианте, и такой процесс может масштабироваться для адаптации к проведению непрерывного процесса. В этом случае времена пребывания, полученные в ходе оптимизации периодического процесса, могут быть использованы для определения размера технологического резервуара и формализации механического процесса.
В результате таких операций были получены следующие предпочтительные интервалы изменения параметров для каждого из блоков в процессе 20: (табл.2)
| Таблиц 2 |
| Блок |
Обработка/агент |
Временной интервал |
Температурный интервал |
Интервал толщины покрытия |
| 28 |
Обезжиривание или чистка |
0,5-30 минут |
23,9-93,3°С (75-200°F) |
н/о |
| 32 |
Химическое восстановление или воздушная/паравоздушная обдувка абразивом 180-320 |
0,5-10 минут 0,1-10 минут |
23,9-93,3°С (75-200°F) н/о |
н/о |
| 34 |
Щелочной кондиционер |
0,5-30 минут |
23,9-93,3°С (75-200°F) |
н/о |
| 36 |
Удаление травильного шламма (необязательно) |
0,5-30 минут |
23,9-93,3°С (75-200°F) |
н/о |
| 40 |
Эпоксидный золь- гель |
н/о |
н/о |
0-0,0025 см (0-0,001 дюйма) |
| 44 |
Эпоксидное клеевое покрытие |
н/о |
н/о |
0-0,13 см (0-0,005 дюйма) |
Непрерывная обработка титановой фольги может проводиться с использованием различных комбинаций указанных выше стадий. Непрерывная обработка может включать операцию прокатки, в ходе которой титановая фольга проходит стадии очистки, восстановления (предпочтительно, механического восстановления с использованием паровоздушной обдувки абразивной крошкой) и кондиционирования поверхности, описанные для блоков 28, 32, и 34, соответственно. После этого титановая фольга подается на стадию нанесения золь-гелевого покрытия, с последующей сушкой такого покрытия и нанесением клейкого покрытия, в соответствии с описанным для блоков 40,42 и 26. Обработанную титановую фольгу снимают известным способом и подают в ламинатный процессор.
На фиг.2 изображено предпочтительное воплощение металлического материала с эпоксидным покрытием 50, полученное в результате осуществления процесса 20 соединения металла с адгезивом. Как следует из фиг.2, эпоксидное покрытие 52 присутствует на обеих продольных сторонах металла 54. Однако следует иметь в виду, что эпоксидное покрытие 52 может наноситься на любую поверхность металла 54. Кроме этого следует понимать, что может быть получено любое число чередующихся слоев металла 54 и эпоксидного покрытия 52 с образованием слоистых структур любой желательной прочности и размера.
Хотя выше проиллюстрировано и описано предпочтительное воплощение изобретения, в технологию могут быть внесены различные изменения, не нарушающие сущность и область изобретения. Соответственно, область изобретения не ограничивается описанием предпочтительного воплощения.
Формула изобретения
1. Способ непрерывной обработки титана или титанового сплава, включающий следующие стадии: обеспечение титана или титанового сплава, используемого в форме, выбранной из группы, состоящей из, по крайней мере, фольги или сотовой конструкции, удаление оксидов с поверхности титана или титанового сплава путем восстановления титана или титанового сплава механическим восстановителем, приготовление золь-гелевого раствора, нанесение золь-гелевого раствора с образованием покрытия на механически восстановленный титан или титановый сплав и нанесение эпоксидного клейкого покрытия на нанесенное золь-гелевое покрытие.
2. Способ по п.1, в котором перед стадией восстановления титан или титановый сплав очищают, по меньшей мере, одним щелочным очистителем и водным обезжиривающим агентом.
3. Способ по п.1 или 2, в котором после восстановления титан или титановый сплав кондиционируют в щелочном растворе, содержащем щелочь с концентрацией 5-50%.
4. Способ по п.3, в котором щелочной раствор нагревают до температуры в интервале 60-99°С (140-210 F°).
5. Способ по п.1, который дополнительно включает, по меньшей мере, одну промывку.
6. Способ по п.1, в котором золь-гелевое покрытие представляет собой смесь алкоксида циркония, 3-глицидоксипропилтриметоксисилана и ледяной уксусной кислоты.
7. Способ по п.6, в котором золь-гелевое покрытие включает поверхностно-активное вещество.
8. Способ по п.7, в котором механическое восстановление проводят в форме обдувки металлической абразивной крошкой.
9. Способ непрерывной обработки металлического материала, предназначенный для повышения прочности соединения и срока службы, в котором материал представляет собой, по крайней мере, титан, титановый сплав или алюминий, причем материал используют в форме фольги или сотовой конструкции, включающий следующие стадии: очистку металлического материала, по меньшей мере, одним щелочным очистителем и водным обезжиривающим агентом, восстановление металлического материала, по меньшей мере, механическим восстановителем, кондиционирование металлического материала щелочным раствором, содержащим 5-50% щелочи, нанесение золь-гелевого покрытия на металлический материал и нанесение эпоксидного клейкого покрытия на золь-гелевое покрытие.
10. Способ по п.9, в котором механическое восстановление проводят, по меньшей мере, воздушной обдувкой абразивной металлической крошкой или паровоздушной обдувкой абразивной металлической крошкой.
11. Способ по п.9, в котором реагенты золь-гелевого раствора представляют собой смесь алкоксида циркония, 3-глицидоксипропил-триметоксисилана и ледяной уксусной кислоты.
12. Способ по п.11, в котором реагенты для золь-гелевого раствора дополнительно включают поверхностно-активное вещество.
13. Металлическое изделие, обладающее усиленной прочностью соединения и долговечностью, полученное способом по любому из пп.1-12.
РИСУНКИ
|
|