|
(21), (22) Заявка: 2007107339/03, 12.05.2006
(24) Дата начала отсчета срока действия патента:
12.05.2006
(30) Конвенционный приоритет:
28.06.2005 DE 102005030145.2
(43) Дата публикации заявки: 27.10.2008
(46) Опубликовано: 27.04.2009
(56) Список документов, цитированных в отчете о поиске:
DE 19702854 A1, 30.07.1998. RU 43926 U1, 06.08.2004. SU 1577829 A1, 15.07.1990. SU 1791262 A1, 30.01.1993. RU 2209313 C2, 27.07.2003. Конвенционный приоритет установлен от 28.06.2005 по дате подачи первоначальной заявки 102005030145.2 в Патентное ведомство Германии.
(85) Дата перевода заявки PCT на национальную фазу:
24.04.2007
(86) Заявка PCT:
EP 2006/004493 20060512
(87) Публикация PCT:
WO 2007/000211 20070104
Адрес для переписки:
121087, Москва, а/я 33, пат.пов. В.В.Курышеву, рег. 0006
|
(72) Автор(ы):
ЛЁШЕ Томас (DE), ШМИХ Бернд (DE)
(73) Патентообладатель(и):
ЛЁШЕ ГмбХ (DE)
|
(54) СИСТЕМА ОБЕСПЕЧЕНИЯ НАДЕЖНОСТИ РАБОТЫ ИСТИРАЮЩЕЙ МЕЛЬНИЦЫ
(57) Реферат:
Изобретение относится к истирающим мельницам, в частности к системам обеспечения надежности их работы. Система содержит измельчающие валки, выполненные с возможностью обкатывания по вращающейся чаше, передачу, которая расположена под чашей и опирается на фундамент мельницы, а также приводной двигатель и систему смазки передачи. Для обеспечения постоянной готовности истирающей мельницы к работе предусмотрена сменная передача, передача мельницы и сменная передача расположены, по меньшей мере, на одном основании, основание выполнено с возможностью горизонтального перемещения на фундаменте мельницы, при этом при выходе из строя передачи мельницы сменная передача посредством перемещения основания может быть позиционирована на место передачи мельницы под чашей. Изобретение снижает время производственного простоя размольной установки. 19 з.п. ф-лы, 7 ил.
Изобретение относится к системе обеспечения надежности работы истирающей мельницы согласно ограничительной части п.1 формулы.
Известно использование истирающих мельниц для размола самых различных материалов. Истирающие мельницы имеют в отношении конструкции и техники регулирования, а также расхода энергии, экологичности и общей экономичности значительные преимущества.
В цементной промышленности истирающие мельницы используются как для получения цементной муки, так и для размола клинкера и угля. При эксплуатации установок для размола сырья в сочетании с вращающимися трубчатыми печами и обжиговой установкой печные отходящие газы от процесса теплообмена и охлаждения клинкера могут быть использованы для размола с одновременной сушкой и для пневмотранспортировки размолотого цементного сырья или угля.
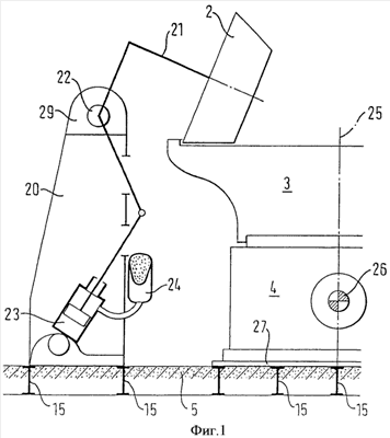
Как правило, используются двух-, трех- и четырехвалковые мельницы, выполненные по модульной системе. Истирающая мельница модульной конструкции для измельчения в воздушном потоке системы Loesche известна из ЕР 0879066 В1. На фиг.1 подобная истирающая мельница изображена фрагментарно при виде сбоку и без кожуха. Измельчающие валки 2, установленные каждый с возможностью поворота с помощью коромысла 21 вокруг оси 22 в подшипниковом кронштейне 20 станины 20, обкатываются по чаше 3, приводимой во вращение приводным валом 26 через передачу 4. Истирающая мельница содержит на фиг.1 два измельчающих валка, из которых показан, однако, только один валок 2. Показан, кроме того, коромысловый блок из коромыслового цилиндра 23 и гидроаккумулятора или газовой пружины 24. Станины 20, приданные каждая одному измельчающему валку 2, своим нижним концом закреплены в зоне фундамента 5 мельницы, являющегося, как правило, бетонным фундаментом, на стальной фундаментной раме 15. Передача 4 мельницы через промежуточную или подошвенную плиту 27 заанкерена в фундаменте 5 или фундаментной раме 15.
Для обеспечения необходимой эксплуатационной надежности цементного завода при непрерывной работе вращающейся трубчатой печи посредством соответствующей производительности мельницы известны концепции обеспечения надежности работы. Описанная в DE 10343218 A1 система обеспечения надежности работы истирающей мельницы предусматривает постоянную готовность к работе, по меньшей мере, четырех измельчающих валков за счет расположения более чем четырех измельчающих валков, причем измельчающие валки расположены попарно противоположно друг другу и четыре измельчающих валка дают около 80% всей производительности мельницы в четырехвалковом режиме.
Предпочтительно располагают шесть измельчающих валков, а в случае повреждения измельчающего валка, коромысла или детали подвески истирающую мельницу эксплуатируют с четырьмя валками после откидывания дефектного и противоположного ему измельчающих валков. Преимущество этой концепции состоит в том, что истирающая мельница при повреждениях измельчающих валков, коромысел или систем подвески после короткой остановки и откидывания пары измельчающих валков может продолжать эксплуатироваться с четырьмя измельчающими валками, а производство исходной муки и тем самым работу печи не приходится останавливать. Откинутые измельчающие валки, коромысла или системы подвески могут быть отремонтированы или заменены.
Недостаток состоит, однако, в том, что истирающая мельница при повреждении передачи должна быть выключена, из-за чего последующие процессы прерываются, а в цементной установке останавливается, например, производство клинкера. Требуется отремонтировать передачу и для этой цели извлечь ее из-под мельницы или чаши, предварительно удалив приводной электродвигатель, включая муфту, и отделив все соединительные трубопроводы к системе смазки.
В качестве альтернативы немедленному ремонту на месте может быть установлена также запасная передача, если таковая находится наготове. Ремонт и установка запасной передачи требуют, однако, многодневных демонтажа и монтажа.
По этой причине для потребителей предпочтительна традиционная концепция обеспечения надежности работы, согласно которой для переработки исходной муки при высокой производительности вращающейся трубчатой печи комбинируют параллельные истирающие мельницы. Этот двухмельничный вариант связан, однако, с соответственно высокими капиталовложениями.
В основе изобретения лежит задача создания системы обеспечения надежности работы истирающей мельницы, в частности истирающей мельницы модульной конструкции, которая с небольшими капитальными и трудовыми затратами обеспечивала бы со стороны передачи высокую готовность истирающей мельницы к работе.
Согласно изобретению эта задача решается посредством признаков п.1 формулы. Целесообразные и предпочтительные варианты осуществления изобретения приведены в зависимых пунктах и в описании фигур.
Основную идею изобретения можно усматривать в концепции замены передачи мельницы, которая обеспечивает быструю замену передачи мельницы и, при необходимости, приводного двигателя и системы смазки и чрезвычайно сокращает время простоя и обусловленную этим остановку производства.
В системе обеспечения со стороны передачи надежности работы истирающей мельницы предусмотрена вторая передача в качестве запасной или сменной передачи, при этом передачу мельницы и сменную передачу располагают, по меньшей мере, на одном основании. Основание расположено на фундаменте мельницы или фундаментной раме с возможностью перемещения в заданных пределах, а расположенная на основании сменная передача при повреждении передачи мельницы может быть позиционирована за счет перемещения основания на место передачи мельницы, т.е. в зону мельницы и под чашу. Согласно изобретению для этого требуется лишь перемещение, по меньшей мере, одного основания.
В одном предпочтительном варианте на горизонтально перемещаемом основании расположены и точно ориентированы по отношению друг к другу находящаяся в эксплуатации передача мельницы и приводной электродвигатель, соединенный с передачей мельницы через упругую муфту. Агрегаты расположены рядом друг с другом и по одной продольной оси основания, а на обращенной от двигателя стороне передачи мельницы предварительно смонтированы вторая передача мельницы в качестве запасной или сменной передачи и соединенный через муфту дополнительный двигатель. Необходимая система смазки расположена между передачей мельницы и сменной передачей и соединена трубопроводами с обеими передачами.
В случае повреждения находящейся в эксплуатации передачи мельницы чашу после ослабления крепежных болтов приподнимают и отдельно опирают. Затем все основание продольно перемещают с возможностью позиционирования сменной передачи под чашей. После опускания и закрепления чаши работа мельницы может быть возобновлена.
Другое преимущество этой концепции обеспечения надежности работы состоит в том, что отделение и последующее повторное соединение маслопроводов, отнимающая время ориентация отдельных компонентов по отношению друг к другу, таких как передача, муфта, двигатель, а также процессы демонтажа и последующего монтажа отпадают, или их не приходится соблюдать.
Целесообразно отдельные агрегаты расположены рядом друг с другом по продольной оси основания, а основание выполнено с возможностью перемещения в направлении своей продольной оси.
Одна альтернативная система обеспечения надежности работы предусматривает общее основание с предварительно смонтированными передачей мельницы, сменной передачей и общей системой смазки, выполненной с возможностью горизонтального перемещениия. В случае повреждения находящейся в эксплуатации передачи мельницы расположенный за пределами основания приводной двигатель демонтируют и монтируют на противоположной стороне, предварительно переместив основание в его новое положение. В этом новом положении сменная передача позиционирована в центре мельницы и под чашей и соединена с перемещенным приводным двигателем.
Другая альтернатива предусматривает систему обеспечения надежности работы передачи, у которой основание с расположенными на нем агрегатами выполнено с возможностью перемещения не только горизонтально и в направлении своей продольной оси, но и вращения вокруг вертикальной оси. На общем основании смонтированы находящаяся в эксплуатации передача мельницы, система смазки и сменная передача, тогда как приводной двигатель расположен за пределами перемещаемого основания на собственной раме или консоли, которая обеспечивает ориентацию шеек валов передачи и двигателя.
При повреждении передачи основание линейно перемещают в противоположном по отношению к приводному двигателю направлении из зоны мельницы и поворачивают за пределами зоны мельницы на 180° вокруг вертикальной оси, которая может быть предусмотрена в зоне системы смазки. Затем основание перемещают обратно в направлении зоны мельницы и приводного двигателя, причем сменная передача расположена теперь под чашей в рабочем положении и может быть соединена с приводным двигателем через муфту.
Целесообразно основание рассчитано с возможностью обеспечения расположения и продольного перемещения между соответственно двумя станинами истирающей мельницы.
Предпочтительно, что альтернативные системы обеспечения надежности работы могут использоваться как в двух- и четырехвалковых, так и в шестивалковых устройствах.
Истирающие мельницы с нечетным числом валков, например трех- или пятивалковые, являются предпочтительной областью применения нижеследующего варианта замены передачи. При этом используют первое и второе основания. На первом основании, находящемся в зоне мельницы или под чашей, закреплены ориентированные по отношению друг к другу передача мельницы, приводной двигатель и муфта. На втором основании готовыми к работе смонтированы сменная передача, второй двигатель и муфта. Система смазки может быть установлена отдельно рядом с передачей мельницы или также на втором основании, причем тогда используют две системы смазки.
При повреждении находящейся в эксплуатации передачи мельницы весь блок первого основания извлекают из зоны мельницы и перемещают в сторону, т.е. под прямым углом к продольной оси первого основания в зону, называемую ремонтной зоной. Второе основание со сменной передачей перемещают из зоны, называемой зоной готовности, например поперек продольной оси второго основания, и оно попадает после этого за счет продольного перемещения в зону мельницы и под чашу.
В одном варианте второе основание может быть без двигателя, а приводной двигатель может быть расположен, при необходимости, на этом втором основании.
Поскольку эта концепция предусматривает продольное перемещение только через образованный двумя станинами проем для демонтажа, она может быть использована особенно в мельницах с нечетным числом валков, в которых противоположная сторона закрыта станиной.
Предпочтительно, что перемещение основания может происходить обычным для транспортировки тяжелых грузов образом.
Целесообразно использование подъемных устройств и устройств перемещения. Если в качестве подъемных устройств используются гидравлические домкраты, то они могут быть расположены между основанием и устройством перемещения.
В качестве устройства перемещения могут использоваться ролики большой грузоподъемности, располагаемые на направляющих с обеих сторон основания на фундаменте мельницы, и лебедка, воздействующая на основание.
Имеется также возможность осуществления продольного перемещения оснований и вращения с помощью гидравлической пленки скольжения и т.п.
Основание может быть выполнено по типу рамы и фиксировано на фундаменте мельницы или фундаментной раме.
Изобретение более подробно поясняется ниже с помощью чертежей, на котором в схематичном виде изображают:
фиг.1 – половину вида сбоку истирающей мельницы модульной конструкции, однако без кожуха;
фиг.2 – вариант системы обеспечения надежности работы передачи перед заменой передачи;
фиг.3 – систему обеспечения надежности работы передачи после замены передачи;
фиг.4 – основание системы обеспечения надежности работы передачи;
фиг.5 – в увеличенном виде фрагмент V из фиг.4;
фиг.6 – второй вариант системы обеспечения надежности работы передачи;
фиг.7 – третий вариант системы обеспечения надежности работы передачи.
На фиг.1 изображена половина вида сбоку известной истирающей мельницы с двумя измельчающими валками, из которых показан, однако, только один измельчающий валок 2, а также станина 20. Передача 4 мельницы под чашей 3 через подошвенную плиту 27 передачи соединена с фундаментной рамой 15 фундамента 5 мельницы, представляющего собой бетонный фундамент.
На фиг.2-5 изображен первый вариант системы обеспечения со стороны передачи надежности работы истирающей мельницы модульной конструкции.
Одинаковые признаки обозначены на всех фигурах одинаковыми ссылочными позициями.
У истирающей мельницы на фиг.2 и 3, показывающих только представляющие здесь интерес детали, речь идет о шестивалковой мельнице модульной конструкции. Вокруг центра мельницы с передачей 4 расположены шесть модульных блоков, обозначенных здесь шестью станинами 20 с подшипниковым кронштейном 29 для коромысловой оси 22 измельчающего валка (не показан).
Станины 20, передача 4, приводной двигатель 6 и система 7 смазки расположены на фундаменте 5 мельницы, который представляет собой бетонный фундамент с залитой фундаментной рамой (не показана).
Для создания эффективной концепции замены передачи 4 мельницы, с помощью которой время производственного простоя можно поддерживать в чрезвычайно благоприятных пределах, например, менее 24 часов, передача 4 и приводной двигатель 6 фиксированы сообща на основании 10 с точной ориентацией по отношению друг к другу. Передача 4 соединена через упругую муфту 9 с приводным электродвигателем 6 и позиционирована в зоне 8 мельницы, т.е. посередине и под чашей (не показана).
Общее основание 10 выполнено для размещения дополнительных агрегатов с возможностью горизонтального перемещения вдоль своей продольной оси между соответственно двумя станинами 20. Дополнительные агрегаты представляют собой вторую передачу, которая в качестве сменной передачи 14 расположена зеркально-симметрично передаче 4 рядом с системой 7 смазки. Сменная передача 14 через упругую муфту 9 соединена со вторым двигателем 16, который, как и сменная передача 14, смонтирован на общем основании 10. Основание 10 опирается на фундамент 5 мельницы или фундаментную раму 15 (не показана) с возможностью перемещения в продольном направлении (двойная стрелка А). Это продольное перемещение происходит по направляющим 34 для роликов, которые поясняются в сочетании с фиг.5.
При выходе из строя передачи 4 мельницы чашу (не показана) после ослабления крепежных болтов приподнимают и отдельно опирают. Затем основание 10 со смонтированным на нем блоком из передачи 4, приводного двигателя 6, системы 7 смазки, сменной передачи 14 и второго двигателя 16 перемещают таким образом, что сменная передача 14 попадает в зону 8 мельницы и под чашу (фиг.3). После опускания и закрепления чаши работа мельницы может быть возобновлена. За счет перемещения общего основания неисправная передача 4 находится за пределами зоны мельницы и может быть демонтирована для ремонта.
Продольное перемещение основания 10 происходит в примере на фиг.2-5 с помощью лебедок 36 и воздействующего на основание 10 тягового троса 38. Основание 10 с отремонтированной первоначальной передачей 4 мельницы и приводным двигателем 6 может быть снова перемещено обратно в зону 8 мельницы, если находящая в эксплуатации сменная передача или второй двигатель 16 выйдет из строя.
На фиг.4 и 5 изображен расположенный на основании 10 блок для концепции быстрой замены передачи из фиг.2 и 3, однако без станин. Передача 4 мельницы и сменная передача 14 через свои подошвенные плиты 27 закреплены на общем продольно перемещаемом основании 10. Приводной двигатель 6 и второй двигатель 16 соединены соответственно через упругую муфту 9 соответственно с передачей 4 и сменной передачей 14 с точной ориентацией по отношению друг к другу. Приводной двигатель 6 и второй двигатель 16 закреплены для этой цели на раме 32, которая обеспечивает ориентацию шеек валов передач и двигателей по отношению друг к другу.
Продольное перемещение основания 10 происходит с помощью подъемных устройств 30 и устройств 31 перемещения. На фиг.5 подъемное устройство 30 и устройство 31 перемещения показаны подробно. В качестве подъемного устройства 30 между основанием 10 и устройством 31 перемещения расположены гидравлические домкраты 37. Устройство 31 перемещения включает в себя ролики 35 большой грузоподъемности, движущиеся по направляющим 34 и расположенные на расстоянии пути перемещения лебедки 36.
На фиг.6 изображена альтернативная концепция замены передачи 4 мельницы. На основании 10 в виде предварительно смонтированного блока расположены передача 4 мельницы, сменная передача 14, а между ними – система 7 смазки, которая через трубопроводы соединена с обеими передачами 4, 14. За пределами общего основания 10 с передачей 4 мельницы с точной ориентацией через упругую муфту 9 соединен приводной двигатель 6. При повреждении находящейся в эксплуатации передачи 4 приводной двигатель 6 демонтируют и основание 10 перемещают таким образом, что сменная передача 14 будет находиться в зоне мельницы и под чашей (не показана). Демонтированный приводной двигатель 6 монтируют на противоположной стороне и соединяют со сменной передачей 14.
В качестве альтернативы основание 10 может быть извлечено также в обращенную от двигателя сторону (стрелка С) из зоны 8 мельницы, которая сильно схематично обозначена продольной осью 25, и повернуто на 180° вокруг вертикальной оси 12, которая может находиться, например, в зоне системы 7 смазки, а затем снова перемещено по стрелке D в продольном направлении в зону 8 мельницы. Под чашей в зоне 8 мельницы находится тогда сменная передача 14, которая может быть соединена с приводным двигателем 6.
На фиг.7 в сильно схематичном виде изображена другая альтернатива замены передачи посредством горизонтально перемещаемого основания 10. У этой концепции на первом основании 10 в зоне 8 мельницы сообща расположены передача 4 и приводной двигатель 6. Система 7 смазки расположена на обращенной от двигателя стороне и за пределами основания 10. В зоне 19 готовности, расположенной параллельно зоне 28 продольного перемещения основания 10, наготове держат второе основание 13 со смонтированными на нем сменной передачей 14 и вторым двигателем 16.
При выходе из строя передачи 4 мельницы основание 10 перемещают в направлении продольной оси 11 из зоны 8 мельницы в зону 28 продольного перемещения по стрелке Е, и оно попадает за счет поперечного перемещения по стрелке F в ремонтную зону 18. Эта ремонтная зона 18 в данном примере расположена параллельно зоне 19 готовности и на противоположной стороне зоны 28 продольного перемещения. Второе основание 13 перемещают поперек его продольной оси 33, т.е. по стрелке G, в зону 28 продольного перемещения, а затем тянут или перемещают в продольном направлении по стрелке Н в зону 8 мельницы.
В качестве альтернативы на первом 10 и втором 13 основаниях может быть смонтирована соответствующая система 7 смазки. Поскольку может отпасть отделение соединительных трубопроводов от системы смазки, достигается дополнительная экономия времени.
На фиг.7 в качестве примера изображена четырехвалковая мельница с четырьмя станинами 20. Вариант замены передачи подходит, в частности, для мельниц с нечетным числом валков, у которых противоположная двигателю сторона закрыта станиной.
Формула изобретения
1. Система обеспечения надежности работы истирающей мельницы, содержащей измельчающие валки (2), выполненные с возможностью обкатывания по вращающейся чаше (3), передачу (4), которая расположена под чашей (3) и опирается на фундамент (5) мельницы, а также приводной двигатель (6) и систему (7) смазки передачи (4), отличающаяся тем, что для обеспечения постоянной готовности истирающей мельницы к работе предусмотрена сменная передача (14), передача (4) мельницы и сменная передача (14) расположены, по меньшей мере, на одном основании (10, 13), основание (10, 13) выполнено с возможностью горизонтального перемещения на фундаменте (5) мельницы, при этом при выходе из строя передачи (4) мельницы сменная передача (14) посредством перемещения основания (10, 13) может быть позиционирована на место передачи (4) мельницы под чашей (3).
2. Система по п.1, отличающаяся тем, что основание (10) выполнено для совместного расположения передачи (4) мельницы и соединенного через муфту (9) с передачей (4) мельницы приводного двигателя (6), системы (7) смазки, сменной передачи (14) и второго двигателя (16), причем система (7) смазки позиционирована между передачей (4) мельницы и сменной передачей (14) и распложенным с внешней стороны приводным двигателем (6) или вторым двигателем (16).
3. Система по п.1, отличающаяся тем, что основание (10) выполнено с возможностью перемещения в направлении своей продольной оси (11).
4. Система по п.3, отличающаяся тем, что основание (10) выполнено с возможностью перемещения в зоне (28) продольного перемещения между двумя соседними станинами (20) истирающей мельницы модульной конструкции.
5. Система по п.2, отличающаяся тем, что передача (4) мельницы и приводной двигатель (6), а также сменная передача (14) и второй двигатель (16) точно ориентированы по отношению друг к другу.
6. Система по п.5, отличающаяся тем, что передача (4) мельницы и приводной двигатель (6) и/или сменная передача (14) и второй двигатель (16) соединены между собой через упругую муфту (9).
7. Система по п.1, отличающаяся тем, что система (7) смазки между передачей (4) мельницы и сменной передачей (14) соединена трубопроводами с передачей (4) мельницы и сменной передачей (14).
8. Система по п.1, отличающаяся тем, что передача (4) мельницы, система (7) смазки и сменная передача (14) расположены сообща на основании (10), а приводной двигатель (6) соединен с передачей (4) мельницы, при этом при выходе из строя передачи (4) мельницы основание (10) выполнено с возможностью продольного перемещения в направлении приводного двигателя (6) для позиционирования сменной передачи (14) в рабочем положении под чашей (3), а приводной двигатель (6) выполнен с возможностью позиционирования рядом со сменной передачей (14) и соединения с ней.
9. Система по п.1, отличающаяся тем, что передача (4) мельницы, система (7) смазки и сменная передача (14) расположены сообща на основании (10), которое расположено на фундаменте (5) мельницы с возможностью перемещения в направлении своей продольной оси (11) и вокруг вертикальной оси (12).
10. Система по п.9, отличающаяся тем, что после выхода из строя передачи (4) мельницы основание (10) выполнено с возможностью перемещения в обращенную от двигателя сторону из зоны (8) мельницы, вращения за пределами зоны (8) мельницы на 180° вокруг вертикальной оси (12) и перемещения обратно в продольном направлении в зону (8) мельницы, при этом сменная передача (14) в рабочем положении расположена под чашей (3) с возможностью соединения с приводным двигателем (6), расположенным за пределами основания (10).
11. Система по п.1, отличающаяся тем, что передача (4) мельницы и приводной двигатель (6) расположены сообща и с ориентацией по отношению друг к другу на первом основании (10), а сменная передача (14) и второй двигатель (16) расположены сообща и с ориентацией по отношению друг к другу на втором основании (13), при этом первое и второе основания (10, 13) расположены на фундаменте (5) мельницы с возможностью горизонтального перемещения и при выходе из строя передачи (4) мельницы после перемещения первого основания (10) второе основание (13) выполнено с возможностью позиционирования со сменной передачей (14) в рабочем положении под чашей (3).
12. Система по п.11, отличающаяся тем, что система (7) смазки расположена за пределами первого и второго оснований (10, 13) на обращенной от двигателя стороне передачи (4) мельницы или позиционированной в рабочем положении сменной передачи (14).
13. Система по п.11, отличающаяся тем, что соответственно одна система (7) смазки расположена на первом и втором основаниях (10, 13) на обращенной от двигателя стороне передачи (4) мельницы или сменной передачи (14).
14. Система по п.12 или 13, отличающаяся тем, что при выходе из строя передачи (4) мельницы первое основание (10) выполнено с возможностью перемещения в направлении своей продольной оси (11) из зоны (8) мельницы в ремонтную зону (18), при этом второе основание (13), расположенное готовым к работе в зоне (19) готовности, выполнено с возможностью перемещения в зону (8) мельницы и рабочее положение сменной передачи (14) под чашу (3).
15. Система по п.14, отличающаяся тем, что первое основание (10) выполнено с возможностью перемещения в направлении своей продольной оси (11) в зоне (28) продольного перемещения из зоны (8) мельницы и поперек своей продольной оси (11) в ремонтную зону (18), при этом второе основание (13) выполнено с возможностью перемещения из зоны (19) готовности, расположенной осепараллельно ремонтной зоне (18) и зоне (28) продольного перемещения, поперек своей продольной оси (33), а затем в направлении своей продольной оси (33) в зону (8) мельницы и рабочее положение сменной передачи (14) под чашу (3).
16. Система по п.1, отличающаяся тем, что для перемещения основания (10, 13) предусмотрены подъемные устройства (30) и устройства (31) перемещения.
17. Система по п.16, отличающаяся тем, что в качестве подъемных устройств (30) между основанием (10, 13) и устройством (31) перемещения расположены гидравлические домкраты (37).
18. Система по п.16, отличающаяся тем, что устройство (31) перемещения содержит выполненные с возможностью движения по направляющим (34) ролики (35) большой грузоподъемности и лебедку (36), воздействующую на основание (10, 13).
19. Система по п.1, отличающаяся тем, что основание (10, 13) выполнено с возможностью перемещения посредством гидравлической пленки скольжения, плавающих подушек и т.п.
20. Система по п.1, отличающаяся тем, что основание (10, 13) выполнено по типу рамы с возможностью фиксации, по меньшей мере, в одном рабочем положении на фундаменте (5) мельницы или фундаментной раме (15).
РИСУНКИ
|