|
|
(21), (22) Заявка: 2005108285/15, 23.03.2005
(24) Дата начала отсчета срока действия патента:
23.03.2005
(30) Конвенционный приоритет:
25.03.2004 JP 2004-089347
(43) Дата публикации заявки: 10.10.2006
(46) Опубликовано: 27.04.2009
(56) Список документов, цитированных в отчете о поиске:
RU 2035965 C1, 27.05.1995. RU 2046633 C1, 27.10.1995. SU 1563734 A2, 15.05.1990. EP 0020101 A1, 10.12.1980. GB 1416186 A, 03.12.1975. US 3943233 A, 09.03.1976.
Адрес для переписки:
129090, Москва, ул. Б.Спасская, 25, стр.3, ООО “Юридическая фирма Городисский и Партнеры”, пат.пов. С.А.Дорофееву
|
(72) Автор(ы):
ИВАСАКИ Судзи (JP), КОДЗИМА Хисаси (JP)
(73) Патентообладатель(и):
ЦУКИСИМА КИКАИ КО., ЛТД. (JP)
|
(54) УСТРОЙСТВО ДЛЯ ВАКУУМНОЙ ФИЛЬТРАЦИИ
(57) Реферат:
Изобретение предназначено для фильтрации. Устройство содержит корпус, фильтровальную ткань, на которую подают суспензию и которая перемещается в основном горизонтально по отношению к корпусу устройства, вакуумный лоток, расположенный под фильтровальной тканью и совершающий возвратно-поступательное движение в направлении перемещения фильтровальной ткани, усиливающий элемент в форме ребра, предусмотренный на обратной стороне вакуумного лотка, и вакуумные шланги, подсоединенные к вакуумному лотку посредством усиливающих элементов, допускающие возвратно-поступательное движение вакуумного лотка, соединяющие вакуумный лоток и вакуумное устройство и обладающие упругостью. Технический результат: увеличение срока службы устройства. 3 з.п. ф-лы, 5 ил.
Область техники
Настоящее изобретение относится к устройствам для вакуумной фильтрации, в которых суспензия, подаваемая на фильтровальную ткань, фильтруется с использованием вакуумных лотков для вакуумирования и в которых фильтровальная ткань может перемещаться в основном горизонтально, а вакуумные лотки предусмотрены под этой фильтровальной тканью.
Приоритет испрашивается по заявке на патент Японии 2004-089347 поданной 25 марта 2004 года, содержание которой включено сюда путем ссылки.
Вакуумпровод соединен непосредственно с нижней поверхностью вакуумного лотка. Вакуумный шланг выполнен из упругого (или гибкого) материала. Второй конец вакуумного шланга расположен на одном конце фильтровальной ткани в поперечном направлении и соединен с вакуумным устройством. Напротив, первый конец вакуумного шланга расположен в средней части вакуумного лотка в поперечном направлении фильтровальной ткани. Вакуумные шланги расположены ниже вакуумных лотков и изогнуты для того, чтобы допустить возвратно-поступательное движение вакуумных лотков. В случае большой установки для вакуумной фильтрации, в которой использованы вакуумные лотки, длинные в поперечном направлении, путем применения множества вакуумпроводов, расположенных на заранее установленных расстояниях в поперечном направлении, вакуум из вакуумных лотков, который прикладывается к суспензии, действует равномерно в поперечном направлении, и фильтрат из суспензии может быть надежно извлечен.
Однако в устройстве для вакуумной фильтрации такого типа, поскольку описанные выше упругие вакуумные шланги размещены в изогнутом состоянии, сопровождая возвратно-поступательное движение вакуумных лотков, возвращающие силы, воздействующие для возврата деформированных вакуумных шлангов в их первоначальное состояние, воздействуют также и на вакуумные лотки. Поэтому из-за того, что вакуумные лотки подвергаются действию сил, поперечных по отношению к направлению их перемещения, есть опасения, например, что в случае, когда эти лотки ограничены в направлении своего движения, вакуумные лотки деформируются, прямолинейная устойчивость перемещения этих лотков затрудняется, и фильтровальная ткань движется неровно. Более того, в случае, когда эти вакуумные лотки деформируются, большая нагрузка действует на соединительную часть между вакуумпроводами и вакуумными лотками, и таким образом существует проблема, что эта соединительная часть может сломаться, и таким образом срок службы устройства сокращается и увеличивается время на техническое обслуживание и ремонт.
В частности, в случае большого устройства для вакуумной фильтрации в соответствии с увеличением количества фильтрата, извлекаемого из суспензии, необходимо равномерно создавать вакуум в поперечном направлении вакуумного лотка. Для того чтобы удовлетворить этому требованию, во-первых, можно рассмотреть конструкцию с увеличенным диаметром вакуумных шлангов. Однако в этом случае из-за того, что вакуумные шланги изогнуты, силы, действующие на вакуумные лотки, становятся больше по мере увеличения диаметра вакуумных шлангов, и таким образом вышеописанная проблема еще более возрастает. Далее может быть рассмотрена конструкция, в которой множество вакуумпроводов, расположенных на расстоянии друг от друга в поперечном направлении, предусмотрено ниже вакуумных лотков, при этом предусмотрены также соединительные трубки, соединяющие эти вакуумпроводы вместе, и один вакуумный шланг подсоединен к соединительной трубке. Однако в этом случае, поскольку силы действуют аналогично на соединительные трубки из-за возвращающих сил вакуумных шлангов, возвращающие силы действуют на вакуумные лотки со стороны вакуумпроводов, множество которых подсоединено к соединительным трубкам. Поэтому деформация вакуумных лотков случается еще более легко, и проблемы, описанные выше, усиливаются.
Учитывая вышеописанные проблемы, целью настоящего изобретения является создание устройства для вакуумной фильтрации, которое позволяет ограничить деформацию вакуумных лотков, реализовать прямолинейную устойчивость перемещения вакуумных лотков и в то же время может ограничить случаи поломки соединительных частей между вакуумными лотками и соединительной арматурой.
Краткое описание изобретения
Для того чтобы решить указанные выше проблемы и достичь вышеописанных целей, предложено устройство для вакуумной фильтрации, описанное ниже. На корпусе устройства расположена фильтровальная ткань, которая может перемещаться в основном горизонтально. Под этой фильтровальной тканью расположены вакуумные лотки, соединенные с вакуумным устройством посредством соединительной арматуры, эти вакуумные лотки могут совершать возвратно-поступательное движение в направлении перемещения фильтровальной ткани. Соединительная арматура снабжена вакуумными шлангами, обладающими упругостью, допускающей возвратно-поступательное движение вакуумных лотков. Вакуумные лотки снабжены усиливающими элементами, имеющими форму ребра и присоединенными к нижней стороне, при этом вакуумные лотки соединены с соединительной арматурой через усиливающие элементы. В таком устройстве можно фильтровать суспензию, поданную на фильтровальную ткань, осуществляя вакуумирование через фильтровальную ткань вакуумных лотков.
В соответствии с данным изобретением, поскольку вакуумные лотки снабжены усиливающими элементами в форме ребра, присоединенными к обратной стороне, может быть увеличена жесткость вакуумных лотков для сопротивления деформации, вызванной внешними силами. Поэтому, даже в случае, когда возвращающие силы, которые возвращают вакуумные шланги, деформированные при возвратно-поступательном движении вакуумных лотков, в их первоначальное состояние, приложены к вакуумным лоткам, становится возможным обеспечить жесткость, которая может противостоять этим возвращающим силам, действующим на вакуумные лотки, и можно реализовать прямолинейную устойчивость при перемещении вакуумных лотков. То есть, поскольку возможно ограничить нагрузку, приложенную к соединительной части между соединительной арматурой и вакуумными лотками, можно ограничить случаи поломки этой соединительной части и таким образом можно ограничить сокращение срока службы и увеличение времени на техническое обслуживание и ремонт. Более того, поскольку можно ограничить деформацию вакуумных лотков, становится возможным также ограничить случаи неровного движения фильтровальной ткани. В частности, поскольку вакуумные лотки соединены с соединительной арматурой через усиливающие элементы, возвращающие силы вакуумных шлангов не действуют непосредственно на вакуумные лотки, а действует через усиливающие элементы, и таким образом можно надежно ограничить деформацию вакуумных лотков.
В устройстве согласно настоящему изобретению в качестве усиливающих элементов могут быть использованы трубки с внутренним пространством. В этом случае вакуумные камеры вакуумных лотков, которые прикладывают силы вакуума к суспензии через фильтровальную ткань, могут сообщаться с вакуумным устройством с помощью соединительной арматуры через внутреннее пространство усиливающих элементов. В частности, внутреннее пространство усиливающих элементов для усиления вакуумных лотков используется как путь для приложения силы вакуума к этим вакуумным лоткам и для извлечения фильтрата. Таким образом, в вакуумной камере становится возможным создавать силу вакуума равномерно на короткий период времени.
В устройстве согласно настоящему изобретению вакуумная камера и внутреннее пространство усиливающих элементов могут сообщаться в большем числе мест, чем места соединений между этим усиливающим элементом и соединительной арматурой. В этом случае становится возможным не только создавать силу вакуума равномерно на короткий период времени в вакуумных камерах, но и среди вакуумных лотков, снабженных усиливающими элементами, становится возможным ограничить до минимума места, где возвращающие силы вакуумных шлангов действуют непосредственно. В частности, путем использования такой конструкции, поскольку вакуумные лотки снабжены усиливающими элементами, жесткость для сопротивления деформации, вызванной внешними силами, увеличена, и более того, поскольку вакуумные шланги соединены с усиливающими элементами, возможно надежно ограничить деформацию вакуумных лотков.
В устройстве согласно настоящему изобретению усиливающие элементы могут проходить в поперечном направлении фильтровальной ткани на нижней стороне вакуумных лотков. В этом случае в большом устройстве для вакуумной фильтрации, в котором вакуумные лотки расширяются в поперечном направлении, описанные эффекты гораздо значительнее.
Краткое описание чертежей
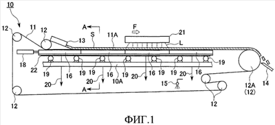
Фиг.1 представляет вид сбоку, на котором показана вся конструкция варианта осуществления устройства для вакуумной фильтрации согласно настоящему изобретению.
Фиг.2 – вид сверху устройства для вакуумной фильтрации, показанного на фиг.1.
Фиг.3 – поперечное сечение вдоль линии А-А устройства для вакуумной фильтрации, показанного на фиг.1.
Фиг.4 – увеличенное изображение участка В устройства для вакуумной фильтрации, показанного на фиг. 3.
Фиг.5 – поперечное сечение вдоль линии С-С устройства для вакуумной фильтрации, показанного на фиг.3.
Подробное описание изобретения
На фиг.1-5 показан вариант осуществления настоящего изобретения. В устройстве для вакуумной фильтрации согласно настоящему изобретению, в корпусе 10 устройства подвешена и последовательно оборачивается вокруг роликов 12 фильтровальная ткань 11 в форме бесконечной ленты. Верхняя часть этой фильтровальной ткани 11 расположена так, чтобы проходить в горизонтальном направлении, и эта часть служит фильтрационной частью 11А. Кроме того, среди множества роликов 12 ролик 12А, на котором подвешена и вокруг которого оборачивается одним концом эта фильтрационная часть 11А (правая сторона на фиг.1), соединен с приводным устройством (не показано). Ролик 12А приводится во вращение приводным устройством, в направлении по часовой стрелке на чертеже, и за счет этого фильтровальная ткань 11 также непрерывно вращается вокруг роликов 12. Сопровождая вращение, фильтрационная часть 11А фильтровальной ткани 11 непрерывно перемещается в направлении перемещения, показанном стрелкой F на чертеже.
Устройство 13 для подачи суспензии, которое подает суспензию S на фильтровальную ткань 11, предусмотрено на другом конце фильтрационной части 11А фильтровальной ткани 11 (левая сторона на фиг.1), то есть сверху и по потоку в направлении перемещения F. Суспензия S, подаваемая из устройства 13 для подачи суспензии на фильтровальную ткань 11 на верхней стороне вакуумного лотка 16, фильтруется посредством вакуумирования с помощью вакуумного лотка 16 через фильтровальную ткань 11 в процессе переноса в направлении перемещения F из-за перемещения фильтрационной части 11А. Кроме того, над фильтрационной частью 11А на стороне, противоположной стороне размещения устройства 13 для подачи суспензии, в направлении перемещения F предусмотрено устройство 21 для промывки фильтрационного осадка, которое подает промывочную жидкость L на фильтровальную ткань 11. Промывочная жидкость L подается из этого устройства 21 для промывки фильтрационного осадка на суспензию S, которая прошла вакуумную фильтрацию. На ролике 12А, который перемещает фильтровальную ткань 11, предусмотрен нож 14 для снятия и удаления с фильтровальной ткани обезвоженного фильтрационного осадка суспензии S, фильтрование и обезвоживание которого полностью завершено. Кроме того, над одним концом фильтрационной части 11А фильтровальной ткани 11 (правая сторона на фиг.1), то есть в направлении вперед перемещения F предусмотрено устройство 15 для промывки осадка фильтрационной ткани, которое промывает фильтровальную ткань 11 после того, как суспензия S была снята ножом 14.
Вакуумный лоток 16 подсоединен к вакуумному устройству (не показано) посредством соединительной арматуры 20. Вакуумирование суспензии S, подаваемой на фильтровальную ткань 11, осуществляется с помощью вакуумного устройства через фильтровальную ткань 11. Множество вакуумных лотков 16 предусмотрено под фильтрационной частью 11А фильтровальной ткани, начиная, по существу, непосредственно под устройством 13 для подачи суспензии в переднем направлении перемещения F. Соединительная арматура 20 подсоединена к каждому из этих вакуумных лотков 16 снизу.
Как показано на фиг.3, каждый из вакуумных лотков 16 имеет плоскую часть 16А, которая проходит вдоль поверхности фильтровальной ткани 11 и находится в тесном контакте с этой фильтровальной тканью 11, стенки 16В, которые проходят вверх от двух краев плоской части 16А в поперечном направлении к внешней части в поперечном направлении так, что они расширяются, и усиливающие трубки (усиливающие элементы) 17, присоединенные к плоской части 16А снизу и проходящие в поперечном направлении.
Далее в тексте направление, поперечное направлению перемещения F, обозначается выражением “поперечное направление вакуумных лотков 16”.
Как показано на фиг.4, плоская часть 16А представляет собой многослойное тело, в котором пластина 16С и ячеистое тело 16D образуют в таком порядке слои, начиная снизу. Ячеистое тело 16D имеет множество сквозных отверстий 16F, образованных в поверхности. Фильтровальная ткань 11 находится в тесном контакте с поверхностью ячеистого тела 16D. Как показано на фиг.2, множество первых сообщающихся отверстий 16Е просверлено в поверхности пластины 16С так, чтобы быть расположенными на расстоянии друг от друга в поперечном направлении фильтровальной ткани 11 (вертикальное направление на фиг.2). Среди этих первых сообщающихся отверстий 16Е половина этих отверстий просверлена так, чтобы быть расположенными на одинаковом расстоянии друг от друга в поперечном направлении на одной стороне от середины фильтровальной ткани 11 в поперечном направлении, а оставшаяся половина отверстий просверлена так, чтобы быть расположенными на равном расстоянии друг от друга на другой стороне от средней части в поперечном направлении.
Усиливающие трубки 17 присоединены к каждой из пластин 16С снизу и расположены так, чтобы проходить в поперечном направлении фильтровальной ткани 11, то есть в поперечном направлении вакуумного лотка 16. Как показано на фиг.5, форма поперечного сечения усиливающей трубки 17 прямоугольная, и внутри нее есть внутреннее пространство 17С, которое проходит в поперечном направлении. Другими словами, усиливающие трубки 17 представляют собой трубки, имеющие внутреннее пространство 17С, присоединены к вакуумным лоткам 16 снизу и проходят в поперечном направлении фильтровальной ткани 11. Кроме того, вторые сообщающиеся отверстия 17А, имеющие диаметр меньший, чем диаметр первых сообщающихся отверстий 16Е, просверлены в местах, соответствующих местам, в которых просверлены первые сообщающиеся отверстия 16Е пластины 16С. Верхняя сторона пластины 16С и внутреннее пространство 17С усиливающей трубки 17 сообщаются благодаря вторым сообщающимся отверстиям 17А и первым сообщающимся отверстиям 16Е. Как показано на фиг.2, в местах между самой внутренней парой вторых сообщающихся отверстий 17А в поперечном направлении просверлено два третьих сообщающихся отверстия 17В на нижней поверхности усиливающей трубки 17 в противоположных местах, между которыми расположена середина фильтровальной ткани 11 в поперечном направлении. Как показано на фиг.2 и фиг.5, усиливающие элементы (например, швеллеры) 17В, проходящие в направлении перемещения F фильтровальной ткани 11, предусмотрены между одним набором смежных усиливающих трубок 17 в направлении перемещения F фильтровальной ткани 11. Эти швеллеры 17D присоединены к нижней поверхности пластин 16С и боковой поверхности усиливающих элементов 17.
Как показано на фиг.3 и фиг.5, соединительная арматура 20 снабжена вакуумпроводом 20А, который подсоединен к третьему сквозному отверстию 17В усиливающей трубки 17 и проходит вниз, и вакуумным шлангом 20В, который имеет один конец, подсоединенный к нижнему концу вакуумпровода 20А, и другой конец, подсоединенный к вакуумному устройству (не показано). Вакуумпровод 20А образован жесткой трубой, например, из нержавеющей стали. Вакуумный шланг 20В образован из упругого или гибкого материала, такого как этиленпропиленовая резина.
На одном вакуумном лотке 16 предусмотрено множество такой соединительной арматуры 20 (в настоящем варианте осуществления в количестве двух). Ниже вакуумного лотка 16 эта соединительная арматура 20 расположена напротив друг друга так, чтобы быть симметричной в поперечном направлении по отношению к середине фильтровальной ткани 11, средняя часть фильтровальной ткани 11 в поперечном направлении расположена между ними. Как показано на фиг.2, каждый из вакуумных шлангов 20В проходит в поперечном направлении фильтровальной ткани 11 от средней части фильтровальной ткани 11 так, чтобы быть отделенными друг от друга. Кроме того, как показано на фиг.3, часть вакуумных шлангов 20В между одним концом и другим концом установлена так, чтобы иметь возможность скользить по рельсообразным опорным элементам 20С, которые проходят в направлении перемещения F. Эта часть в основном параллельна поверхности фильтровальной ткани 11 ниже вакуумных лотков 16 и изогнута так, что выпуклость направлена в переднем направлении перемещения F фильтровальной ткани 11. Устанавливая вакуумные шланги 20В таким образом, они поддерживаются в таком состоянии, которое допускает возвратно-поступательное движение вдоль направления перемещения F. Каретки 20D прикреплены к частям вакуумных шлангов 20D, которые контактируют с опорными элементами 20С. Эти каретки 20D выполнены из материала, коэффициент трения которого по отношению к опорным элементам 20С небольшой и который имеет наилучшую износостойкость, такого как полиэтилен сверхвысокой молекулярной массы.
Две соединительных арматуры 20, расположенные напротив друг друга в поперечном направлении, расположены так, что каждый из их вакуумпроводов 20А расположен в основном идентично по отношению к направлению перемещения F. Кроме того, всасывающие трубки большого диаметра (не показаны), проходящие параллельно направлению перемещения F, предусмотрены на обеих сторонах корпуса 10 устройства в поперечном направлении. Другие концы вакуумных шлангов 20В соединительной арматуры 20 присоединены к всасывающим трубкам. Посредством этих всасывающих трубок соединительная арматура 20 подсоединена к вакуумному устройству.
В описанном выше устройстве для вакуумной фильтрации путем приведения в действие вакуумного устройства сила вакуума прикладывается к ячеистому телу 16D, которое служит вакуумными камерами, через вакуумные шланги 20В, вакуумпроводы 20А, усиливающие трубки 17 и первые сообщающиеся отверстия 16Е пластины 16С, за счет чего сила вакуума прикладывается к суспензии S на фильтровальной ткани 11. Из-за силы вакуума жидкостная часть суспензии S на фильтровальной ткани 11 извлекается через фильтровальную ткань 11 последовательно через ячеистое тело 16D, первые сообщающиеся отверстия 16Е пластины 16С, усиливающие трубки 17, вакуумпроводы 20А и вакуумные шланги 20В. В вакуумных камерах (ячеистое тело 16D) вакуум сбрасывается путем переключения вентиляционного механизма вакуумного устройства на возврат к атмосферному давлению.
Вакуумные лотки 16, смежные друг с другом в направлении перемещения F, соединены вместе. Среди этих вакуумных лотков 16, как показано на фиг.1, приводной цилиндр 18, такой как воздушный цилиндр, установлен на раме 10А корпуса 10 устройства. Приводной цилиндр 18 расширяется и сжимается вдоль направления перемещения F и соединен с вакуумным лотком 16, который расположен дальше всех по потоку по отношению к направлению перемещения F. Из-за расширения и сужения приводного цилиндра 18 все вакуумные лотки 16 могут совершать возвратно-поступательное движение вместе на заранее установленную величину хода в переднем и обратном направлениях перемещения F, то есть могут совершать возвратно-поступательное движение вдоль этого направления перемещения F. Наряду с передним и обратным перемещением вакуумных лотков 16 вакуумные шланги 20В, вторые концы которых подсоединены к вакуумному устройству, изгибаются путем упругого деформирования, и соединительная арматура 20 совершает возвратно-поступательное движение как единое целое.
Как показано на фиг.1 и фиг.3, на корпусе 10 устройства предусмотрено множество свободно вращающихся опорных колес 19, которые служат опорой для вакуумных лотков 16, и эти опорные колеса расположены на расстоянии друг от друга в поперечном направлении фильтровальной ткани 11. Опорные колеса 19 контактируют снизу с парой рельсов 22, которые предусмотрены ниже обоих концов вакуумных лотков 16 в поперечном направлении и проходят в направлении перемещения F. Вакуумные лотки 16 могут совершать возвратно-поступательное движение на этих свободно вращающихся опорных колесах 19. С другой стороны, опорные колеса 19 приводятся во вращение возвратно-поступательным движением вакуумных лотков 16 посредством приводного цилиндра 18. Эти опорные колеса 19, имеющие одинаковую форму и одинаковый размер, установлены так, чтобы иметь возможность вращаться свободно вокруг горизонтальной оси вращения, которая проходит в поперечном направлении, посредством кронштейнов и т.п., предусмотренных на раме 10А корпуса 10 устройства и обращенных вверх. Опорное колесо 19 может иметь форму диска или колонны с небольшой осевой длиной, и центрировано на этой оси вращения. Опорные колеса 19 размещены так, чтобы образовать два параллельных ряда, которые проходят в направлении перемещения F вдоль обоих краев нижней поверхности вакуумных лотков 16 в поперечном направлении. Опорные колеса в каждом ряду расположены на равных расстояниях в направлении перемещения F. В то же время опорные колеса 19 в каждом ряду установлены на одной линии для образования пар в поперечном направлении, а опорные колеса 19, которые образуют пары, имеют равную высоту в вертикальном направлении и расположены в идентичных местах в направлении перемещения F.
Согласно устройству для вакуумной фильтрации в соответствии с описанным выше вариантом осуществления изобретения имеющие форму ребра усиливающие трубки 17, которые проходят в поперечном направлении фильтровальной ткани 11, предусмотрены на обратной стороне вакуумных лотков 16, и, таким образом, жесткость плоской части 16А для сопротивления внешним силам увеличена, и возможно ограничить деформацию вакуумных лотков 16. В частности, даже в случае, когда возвращающие силы действуют на плоскую часть 16А и возвращающие силы возвращают каждый вакуумный шланг 20В, деформированный при возвратно-поступательном движении вакуумных лотков 16, в его первоначальное состояние, можно обеспечить жесткость, которая может противостоять возвращающим силам, действующим на плоские части 16А вакуумных лотков 16. Поэтому можно надежно предотвратить затруднение перемещения вакуумных лотков 16 и в то же время можно ограничить нагрузку, действующую на соединительную часть между вакуумпроводами 20А и вакуумными лотками 16, и таким образом можно ограничить разрушение этой соединительной части. Таким образом, можно ограничить и сокращение срока службы основой части 10 устройства, и увеличение времени технического обслуживания и ремонта. Кроме того, можно ограничить деформацию плоских частей 16А, и за счет этого становится возможным ограничить неровное движение фильтровальной ткани 11.
Кроме того, согласно устройству для вакуумной фильтрации в соответствии с настоящим вариантом осуществления вакуумпроводы 20А подсоединены к нижней поверхности пластины 16С вакуумных лотков 16 посредством усиливающих трубок 17, которые имеют повышенную по сравнению с пластиной 16С жесткость для сопротивления деформации, обусловленной внешними силами. Поэтому даже в случае, когда соединительная часть между вакуумпроводами 20А и вакуумными лотками 16 постоянно подвергается нагрузке, или из-за перемещения вакуумных лотков 16 во время использования этого устройства для вакуумной фильтрации, или из-за возвращающих сил вакуумных шлангов 20В, возможно ограничить разрушение этой соединительной части.
В частности, в случае, когда вакуумпроводы 20А непосредственно подсоединены к пластине 16С, которая имеет низкую жесткость для сопротивления деформации, вызванной внешними силами, пластина 16С легко деформируется из-за возвращающих сил вакуумных шлангов 20В, и остаточные напряжения, обусловленные постоянным возвратно-поступательным перемещением вакуумных лотков 16, легко накапливаются. Так, нагрузка, действующая на соединительную часть, возрастает, и эта соединительная часть может быть сравнительно легко повреждена. Напротив, в случае настоящего варианта осуществления, когда вакуумпроводы 20В подсоединены к усиливающим трубкам 17, чья жесткость для противостояния деформации, вызванной внешними силами, сравнительно высока, возвращающие силы вакуумных шлангов 20В действуют непосредственно на усиливающие трубки 17. То есть, поскольку усиливающая трубка 17 сама является жесткой, деформация, вызванная этой возвращающей силой, и накопления остаточных напряжений могут быть ограничены. Поэтому повреждение соединительной части между вакуумпроводами 20А и нижней поверхностью пластины 16С ограничено, поэтому также возможно увеличить срок службы и сократить время на техническое обслуживание и ремонт устройства для вакуумной фильтрации.
В случае большого устройства для вакуумной фильтрации, имеющего фильтровальную ткань, ширина которой равна или больше чем 2500 мм, количество фильтрата, извлекаемого из суспензии S, конечно, увеличивается, и необходимо, чтобы сила вакуума, прикладываемая к суспензии S, была равномерной на короткий период времени в поперечном направлении вакуумных лотков 16. Для достижения этого, можно рассмотреть использование конструкции, в которой предусмотрено множество вакуумпроводов 20А, расположенных на расстоянии друг от друга в поперечном направлении на нижней поверхности пластины 16С, которая образует вакуумный лоток 16, предусмотрены соединительные трубки, которые соединяют эти вакуумпроводы 20А вместе, и один вакуумный шланг 20В подсоединен к этой соединительной трубке. Однако в такой конструкции из-за возвращающих сил вакуумных шлангов 20В аналогичные силы будут действовать аналогично также и на соединительную трубку, и возвращающие силы действуют на нижнюю поверхность пластины 16С со стороны каждого вакуумпровода 20А, множество которых подсоединено в этой соединительной трубке. Таким образом, есть опасение, что может легко произойти дополнительная деформация пластины 16С, и это приведет к затруднению перемещения вакуумных лотков 16 и к сокращению срока службы устройства для вакуумной фильтрации.
Однако в настоящем варианте осуществления на нижней поверхности этой пластины 16С предусмотрены усиливающие трубки 17, имеющие повышенную, по сравнению с пластиной 16С, жесткость для сопротивления деформации. Множество вторых сообщающихся отверстий 17А просверлено в верхней поверхности этих усиливающих трубок 17 так, чтобы быть расположенными на расстоянии друг от друга в поперечном направлении вакуумных лотков 16. Также в нижних поверхностях усиливающих трубок 17 просверлены третьи сообщающиеся отверстия 17В, которые сообщаются с вакуумпроводами 20А, и эти третьи сообщающиеся отверстия 17В сообщаются с вакуумным устройством. Поэтому в вакуумных лотках 16, когда предусмотрено множество мест, в которых к вакуумной камере (ячеистое тело 16D) вакуумных лотков 16 приложена сила вакуума, возможно ограничить места, в которых возвращающие силы вакуумных шлангов 20В непосредственно действуют на усиливающие трубки 17, имеющие сравнительно высокую жесткость. Кроме того, в конструкции, в которой использованы соединительные трубки, для одной соединительной арматуры 20 часть, которая соединяет пластину 16С, должна быть предусмотрена в двух или более местах. Однако в настоящем варианте осуществления для одной соединительной арматуры 20 можно ограничиться одним местом для такой соединительной части. В частности, в настоящем варианте осуществления внутренние пространства 17С усиливающих трубок 17 для усиления вакуумных лотков 16 прикладывают силу вакуума к этим вакуумным лоткам 16 и в то же время одновременно служат в качестве пути движения для извлечения фильтрата. Кроме того, даже если имеет место неравномерность в силе вакуума между множеством вакуумпроводов 20А и вакуумными шлангами 20В, из-за наличия этих усиливающих трубок 17 (внутренние пространства 17С) можно приложить силу вакуума равномерно к вакуумной камере из множества вторых сообщающихся отверстий 17А. Потому в большом устройстве для вакуумной фильтрации становится возможным создавать силу вакуума равномерно на короткий период времени в поперечном направлении вакуумных лотков 16. То есть в такой конструкции возможно надежно ограничить случаи деформации в пластине 16С и возможно устранить затруднение перемещения вакуумных лотков 16, и избежать сокращения срока службы устройства для вакуумной фильтрации.
В настоящем варианте осуществления предусмотрено множество соединительной арматуры 20, а вакуумные шланги 20В каждой соединительной арматуры 20 так размещены, что они проходят к противоположным сторонам по отношению к средней части вакуумных лотков 16 в поперечном направлении. Поэтому, даже когда возвращающие силы действуют на вакуумные лотки 16, возможно взаимное компенсирование этих сил на вакуумных лотках 16. Поэтому из-за возвращающих сил вакуумных шлангов 20В можно ограничить до минимума силы, действующие на вакуумные лотки 16 в направлении, поперечном направлению перемещения. В то же время можно ограничить до минимума момент вращения, который вызывает колебания вакуумного лотка 16 вдоль поверхности плоской части 16А. То есть можно избежать ситуации, когда перемещение вакуумных лотков 16 затруднено, и можно реализовать прямолинейную устойчивость вакуумных лотков 16.
Таким образом, в настоящем варианте осуществления даже в конструкции, в которой корпус 10 устройства предусматривает пару рельсов 22, проходящих в направлении перемещения F под обоими концами вакуумных лотков 16 в поперечном направлении, и опорные колеса 19, которые размещены на рельсах 22 и служат опорой для вакуумных лотков 16, контактируя с ними снизу, возможно ограничить наличие неравномерного износа, в котором величина износа рельсов 22 и опорных колес 19 отличается на каждом краю в поперечном направлении. Можно также ограничить наклон вакуумных лотков 16 и можно избежать ситуации, когда фильтровальная ткань 11 перемещается неровно, и перемещение вакуумных лотков 16 затруднено. Кроме того, даже в случае, когда, например, предусмотрены направляющие, ограничивающие боковую поверхность вакуумных лотков 16 в направлении перемещения, можно ограничить описанный выше наклон вакуумных лотков 16. За счет этого можно ограничить затруднение перемещения вакуумных лотков 16, вызванное ситуацией, когда направляющая задевает боковую поверхность вакуумных лотков 16. Кроме того, из-за того что предусмотрено множество соединительной арматуры 20, возможно поддерживать силу вакуума в вакуумных лотках 16, действующую на суспензию S, даже если диаметр вакуумных шлангов 20В этой соединительной арматуры 20 небольшой. В этом случае, поскольку возвращающая сила вакуумных шлангов 20В становится небольшой, возможно дополнительно и надежно избежать описанной выше ситуации, в которой перемещение вакуумного лотка 16 затруднено, и в то же время становится возможным сэкономить пространство под вакуумными лотками 16 и сократить время на техническое обслуживание и ремонт этой части.
В настоящем варианте осуществления, поскольку вакуумные шланги 20В размещены симметрично по отношению к середине вакуумного лотка 16 в поперечном направлении, возвращающие силы, которые благодаря каждому вакуумному шлангу 20В действуют на вакуумные лотки 16, могут надежно взаимно компенсироваться и возможно значительно улучшить прямолинейную устойчивость этих вакуумных лотков 16.
Кроме того, поскольку вакуумные шланги 20В подсоединены снизу к вакуумным лоткам 16 в изогнутом состоянии так, чтобы выпуклость была направлена вниз по направлению перемещения F фильтровальной ткани 11, вакуумные шланги 20В проходят в направлении вдоль поверхности фильтровальной ткани 11 и вакуумных лотков 16. Поэтому становится возможным гарантировать наличие пространства под вакуумными лотками 16 и ограничить увеличение времени на техническое обслуживание и ремонт этой части.
Более того, поскольку вакуумные шланги 20В подсоединены к вакуумным лоткам 16 снизу так, чтобы быть отделенными друг от друга, и средняя часть вакуумных лотков 16 в поперечном направлении расположена между ними, вакуумные шланги 20В никогда не пересекутся под вакуумными лотками 16. Поэтому становится возможным надежно избежать мешающего взаимодействия между вакуумными шлангами 20В и в то же время возможно гарантировать еще большее пространство под вакуумными лотками 16.
Кроме того, поскольку множество вакуумных лотков 16 расположено в направлении перемещения F фильтровальной ткани 11, а вакуумные шланги 20В соединены с каждым из этих вакуумных лотков 16 снизу, путем выполнения вакуумных шлангов 20В с меньшим диметром за счет множества соединительной арматуры 20 возможно ограничить мешающее взаимодействие между соседними вакуумными шлангами 20В в направлении перемещения F, возможно снизить число видов частей, образующих это устройство для вакуумной фильтрации, и возможно снизить затраты, эксплуатационные расходы и расходы на техническое обслуживание и ремонт.
Как описано выше, настоящий вариант осуществления отображает конструкцию устройства для вакуумной фильтрации, в которой множество вакуумных лотков 16 размещены в направлении перемещения F фильтровальной ткани 11, а соединительная арматура 20 подсоединена к каждому вакуумному лотку 16 снизу. В этом случае может возникнуть проблема, когда пространство под вакуумными лотками 16 сужено и может иметь место мешающее взаимодействие между соседними вакуумными шлангами 20В в направлении перемещения F.
Однако в настоящем варианте изобретения, как описано выше, поскольку диаметр вакуумных шлангов 20В может быть выполнен меньшим за счет применения множества соединительной арматуры 20, возможно гарантировать пространство под вакуумными лотками 16 и препятствовать мешающему взаимодействию между вакуумными шлангами 20В, и возможно также предотвратить увеличение времени на техническое обслуживание и ремонт. В то же время возможно уменьшить число и количество видов частей, образующих это устройство для вакуумной фильтрации. Так, можно снизить стоимость устройства, эксплуатационные расходы и расходы на техническое обслуживание и ремонт.
Хотя выше были описаны и проиллюстрированы предпочтительные варианты осуществления, понятно, что они являются примерами изобретения и не должны его ограничивать. Могут быть осуществлены дополнения, исключения, замены и другие изменения без выхода за пределы существа и объема изобретения. Соответственно изобретение не должно считаться ограниченным вышеприведенным описанием, и оно ограничивается только объемом прилагаемой формулы. Например, выпуклость изогнутой формы вакуумных шлангов 20В может быть направлена вниз по направлению перемещения F. Кроме того, вакуумные шланги 20В должны быть расположены так, чтобы проходить к противоположным сторонам по отношению к средней части в поперечном направлении, по меньшей мере, вакуумного лотка 16. Например, вакуумные шланги 20В не ограничиваются подсоединением снизу вакуумного лотка 16, и они могут быть подсоединены к ее боковой стороне. В конструкции, в которой вакуумные шланги 20В подсоединены к нижней части вакуумного лотка 16, вакуумные шланги 20В могут быть расположены так, что вакуумные шланги 20В пересекают друг друга по направлению от соединения с вакуумным лотком 16.
Кроме того, число вакуумных шлангов 20В, подсоединенных к одному вакуумному лотку 16, положения соединения и т.п. не ограничиваются вариантами осуществления. Пока возвращающие силы, действующие на вакуумные лотки 16, благодаря каждому из вакуумных шлангов 20В, сопровождающих возвратно-поступательное движение вакуумного лотка 16, взаимно компенсируются, путем соответствующего выбора можно изменять материал вакуумного шланга 20В, внешний диаметр вакуумного шланга 20В и положения соединений между вакуумными шлангами 20В и вакуумным лотком 16.
Все вакуумные шланги 20В, которые подсоединены к множеству вакуумных лотков 16, могут быть подсоединены к одному вакуумному устройству. Альтернативно вакуумные шланги 20В, подсоединенные к каждому из множества вакуумных лотков 16, могут быть подсоединены соответственно к разным вакуумным устройствам.
Формула изобретения
1. Устройство для вакуумной фильтрации, предназначенное для фильтрования суспензии (S) с помощью вакуума, содержащее: корпус (10); фильтровальную ткань (11), на которую подают суспензию (S), которая перемещается в основном горизонтально по отношению к корпусу (10) устройства; вакуумный лоток (16), расположенный под фильтровальной тканью (11) и совершающий возвратно-поступательное движение в направлении перемещения (F) фильтровальной ткани (11); усиливающий элемент (17) в форме ребра, предусмотренный на обратной стороне вакуумного лотка (16); и вакуумные шланги (20В), подсоединенные к вакуумному лотку (16) посредством усиливающих элементов (17), допускающие возвратно-поступательное движение вакуумного лотка (16), соединяющие вакуумный лоток (16) и вакуумное устройство, и обладающие упругостью.
2. Устройство для вакуумной фильтрации по п.1, в котором усиливающим элементом (17) является трубка, имеющая внутреннее пространство (17С); при этом вакуумный лоток (16) содержит вакуумную камеру, прикладывающую силу вакуума к суспензии (S) через фильтровальную ткань (11); причем вакуумная камера сообщается с вакуумным устройством с помощью соединительной арматуры (20) посредством внутреннего пространства (17С) усиливающего элемента (17).
3. Устройство по п.2, в котором вакуумная камера и внутреннее пространство (17С) усиливающего элемента (17) сообщаются в большем количестве мест, чем места расположения соединительных частей между усиливающим элементом (17) и соединительной арматурой (20).
4. Устройство по п.1, в котором усиливающий элемент (17) проходит в поперечном направлении фильтровальной ткани (11) на обратной стороне вакуумного лотка (16).
РИСУНКИ
|
|