|
|
(21), (22) Заявка: 2007134085/12, 13.09.2007
(24) Дата начала отсчета срока действия патента:
13.09.2007
(46) Опубликовано: 27.04.2009
(56) Список документов, цитированных в отчете о поиске:
RU 2257242 С2, 27.07.2005. DE 3244061 A1, 30.05.1984. FR 2229203 A, 06.12.1974. US 4027421 A, 07.06.1977. US 3629968 A, 28.12.1971. US 2092687 A, 07.09.1937. RU 39556 S, 27.07.2005.
Адрес для переписки:
105425, Москва, Сиреневый б-р, 12, корп.1, кв.50, Т.Г. Горячкиной
|
(72) Автор(ы):
Попов Николай Олегович (RU)
(73) Патентообладатель(и):
Попов Николай Олегович (RU)
|
(54) ДЕТСКАЯ ИГРУШКА-КОНСТРУКТОР “РЕТРО-АВТОМОБИЛИ”
(57) Реферат:
Изобретение относится к детским строительным наборам, конструкторам. Игрушка-конструктор состоит из набора сборочных деталей, выполненных в виде формообразовательных элементов ретро-автомобиля с возможностью взаимного крепления посредством выступов и гнезд. Набор состоит из основания, двигателя, кабины, крыши, лобового окна, руля, фар, сидения, опоры, подшипников, шаковки, колес и осей, при этом все элементы автомобиля выполнены из твердых пород дерева в стиле «ретро», причем основание, крыша, лобовое окно, колеса, подшипники выполнены правильной геометрической формы с закругленными углами в стиле «ретро». Сидение состоит, по крайней мере, из двух элементов плоской формы, перпендикулярно расположенных и соединенных между собой. Основание выполнено разъемным в продольной плоскости и состоящим, по крайней мере, из двух платформ, одна из которых выполнена большей длины вдоль продольной оси и снабжена поперечным элементом, представляющим собой бампер «ретро-автомобиля». Набор позволяет осуществить сборку моделей ретро-автомобилей с высокой степенью деталировки. 5 з.п. ф-лы, 17 ил.
Изобретение относится к области игрушек, а именно к детским наборам, собираемым с применением соединительных неприклеиваемых элементов, предназначено для моделирования различных видов ретро-автомобилей и может использоваться как игра-конструктор для детей раннего и младшего дошкольного возраста, так и для детей старшего дошкольного возраста.
Известен конструктор автомобиля, содержащий шасси, набор элементов, предназначенный для установки на шасси с возможностью замены элементов для моделирования различных модификаций автомобилей, фиксаторы, выполненные с возможностью подсоединения элементов к шасси (Заявка Германии 3244061, А63Н 33/10, опубл. 1984 г.).
Этот конструктор предназначен для моделирования различных специальных и грузовых автомобилей, например грузовых автомобилей с кузовом, бульдозеров, катков для укладки асфальта и т.п. Для моделирования таких автомобилей используется набор элементов: кабина водителя и различные навесные рабочие орудия, такие как прямоугольный кузов для перевозки грузов, ковш, каток и т.п. Фиксаторы выполнены в виде штырей, закрепленных на круглых или прямоугольных пластинах. Штыри вставляются в отверстия в ответных частях кузова, обеспечивая соответствующее соединение деталей в плоскости разъема.
Основным ограничением этого устройства является невозможность конструирования различных модификаций пассажирских автомобилей, т.к. в конструкции не предусмотрено изменение непосредственно формы кабины водителя. Хотя замена различных рабочих органов в этом устройстве и изменяет внешний вид автомобиля, однако занимательность такого устройства в целом при его сборке не является достаточно высокой, поскольку создаваемый зрительный образ автомобиля при установке различных рабочих органов к одной и той же по внешнему виду и по форме кабине водителя легко предугадываем. Большое количество используемых элементов позволяет создавать только небольшое, ограниченное количество моделей. Кроме того, фиксаторы в этом устройстве устанавливаются снаружи, что приводит к неоправданному изменению внешнего вида автомобиля, и при сборке трудно создавать модификации автомобилей (даже грузовых и специальных), которые близки по форме реальным.
Наиболее близким к предлагаемому изобретению является конструктор автомобиля (РФ патент 2257242, А63Н 33/04, публ. 27.07.2005 года, бюлл. 21).
Конструктор относится к детским наборам и предназначен для моделирования различных модификаций пассажирских автомобилей. Состоит из набора сборочных деталей, выполненных с возможностью взаимного крепления посредством выступов на одних, и гнезд, отвечающих выступам формы на других.
Технический результат, достигнутый при выполнении этого устройства, – повышение занимательности, изменение дизайна внешней формы пассажирского автомобиля по желанию потребителя, увеличение количества моделей автомобиля при минимизации количества элементов для его изготовления, создание пассажирских автомобилей как с внешним видом, близким к реальному, так и с оригинальным фантазийным внешним видом, обеспечение возможности изучения ребенком при сборке автомобиля соотношения пропорций и форм конструкций, их красоты и изящности или их несообразности и неуклюжести.
Известное устройство несет информацию только о современных автомобилях.
Для развития ребенка, его пространственного и умственного мышления в области автомобилестроения очень важно изучение форм, моделей и видов всего парка, начиная с одних из первых автомобилей, а не только современных и специальных.
Технической задачей изобретения является создание детской игрушки-конструктора «ретро-автомобили», которая несет старую, классическую информацию об автомобилях, создание игрушки прошлого века, интересной детям не только как забава, но и как история автомашин.
Техническая задача достигается тем, что в детской игрушке-конструкторе, состоящей из набора сборочных деталей, выполненных с возможностью взаимного крепления посредством выступов на одних и гнезд, отвечающих выступам формы, на других, набор сборочных деталей представляет собой совокупность формообразовательных элементов ретро-автомобиля: по крайней мере, основания, двигателя, кабины, крыши, лобового окна, руля, фар, сидения, опоры, подшипников, шаковки, колес и осей, все элементы автомобиля выполнены из твердых пород дерева различной формы, конфигурации и размеров в стиле «ретро», причем, по крайней мере, двигатель, кабина, опора, фары, руль, шаковка и оси выполнены объемной фигурной формы в стиле «ретро», основание, крыша, лобовое окно, колеса, подшипники выполнены правильной геометрической формы с закругленными углами в стиле «ретро», а сидение состоит, по крайней мере, из двух элементов плоской формы, перпендикулярно расположенных и соединенных между собой, основание выполнено разъемным в продольной плоскости и состоящим, по крайней мере, из двух платформ, одна из которых выполнена большей длины вдоль продольной оси и снабжена поперечным элементом, представляющим собой бампер «ретро-автомобиля», на каждой из платформ выполнены сквозные поперечные отверстия для установки осей колес, гнезда для крепления других формообразовательных элементов расположены одни вдоль продольной оси симметрии в количестве, по крайней мере, от одного до девяти для обеспечения моделирования различных видов и различных модулей ретро-автомобиля, а другие на бампере и на поверхности другой платформы симметрично относительно оси симметрии.
В качестве твердых пород дерева используют бук или березу.
На поверхность формообразовательных элементов нанесено покрытие из воска.
Поверхность формообразовательных элементов окрашена, по крайней мере, в три цвета.
Формообразовательные элементы используют для моделирования, по крайней мере, трех основных видов и четырех модулей ретро-автомобиля.
В одном конструкторе используют, по крайней мере, один комплект формообразовательных элементов в количестве, по крайней мере, двадцати девяти элементов.
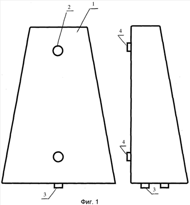
Изобретение поясняется чертежами, где представлены основные виды формообразовательных элементов и примеры сборочных модулей: на фиг.1 – кабина, фиг.2 – платформа 1, фиг.3 – платформа 2, фиг.4 – сидение, фиг.5 – двигатель, фиг.6 – крыша, фиг.7 – лобовое окно, фиг.8 – колесо, фиг.9 – подшипник, фиг.10 – шаковка, фиг.11 – оси 1, 2, 3, фиг.12 – опора, фиг.13 – руль, фиг.14 – фары, фиг.15 – фото «кабриолет», фиг.16 – фото «почтовый автомобиль», фиг.17 – фото «полицейская машинка».
Изобретение состоит из основных формообразовательных элементов:
– кабины 1 (фиг.1), которая выполнена объемной и имеет форму трапеции (вид спереди). Кабина 1 снабжена гнездами 2 для обеспечения крепления к ее поверхности других формообразовательных элементов в процессе моделирования и выступами 3 и 4 для крепления самой кабины 1 к другим формообразовательным элементам;
– основания, выполненного разъемным в продольной плоскости и состоящим, по крайней мере, из двух платформ 5 и 6, выполненных в виде плоских деталей различной формы и конфигурации. Платформа 6 выполнена большей длины вдоль продольной оси и снабжена поперечным элементом, представляющим собой бампер 7 «ретро-автомобиля». На каждой из платформ 5 и 6 выполнены сквозные поперечные отверстия 8 для установки осей колес.
На платформах 5 и 6 выполнены гнезда для крепления других формообразовательных элементов.
Гнезда 9 платформы 5 и гнезда 10 платформы 6 расположены одни вдоль продольной оси симметрии в количестве, по крайней мере, от одного до девяти и предназначены для обеспечения моделирования различных видов и различных модулей ретро-автомобиля. Гнезда 11 и 12 выполнены на платформе 5, расположены симметрично относительно ее продольной оси симметрии и могут быть использованы, например, при моделировании «почтового автомобиля». На бампере 7 платформы 6 выполнены гнезда 13 для крепления других формообразовательных элементов.
Гнезда 9 и 10 используют для крепления платформ между собой и для крепления к ним других формообразовательных элементов. Гнезда 9 и 10 позволяют фантазировать и моделировать автомобиль любого размера и любого вида в рамках возможного;
– сидения 14, которое состоит из двух перпендикулярно соединенных деталей. Сидение 14 имеет выступы 15 для крепления к другим формообразовательным элементам, например к платформе 5 или 6;
– двигателя 16, выполненного объемным в виде параллелепипеда со скругленной вдоль продольной оси формой. Двигатель 16 имеет стыковочные выступы 17;
– крыши 18 со стыковочными гнездами 19. Крыша выполнена в виде плоской детали, представляющей собой в плане прямоугольник со скругленными углами с одной стороны;
– лобовое окно 20, которое представляет собой плоскую деталь прямоугольной формы с закругленным верхом и прорезным окном 21 сложной конфигурации в стиле «ретро». Лобовое окно 20 имеет выступы 22 и гнезда 23 для крепления других формообразующих элементов;
– колеса 24 со стыковочным гнездом 25 (в комплекте, по крайней мере, должно быть четыре колеса); подшипника 26 со стыковочным гнездом 27 (в комплекте их должно быть, по крайней мере, четыре); шаковки 28 (в комплекте – шесть); оси 29 разного размера (в комплекте их должно быть, по крайней мере, три); опоры 30 со стыковочными выступами 31 (в комплекте их должно быть, по крайней мере, две); руля 32 со стыковочным выступом 33 и фары 34 со стыковочным выступом 35 (в комплекте их должно быть, по крайней мере, две).
Все формообразовательные элементы имеют различную конфигурацию, выполненную в стиле «ретро автомобилей», что придает собранному модулю вид «ретро автомобиля». Каждый формообразовательный элемент несет различную функциональную нагрузку, например, формообразовательный элемент – двигатель в отдельных моделях выполняет роль двигателя, а в других – роль багажа (кабриолет) и т.д.
Формообразовательные элементы выполнены из твердых пород дерева, например бук или береза, при этом поверхность их покрыта воском. Твердые породы деревьев обеспечивают деталям на долгое время прочность и износостойкость, сохраняют форму и конфигурацию деталей, что очень важно для сохранения внешнего вида «ретро-автомобиля». Покрытие воском опять же обеспечивает сохранность внешнего вида, но еще дополнительно придает лоск и блеск, что характерно опять же для «ретро-автомобилей».
Все формообразовательные элементы могут быть окрашены в три разные цвета, например красный, зеленый и синий или любые другие. Причем детали одного функционального назначения могут быть окрашены в одну цветовую гамму, а другого – в другую. Для маленьких детей это дает возможность быстрее сориентироваться в большом многообразии функциональных элементов. Кроме того, окрашенные в разные цвета элементы более красивы и эстетичны, что также способствует развитию у ребенка чувства красоты. Предлагаемый конструктор позволяет собирать и моделировать, по крайней мере, следующие виды «ретро-автомобилей»:
– автобус;
– почтовый автомобиль;
– кабриолет;
– походный автомобиль;
– полицейская машина;
– мини-джип (внедорожник).
В процессе игры ребенок может самостоятельно смоделировать любой другой вид «ретро-автомобиля», сфантазированный им самим.
При сборке различных видов «ретро-автомобилей» могут быть использованы не все функциональные элементы конструктора, например в кабриолете не используются опоры и крыша, а в почтовом автомобиле используются все детали и т.д.
Последовательность сборки.
Пример 1.
«Кабриолет» (фиг.15)
Берем платформу 5, выдвигаем из нее платформу 6 на восемь отверстий, расположенных вдоль оси симметрии платформы, и закрепляем их стыковочным выступом 22 лобового окна 20 в девятое стыковочное гнездо 10 платформы 6 и стыковочное гнездо 9 платформы 5, посредством стыковочных выступов 3 устанавливаем кабину 1 горизонтально на платформу 6, затем устанавливаем колеса 24 в переднюю часть автомобиля. Для этого понадобится ось: одна из осей 29 среднего размера. На ось 29 нанизываем колесо 24, затем подшипник 26 и протаскиваем в платформу 6 через сквозное отверстие 8, после закрепляем шаковкой 28. В такой же последовательности устанавливаются колеса сзади, используя ось 29 большего размера. Затем переходим к установке двигателя 16, в этой модели двигатель 16 играет роль багажа. Багаж крепится на задней части автомобиля в отверстия 11 платформы 5. Затем идет сидение 14, которое своими стыковочными выступами 15 устанавливается в ответные гнезда 9 платформы 5 с обеспечением плотного прилегания к багажу (двигателю 16), и крепление руля 32 посредством стыковочного выступа 33 в ответное стыковочное гнездо 9 платформы 5. Устанавливаем фары 34 на бампер 7.
Кабриолет готов.
Пример 2.
«Почтовый автомобиль» (фиг.16)
Берем платформу 5, выдвигаем из нее платформу 6 на четыре отверстия, расположенные вдоль оси симметрии платформы 5. Устанавливаем двигатель 16 посредством стыковочных выступов 17 на платформу 6 в свободные гнезда 10 в передней части моделирумого автомобиля. Затем берем ось 29 малого размера, насаживаем колесо 24, затем подшипник 27 и протаскиваем ось 29 в платформу 6 через сквозное отверстие 8, затем насаживаем второй подшипник 27, затем колесо 24 и закрепляем шаковкой 28. В такой же последовательности устанавливаются колеса сзади, используя ось 29 самого большого размера. После того как платформы 5 и 6 установлены на колесах, переходим к установке на платформу 5 в свободные гнезда кабины 1, затем в свободные гнезда устанавливаем сидение 14, а в последнее свободное гнездо платформы 5 руль 32. Ставим опоры 30 в гнезда 12 платформы 5. Крыша 18 кладется на кабину 1 по центру и крепится осью 29 среднего размера. Опоры 30 закрепляются шаковками 28. Устанавливают фары 34 на бампер 7 платформы 6.
Почтовый автомобиль готов.
Пример 3.
«Полицейская машинка»
Берем платформу 5, не выдвигаем платформу 6. На край оси 29 среднего размера с шаковкой 28 насаживаем колесо 24, затем подшипник 27. Свободный конец оси 29 продеваем через сквозное отверстие 8 передней части платформы 6 и на него снова насаживаем подшипник 27, колесо 24 и шаковку 28 для закрепления всей конструкции.
Таким образом, к несущей платформе прикреплены передние колеса.
Задние колеса крепятся к платформе в той же последовательности.
На край оси 29 большого размера с шаковкой 28 насаживаем колесо 24, затем подшипник 27. Свободный конец оси 29 продеваем через сквозное отверстие 8 задней части платформы 5 и на него снова насаживаем подшипник 27, колесо 24 и шаковку 28 для закрепления конструкции.
Далее на платформе последовательно крепятся посредством стыковочных гнезд на платформе и выступов на формообразовательных элементах: кабина 1, сидение 14, руль 32. Затем устанавливаются на бампер 7 опоры 30, крыша 18 на кабину 1.
Выдвигают из крыши 18 лобовое окно 20, которое крепится на опоры 30. Все закрепляют шаковками 28. Крыша 18 закрепляется маленькой осью (на чертеже не показано). Фара 34 устанавливается только одна на крыше 18 посередине.
«Полицейская машинка» готова.
Предлагаемый конструктор предусматривает не только сборку указанных «ретро-автомобилей», но и дает возможность играющему фантазировать, конструировать и моделировать свои автомобили.
Возрастной диапазон использования игрушки «Ретро-автомобили» достаточно широк – начиная с 2.5 лет и заканчивая старшим дошкольным возрастом. Младшие дети с удовольствием будут использовать автомобиль для простых манипулятивных игр: катания по полу, разбирая и собирая и так далее. Для ролевых игр: в шофера, если это автомобиль, машинист, если это поезд.
Сборно-разборная игрушка имеет большой смысл, рисунок.
Во-первых, благодаря тому что автомобиль собирается из отдельных частей, ребенок сам может выбирать, какую роль ему играть, изменяя вид и назначение своего автомобиля, прибавляя и убавляя какие-либо детали.
Во-вторых, каждая игрушка имеет свою классификацию и свое назначение.
Игрушки бывают спортивного типа, грузового и легкового.
«Ретро-автомобиль» несет старую, классическую информацию об автомобилях. Этот легковой автомобиль может также быть и грузовым. Идея самого «Ретро-пенала» заключается в том, что эта игрушка прошлого века интересна детям не только как забава, но и как история автомашин.
Игрушка «Ретро-автомобили» позволяет ребенку ощутить уверенность в собственных силах. Она становится опорой для самостоятельных действий, помогает увидеть свою компетентность и автономность. Игрушка провоцирует малыша организовывать свое игровое пространство, способствует самостоятельной постановке и разрешению всех более сложных задач. Наличие не только загадки, но и подсказки в самом предмете вызовет интерес и желание действовать. Игрушка выбрана правильно, она содержит понятные ребенку ориентиры для его самостоятельной деятельности. Примером могут служить такие известные народные забавы, как пирамидки и матрешки, которые сами «подсказывают» правильный способ действия.
«Ретро-автомобиль» не имеет аналогичных вариантов (игрушка имеет раздвижные панели, с помощью которых меняет вид, силуэт и назначение).
Формула изобретения
1. Детская игрушка-конструктор, состоящая из набора сборочных деталей, выполненных с возможностью взаимного крепления посредством выступов на одних и гнезд, отвечающих выступам формы, на других, отличающаяся тем, что набор сборочных деталей представляет собой совокупность формообразовательных элементов автомобиля: по крайней мере, основания, двигателя, кабины, крыши, лобового окна, руля, фар, сидения, опоры, подшипников, шаковки, колес и осей, при этом все элементы автомобиля выполнены из твердых пород дерева различной формы, конфигурации и размеров, причем, по крайней мере, двигатель, кабина, опора, фары, руль, шаковка и оси выполнены объемной фигурной формы, основание, крыша, лобовое окно, колеса, подшипники выполнены правильной геометрической формы с закругленными углами, а сидение состоит, по крайней мере, из двух элементов плоской формы, перпендикулярно расположенных и соединенных между собой, основание выполнено разъемным в продольной плоскости и состоящим, по крайней мере, из двух платформ, одна из которых выполнена большей длины вдоль продольной оси и снабжена поперечным элементом, представляющим собой бампер автомобиля, на каждой из платформ выполнены сквозные поперечные отверстия для установки осей колес, гнезда для крепления других формообразовательных элементов расположены одни вдоль продольной оси симметрии в количестве, по крайней мере, от одного до девяти для обеспечения моделирования различных видов и различных модулей автомобиля, а другие на бампере и на поверхности другой платформы симметрично относительно оси симметрии.
2. Детская игрушка-конструктор по п.1, отличающаяся тем, что в качестве твердых пород дерева используют бук или березу.
3. Детская игрушка-конструктор по п.1, отличающаяся тем, что на поверхность формообразовательных элементов нанесено покрытие из воска.
4. Детская игрушка-конструктор по п.1, отличающаяся тем, что поверхность формообразовательных элементов окрашена, по крайней мере, в три цвета.
5. Детская игрушка-конструктор по п.1, отличающаяся тем, что формообразовательные элементы, по крайней мере, используют для моделирования трех основных видов и четырех модулей автомобиля.
6. Детская игрушка-конструктор по п.1, отличающаяся тем, что в одном конструкторе используют, по крайней мере, один комплект формообразовательных элементов в количестве, по крайней мере, двадцати девяти элементов.
РИСУНКИ
|
|