|
|
(21), (22) Заявка: 2006118965/11, 18.04.2007
(24) Дата начала отсчета срока действия патента:
18.04.2007
(43) Дата публикации заявки: 27.10.2008
(46) Опубликовано: 27.04.2009
(56) Список документов, цитированных в отчете о поиске:
RU 2274481 С1, 20.04.2006. SU 1269783 А2, 15.11.1986. RU 2223125 С1, 10.02.2004. US 2004182645 А, 23.09.2004. JP 2001137373 А, 22.05.2001. FR 2548543 А, 11.01.1985. CN 1583196 А, 23.02.2005.
Адрес для переписки:
123242, Москва, ул. Конюшковская, 30, стр. 3, ОАО”Спасательные системы и технологии”, В.С. Чайкову
|
(72) Автор(ы):
Васянин Валерий Иванович (RU)
(73) Патентообладатель(и):
ОТКРЫТОЕ АКЦИОНЕРНОЕ ОБЩЕСТВО “СПАСАТЕЛЬНЫЕ СИСТЕМЫ И ТЕХНОЛОГИИ” (RU)
|
(54) УСТРОЙСТВО ДЛЯ ЭВАКУАЦИИ ЛЮДЕЙ ИЗ ВЫСОТНЫХ СООРУЖЕНИЙ ПРИ ФОРС-МАЖОРНЫХ СИТУАЦИЯХ
(57) Реферат:
Изобретение относится к области пожарной техники, используемой для эвакуации и спасения людей из верхних этажей высотных зданий при пожарах и других чрезвычайных ситуациях. Устройство содержит пожаробезопасный корпус с размещенным в нем барабаном с намотанным на него тросом, подвесные приспособления для крепления спасаемых к тросу, стабилизатор скорости сматывания троса с барабана и тормозной механизм. Устройство снабжено автономным электромеханическим регулятором скорости спуска спасаемого, ловителем троса при его обрывах и Т-образным горизонтальным кронштейном с телескопической консолью и закрепленной на последней страховочной гибкой растяжкой с зацепом на свободном конце. Каждое подвесное устройство для крепления спасаемого к тросу снабжено захватом с подпружиненными роликовыми зажимами троса. Тормозной механизм выполнен в виде преобразователя кинетической энергии торможения, состоящего из кинематически связанного с барабаном обратимого электрогенератора – двигателя с накопителем электрической энергии в виде аккумулятора. Барабан имеет храповик, закрепленный на оси последнего. Телескопическая консоль Т-образного горизонтального кронштейна выступает из проема наружной стены высотного сооружения. Горизонтальная поперечина и страховочная гибкая растяжка консоли кронштейна оперты посредством шипов и зацепа соответственно на вертикальные и горизонтальную кромки проемов наружной и разделительной стен высотного сооружения. Корпус с размещенным в нем барабаном подвешен посредством гибкой связи к наружному концу консоли Т-образного горизонтального кронштейна, длина L поперечины которого в 1,3-2,5 раза превышает длину L1 его телескопической консоли. Технический результат направлен на создание эффективного многоразового средства эвакуации людей с верхних этажей высотных сооружений. 4 ил.
Изобретение относится к области пожарной техники, используемой для эвакуации и спасения людей из верхних этажей высотных зданий при пожарах и других чрезвычайных ситуациях.
Известно из патента Российской Федерации 2149046, кл.7 А62В 1/08, 2000 г. спасательное устройство для гравитационного спуска людей в экстремальных условиях, содержащее размещенный в защитном кожухе тросовый барабан с гибким несущим элементом с зацепом на свободном конце, пояс и лямки для фиксации на теле эвакуируемого, закрепленный на тросовом барабане тормозной механизм и неподвижный корпус.
Недостатки вышеуказанного устройства – оно является одноразовым, сложным по конструкции и не позволяет регулировать скорость спуска.
Наиболее близким по своей технической сути к предложенному устройству для эвакуации людей из высотных зданий при форс-мажорных ситуациях является известное из патента Российской Федерации 2223125, кл.7 A62B 1/08, 2004 г., устройство для эвакуации людей из высотных сооружений при форс-мажорных ситуациях, содержащее пажаробезопасный корпус с размещенным в нем барабаном с намотанным на него тросом, подвесные приспособления для крепления спасаемых к тросу, стабилизатор скорости сматывания троса с барабана и тормозной механизм.
Недостатками этого технического решения является недостаточная безопасность спуска человека из-за отсутствия механизма контроля необходимой величины силы трения, удерживающей человека на тросе при спуске.
Задачей предлагаемого изобретения является создание эффективного многоразового средства эвакуации людей с верхних этажей высотных сооружений при форс-мажорных ситуациях, например пожарах.
Задача изобретения достигается тем, что устройство для эвакуации людей из высотных сооружений при форс-мажорных ситуациях, содержащее пожаробезопасный корпус с размещенным в нем барабаном с намотанным на него тросом, подвесные приспособления для крепления спасаемых к тросу, стабилизатор скорости сматывания троса с барабана и тормозной механизм, снабжено автономным электромеханическим регулятором скорости спуска спасаемого, ловителем троса при его обрывах и Т-образным горизонтальным кронштейном с телескопической консолью и закрепленной на последней страховочной гибкой растяжкой с зацепом на свободном конце, каждое подвесное устройство для крепления спасаемого к тросу – захватом с подпружиненными роликовыми зажимами троса, тормозным механизмом-преобразователем кинетической энергии торможения в виде кинематически связанного с барабаном обратимого электрогенератора – двигателя с накопителем электроэнергии в виде аккумулятора, барабан – храповиком, закрепленным на оси последнего, телескопическая консоль Т-образного горизонтального кронштейна выступает из проема наружной стены высотного сооружения, причем горизонтальная поперечина и страховочная гибкая растяжка консоли кронштейна оперты посредством шипов и зацепа соответственно на вертикальные и горизонтальную кромки проемов наружной и разделительной стен высотного сооружения, а корпус с размещенным в нем барабаном подвешен посредством гибкой связи к наружному концу консоли Т-образного горизонтального кронштейна, длина L поперечины которого в 1,3-2,5 раза превышает длину L1 его телескопической консоли.
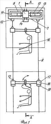
Сущность изобретения поясняется чертежами, где на фиг.1 схематично изображен общий вид устройства для эвакуации людей из высотных сооружений при форс-мажорных ситуациях; на фиг.2 – разрез по А-А на фиг.1; на фиг.3 – разрез по Б-Б на фиг.2 и на фиг 4 – кинематическая схема устройства для эвакуации людей из высотных сооружений при форс-мажорных ситуациях.
Устройство для эвакуации людей из высотных сооружений при форс-мажорных ситуациях состоит из Т-образного горизонтального кронштейна, образованного жестко соединенными друг с другом стойками в виде телескопической консоли 1, один из концов которой жестко соединен с серединой поперечины 2, и закрепленной на телескопической консоли одним из концов страховочной гибкой растяжки 3 с зацепом 4 на свободном конце. Для фиксации Т-образного горизонтального кронштейна в рабочем положении на концах поперечины 2 закреплены шипы 5, опертые в рабочем положении на вертикальные кромки проема в наружной стене высотного сооружения (на чертежах условно не показанных), при этом для фиксации в рабочем положении Т-образного горизонтального кронштейна зацеп 4 страховочной гибкой растяжки 3 фиксируется на горизонтальной кромке проема внутренней стены высотного сооружения (на чертежах условно не показано). К выступающему из проема в наружной стене высотного сооружения концу консоли 1 подвешен посредством гибкого элемента 6 пожаробезопасный корпус 7, охватывающий барабан 8 с намотанным на него тросом 9, имеющий храповик 10, обеспечивающий вращение барабана 8 только при сматывание с него троса 9. Барабан 8 кинематически соединен с автономным электромеханическим регулятором 11 скорости спуска спасаемого человека, ловителем 12 троса 9 при его обрыве, тормозным механизмом в виде преобразователя кинетической энергии торможения в электрическую, состоящего из обратимого электрогенератора – двигателя 13, соединенного с накопителем электроэнергии в виде аккумулятора 14, и стабилизатором 15 скорости сматывания троса 9, которая не должна превышать 0,53 м/с. При подготовки людей к эвакуации на каждого надевается подвесное приспособление 16, например от парашюта, имеющее захват троса 9 виде обоймы 17 с прорезью 18 для прохода последнего. После размещения в прорези 18 троса 9 вход в последнюю автоматически закрывается защелками 19, при этом положение обоймы 17 на тросе 9 фиксируется посредством подпружиненных роликовых зажимов 20, между которыми он располагается. Длина L поперечины 2 Т-образного горизонтального кронштейна превышает длину L1 его телескопической консоли 1 в 1,3-2,5, а протяженность троса 9, намотанного на барабан 8, задается в каждом конкретном случае, исходя из высоты высотного сооружения, количества людей, для одновременной эвакуации которых оно предназначается, причем это количество не должно превышать двенадцати.
Работает устройство для эвакуации людей из высотных сооружений при форс-мажорных ситуациях следующим образом. При возникновении экстремальной ситуации, при которой невозможна эвакуация людей с верхних этажей высотного сооружения посредством лифтов или лестниц, приводится в рабочее состояние одно или несколько устройств для эвакуации людей из высотных сооружений при форс-мажорных ситуациях в зависимости от количества человек, находящихся на отрезанном от стационарных путей эвакуации людей этаже. Для этого в проеме наружной стены (окна или балконной двери) размещают телескопическую консоль 1 Т-образного горизонтального кронштейна, уперев его поперечину 2 шипами 5 в вертикальные кромки этого проема наружной стены, и фиксируют одновременно при этом положение телескопической консоли 1 с подвешенным к ее выдвинутому концу пожаробезопасным корпусом 7 барабана 8 страховочной гибкой растяжкой 3, опирая ее зацепом 4 на свободном конце на верхнюю кромку ближайшего оппозитно расположенного проема внутренней стены. Затем на каждого эвакуируемого человека надевают подвесное приспособление 16 и вводят в прорезь 18 обоймы 17 захвата подвесного приспособления первого из эвакуируемых людей трос 9 выше расположенного на наружном конце троса упора (на чертежах условно не показанного). Введенный в прорезь 18 обоймы 17 трос 9 располагается при этом между подпружиненными роликовыми зажимами 20 и фиксируется ими. После этого первый из эвакуируемых покидает этаж высотного сооружения, отрезанный от стандартных путей эвакуации, под действием его веса трос 9 начинает раскручивать барабан 8 относительно его опорной оси, а кинематически связанные с ним автономный электромеханический регулятор 11 скорости спуска и обратимый электрогенератор – двигатель 13 постоянного тока тормозного механизма-преобразователя обеспечивают соответственно заданную скорость спуска эвакуируемых, не превышающую 0,53 м/с, и преобразование кинетической энергии спуска в электрическую энергию, используемую для зарядки аккумулятора, соединенного кабелем (на чертежах условно не показано) с обратимым электрогенератором – двигателем 13 постоянного тока. Накапливаемая в аккумуляторе электроэнергия предназначена для работы автономного электромеханического регулятора 11 скорости спуска эвакуируемых и обратной намотки троса 9 на барабан 8 с помощью обратимого электрогенератора – двигателя 13 постоянного тока для повторного использования. После покидания первым эвакуируемым этажа сматываемый трос 9 вводится в прорезь 18 обоймы 17 захвата подвесного приспособления следующего эвакуируемого человека, покидающего отрезанный этаж не дожидаясь приземления первого. Все действия по эвакуации последующих спасаемых аналогичны действиям по эвакуации первого спасаемого. По мере приземления спасаемых трос 9 выводят из прорезей 18 обойм 17 захватов их подвесных приспособлений, а после отцепления последнего из эвакуируемых барабан 8 приводят во вращение в обратном направлении для повторной намотки троса 9 на него с целью возврата в исходное положение.
Формула изобретения
Устройство для эвакуации людей из высотных сооружений при форс-мажорных ситуациях, содержащее пожаробезопасный корпус с размещенным в нем барабаном с намотанным на него тросом, подвесные приспособления для крепления спасаемых к тросу, стабилизатор скорости сматывания троса с барабана и тормозной механизм, отличающееся тем, что снабжено автономным электромеханическим регулятором скорости спуска спасаемого, ловителем троса при его обрывах и Т-образным горизонтальным кронштейном с телескопической консолью и закрепленной на последней страховочной гибкой растяжкой с зацепом на свободном конце, каждое подвесное устройство для крепления спасаемого к тросу снабжено захватом с подпружиненными роликовыми зажимами троса, тормозной механизм – преобразователем кинетической энергии торможения в виде кинематически связанного с барабаном обратимого электрогенератора – двигателя с накопителем электрической энергии в виде аккумулятора, барабан – храповиком, закрепленным на оси последнего, телескопическая консоль Т-образного горизонтального кронштейна выступает из проема наружной стены высотного сооружения, причем горизонтальная поперечина и страховочная гибкая растяжка консоли кронштейна оперты посредством шипов и зацепа соответственно на вертикальные и горизонтальную кромки проемов наружной и разделительной стен высотного сооружения, а корпус с размещенным в нем барабаном подвешен посредством гибкой связи к наружному концу консоли Т-образного горизонтального кронштейна, длина L поперечины которого в 1,3-2,5 раза превышает длину L1 его телескопической консоли.
РИСУНКИ
|
|