|
|
(21), (22) Заявка: 2007133445/14, 06.09.2007
(24) Дата начала отсчета срока действия патента:
16.04.2004
(30) Конвенционный приоритет:
23.04.2003 US 60/464,787
(46) Опубликовано: 27.04.2009
(56) Список документов, цитированных в отчете о поиске:
US 5524312 А, 11.01.1996. WO 9403125 А, 17.02.1994. ЕР 1059045 А, 13.12.2000. RU 2141278 C1, 20.11.1999. US 5836030 А, 17.11.1998.
(62) Номер и дата подачи первоначальной заявки, из которой данная заявка выделена: 2005132621 24.10.2005
Адрес для переписки:
123100, Москва, а/я 48, Юридическая фирма “Жигачев и Христофоров”, пат.пов. А.А.Христофорову, рег. 509
|
(72) Автор(ы):
ЧАН Джон Джеоффри (US), ГЭЛЛ Дуглас А. (US)
(73) Патентообладатель(и):
ДЗЕ ПРОКТЕР ЭНД ГЭМБЛ КОМПАНИ (US)
|
(54) ЭЛЕКТРИЧЕСКАЯ ЗУБНАЯ ЩЕТКА
(57) Реферат:
Группа изобретений относится к области гигиены и может быть использована для чистки зубов. Электрическая зубная щетка содержит ручку, внутри которой расположен двигатель, головку, имеющую продольную ось и множество подвижных держателей щетины, суженную часть, проходящую между ручкой и головкой, и вал, совершающий возвратно-поступательное движение, который механически соединен с двигателем и множеством подвижных держателей щетины. Множество подвижных держателей щетины совершает возвратно-поступательное движение в направлении, практически перпендикулярном продольной оси. По второму варианту изобретения множество подвижных держателей щетины совершает возвратно-поступательное движение вдоль продольной оси. Технический результат – повышение терапевтического эффекта и удобство пользования. 2 н. и 2 з.п. ф-лы, 10 ил.
Область техники, к которой относится изобретение
Настоящее изобретение относится к области зубных щеток, а конкретнее изобретение относится к области зубных щеток, приводимых в действие электроэнергией.
Уровень техники
В большинстве известных электрических зубных щетках используется единственный держатель щетины, который приводится в действие электродвигателем, встроенным в зубную щетку. В этих зубных щетках держатели щетины обычно совершают вращательное движение. Хотя в определенных отношениях это дает удовлетворительные результаты, по-прежнему существует потребность в совершенствовании конструкции зубных щеток, питаемых электроэнергией.
Неоднократно предпринимались попытки усовершенствовать конструкцию, повысить эффективность, очищающую способность, простоту и (или) коммерческую жизнеспособность электрических зубных щеток. Один из подходов предусмотрел наличие нескольких держателей щетины, приводимых в действие электроэнергией. Большинство изобретателей сгруппировали несколько совокупностей щетинок вдоль конца щетки и встроили приводной механизм для одновременного совместного вращения каждой совокупности щетинок. Примеры такой конструкции раскрыты, в частности, в патентах США  3.242.516, 4.156.620, 4.845.795, 5.088.145, 5.020.179, 4.827.550 и 4.545.087.
Близкий подход, заключающийся в группировании совокупностей щетинок на нескольких вращающихся держателях щетины, раскрыт в патентах США  2.140.307 и 5.170.525. Вместо того чтобы вращать каждую отдельную щетинку вокруг ее центра, то есть придерживаться подхода, принятого в указанных выше патентах, конструкции, описанные в патентах США  2.140.307 и 5.170.525, вращают несколько групп совокупностей щетинок вокруг центра держателя щетины. Конкретнее, множество групп совокупностей щетинок располагается на круглом держателе щетины, и этот держатель щетины, обычно один из нескольких, вращается вокруг своей оси.
В патенте США 5.070.567 описана конструкция, сочетающая два вышеуказанных подхода. В нем предложен вращающийся держатель щетины вместе с множеством совокупностей щетинок, вращающихся по отдельности. Хотя эта конструкция, вероятно, сочетает в себе многие преимущества каждого из своих предшественников, очищающая способность одних только вращающихся пучков щетины является до некоторой степени ограниченной.
В патенте США 5.617.603 раскрыта еще одна конструкция. Патент США 5.617.603 описывает устройство из «шатающе-качающихся» щеток. По-видимому, два держателя щетины движутся по сложной траектории в плоскости щетки.
Хотя из уровня техники известны конструкции с двумя держателями щетины, которые совершают движения в самых различных сочетаниях, сохраняется потребность в создании электрической зубной щетки со множеством держателей щетины, у которой по меньшей мере один держатель совершает возвратно-поступательное движение или движение вокруг оси. Кроме того, существует потребность в создании электрической зубной щетки со множеством держателей щетины, у которой по меньшей мере один держатель совершает возвратно-поступательное движение, в то время как другой компонент щетки совершает особый тип движения, который способствует процессу чистки зубов.
Сущность изобретения
Предложена электрическая зубная щетка. Эта электрическая зубная щетка имеет удлиненный корпус, содержащий ручку, головку и суженную часть, проходящую между ручкой и головкой. На головке расположено множество держателей щетины, и каждый держатель щетины включает в себя совокупность пучков щетины. Электродвигатель механически соединен с валом, причем оба расположены в корпусе зубной щетки. При включении электродвигателя вал совершает возвратно-поступательное движение. Вал механически соединен с по меньшей мере одним держателем щетины с целью приведения в движение этого держателя и связанных с ним держателей.
Краткое описание чертежей
Настоящее изобретение может принимать форму, которая может содержать различные компоненты и сочетания компонентов и в которой могут применяться различные методы, способы или процедуры и последовательности действий. Приведенные чертежи предназначены только для иллюстрации предпочтительных вариантов осуществления, они необязательно выполнены в масштабе и не должны накладывать ограничения на настоящее изобретение.
Настоящее изобретение будет проще понять из приводимого описания в сочетании с прилагаемыми чертежами.
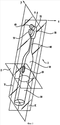
Фиг.1 представляет собой вид в перспективе предпочтительного варианта осуществления зубной щетки в соответствии с настоящим изобретением, на котором показаны различные плоскости и их ориентация по отношению к зубной щетке.
Фиг.2 представляет собой вид в перспективе другого предпочтительного варианта осуществления зубной щетки в соответствии с настоящим изобретением.
Фиг.3 представляет собой вид в перспективе другого предпочтительного варианта осуществления зубной щетки в соответствии с настоящим изобретением.
Фиг.4 представляет собой вид в перспективе другого предпочтительного варианта осуществления зубной щетки в соответствии с настоящим изобретением.
Фиг.5 представляет собой вид в перспективе лицевой и тыльной части головки щетки другого предпочтительного варианта осуществления зубной щетки в соответствии с настоящим изобретением.
Фиг.6 представляет собой подробный вид нескольких предпочтительных вариантов массажных элементов, используемых предпочтительным вариантом осуществления зубной щетки, изображенной на фиг.5.
Фиг.7 представляет собой вид в разрезе головки зубной щетки предпочтительного варианта осуществления зубной щетки, изображенной на фиг.5.
Фиг.8 представляет собой подробный вид лицевой и тыльной стороны головки зубной щетки другого предпочтительно варианта осуществления зубной щетки в соответствии с настоящим изобретением.
Фиг.9 представляет собой подробный вид нескольких предпочтительных вариантов массажных элементов, используемых в предпочтительном варианте выполнения зубной щетки, изображенной на фиг.8.
Фиг.10 представляет собой подробный вид в разрезе головки щетки предпочтительного варианта осуществления зубной щетки, изображенной на фиг.8.
Подробное описание предпочтительных вариантов осуществления
Прежде чем приступить к описанию различных предпочтительных вариантов осуществления, необходимо определить различные типы движения, которые могут совершать различные зубные щетки. В настоящем описании термин «угловое движение» относится к любому угловому перемещению. «Линейное движение» – это движение по прямой или практически прямой линии или направлению. «Криволинейное движение» – это движение, которое не является ни чисто линейным, ни чисто угловым, но представляет сочетание этих двух движений (например, криволинейное). Эти виды движения могут быть постоянными или периодическими. Постоянным движением называют движение, которое не меняет направление или траекторию (то есть является однонаправленным). Периодическое движение меняет направление или траекторию на противоположное. Постоянное угловое движение называется вращательным движением, хотя в настоящем описании может использоваться такая характеристика, как «с возможностью вращения», что означает просто возможность углового движения, периодического или постоянного. Периодическое угловое движение называется колебательным движением. Криволинейное движение также может быть постоянным (то есть однонаправленным) или периодическим (то есть со сменой направления на противоположное). Периодическое линейное движение называется «возвратно-поступательным движением». «Орбитальное движение» – это разновидность углового движения вокруг оси, которая не совпадает с центром движущегося элемента и находится на некотором расстоянии от него, например вокруг вала. В настоящем описании это расстояние называется степенью смещения орбитального движения. Орбитальное движение может быть или постоянным угловым, или периодическим угловым движением.
Вышеописанные движения могут происходить вдоль одной или нескольких осей держателя щетины, зубной щетки, головки зубной щетки и т.д. Соответственно, описываемое здесь движение может быть одно-, двух- или трехмерным движением в зависимости от числа осевых координат, необходимых для описания положения держателя щетины во время движения. Оси X, Y и Z изображены на фиг.1. Одномерным движением является движение, которое можно описать с помощью одной координаты (например, координатами X, Y или Z). Обычно одномерным является только линейное движение. Например, периодическое линейное движение практически вдоль только оси Y является одномерным движением (называемым в настоящем документе «пульсирующим движением» или «движением вверх-вниз»). Двумерное движение – это движение держателя щетины, которое требует двух координат (например, координат Х и Y) для описания траектории движения держателя щетины. Угловое движение, совершаемое в одной плоскости, является двумерным движением, поскольку для описания траектории движения точки на держателе щетины необходимы две координаты. Трехмерным движением является движение держателя щетины, которое требует трех координат (например, координат X, Y и Z) для описания траектории движения держателя щетины. Примером трехмерного движения служит движение держателя щетины по винтовой траектории.
Поскольку большинство движений, описанных в настоящем описании, может быть видоизменено посредством введения всевозможных конструктивных признаков, описание движения в настоящем документе должно автоматически включать в себя эти видоизменения. Например, движение, которое описывается как колебательное движение вокруг оси, может включать в себя элементы других видов движения (например, возвратно-поступательное линейное движение), особенно когда имеется специальное указание на то, что возможные видоизменения могут включать в себя этот второй компонент движения. Описание типов движения, которые подразумевают исключение таких видоизменений, содержит наречие «преимущественно» (например, «преимущественно колебательное» или «преимущественно возвратно-поступательное»), и такие типы движения исключают существенное влияние других типов движения, но не таких других типов движения, которые могут возникнуть случайно вследствие производственных допусков или изменчивости производственного процесса либо, как порой бывает, когда трудно полностью исключить другие типы движения держателя щетины. Все описанные здесь типы движения могут быть, при желании, ограниченны преимущественно описываемым движением.
На фиг.1 приведен вид в перспективе предпочтительного варианта осуществления зубной щетки 2 в соответствии с настоящим изобретением. Зубная щетка 2 содержит удлиненный корпус 10, имеющий ручку 30, головку 50 и суженную часть 40, расположенную между ручкой 30 и головкой 40. На наружной стороне корпуса 10 в удобном для доступа месте расположен выключатель 20. Следует иметь в виду, что выключатель 20 запускает электрический двигатель, находящийся внутри корпуса 10. Двигатель (не показан) и приводной механизм, описанный в настоящем документе (не показан), приводят в действие один или несколько держателей щетины, расположенных у дальнего от ручки конца зубной щетки. Более конкретно, зубная щетка 2 содержит первый держатель 60 щетины, расположенный вблизи наиболее удаленного от ручки конца 52, и второй держатель 70 щетины. В соответствии с приведенным здесь более подробным описанием после приведения в действие приводного механизма первый и второй держатели щетины совершают определенную комбинацию движений. Эти движения лучше всего описывать относительно осей X, Y и Z.
В настоящем описании ось Х обычно называется продольной осью, и она в целом расположена вдоль продольного измерения головки зубной щетки или держателя щетины (если брать вид зубной щетки сверху). Например, продольная ось – это ось, проходящая через наибольшее измерение головки зубной щетки. Ось Y поперечна, ортогональна или перпендикулярна оси Х и обычно делит головку зубной щетки на левую и правую половины. Ось Z направлена поперечно, ортогонально или перпендикулярно осям Х и Y. Следует иметь в виду, что направление оси не обязательно должно быть в точности ортогонально или перпендикулярно другой оси и что угол между осями может несколько отклоняться от 90 градусов, особенно когда эти оси используют для описания направления движения. Следует понимать, что любое направление оси может сопровождаться терминами «в целом» или «практически» (например, «в целом перпендикулярно» или «практически перпендикулярно»). Слово «практически» подразумевает некоторое угловое отклонение от 90 градусов, но не такое сильное угловое отклонение, как при использовании слова «в целом». Отсутствие корректирующих слов указывает на незначительное отклонение от 90 градусов или отсутствие такого отклонения. Так, движение, которое описывают как совершаемое вдоль первой оси перпендикулярно второй оси, означает движение, которое совершается под углом 90 градусов ко второй оси с допустимым незначительным отклонением (например, вследствие производственных допусков и т.д.). Если движение в целом перпендикулярно или практически перпендикулярно, то допускается более сильное отклонение от 90 градусов. Все описываемые здесь оси могут пересекать другую ось либо в целом перпендикулярно, либо практически перпендикулярно этой другой оси.
Плоскость Х содержит ось Х и в настоящем описании обычно называется плоскостью зубной щетки или плоскостью головки зубной щетки. Эта плоскость обычно расположена вдоль продольного измерения зубной щетки. Плоскость Y содержит ось Y, и она пересекает зубную щетку и перпендикулярна плоскости X. Плоскость Y либо делит щетку пополам, либо параллельна плоскости, которая делит щетку пополам. Плоскостью Z перпендикулярна как оси X, так и оси Y и содержит ось Z.
Кроме того, полезно обратиться к терминологии, которая используется при описании предпочтительных вариантов осуществления зубных щеток, держателей щетины и различных приводных механизмов. В настоящем описании термин «вперед» означает направление от ручки к головке, тогда как термин «назад» означает направление от головки к ручке. Продольное направление – это направление, которое в целом соответствует продольной оси или оси X, но которое не обязательно лежит в той же плоскости, что и ось. Например, продольные оси вала и держателя щетины могут не лежать в одной плоскости, но в целом имеют одно направление на виде сверху. Аналогично, продольные оси суженной части и головки, которые расположены под углом друг к другу, не обязательно лежат в одной плоскости, но эти оси в целом имеют одно направление на виде сверху. Многие из предпочтительных вариантов осуществления зубных щеток обычно имеют вытянутую головку с продольной осью, проходящей через наибольшее измерение головки. Эта ось, как правило, имеет в целом то же направление, что и продольная ось суженной части зубной щетки и (или) вала. Эту ось обычно называют продольной осью зубной щетки. Под словосочетанием «в целом то же направлением подразумевается наличие некоторого углового отклонения между осями.
В целом предпочтительные варианты осуществления зубных щеток в соответствии с настоящим изобретением содержат удлиненный полый корпус, содержащий электродвигатель и приводной механизм, который используется для приведения в действие одного, двух, трех или более подвижных держателей щетины. Удлиненный полый корпус содержит также внутреннюю камеру или полость, куда помещается одна или несколько батареек для питания двигателя. Кроме того, на внешней стороне корпуса расположены один или несколько выключателей для включения двигателя и приводного механизма. Следует иметь в виду, что имеется съемная заглушка, которая закрывает внутреннюю камеру и защищает компоненты внутри зубной щетки от воздействия внешней среды. Предпочтительные варианты осуществления зубных щеток содержит один, два, три или более подвижных держателей щетины, что подробно описано в настоящем описании. Каждый держатель щетины совершает определенные типы движения, и результирующие сочетания движений обеспечивают уникальную чистящую способность.
Кроме того, полезно определить термины «фиксированные» или «неподвижные» щетинки и термин «подвижные» щетинки. Термины «фиксированные» или «неподвижные» щетинки относятся к щетинкам, которые прикреплены к головке или корпусу зубной щетки или другим ее компонентам так, что щетинки, точнее основание щетинок, не движется относительно продольной оси зубной щетки. Иными словами, под фиксированными или неподвижными щетинками понимаются щетинки, которые прикреплены к зубной щетке таким образом, что их основание или место закрепления не движется относительно зубной щетки. Понятно, что кончики и части, удаленные от основания щетинки или группы щетинок, могут двигаться вследствие изгиба щетинок. Однако основание стационарной, неподвижной или фиксированной щетинки не движется относительно щетки. Термин «подвижная щетинка» относится к щетинке, основание которой перемещается относительно щетки и, в частности, относительно продольной оси щетки. Обычно такая возможность обеспечивается за счет крепления щетины к монтажному элементу, то есть к держателю щетины, способному перемещаться относительно щетки. Иными словами, подвижная щетинка – это щетинка, которая может перемещаться относительно продольной оси щетки.
На фиг.2 приведен вид в перспективе с частным разрезом предпочтительного варианта осуществления зубной щетки 100 в соответствии с настоящим изобретением. Предпочтительный вариант осуществления зубной щетки 100 содержит корпус 130, головку 150 щетки и суженную часть 140, расположенную между корпусом и головкой. Зубная щетка 100 содержит узел держателей щетины, который характеризуется следующим множеством держателей щетины. Этот предпочтительный узел включает в себя первый держатель 160 щетины, второй держатель 170 щетины и третий держатель 180 щетины. Первый держатель 160 щетины включает в себя основание 162. Второй держатель щетины 170 включает в себя основание 172. И третий держатель 180 щетины включает в себя основание 182. Предпочтительно первый, второй и третий держатели щетины, то есть 160, 170 и 180, выполнены с возможностью поворота (когда установлены на головке зубной щетки) вокруг оси, проходящей через один или несколько стержней, таких как стержни 183 и 163. Каждое основание 162, 172 и 182 содержит кулачковый элемент 162, 171 и 181, каждый из которых входит в кулачковую прорезь 136, имеющуюся в кулачке 134. Каждый кулачковый элемент 161, 171 и 181 предпочтительно идет вниз от соответствующего основания, как изображено на фиг.2. Кулачок 134 закреплен в головке зубной щетки и находится в зацеплении с приводным валом 116. Как можно видеть, приводной вал 116 совершает возвратно-поступательное движение. Когда приводной вал 116 совершает возвратно-поступательное движение 116, каждому держателю 160, 170 и 180 щетины передается возвратно-поступательное движение, пусть и перпендикулярное движению приводного вала 116, или периодическое криволинейное движение. Конкретный тип движения, передаваемый каждому держателю щетины, зависит от конфигурации и характера зацепления между кулачковыми элементами и кулачковой прорезью.
На фиг.3 изображен вид в перспективе другого предпочтительно варианта осуществления зубной щетки 200 в соответствии с настоящим изобретением. Предпочтительный вариант осуществления зубной щетки 200 содержит корпус 230, головку 250 щетки и суженную часть 240, расположенную между корпусом и головкой. Зубная щетка 200 содержит узел держателей щетины, который характеризуется следующим множеством держателей щетины. На фиг.3 изображен узел, содержащий первый держатель 260 щетины, второй держатель 270 щетины и третий держатель 280 щетины. Первый держатель 260 щетины включает в себя основание 262. Второй держатель 270 включает в себя основание 272. Третий держатель 280 щетины включает в себя основание 282. Предпочтительно каждое основание, то есть 262, 272 и 282, имеет выступ, который содержит прорезь или отверстие для зацепления. Например, третий держатель 280 щетины, приведенный на фиг.3, включает в себя выступ 284, который содержит прорезь или отверстие 286. Каждая прорезь или отверстие соответствующего выступа расположены вдоль кулачковой области 218 приводного вала 216. Предпочтительно приводной вал 216 совершает возвратно-поступательное движение, так что каждому держателю 260, 270 и 280 щетины передается поперечное движение или другой тип движения. Как ранее объяснялось в отношении фиг.2, один или несколько держателей 260, 270, 280 щетины могут содержать стержни, такие как стержень 283 на фиг.3. В зависимости от конфигурации стержней и их зацепления с удерживающим элементом головки зубной щетки, в которую вставлен узел держателей щетины, стержни обычно служат для приведения держателей щетины во вращательное движение вокруг оси стержней.
На фиг.4 приведен вид в перспективе другого предпочтительного варианта зубной щетки 300 в соответствии с настоящим изобретением. Этот предпочтительный вариант осуществления зубной щетки 300 содержит корпус 330, головку 350 и суженную часть 340, расположенную между корпусом 330 и головкой 350. На головке 350 щетки расположено множество подвижных держателей щетины, которые, как показано на фиг.4, включают в себя первый держатель 360 щетины и второй держатель 370 щетины. Каждый держатель 360 и 370 щетины при включении щетки совершает изображенное возвратно-поступательное движение. В частном случае выполнения линейное возвратно-поступательное движение приводного вала 316, такого как вал приводного механизма (не показан), расположенного внутри корпуса 330, передается второму приводному валу 318 через соединение 317. Далее движение приводного вала 318 передается шарнирному компоненту 319 и соединительному плечу 320, расположенному между шарнирным компонентом 319 и одним или обоими держателями 360 и 370 щетины.
В наиболее предпочтительном аспекте используется коромысло 321, расположенное между первым и втором держателями 360 и 370 щетины. Наиболее предпочтительно, чтобы коромысло 321 шарнирно крепилось своим центром к неподвижному элементу, находящемуся внутри головки 350 щетки, чтобы коромысло 321 могло двигаться или поворачиваться вокруг этого элемента. Конец соединительного плеча 320 сцеплен с концом коромысла 321, так что возвратно-поступательное движение соединительного плеча приводит к повороту коромысла 321 вокруг его центра. Как показано на фиг.4, поскольку каждый держатель 360 и 370 щетины сцеплен с противоположным концом коромысла 321, поворот коромысла 321 приводит к возвратно-поступательному движению держателей 360 и 370. Возвратно-поступательное движение каждого из держателей 360 и 370 находится в противофазе по отношению к другому. Таким образом, когда держатель 360 движется вперед, держатель 370 движется назад и наоборот.
На фиг.5, 6 и 7 изображен еще один предпочтительный вариант осуществления зубной щетки 400 в соответствии с настоящим изобретением. Предпочтительный вариант осуществления зубной щетки 400 содержит корпус 430, головку 450 и суженную часть 440, расположенную между корпусом 430 и головкой 450 щетки. На головке 450 щетки расположено множество подвижных держателей щетины, например, первый держатель 460 щетины и второй держатель 470 щетины. Внутри суженной части 440 и корпуса 430 от приводного механизма (не показан) идет приводной вал 416, который передает движение к одному или обоим держателям 460 и 470 щетины. Предпочтительно при включении зубной щетки 400 приводной вал 416 совершает возвратно-поступательное движение, как показано на фиг.5. Дальний конец приводного вала 416 сцеплен с основанием 472 второго держателя 470 щетины. Следует иметь в виду, что первый держатель 460 щетины может приводиться в движение приводным валом 416 непосредственно или приводиться в движение опосредованно, например, через посредство второго держателя 470 щетины.
Предпочтительный вариант осуществления зубной щетки 400 по фиг.5, 6 и 7 характеризуется массажной пластиной 480, расположенной с возможностью перемещения вдоль тыльной стороны головки 450 щетки. При включении зубной щетки 400 массажная пластина 480 совершает возвратно-поступательное движение в целом вдоль продольной оси зубной щетки 400. Массажная пластина предпочтительно изготовлена из эластомерного материала или другого относительно мягкого гибкого материала. Наружная поверхность массажной пластины 480 может содержать один или несколько выступающих наружу гребней, выступов или других элементов, которые служат для придания определенных массирующих характеристик. На фиг.6 изображены различные альтернативные варианты массажной пластины 480. Можно использовать пластину 480а, имеющую множество выступов или других элементов, выступающих над внешней поверхностью. Можно использовать пластину 480b, для которой характерно множество выступающих наружу гребней. И можно использовать пластину 480с, для которой характерна относительно гладкая внешняя поверхность, лишенная каких-либо приподнятых или выступающих наружу элементов.
На фиг.7 приведен частичный вид сбоку головки 450 щетки для зубной щетки, изображенной на фиг 5, в разрезе по линии VII-VII. На фиг.7 изображен соединительный элемент 418, которые соединяет дальний конец приводного вала 416 с держателем 470 щетины и с массажной пластиной 480. При возвратно-поступательном движении приводного вала 416 как держатель 470 щетины, так и массажная пластина 480 движутся сходным образом.
На фиг.8, 9 и 10 приведен еще один предпочтительный вариант осуществления зубной щетки 500 в соответствии с настоящим изобретением. Зубная щетка 500 содержит корпус 530, головку 550 щетки и суженную часть 540, расположенную между корпусом 530 и головкой 550 щетки. На головке 550 щетки расположен первый держатель 560 щетины. И на головке 550 щетки расположен второй держатель 570 щетины. Внутри суженной части 540 проходит приводной вал 516, который при включении зубной щетки передает движение одному или обоим держателям 560 и 570 щетины.
Зубная щетка 500 содержит массажную пластину 580, подобную массажной пластине описанной выше зубной щетки 400. Однако массажная пластина 580 зубной щетки 500 в отличие от массажной пластины 480 зубной щетки 400 не совершает возвратно-поступательного движения. Массажная пластина 580 предпочтительно выполнена из эластомерного или другого подходящего материала. Пластина 580 предпочтительно расположена на тыльной стороне головки зубной щетки 550 и прикреплена к ней. Пластина 580 может иметь различные конфигурации поверхности. На фиг.9 изображены: массажная пластина 580а, имеющая множество выступающих наружу приподнятых областей; пластина 580b, имеющая множество приподнятых гребней, и пластина 580с, имеющая гладкую внешнюю поверхность.
На фиг.10 изображен частичный вид сбоку головки 550 зубной щетки для зубной щетки 500 в разрезе по линии Х-Х фиг.8. Имеется соединительный элемент 518, который соединяет дальний конец приводного вала 516 с держателем щетины 570. Соединительный элемент 518 снабжен выступающей наружу выпуклостью или областью, которая соприкасается с обратной стороной массажной пластины 580. Следует иметь в виду, что поскольку массажная пластина 580 выполнена из гибкого и гнущегося материала, внешней поверхности пластины 580 передается движение, когда соединительный элемент 518 смещается вдоль обратной стороны пластины 580. Такая конфигурация приводит к тому, что при включении зубной щетки 500 внешняя поверхность массажной щетины 580 совершает пульсирующее движение и практически вибрирует.
Следует иметь в виду, что во всех вариантах выполнения настоящего изобретения помимо движущихся щетинок могут иметься одна или более групп неподвижных щетинок и другие чистящие элементы. Во многих случаях может быть предпочтительным вариант, когда на головке зубной щетки имеется совокупность неподвижных щетинок. Например, неподвижные щетинки могут быть расположены в промежутке между держателями щетины или могут полностью окружать держатели щетины. Неподвижные щетинки могут также быть расположены на дальнем конце головки, и (или) на ближней части головки, и (или) по краям головки зубной щетки. Другие примеры неподвижных щетинок, которые могут быть использованы с настоящим изобретением, описаны в заявке на получение патента США 10/274.40 и в патенте США 6.360.395. На подвижных держателях щетины или на головке зубной щетки могут также располагаться подвижные или неподвижные эластомерные щетинки, выполненные, например, из термоэластопласта или каучука. Примеры такого расположения описаны в патенте США 6.371.294.
Хотя варианты осуществления головки щетки по настоящему изобретению были для простоты приведены с пучками щетинок, расположенных практически перпендикулярно продольной оси головки, из которой они выходят, возможен вариант, когда неподвижные и (или) подвижные щетинки могут быть расположены иным образом, чтобы дополнить или дополнительно улучшить эффективность неподвижных щетинок или движение подвижных щетинок. Некоторые или все щетинки могут иметь направление, которое образует острый угол с верхней поверхностью держателя щетины, и могут иметь наклон вперед или назад. В другом варианте выполнения некоторые щетинки могут быть наклонены в сторону от головки, в еще одном направлении, вновь образуя острый угол по отношению к верхней поверхности держателя щетины. Примеры других подходящих вариантов расположения щетинок описаны в патентах США  Des. 330.286, Des. 434.563, 6.006.394, 4.081.876, 5.046.213, 5.335.389, 5.392.483, 5.446.940, 4.894.880 и в международной публикации WO 99/23910.
Зубные щетки по настоящему изобретению могут быть изготовлены из широкого набора полимеров. В нижеследующем перечислении предпочтительных полимерных материалов для использования в настоящем изобретении после полных названий приведены в скобках сокращенные наименования, которые широко используются специалистами в этой области техники. Полимер представляет собой предпочтительно полипропилен («РР») или его можно выбрать из группы, состоящей из других имеющихся в продаже материалов, таких как полистирол («PS»), полиэтилен («РЕ»), сополимер акрилонитрила и стирола («SAN») и пропионат ацетатцеллюлозы («CAP»). Эти материалы можно смешать с одним или несколькими дополнительными полимерами, в том числе с термоэластопластом («ТРЕ»), термопластичным олефином («ТРО»), мягким термопластичным полиолефином (например, с полибутиленом) или можно выбрать из других эластомерных материалов, таких как сополимер этилена и винилацетата («EVA») и этиленпропиленовый каучук («EPR»). Примерами подходящих для настоящего изобретения термопластичных эластомеров могут служить стирол-этилен-бутадиен-стирол («SEBS»), стирол-бутадиен-стирол («SBS») и стирол-изопрен-стирол («SIS»). Примерами подходящих для настоящего изобретения термопластичных олефинов могут служить полибутилен («РВ») и полиэтилен («РЕ»). Для производства зубной щетки по настоящему изобретению могут использоваться методы, известные специалистам в этой области техники, например литье под давлением.
Настоящее изобретение описано со ссылкой на конкретные варианты осуществления. Эти варианты осуществления можно модифицировать и изменить в объеме настоящего изобретения. Например, в настоящем документе описаны определенные комбинации держателей щетины. Следует иметь в виду, что взаимное расположение держателей щетины может быть иным, и держатель щетины одного варианта осуществления можно заменить на держатель щетины другого. Кроме того, хотя некоторые держатели щетины могут иметь прорезь, в которую входит стержень на головке зубной щетки с целью направления движения держателя щетины, следует иметь в виду, что эти элементы могут иметь обратное взаиморасположение, когда стержень расположен на держателе щетины, а прорезь расположена на головке, а кроме того, могут использоваться и другие конструкции, известные из уровня техники, для направления движения описанных здесь держателей щетины. Предполагается, что все такие модификации и изменения относятся к настоящему изобретению в той степени, в какой они попадают в объем прилагаемой формулы изобретения или ее эквивалентов.
Все документы, цитируемые в подробном описании изобретения в соответствующей части, приведены здесь для ссылки; цитирование какого-либо документа не подразумевает признание его предшествующим уровнем техники по отношению к настоящему изобретению.
Несмотря на то, что здесь изображены и описаны конкретные варианты осуществления настоящего изобретения, специалистам в данной области техники должно быть очевидно, что можно сделать различные другие изменения и модификации без отхода от сущности и объема настоящего изобретения. Поэтому предполагается, что прилагаемая формула охватывает все такие изменения и модификации, которые находятся в объеме настоящего изобретения.
Формула изобретения
1. Электрическая зубная щетка, содержащая: ручку, внутри которой расположен двигатель; головку, имеющую продольную ось и множество подвижных держателей щетины; суженную часть, проходящую между ручкой и головкой; и вал, совершающий возвратно-поступательное движение, который механически соединен с двигателем и множеством подвижных держателей щетины, причем множество подвижных держателей щетины совершает возвратно-поступательное движение в направлении, практически перпендикулярном продольной оси.
2. Электрическая зубная щетка по п.1, отличающаяся тем, что множество подвижных держателей щетины содержит три держателя щетины.
3. Электрическая зубная щетка, содержащая: ручку, внутри которой расположен двигатель; головку, имеющую продольную ось и множество подвижных держателей щетины; суженную часть, проходящую между ручкой и головкой; и вал, совершающий возвратно-поступательное движение, который механически соединен с двигателем и множеством подвижных держателей щетины, причем множество подвижных держателей щетины совершает возвратно-поступательное движение вдоль продольной оси.
4. Электрическая зубная щетка по п.3, отличающаяся тем, что множество подвижных держателей щетины содержит три держателя щетины.
РИСУНКИ
|
|