|
|
(21), (22) Заявка: 2006110524/14, 30.08.2004
(24) Дата начала отсчета срока действия патента:
30.08.2004
(30) Конвенционный приоритет:
01.09.2003 IL 157696
(43) Дата публикации заявки: 10.10.2007
(46) Опубликовано: 27.04.2009
(56) Список документов, цитированных в отчете о поиске:
US 2002183688 A1, 05.12.2002. US 6607513 B1, 19.08.2003. FR 983602 A, 26.06.1951. RU 2096052 С1, 20.11.1997.
(85) Дата перевода заявки PCT на национальную фазу:
03.04.2006
(86) Заявка PCT:
IL 2004/000784 20040830
(87) Публикация PCT:
WO 2005/020828 20050310
Адрес для переписки:
103735, Москва, ул. Ильинка, 5/2, ООО “Союзпатент”, пат.пов. Л.С.Кишкиной
|
(72) Автор(ы):
ХАЗУТ Аарон (IL), ХОК Голан Фреди (IL)
(73) Патентообладатель(и):
ХОК МЕДИКАЛ ТЕКНОЛОДЖИЗ ЛТД. (IL)
|
(54) АППАРАТ И СПОСОБ ДЛЯ УДАЛЕНИЯ ПИГМЕНТОВ ИЗ ПИГМЕНТИРОВАННОГО УЧАСТКА КОЖИ
(57) Реферат:
Изобретение относится к медицине. Аппарат содержит устройство для прокалывания кожи; матрицу, включающую в себя одну или несколько игл, подсоединенных к упомянутому устройству и предназначенных для прокалывания кожи на упомянутом пигментированном ее участке; медиаторный элемент, крепящийся к упомянутому устройству, а также к соответствующему отсасывающему приспособлению, чтобы обеспечить возможность для упомянутого отсасывающего приспособления вобрать внутрь себя смесь пигментов с внутриклеточными жидкостями из упомянутого проколотого участка кожи. Аппарат снабжен вибрационным приспособлением, выполненным с возможностью вибрации их для неоднократного прокалывания кожи на пигментированном участке. Раскрыт способ удаления пигментов. Изобретения обеспечивают сокращение сроков и стоимости процесса удаления пигментов. 2 н. и 16 з.п. ф-лы, 14 ил.
Область техники, к которой относится изобретение
Настоящее изобретение относится к области удаления пигмента. Более конкретно, данное изобретение относится к аппарату и к способу для удаления пигментированного участка кожи, в частности татуировки.
Предпосылки создания изобретения
Татуировки наносятся посредством введения туши внутрь кожи. В настоящее время – в большинстве случаев – введение туши осуществляется посредством одной или нескольких твердых игл, которые крепятся к специальному приспособлению (называемому далее «устройством для прокалывания кожи»). Предпочтительно, но без каких-либо при этом ограничений, такое устройство для прокалывания кожи представляет собой ручное приспособление. В устройстве для прокалывания кожи обеспечивается соответствующее перемещение иглы в направлении продольной оси данного устройства, которое происходит аналогично движению иглы в швейной машинке. Обычно игла движется в таком устройстве для прокалывания кожи с частотой, составляющей несколько колебаний в минуту (например, иглы могут прокалывать кожу с частотой в пределах от 50 до 3000 проколов в минуту). Перед внедрением иглы в кожу окунают иглу в соответствующий раствор, который содержит пигмент (например, тушь), и затем этот раствор всасывают внутрь через соответствующую систему трубок, которой снабжено устройство для прокалывания кожи. После заполнения раствором прокалывают с помощью этого устройства для прокалывания кожи верхний слой кожи и вводят нерастворимые микроскопические частицы туши в дермальный слой кожи (т.е., собственно, в дерму) предпочтительно на глубину один миллиметр. В результате тушь не попадает в эпидермис, а проникает в клетки дермы. Поскольку клетки дермы сравнительно неподвижны, татуировочная тушь остается в дерме, благодаря чему кожа надолго становится татуированной.
Существуют люди, которые по разным причинам хотели бы избавиться от татуировки (или другого пигмента) у себя на коже. Однако из-за того, что татуировки становятся неотъемлемой частью клеток дермы, избавление от них – совсем не простая задача. Ранее предложены были несколько способов избавления от татуировок, которые, однако, являются обычно инвазивными; некоторые способы требуют даже хирургического вмешательства и могут быть также весьма болезненными. К таким способам относятся:
– дермабразия, которая состоит в том, что «стирается» (т.е. соскабливается) кожа с того участка ее поверхности, где находится татуировка;
– криохирургия, которая состоит в том, что зона, где находится татуировка, перед ее удалением замораживается, и
– иссечение, которое состоит в том, что хирург-дерматолог удаляет татуировку скальпелем и затем закрывает рану, накладывая на нее хирургические швы (в некоторых случаях, применительно к татуировкам крупного размера, может возникнуть необходимость в пересадке полнослойного кожного лоскута, взятого с другой части тела).
Однако такие способы удаления татуировки являются весьма болезненными, и при их применении могут также оставаться рубцы.
В других способах удаления татуировки предусматривается применение лазеров. Лазеры представляют собой бескровную альтернативу вышеупомянутым способам, и при их применении может быть обеспечено также меньшее количество каких-либо побочных явлений. Каждая такая операция удаления выполняется как единый курс лечения либо в виде целого ряда последовательных курсов лечения. При этом пациентам может требоваться, а может и не требоваться местное обезболивание или местная анестезия. Лазеры удаляют татуировку, создавая кратковременные импульсы интенсивного света, которые проникают сквозь верхние слои кожи, а затем избирательно поглощаются пигментом татуировки. Под воздействием этой энергии, излучаемой лазером, происходит дробление пигмента на более мелкие частицы, которые затем выводятся из организма его иммунной системой. Однако при этом все же сохраняется вероятность того, что после применения лазера могут оставаться рубцы. Кроме того, с помощью лазера трудно удаляются пигменты желтого и зеленого цвета. Такие цвета избирательно поглощают лазерное излучение, и в этих случаях обработка может проводиться только лишь лазерами, подбираемыми соответствующим образом, исходя из цвета пигмента. Помимо этого при проведении операций с помощью лазера наблюдается возникновение всяких побочных явлений, которые могут вызывать гиперпигментацию, или чрезмерную насыщенность цвета кожи на обработанном участке, и гипопигментацию, при которой кожа на обработанном участке становится более светлой, чем нормальный цвет кожи.
Ко всему прочему, удаление татуировки с применением каждого из вышеуказанных способов представляет собой весьма длительный и дорогостоящий процесс.
Все из рассмотренных здесь выше способов пока еще не обеспечивают удовлетворительного решения проблемы удаления пигментированного участка кожи с помощью каких-либо простых технических средств.
Задача настоящего изобретения заключается в том, чтобы создать способ удаления пигментированного участка кожи, преодолев указанные недостатки известных способов.
Другой задачей настоящего изобретения является создание способа удаления пигментированного участка кожи, который требовал бы сравнительно небольших затрат.
Остальные задачи и преимущества настоящего изобретения станут очевидными при рассмотрении нижеследующего описания изобретения.
Краткое описание изобретения
Настоящее изобретение относится к аппарату для удаления пигментированного участка кожи, который содержит: (а) устройство для прокалывания кожи; (б) матрицу, включающую в себя одну или несколько игл, подсоединенных к устройству и предназначенных для прокалывания кожи на пигментированном ее участке, и (в) медиаторную систему, крепящуюся к устройству и к соответствующему отсасывающему приспособлению, чтобы обеспечить возможность для отсасывающего приспособления вобрать внутрь себя смесь пигментов с внутриклеточными жидкостями из проколотого участка кожи, при этом элемент способен обеспечить создание, по существу, изолированной зоны над проколотым участком кожи, который пригоден для ее прокалывания и для аспирации зоны.
В соответствии с предпочтительным вариантом осуществления настоящего изобретения медиаторная система содержит соответствующий медиаторный элемент, имеющий одно или несколько отверстий, сквозь которые отсасывающее приспособление вбирает внутрь себя смесь пигментов с внутриклеточными жидкостями, а также, но совсем не обязательно, с какими-либо веществами для наружного применения.
В соответствии с предпочтительным вариантом осуществления настоящего изобретения медиаторный элемент дополнительно содержит соответствующее приспособление, предназначенное для подсоединения его к какому-либо источнику очищающего вещества для нанесения очищающего вещества на проколотую кожу, благодаря чему обеспечивается очистка проколотого участка в процессе удаления пигментов из соответствующего пигментированного участка кожи. Предпочтительно, чтобы приспособление, предназначенное для подсоединения медиаторного элемента к какому-либо источнику очищающего вещества, было снабжено одним или несколькими отверстиями, сквозь которые очищающее вещество поступало бы из источника очищающего вещества на проколотую кожу.
Предпочтительно, чтобы медиаторная система крепилась к устройству для прокалывания кожи таким образом, чтобы отверстия медиаторного элемента находились в непосредственной близости от острой кромки матрицы с иглами.
В соответствии с еще одним вариантом осуществления настоящего изобретения одна игла или несколько игл выполнены таким образом, чтобы они были полыми. Полые иглы снабжаются соответствующими отверстиями, предназначенными для подсоединения этих игл к соответствующему источнику очищающего вещества для нанесения очищающего вещества на проколотую кожу, благодаря чему обеспечивается очистка проколотого участка в процессе удаления пигментированного участка кожи. Очищающее вещество может также представлять собой либо содержать в качестве добавки одно или несколько антисептических и (или) дезинфицирующих веществ.
Предпочтительно, чтобы таким очищающим веществом являлась соответствующая жидкость, воздух, находящийся под давлением, либо оно представляло собой сочетание такой жидкости с воздухом, находящимся под давлением.
Предпочтительно, чтобы медиаторный элемент крепился к устройству для прокалывания кожи при помощи одного или двух винтов.
В соответствии с предпочтительным вариантом осуществления настоящего изобретения устройство для прокалывания кожи представляет собой электрическое устройство, предназначенное для выполнения татуировок (т.е. татуировочную машинку).
Настоящее изобретение относится, кроме того, к способу удаления пигментированного участка кожи, который предусматривает: (а) наличие соответствующего устройства для прокалывания кожи, которое включает в свой состав одну или несколько игл, а также отсасывающее приспособление; (б) прокалывание кожи на пигментированном ее участке иглами при отсутствии туши внутри устройства для прокалывания кожи и проведение (при помощи отсасывающего приспособления) аспирации с отсасыванием смеси пигментов и внутриклеточных жидкостей из проколотого участка кожи; (в) использование, но совсем не обязательное, соответствующего тампона, содержащего в себе одно или несколько разных веществ и способного поглощать влагу, содержащуюся в смеси, и (г) наложение повязки на проколотую кожу вместе с тампоном, благодаря чему на участке обеспечивается миграция пигментного остатка из места его нахождения по направлению к наружному слою кожи.
В соответствии с предпочтительным вариантом осуществления настоящего изобретения способ дополнительно предусматривает нанесение (например, посредством опрыскивания) соответствующих жидкостей на проколотый участок кожи для очистки указанного участка.
В соответствии с еще одним вариантом осуществления настоящего изобретения способ дополнительно предусматривает наложение повязки на проколотую кожу вместе с соответствующим тампоном, содержащим одно или несколько антисептических веществ, предотвращающих инфекцию.
В соответствии с предпочтительным вариантом осуществления настоящего изобретения предусматривается использование физиологического раствора в качестве соответствующего вещества, оказывающего воздействие на пигменты.
Краткое описание чертежей
Указанные и другие отличительные признаки и преимущества настоящего изобретения поясняются в следующем ниже подробном описании предпочтительных вариантов его осуществления, которое не накладывает каких-либо ограничений на данное изобретение и ведется со ссылками на прилагаемые чертежи, на которых:
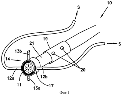
– фиг.1 – схематическое изображение аппарата для удаления пигментированного участка кожи, выполненного в соответствии с предпочтительным вариантом осуществления настоящего изобретения;
– фиг.2 – схематическое изображение отдельных деталей аппарата, показанного на фиг.1;
– фиг.3 – схематическое изображение устройства для прокалывания кожи, которым оснащается аппарат, показанный на фиг.1;
– фиг.4 – действительные размеры матрицы с иглами;
– фиг.5 – схематическое изображение медиаторного элемента, выполненного в соответствии с альтернативным предпочтительным вариантом осуществления настоящего изобретения;
– фиг.6 – действительные размеры наконечника аппарата, выполненного в соответствии с предпочтительным вариантом осуществления настоящего изобретения;
– фиг.7 – схематическое изображение аппарата для удаления пигментов из пигментированного участка кожи, выполненного в соответствии с другим предпочтительным вариантом осуществления настоящего изобретения;
– фиг.8 – схематическое изображение различных деталей аппарата, показанного на фиг.7;
– фиг.9 – перспективный вид некоторых элементов аппарата, показанного на фиг.7;
– фиг.10 – схематическое изображение аппарата, показанного на фиг.7, но изображенного здесь в рабочем своем положении, когда он подсоединен к типичному татуировочному шприцу;
– фиг.11 – схематическое изображение ограничивающего элемента, используемого для того, чтобы ограничить растекание смеси внутриклеточных жидкостей и пигментов, и
– фиг.12-14 – схематические изображения аппарата, выполненного в соответствии с еще одним предпочтительным вариантом осуществления настоящего изобретения.
Подробное описание предпочтительных вариантов осуществления изобретения
Как указано здесь выше, настоящее изобретение относится к аппарату для удаления пигментированного участка кожи посредством прокалывания кожи на этом пигментированном участке кожи и одновременного проведения аспирации с отсасыванием смеси пигментов и внутриклеточных жидкостей (добавляя либо не добавляя при этом соответствующие жидкости наружного применения) из проколотого участка кожи.
Фиг.1 и 2 представляют собой схематические изображения аппарата 10 для удаления пигментированного участка кожи, выполненного в соответствии с предпочтительным вариантом осуществления настоящего изобретения. Аппарат 10 содержит матрицу, включающую в себя одну или несколько игл 11 (кончики которых видны на чертежах), предназначенных для прокалывания кожи на соответствующем пигментированном ее участке, и медиаторную систему 14.
Аппарат 10 работает при подсоединении его к соответствующему устройству, которое заставляет иглы 11 вибрировать, к примеру к такому устройству, как типичная татуировочная машинка (т.е. к устройству для прокалывания кожи). Иглы 11 могут подсоединяться к устройству для прокалывания кожи любым из способов, пригодных для применения их с этой целью, которые хорошо известны специалисту в области татуировки, и поэтому из соображений краткости изложения в данном описании изобретения подробно не рассматриваются, например, при помощи стержня 15 (фиг.2), который имеет типичное соединительное средство 16, пригодное для обеспечения подсоединения его к устройству для прокалывания кожи, и который с другого своего конца снабжается матрицей, включающей в себя иглы 11.
Медиаторная система 14 крепится к устройству для прокалывания кожи и к соответствующему отсасывающему приспособлению. Медиаторная система 14 содержит трубку 21 и медиаторный элемент 17. Элемент 17 применяется для того, чтобы обеспечить возможность для отсасывающего приспособления вобрать внутрь себя смесь пигментов с внутриклеточными жидкостями из проколотого участка кожи, при этом элемент 17 способен обеспечить создание, по существу, изолированной полости над проколотым участком кожи.
Медиаторный элемент 17 имеет одно или несколько отверстий, к примеру, таких как отверстия 22, сквозь которые отсасывающее приспособление вбирает внутрь себя смесь пигментов с внутриклеточными жидкостями. Трубка 21 медиаторной системы 14 служит для подсоединения системы 14 к устройству для прокалывания кожи 30 (фиг.3), предназначенному для приведения игл в действие. В трубке 21 выполняется одно или несколько отверстий 18, как показано на фиг.2(а). Элемент 17 крепится к трубке 21 (например, при помощи одного или нескольких винтов) вблизи от отверстий 18.
В соответствии с предпочтительным вариантом осуществления настоящего изобретения матрица, содержащая иглы 11, вставляется внутрь трубки 21 системы 14, и, таким образом, отверстие 18 в трубке 21 и отверстия 22 в элементе 14 располагаются вблизи от кончиков игл 11.
Предпочтительно, чтобы отверстия 22 были выполнены в элементе 17 таким образом, чтобы в них можно было вставить трубочки 12а и 12b отсасывающего приспособления (не показано) для осуществления аспирации. Кроме того, трубка 21 снабжена также соответствующими крепежными средствами для подсоединения системы 14 к устройству для прокалывания кожи 30 (фиг.3). Предпочтительно, но при этом без каких-либо дополнительных ограничений, такие крепежные средства представляют собой винты 20 и кольцо 19. Разумеется, в качестве таких крепежных средств могут применяться любые средства, пригодные для использования их с этой целью, которые вполне могут быть подобраны самостоятельно специалистом в данной области.
Кроме того, в соответствии с предпочтительным вариантом осуществления настоящего изобретения, элемент 17 снабжается также дополнительными отверстиями 23, предназначенными для подсоединения к нему трубочек 13а и 13b, которые, в свою очередь, подсоединяются к соответствующим источникам очищающих(-его) веществ(-а) (не показаны). Эти очищающие вещества применяются для очистки проколотого участка кожи с целью удаления с нее остатков крови, внутриклеточных жидкостей и пигментов в процессе проведения операции удаления пигментированного участка кожи путем нанесения (например, посредством опрыскивания) очищающего вещества на проколотую кожу, благодаря чему и осуществляется очистка проколотого ее участка в процессе проведения операции удаления пигментированного участка кожи. Например, таким очищающим веществом может являться воздух, находящийся под давлением, вода либо иная жидкость, пригодная для использования ее с целью опрыскивания проколотой поверхности человеческого тела. Разумеется, такое очищающее вещество может представлять собой также и сочетание двух или нескольких разных веществ, к примеру, таких как воздух, находящийся под давлением, и вода.
В соответствии с еще одним вариантом осуществления настоящего изобретения одна игла или несколько игл выполняются таким образом, чтобы все они были полыми. Каждая такая полая игла имеет одно или несколько отверстий, которые предназначаются для подсоединения иглы к соответствующему источнику очищающего вещества с целью нанесения очищающего вещества на проколотую кожу, благодаря чему и обеспечивается очистка проколотого участка в процессе удаления пигментированного участка кожи, либо с целью введения соответствующего вещества на этом участке внутрь кожи. Например, очищающее вещество может пропускаться через полость, проходящую по всей длине каждой полой иглы, и наноситься на кожу посредством опрыскивания кожи этим веществом.
Применяя аппарат 10, выполненный в соответствии с настоящим изобретением, можно осуществить удаление пигментированного участка кожи следующим образом:
– подсоединить аппарат 10 к соответствующему устройству для прокалывания кожи;
– проколоть кожу на пигментированном ее участке иглами 11 при отсутствии туши внутри устройства для прокалывания кожи, и
– провести при помощи соответствующего отсасывающего приспособления аспирацию, отсасывая смесь пигментов и внутриклеточных жидкостей из проколотого участка кожи (а также, но совсем не обязательно, вместе с какими-либо веществами для наружного применения), как это указано в приведенном выше описании.
По завершении прокалывания кожи на пигментированном ее участке и после проведения его аспирации можно, но это совсем не обязательно, затем наложить на это место повязку вместе с соответствующим поглощающим тампоном. Такой тампон должен содержать в себе одно или несколько разных веществ, к примеру, таких как физиологический раствор, благодаря чему на проколотом участке обеспечивается миграция пигментного остатка в наружный слой кожи, где происходит его поглощение. Предпочтительно, но при этом без каких-либо дополнительных ограничений, тампон представляет собой такой тампон, который способен поглощать влагу, содержащуюся в смеси, состоящей из татуировочной туши и внутриклеточной жидкости. Само собой разумеется, что указанные вещества, под воздействием которых происходит миграция пигментов на проколотом участке кожи в наружный ее слой, где происходит их поглощение, могут существовать в виде соответствующего раствора, твердого вещества либо в виде соответствующего сочетания раствора с твердым веществом.
Предпочтительно по завершении прокалывания того или иного участка кожи следует провести соответствующую санитарную обработку кожи на этом участке, чтобы предотвратить инфекцию. Разумеется, что поглощающий тампон может содержать в себе одно или несколько различных антисептических веществ, к примеру, таких как крем на основе хлористого бензалкониума (например, бепантен), крем на основе сульфадиазина серебра (например, сильверол) и т.д. Например, поглощающий тампон или какие-нибудь иные индивидуальные тампоны могут содержать в себе соответствующие пасты и (или) кремы, известные в данной области, к примеру, такие как витамерфен, бепантен, сильверол и тому подобные. В качестве альтернативы соответствующий крем, приготовленный на основе какого-нибудь антисептического вещества, может наноситься непосредственно на обрабатываемый участок, на который затем накладывается тампон.
Предпочтительно, но при этом без каких-либо дополнительных ограничений, устройство для прокалывания кожи представляет собой типичное электрическое устройство, предназначенное для выполнения татуировок, которое в данном случае применяется совместно с аппаратом 10, выполненным в соответствии с настоящим изобретением.
В соответствии с предпочтительным вариантом осуществления настоящего изобретения аппарат 10 включает в свой состав одну или несколько игл 11, к примеру, таких игл, какие используются при выполнении татуировок. Предпочтительно было бы, чтобы пользователь, закрепив аппарат 10 на устройстве для прокалывания кожи, мог затем работать этим устройством совершенно так же, как и при выполнении татуировок, но, не пользуясь при этом тушью. По собственному усмотрению можно при этом вместо туши применить (т.е., вводить в кожу на прокалываемом ее участке) соответствующий водный раствор или какое-нибудь иное вещество, которое не содержит пигментов, что позволит дополнительно разбавить пигменты, и их будет легче отсосать.
Конструкция типичных прокалывающих устройств позволяет регулировать глубину проникания игл 11 в кожу. Предпочтительно было бы – но при этом без каких-либо дополнительных ограничений – чтобы иглы 11 не проникали глубже слоя подкожной жировой клетчатки, при этом кожа не получит каких-либо дополнительных повреждений при пользовании аппаратом 10, выполненным в соответствии с настоящим изобретением.
Данное изобретение может в типичных случаях применяться совместно с любыми ныне существующими татуировочными устройствами, к примеру, такими, какие производятся фирмой Lauro Paolini, Италия. Например, на фиг.3 схематически изображено типичное устройство 30, применяемое при выполнении татуировок, которым оснащается аппарат 10, показанный на фиг.1 и предназначенный для удаления пигментированных участков кожи. Номером позиции 118 здесь обозначено подсоединение к отсасывающему приспособлению (не показано).
На фиг.4 представлен пример исполнения стержня 15 в соответствии с одним из конкретных вариантов осуществления настоящего изобретения, где показаны действительные размеры этого стержня. Все размеры указаны в миллиметрах.
На фиг.5 схематически показано соответствующее устройство, обеспечивающее поступление различных жидкостей к элементу 17 и удаление их оттуда. Позицией SL здесь обозначен патрубок, через который может осуществляться удаление внутриклеточных жидкостей посредством их отсасывания. В том случае, если предусматривается использование какой-либо дополнительной жидкости (например, теплого физиологического раствора или стерилизованной воды), то подача такой жидкости в рассматриваемом конкретном варианте исполнения данного устройства осуществляется через патрубок FI, в затем производится ее удаление вместе с захватываемыми инородными веществами из обрабатываемой зоны через патрубок FO.
На фиг.6 схематически показана головка медиаторного элемента 17, в которую при работе с данным прибором вводятся иглы 11 (здесь они не показаны), выступающие оттуда наружу через соответствующее отверстие, имеющее диаметр приблизительно 5 мм. Полная длина этой головки в данном варианте ее исполнения составляет всего лишь 25 мм. Таким образом, о сравнительно малых размерах типичного аппарата, выполненного в соответствии с настоящим изобретением, можно судить, исходя из ориентировочных размеров, указанных на данном чертеже.
Фиг.7 представляет собой схематическое изображение аппарата 100 для удаления пигментов из пигментированного участка кожи, который выполнен в соответствии с другим предпочтительным вариантом осуществления настоящего изобретения. Аппарат 100 содержит матрицу, включающую в себя одну или несколько игл 101, предназначенных для прокалывания кожи, стержень 106, к которому подсоединяется матрица с иглами 101, первый дренаж 102, предназначенный для удаления смеси пигментов и внутриклеточных жидкостей, второй дренаж 103, предназначенный для удаления применяемых дополнительно жидкостей, а также медиатор 111, обеспечивающий возможность подсоединения какого-либо внешнего устройства, предназначенного для подвода соответствующих очищающих веществ, к примеру, таких веществ, как вода или какая-нибудь иная жидкость, пригодная к нанесению ее на проколотый участок человеческого тела посредством опрыскивания ею этого участка.
Фиг.8 представляет собой схематическое изображение различных деталей аппарата 100, выполненного в соответствии с одним из предпочтительных вариантов осуществления настоящего изобретения. На этом чертеже изображены четыре разные детали аппарата 100. Деталь (а) представляет собой стержень 106, который с одного своего конца снабжен матрицей с иглами 101, а с другого конца – крючком 105, предназначенным для подсоединения аппарата 100 к соответствующему вибрационному узлу (например, к татуировочному шприцу 113, показанному на фиг.10). Деталь (b) представляет собой второй дренаж 103, подсоединенный к полому цилиндрическому телу 113, сквозь которое продевается стержень 106, совершающий соответствующие движения или вибрирующий в процессе проведения операции удаления татуировки. Деталь (с) представляет собой медиатор 111. Этот медиатор 111 содержит трубку 104, предназначенную для подвода различных жидкостей или очищающих веществ внутрь аппарата 100, а также соответствующее крепежное приспособление 110, служащее для подсоединения какого-нибудь внешнего источника очищающего вещества к аппарату 100. На фиг.9 (с) представлен перспективный вид медиатора 111. Деталь (d) представляет собой конический элемент 107, внутри которого находятся иглы 101. Кроме того, конический элемент 107 содержит также первый дренаж 102. Детали (b), (с) и (d) соединяются вместе друг с другом, а деталь (а) вставляется внутрь детали (b) сквозь деталь (d). На фиг.9 (а) стержень 106 показан в таком своем положении, когда он вставлен внутрь конического элемента 107.
На фиг.9 (b) представлен схематический вид сверху для конического элемента 107. На этом чертеже показаны каналы 114, которые используются для подачи соответствующего очищающего вещества по направлению к матрице с иглами 101.
Фиг.10 представляет собой схематическое изображение аппарата 100 в таком своем положении, когда он подсоединен к типичному татуировочному шприцу 3.
Фиг.11 представляет собой схематическое изображение ограничивающего элемента 114, используемого для того, чтобы ограничить растекание смеси внутриклеточных жидкостей и пигментов. Элемент 114 содержит ограничивающее кольцо 116, которое ограничивает собой площадь растекания этой смеси, и трубку 115, предназначенную для удаления указанной смеси. В кольце 116 предусматривается наличие соответствующего отверстия 117, через которое отсасываемая смесь поступает внутрь трубки 115. При этом трубка 115 может быть подсоединена к внешнему отсасывающему приспособлению, осуществляющему удаление указанной смеси из проколотой зоны кожи. Отверстие 118 служит для подсоединения к такому отсасывающему приспособлению.
Фиг.12-14 представляют собой схематические изображения аппарата, выполненного в соответствии с еще одним предпочтительным вариантом осуществления настоящего изобретения. На фиг.12 изображена матрица с иглами типа показанной на фиг.4, иглы которой подсоединяются к элементу 120, выполненному в виде поршня, совершающего возвратно-поступательное движение внутри цилиндра (цилиндр не показан), как это далее поясняется дополнительно со ссылкой на фиг.13.
На фиг.13 элемент 15 показан пунктирными линиями вместе с элементом 120, выполненным в виде поршня, и иглами 11 в таком своем положении, когда он вставлен внутрь цилиндра 121.
В цилиндре 121 предусматривается наличие впускного отверстия 122, через которое поступает соответствующая очищающая жидкость, направляющаяся к участку тела, где проводится операция, а также выпускного отверстия 123, через которое инородные вещества и растворившиеся пигменты отводятся от оперируемого участка. Под воздействием разрежения, создаваемого элементом 120, выполненным в виде поршня, при перемещении его внутри цилиндра 121, обеспечивается соответствующее отсасывающее действие, что вполне очевидно для специалиста в данной области, в результате чего и происходит откачивание различных жидкостей, осуществляемое при помощи этого цилиндра. Находясь в положении, показанном на фиг.14, элемент 120, выполненный в виде поршня, перекрывает собой отверстие 123. На этой стадии происходит заполнение очищающей жидкостью пустого пространства, находящегося вокруг иглы, а когда этот элемент, выполненный в виде поршня, перемещается затем вверх, происходит отсасывание загрязненной жидкости. Группа игл, располагающаяся под элементом, выполненным в виде поршня, может состоять из разного числа игл. Таким образом, под воздействием элемента, выполненного в виде поршня, не только создается необходимое разрежение, но и происходит приток жидкости к обрабатываемому участку.
Примеры, рассмотренные в приведенном выше описании настоящего изобретения, представлены здесь исключительно только лишь с целью проиллюстрировать данное изобретение и ни в коей мере его не ограничивают. Специалистам в данной области следует при этом понимать, что настоящее изобретение может быть осуществлено в самых разнообразных его вариантах с использованием множества разных технических приемов, не выходящих за пределы существа, а также объема данного изобретения.
Формула изобретения
1. Аппарат для удаления пигментов из пигментированного участка кожи, содержащий: устройство для прокалывания кожи; матрицу, включающую одну или несколько игл, подсоединенных к устройству для прокалывания кожи, и отсасывающее приспособление и медиаторный элемент, крепящийся к устройству для прокалывания и отсасывающему приспособлению, отличающийся тем, что устройство для прокалывания кожи снабжено вибрационным приспособлением, выполненным с возможностью осуществления вибрации игл для неоднократного прокалывания кожи на пигментированном ее участке, при этом отсасывающее приспособление выполнено с возможностью очищения поверхности оперируемого участка кожи.
2. Аппарат по п.1, отличающийся тем, что медиаторный элемент выполнен с возможностью создания изолированной зоны над проколотым участком кожи.
3. Аппарат по п.1, отличающийся тем, что медиаторный элемент имеет одно или несколько отверстий, а отсасывающее приспособление выполнено с возможностью сбора через эти отверстия смеси пигментов с внутриклеточными жидкостями.
4. Аппарат по п.1, отличающийся тем, что медиаторный элемент дополнительно содержит приспособление для подсоединения к источнику очищающего вещества для нанесения очищающего вещества на оперируемый участок кожи.
5. Аппарат по п.3, отличающийся тем, что приспособление для подсоединения медиаторного элемента к источнику очищающего вещества снабжено одним или несколькими отверстиями для поступления очищающего вещества.
6. Аппарат по п.3 или 5, отличающийся тем, что медиаторный элемент закреплен к устройству для прокалывания кожи таким образом, что его отверстия находятся в непосредственной близости от острой кромки матрицы с иглами.
7. Аппарат по п.1, отличающийся тем, что иглы выполнены полыми и обеспечены отверстиями для подсоединения к источнику очищающего вещества.
8. Аппарат по п.1, отличающийся тем, что очищаемым веществом является жидкость, воздух, находящийся под давлением, либо сочетание жидкости с воздухом, находящимся под давлением.
9. Аппарат по п.1, отличающийся тем, что медиаторный элемент крепится к устройству для прокалывания кожи при помощи одного или двух винтов.
10. Аппарат по п.1, отличающийся тем, что устройство для прокалывания кожи представляет собой татуировочную машинку.
11. Способ удаления пигментов из пигментированного участка кожи, предусматривающий: а) использование устройства для прокалывания кожи, которое имеет матрицу, включающую в себя одну или несколько игл, медиаторный элемент, закрепленный к отсасывающему приспособлению; б) неоднократное прокалывание кожи на пигментированном ее участке иглами за счет вибрации игл при отсутствии туши внутри устройства для прокалывания кожи, и в) проведение аспирации при помощи отсасывающего приспособления с отсасыванием смеси пигментов и внутриклеточных жидкостей из проколотого участка кожи.
12. Способ по п.11, отличающийся тем, что дополнительно предусматривает подачу очищающей жидкости на оперируемый участок.
13. Способ по п.12, отличающийся тем, что очищающую жидкость вводят на участке, на котором находятся пигменты.
14. Способ по п.11, дополнительно предусматривающий: а) использование соответствующего тампона, содержащего в себе одно или несколько веществ и способного поглощать влагу, содержащуюся в смеси пигментов внутриклеточных жидкостей, и б) наложение повязки на проколотую кожу вместе с тампоном для обеспечения миграции пигментного остатка по направлению к наружному слою кожи.
15. Способ по п.11, дополнительно предусматривающий нанесение очищающих жидкостей на проколотый участок кожи для очистки участка.
16. Способ по п.11, дополнительно предусматривающий наложение повязки на проколотую кожу вместе с тампоном, содержащим одно или несколько антисептических веществ, предотвращающих инфекцию.
17. Способ по п.11, отличающийся тем, что используют устройство для прокалывания кожи, которое представляет собой татуировочную машинку.
18. Способ по п.12, отличающийся тем, что предусматривает подачу очищающей жидкости на оперируемый участок, используя физиологический раствор.
РИСУНКИ
|
|