|
|
(21), (22) Заявка: 2007118555/14, 21.05.2007
(24) Дата начала отсчета срока действия патента:
21.05.2007
(43) Дата публикации заявки: 27.11.2008
(46) Опубликовано: 27.04.2009
(56) Список документов, цитированных в отчете о поиске:
Руководство по сосудистой хирургии с атласом оперативной техники БЕЛОВ Ю.В., ДеНово, 2000, с.48. SU 1355252 A1, 30.11.1987. SU 1250293 A1, 15.08.1986. UA 16694 U, 15.08.2006. ИВАНОВ А.В. Профилактика и лечение тромбоза глубоких вен нижних конечностей, предупреждение эмболических осложнений. Автореф. дисс., 2003, с.3-21. DONG GX Surgical treatmentof Cocketts syndrome in patients with deep vein trombosis of lower extremity – Zhongguo Yi Xue Ke Xue Yuan Xue Bao. 2007 Feb; 29 (1):51-54.
Адрес для переписки:
630092, г.Новосибирск, а/я 74, Т.Г. Костиной
|
(72) Автор(ы):
Кайдорин Александр Георгиевич (RU), Цыплящук Александра Владимировна (RU), Кайдорина Юлия Александровна (RU)
(73) Патентообладатель(и):
Кайдорин Александр Георгиевич (RU), Цыплящук Александра Владимировна (RU), Кайдорина Юлия Александровна (RU)
|
(54) СПОСОБ ТРОМБЭКТОМИИ ИЗ ГЛУБОКИХ ВЕН НИЖНИХ КОНЕЧНОСТЕЙ
(57) Реферат:
Изобретение относится к области медицины, а именно к сосудистой хирургии. Выделяют переднюю стенку вены, доступ и гемостаз обеспечивают за счет двух П-образных швов-держалок, накладываемых поперечно в зоне планируемого разреза. При этом разрез выполняют в поперечном направлении между швами-держалками, а тромб удаляют путем создания повышенного давления в вене. Флотирующую часть тромба удаляют за счет повышения внутрибрюшного давления, а после получения ретроградного кровотока свободную вену выше места разреза прижимают мягким тупфером. Способ позволяет снизить опасность ретромбоза при тромбэктомии из глубоких вен нижних конечностей за счет уменьшения травматизации венозной стенки, уменьшения повреждения эндотелия, а также уменьшения нарушения трофики из-за повреждения vasa vasorum и нервных волокон. 1 з.п. ф-лы, 4 ил.
Изобретение относится к медицине и может быть использовано в сосудистой и общей хирургии для профилактики тромбоэмболии легочной артерии и восстановления венозного кровообращения в пораженной конечности.
Известно, что тромбэктомия из глубоких вен нижних конечностей сопряжена с опасностью ретромбоза. Причиной этому в наибольшей степени является травматизация венозной стенки, непосредственное повреждение эндотелия, а также нарушение трофики из-за повреждения vasa vasorum и симпатических нервных волокон. С целью профилактики ретромбоза производится наложение артериовенозной фистулы, а так же гепаринизация больных интра- и постоперационно [1]. Однако указанные способы не устраняют саму причину данного осложнения – обширную травматизацию тканей.
Известен, выбранный в качестве ближайшего аналога, способ классической тромбэктомии с восстановлением венозного кровотока, при котором:
– выделение вены выполняют со всех сторон, широко захватывая притоки [рис.7.15 по источнику 1];
– на вену и притоки накладывают турникеты;
– выполняют продольный разрез;
– удаляют тромб при помощи вводимого в просвет вены металлического инструмента;
– разрез ушивают продольно, перевязывают периферический конец вены [1, 2].
Описанный способ имеет ряд недостатков, приводящих к повреждению сосудистой стенки.
Во-первых, при выделении вены и наложении турникетов одновременно происходит обширное нарушение ее иннервации и васкуляризации, а также перерастяжение вены и травмирование ее стенки с образованием интрамуральных гематом.
Во-вторых, продольный разрез, захватывающий, как правило, несколько сегментов вены, также приводит к повреждению vasa vasorum, расположенных преимущественно циркулярно.
В-третьих, введение инородного тела в просвет сосуда приводит к десквамации эндотелия и повреждению клапанов вен.
Все вышеуказанное приводит к последующему распространенному склерозу венозной стенки с последующим сморщиванием венозных клапанов, утрата функции которых – основной этиопатогенетический механизм развития посттромбофлебитической болезни.
Кроме того, пересечение тромбированной магистральной вены исключает возможность последующей реканализации.
Изобретение направлено на решение задачи уменьшения опасности ретромбоза при тромбэктомии из глубоких вен нижних конечностей за счет уменьшения травматизации венозной стенки, уменьшения повреждения эндотелия, а также уменьшения нарушения трофики из-за повреждения vasa vasorum и нервных волокон.
Сущность изобретения заключается в том, что в способе тромбэктомии из глубоких вен нижних конечностей, включающем выделение вены, обеспечение доступа и гемостаза с помощью фиксирующих средств, выполнение разреза, удаление тромба, ушивание, предлагается выделять только переднюю стенку вены, доступ и гемостаз обеспечивать за счет двух П-образных швов-держалок, накладываемых поперечно в зоне планируемого разреза, при этом разрез выполнять в поперечном направлении между швами-держалками, а тромб удалять путем создания повышенного давления в вене.
При этом удаление тромба путем создания повышенного давления в вене может производится так, что сначала удаляют флотирующую часть тромба за счет повышения внутрибрюшного давления, а после получения ретроградного кровотока свободную вену выше места разреза прижимают мягким тупфером.
П-образные швы-держалки могут быть подтянуты с образованием клапаноподобной дубликатуры, обеспечивающей гемостаз.
В предлагаемом способе выделение только передней стенки вены обеспечивает уменьшение травматизации вены.
Обеспечение доступа и гемостаза за счет двух П-образных швов-держалок, накладываемых поперечно в зоне планируемого разреза, позволяет не травмировать вену по задней стенке, а также позволяет отказаться от турникетов, дополнительно травмирующих вену.
Выполнение разреза в поперечном направлении между швами-держалками позволяет сохранить vasa vasorum и нервные волокна, расположенные в стенке вены циркулярно.
Удаление тромба путем создания повышенного давления кровотока в вене позволяет не травмировать стенку вены изнутри, предотвращает десквамацию эндотелия и повреждение клапанов вен. При этом усиление кровотока может быть обеспечено как за счет надавливания, так и за счет напряжения мышц брюшного пресса соответствующего участка конечности, что позволяет использовать способ в различных ситуациях. После разреза тромб может быть выведен в рану на высоте пробы Вальсальвы под давлением обратного тока крови, и после получения ретроградного кровотока вена выше разреза прижимается мягким тупфером, что обеспечивает профилактику тромбоэмболии легочной артерии.
С помощью подтягивания П-образных швов-держалок с образованием клапаноподобной дубликатуры после удаления тромба обеспечивается гемостаз.
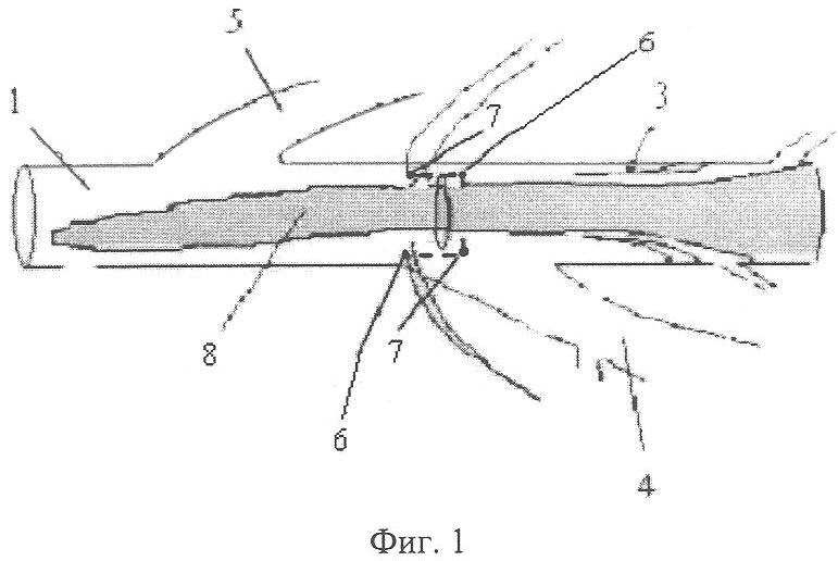
На фигуре 1 приведено изображение вены на этапе наложения П-образных швов-держалок и выполнения разреза. На фигуре 2 приведено изображение вены на этапе удаления тромба, а именно удаления флотирующего фрагмента тромба из просвета вены путем создания повышенного давления кровотока. На фигуре 3 приведено изображение вены на этапе обеспечения гемостаза с помощью подтягивания П-образных швов-держалоки после удаления тромба. На фигуре 4 приведено изображение вены после тромбэктомии и ушивания стенки. На фигурах изображены: общая бедренная вена (ОБВ) 1, бедренная вена (БВ) 2, клапан 3 бедренной вены; глубокая бедренная вена (ГБВ) 4, большая подкожная вена (БПВ) 5, П-образные швы держалки, образованные нитями, изображенными штриховыми линиями, расположенными между точками 6 вкола и точками 7 выкола, тромб 8, клапаноподобная дубликатура 9.
Предлагаемый способ осуществляется следующим образом.
Осуществляют доступ с выделением только передней стенки вены, например общей бедренной вены 1 (фиг.1), затрагивая адвентицию только на протяжении предполагаемого разреза. В проекции основания флотирующей части тромба 8 на стенку вены 1 в поперечном направлении монофиламентной нерассасывающейся нитью накладывают два П-образных шва-держалки с точками вкола 6 и точками выкола 7, как показано на фигуре 1. П-образный шов-держалка имеет четыре точки «вкола-выкола». Осуществляют поперечный разрез вены так, что точки 7 выкола с исходящими из них нитями находятся левее линии разреза, а точки 6 вкола расположены правее линии разреза. Величина разреза, как правило, не превышает 1/2 длины окружности вены 1. Флотирующая часть тромба 8, имитируя включение брюшно-кавального насоса, выводится в рану под давлением обратного тока крови, как показано на фигуре 2.
После получения ретроградного кровотока общую бедренную вену 1 выше разреза прижимают мягким тупфером (на фигурах не показан). Затем при помощи компрессии мышц голени и бедра удаляют другие тромбы (на фигурах не показаны) из дистальных глубоких вен нижней конечности, например из глубокой бедренной вены. После этого, убедившись в отсутствии флотирующих частей тромба 8, П-образные швы-держалки, расположенные между точками 6,7, подтягивают, как показано на фигуре 3, при этом образуется клапаноподобная дубликатура 9, обеспечивающая гемостаз. Стенка вены 1 ушивается обвивными или единичными швами, как показано на фигуре 4.
Ниже приведены примеры реализации предлагаемого способа.
Пример 1.
Больной У., 47 лет, поступил в ГКБ 11 с диагнозом: острый эмбологенный флеботромбоз глубоких вен правой нижней конечности давностью 10 суток. На триплексном УЗИ глубоких вен нижних конечностей при поступлении: бедренная, подколенная, мышечные и задние берцовые вены плотно тромбированы. Хвост тромба флотирует на уровне устья глубокой бедренной вены на протяжении 4 см, занимая при этом 40% просвета.
После недельного курса консервативной антикоагулянтной, антиагрегантной, инфузионной терапии по данным триплексного УЗИ определяется рост флотирующей части тромба до 7 см.
Под спинальной анестезией в асептических условиях в бедренном треугольнике был осуществлен доступ, выделена только передняя стенка вены на протяжении 2 см. В проекции основания флотирующей части тромба на стенку вены в поперечном направлении монофиламентной нерассасывающейся нитью наложено два П-образных шва-держалки, между которыми произведен разрез. Флотирующая часть тромба, имитируя включение брюшно-кавального насоса, выведена в рану под давлением обратного тока крови. После получения ретроградного кровотока вена выше разреза прижата мягким тупфером. Затем при помощи компрессии мышц голени и бедра удалены тромбы из дистальных глубоких вен нижней конечности. После этого, убедившись в отсутствии флотирующих частей тромба, П-образные швы подтянуты, обеспечен гемостаз. Стенка вены ушита одиночными швами.
Послеоперационный период протекал без осложнений, на контрольном триплексном УЗИ роста тромба не выявлено, просвет вены выше зоны вмешательства полностью свободен. Функция клапана бедренной вены сохранена. Больной выписан в удовлетворительном состоянии на 10-е сутки после операции.
Пример 2.
Больной К., 67 лет, поступил в ГКБ 11 с диагнозом: острый эмбологенный флеботромбоз глубоких вен левой нижней конечности давностью 2-е суток.
Из анамнеза известно, что год назад он лечился в отделении пульмонологии с диагнозом: левосторонняя S 3,4,6 пневмония, тяжелое течение. ОДН 1. Тромбофлебит глубоких вен правой голени.
На триплексном УЗИ левой нижней конечности определяется тромбоз суральных, подколенной, бедренной вен, хвост тромба флотирует выше устья глубокой бедренной вены на 2 см.
Под спинальной анестезией в асептических условиях в бедренном треугольнике был осуществлен доступ, выделена только передняя стенка вены на протяжении 1,5 см. На 2 см выше проекции основания флотирующей части тромба на стенку вены в поперечном направлении монофиламентной нерассасывающейся нитью наложено два П-образных шва-держалки, между которыми произведен разрез. Флотирующая часть тромба, имитируя включение брюшно-кавального насоса, выведена в рану под давлением обратного тока крови. После получения ретроградного кровотока вена выше разреза прижата мягким тупфером. Затем при помощи компрессии мышц голени и бедра удалены тромбы из дистальных глубоких вен нижней конечности. После этого, убедившись в отсутствии флотирующих частей тромба, П-образные швы подтянуты, обеспечен гемостаз. Стенка вены ушита обвивным швом.
Послеоперационный период протекал без осложнений, на контрольном триплексном УЗИ роста тромба не выявлено, просвет вены выше средней трети бедренной вены полностью свободен, средняя треть бедренной вены тромбирована на 80%, нижняя треть бедренной и подколенной вены тромбированы полностью. Функция клапана бедренной вены сохранена. Флотирующих тромбов не выявлено. Больной выписан в удовлетворительном состоянии на 10-е сутки после операции.
Таким образом, вышеописанные примеры подтверждают, что использование предлагаемого способа позволяет уменьшить опасность ретромбоза при тромбэктомии из глубоких вен нижних конечностей за счет уменьшения травматизации венозной стенки, уменьшения повреждения эндотелия, а также уменьшения нарушения трофики из-за повреждения vasa vasorum и нервных волокон.
Источники информации
1. Флебология. Руководство для врачей. Под редакцией B.C.Савельева. М.: Медицина, 2001.
2. Руководство по сосудистой хирургии с атласом оперативной техники. Белов Ю.В., ДеНово Издательство, 2000.
Формула изобретения
1. Способ тромбэктомии из глубоких вен нижних конечностей, включающий выделение вены, обеспечение доступа и гемостаза с помощью фиксирующих средств, выполнение разреза, удаление тромба, ушивание, отличающийся тем, что выделяют только переднюю стенку вены, доступ и гемостаз обеспечивают за счет двух П-образных швов-держалок, накладываемых поперечно в зоне планируемого разреза, при этом разрез выполняют в поперечном направлении между швами-держалками, а тромб удаляют путем создания повышенного давления в вене.
2. Способ тромбэктомии из глубоких вен нижних конечностей по п.1, отличающийся тем, что тромб удаляют путем создания повышенного давления в вене, при этом удаляют флотирующую часть тромба за счет повышения внутрибрюшного давления, а после получения ретроградного кровотока свободную вену выше места разреза прижимают мягким тупфером.
РИСУНКИ
|
|