|
(21), (22) Заявка: 2007124080/12, 09.12.2005
(24) Дата начала отсчета срока действия патента:
09.12.2005
(30) Конвенционный приоритет:
14.12.2004 DE 202004019219.5
(46) Опубликовано: 27.04.2009
(56) Список документов, цитированных в отчете о поиске:
DE 20318735 U1, 01.04.2004. GB 2237501 А, 08.05.1991. US 4912727 А, 27.03.1990. SU 1708286 А1, 30.01.1992. RU 14816 U1, 10.09.2000.
(85) Дата перевода заявки PCT на национальную фазу:
16.07.2007
(86) Заявка PCT:
EP 2005/056647 20051209
(87) Публикация PCT:
WO 2006/063968 20060622
Адрес для переписки:
191002, Санкт-Петербург, а/я 5, ООО “Ляпунов и партнеры”, пат.пов. Е.Г.Ильмер, рег. 1144
|
(72) Автор(ы):
АМОН Михель Рене (DE), РАЙНЕРТ Маттиас (DE), КАРРАШ Торстен (DE)
(73) Патентообладатель(и):
ХЕТТИХ-ХАЙНЦЕ ГМБХ УНД КО. КГ (DE)
|
(54) ТЕЛЕСКОПИЧЕСКИЕ НАПРАВЛЯЮЩИЕ ДЛЯ ВЫДВИЖНЫХ ЭЛЕМЕНТОВ МЕБЕЛИ
(57) Реферат:
Изобретение относится к телескопической направляющей для выдвижных элементов мебели. Телескопическая направляющая включает в себя корпусную направляющую, фиксируемую на корпусе мебели, выдвижную направляющую, фиксируемую на выдвигаемом элементе, и по крайней мере одну среднюю направляющую, расположенную между корпусной направляющей и выдвижной направляющей. Выдвижная направляющая сцеплена со средней направляющей вплоть до ее максимального или практически максимального смещения относительно корпусной направляющей. Для сцепления по крайней мере одной средней направляющей с выдвижной направляющей на одной из указанных направляющих закреплен по меньшей мере один постоянный магнит. Этот постоянный магнит до максимального или практически максимального положения выдвижения средней направляющей прилегает к упору на другой из указанных направляющих, выполненному из магнитного материала. Такое выполнение направляющей обеспечивает простое и надежное сцепление обеих направляющих, устойчивое к сбоям. 12 з.п. ф-лы, 22 ил.
Настоящее изобретение относится к телескопической направляющей для выдвижных элементов мебели, включающей в себя корпусную направляющую, фиксируемую на корпусе мебели, выдвижную направляющую, фиксируемую со стороны выдвигаемого элемента, и по крайней мере одну среднюю направляющую, расположенную между корпусной направляющей и выдвижной направляющей, причем выдвижная направляющая сцеплена со средней направляющей вплоть до ее максимального или практически максимального смещения относительно к корпусной направляющей.
Телескопические направляющие упомянутого выше типа известны сами по себе.
Так, из DE 20318735 U1 известна соответствующая телескопическая направляющая, при которой сцепление между средней направляющей и выдвижной направляющей осуществляется чисто механически за счет поводкового рычага, которым можно управлять посредством направляющего устройства, расположенного на корпусной направляющей.
В принципе можно достичь поставленной цели, а именно вызвать определенное прохождение направляющих при выдвижении выдвижного элемента мебели, при помощи подобного механического сцепления, однако чисто механическое сцепление такого рода имеет также определенные ограничения.
Так, например, использование механических средств сцепления предполагает наличие достаточного места, это означает, что механические средства сцепления возможны только при определенных формах направляющих и сечений.
При механических средствах сцепления управление направляющими осуществляется в зависимости от пути, это означает, что как только средняя направляющая максимально выдвинута, то также и сцепление между средней направляющей и выдвижной направляющей снимается и выдвижная направляющая может, таким образом, без проблем выдвигаться.
Наоборот, для повторного сцепления соответствующих направляющих необходимо преодоление определенной силы, как, например, противодействующей силы втягивания также возможно существующего механизма автоматического закрытия и амортизации.
В основу настоящего изобретения положена задача создать телескопическую направляющую подобного рода с особенно легко реализуемым и устойчивым к сбоям сцеплением, которое, при этом действует в зависимости от силы сцепления, которое кроме того, никоим образом не нарушает работу механизма автоматического закрытия и амортизации.
Эта задача в настоящем изобретении решается за счет того, что для сцепления средней направляющей с выдвижной направляющей на одной из направляющих закреплен по крайней мере один постоянный магнит, прилегающий к упору из магнитного материала на другой направляющей вплоть до максимального или практически максимального положения выдвижения средней направляющей.
За счет сцепления средней направляющей и выдвижной направляющей посредством по крайней мере одного постоянного магнита реализуется простое и устойчивое к сбоям сцепление обеих направляющих. Это сцепление зависит только от силы магнита, что ведет к тому, что после полного выдвижения средней направляющей сначала необходимо применить дополнительную силу, чтобы высвободить выдвижную направляющую из средней направляющей, преодолевая удерживающие силы по крайней мере одного постоянного магнита.
С другой стороны, это сцепление никак не ухудшает действие возможно встроенного в телескопическую направляющую механизма автоматического закрытия и амортизации, а наоборот, даже поддерживает его, так как незадолго до достижения положения закрытия силы по крайней мере одного постоянного магнита способствуют автоматическому закрытию.
За счет выбора постоянных магнитов разной силы можно при необходимости также повысить удерживающую силу при частично выдвинутой телескопической направляющей, чего также можно достичь при использовании нескольких постоянных магнитов.
Дополнительные признаки изобретения раскрыты в зависимых пунктах формулы.
Примеры выполнения изобретения представлены на прилагаемых чертежах и далее раскрыты подробнее.
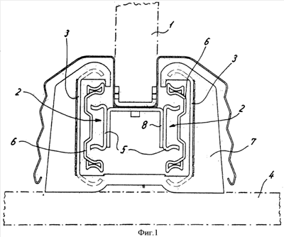
На фигуре 1 схематически представлен вид спереди нижней части выдвижного элемента мебели, закрепленного в телескопических направляющих.
На фигуре 2 изображены телескопические направляющие в разобранном виде в аксонометрии и размещаемое на них устройство для сцепления обеих направляющих.
На фигуре 3 изображено в разобранном виде в аксонометрии устройство для сцепления обеих направляющих телескопических направляющих согласно фигуре 2.
На фигуре 4 показан вид в направлении стрелки IV на фигуре 2.
На фигуре 5 показан разрез по линии V-V на фигуре 4.
На фигурах 6а-6d показаны различные виды и представления в разрезе магнитного крепления устройства согласно фигуре 3.
На фигуре 7 показан вид спереди, в основном, соответствующий фигуре 1, другого варианта исполнения изобретения.
На фигуре 8 в разобранном виде в аксонометрии изображено устройство для сцепления обеих направляющих телескопических направляющих согласно фигуре 7.
На фигуре 9 показан вид спереди, соответствующий фигуре 7, с установленным устройством для сцепления отдельных направляющих.
На фигуре 10 показан разрез по линии Х-Х на фигуре 9.
На фигурах 11а-11d показаны различные виды и представления в разрезе магнитного крепления согласно примеру исполнения по фигурам 7-10.
На фигуре 12 представлено в разобранном виде устройство, соответствующее фигуре 2, согласно еще одному примеру исполнения изобретения.
На фигуре 13 показано частичное представление в аксонометрии собранных конструктивных узлов, показанных на фигуре 12.
Фигуры 14а-14d показывают различные виды и представления в разрезе магнитного держателя согласно примеру исполнения по фигурам 12-13.
На фигуре 15 изображена телескопическая направляющая для выдвижных ящиков в разобранном виде в аксонометрии с устройством для сцепления двух направляющих.
На фигуре 16 представлены в аксонометрии в сборке конструктивные узлы, показанные на фигуре 15.
Фигуры 17а и 17b показывают частичные представления телескопической направляющей по фигуре 16 в аксонометрии в различных позициях выдвижения.
Фигуры 18а-18е показывают различные виды и представления в разрезе магнитного крепления согласно примеру исполнения по фигурам с 15 по 17.
На фигурах 19-22 показаны формы сечений различных телескопических направляющих, которые подходят для сцепления отдельных направляющих посредством постоянных магнитов в зависимости от силы.
На фигуре 1 позицией 1 обозначен выдвижной элемент мебели, например выдвижной элемент высокого выдвижного ящика. Этот выдвижной элемент 1 проходит в показанной нижней конечной области по телескопическим направляющим 2 с возможностью продольного смещения.
Каждая телескопическая направляющая 2 включает в себя корпусную направляющую 3, фиксируемую на корпусе мебели, например на дне 4 корпуса мебели, выдвижную направляющую 5, фиксируемую со стороны выдвижного элемента, то есть на выдвижном элементе 1, а также среднюю направляющую 6, расположенную между корпусной направляющей 3 и выдвижной направляющей 5.
Корпусные направляющие 3 опосредованно соединены посредством блока крепления 7 с корпусом мебели – здесь дном 4.
Выдвижные направляющие 5 закреплены на U-образном профиле 8, который, в свою очередь, прочно соединен с выдвижным элементом 1.
Отсюда следует, что корпусные направляющие 3 зафиксированы относительно корпуса мебели, в то время как выдвижные направляющие 5 могут рассматриваться, как зафиксированные относительно смещаемого элемента 1, причем средние направляющие 6 могут смещаться как относительно корпуса мебели, так и относительно смещаемого элемента 1.
Общая длина выдвижения телескопических направляющих складывается, таким образом, из максимального пути смещения средней направляющей 6 относительно корпуса мебели и максимального пути смещения выдвижной направляющей 3 относительно средней направляющей 6.
Эта принципиальная структура и только что описанная функция подобных телескопических направляющих 2 известна сама по себе.
Также известно, что выдвижные направляющие 3 закреплены относительно средних направляющих 6 таким образом, что – из задвинутого положения или положения закрытия выдвижного элемента 1 – в процессе открытия или при выдвижении выдвижного элемента 1 сначала используется только возможный путь смещения средней направляющей 6 и по этой области смещения не происходит относительного смещения между средней направляющей 6 и выдвижной направляющей 5.
Тот же принцип реализован также в настоящем изобретении.
Чтобы сцепить среднюю направляющую 6 с выдвижной направляющей 5 согласно вышеописанной функции, предусмотрены, что особенно наглядно показано на фигурах с 2 по 5, постоянные магниты 9, которые удерживаются магнитным креплением 10 и в показанном примере исполнения закреплены на U-образном профиле 8, несущем обе выдвижные направляющие 5. Эти постоянные магниты 9 прилегают в закрытом состоянии смещаемого элемента 1 к торцевым упорам средних направляющих 6, выполненных из магнитного материала. Это видно, в частности, на представлении в разрезе согласно фигуре 5.
То есть в состоянии закрытия средние направляющие 6 сцеплены с выдвижными направляющими 5 силами постоянных магнитов 9 в зависимости от силы.
Если выдвижной элемент выдвигается из своего положения закрытия, то сначала относительно корпусных направляющих 3 движутся только средние направляющие 6. Если максимальный путь смещения средних направляющих 6 исчерпан, то сначала происходит короткая остановка, так как для дальнейшего выдвижения выдвижного элемента 1 должно быть преодолено силовое сцепление между выдвижными направляющими 5 и средними направляющими 6, создаваемое постоянными магнитами 9.
Благодаря этой конструкции простейшим способом обеспечивается, что при открытии или выдвижении выдвижного элемента мебели из этого положения закрытия сначала выдвигаются только средние направляющие 6 – а именно равномерно – из корпуса мебели. Только если требуется дальнейшее выдвижение, пользователь преодолевает силовое сцепление между выдвижными направляющими 5 и средними направляющими 6, и выполняется максимальное выдвижение.
Если соответствующий выдвижной элемент снова сдвигается назад в его положение закрытия, то незадолго до достижения конечного состояния закрытия происходит повторное сцепление постоянных магнитов 9 со средними направляющими 6, причем здесь соответствующие магнитные силы вызывают или поддерживают своего рода автоматическое закрытие выдвижного элемента, если в области направляющей используется механизм автоматического закрытия и амортизации.
Само собой разумеется, что за счет выбора постоянных магнитов 9 разной силы можно увеличивать или уменьшать силу сцепления между средними направляющими 6 и выдвижными направляющими 5.
Магнитное крепление 10 устанавливают в области U-образного профиля 8 с торцевой стороны и по осевой фиксируют за счет фиксирующего носика 11, который входит за предусмотренный на U-образном профиле выступ 12, что опять же особенно наглядно показано на фигуре 5.
Как подробно представлено на фигурах 6а-6d, магнитный держатель 10 оснащен захватывающими скобами 13 для постоянных магнитов 9, причем постоянные магниты 9 защелкиваются в эти захватывающие скобы 13 и фиксируются фиксирующими выступами 14.
Если сами средние направляющие 6 изготовлены из немагнитного материала, то на торцевых сторонах, по крайней мере на участке, противоположном постоянным магнитам 9, должны быть размещены опоры, состоящие из магнитного материала.
Это, например, необходимо в том случае, если средние направляющие 6 изготовлены из пластика или немагнитного металла.
На фигурах с 7 по 11 показан пример исполнения изобретения, при котором постоянные магниты 9 взаимодействуют с накладками 15, которые размещены на средних направляющих 6 или, если эти средние направляющие 6 изготовлены из магнитного материала, выступают из этих средних направляющих 6.
В примере исполнения согласно фигурам 7-11 на U-образном профиле может быть закреплен также и согласованный по сечению направляющих магнитный держатель 10 посредством винта или заклепки 16.
В остальном структура и принцип работы конструкции, показанной на этом примере исполнения по фигурам 7-11, идентичны вышеописанному примеру исполнения, однако здесь постоянные магниты 9 расположены в средней области направляющей.
Сцепление выдвижных направляющих 5 со средними направляющими 6 может осуществляться как в передней области торцевой стороны, так и в задней или средней области этой пары направляющих, здесь конструктор выберет соответственно подходящее и оптимальное для общей концепции положение.
В описанных до сих пор примерах исполнения сцепление осуществляется между выдвижными направляющими 5 и средними направляющими 6 соответственно посредством постоянных магнитов 9.
В примере исполнения согласно фигурам 12-14 показано, что сцепление между средними направляющими 6 и выдвижными направляющими 5 может быть реализовано также посредством двух постоянных магнитов 9 с результатом более мощных удерживающих сил.
Крепление магнитного держателя 10 осуществляется здесь посредством двух вертикально расположенных, противоположных друг другу крепежных накладок 11а с продольными пазами 11b, в которые входят выступы 8а клипсового крепления со стороны направляющей или со стороны U-образного профиля 8.
Фигуры с 15 по 18 показывают, что описанный выше тип сцепления между средними направляющими 6 и выдвижными направляющими 5 телескопической направляющей 2 также может быть реализован в простых телескопических направляющих 2, например, для выдвижных ящиков. При этом корпусная направляющая 3 закреплена на боковой или промежуточной стенке корпуса мебели, и выдвижная направляющая 5 фиксированно соединена с боковой рамой выдвижного ящика.
На переднем конце средней направляющей 6 с торцевой стороны предусмотрена расположенная под углом или, при необходимости, дополнительно установленная перемычка 17, которая может взаимодействовать с одним из в данном случае прямоугольных постоянных магнитов 9а. Соответственно магнитный держатель 10 в своей средней части оснащен захватывающей скобой 13а, соответствующей прямоугольной форме постоянного магнита 9а. Для фиксации постоянного магнита 9а в этой захватывающей скобе 13а опять же предусмотрены фиксирующие носики 14. Это особенно хорошо видно на фигуре 18е. Крепление магнитного держателя 10 также и здесь выполняется удачным способом в форме фиксирующегося или клипсового соединения.
И, наконец, фигуры с 19 по 22 показывают телескопические направляющие 2, которые по форме сечения также прекрасно подходят для того, чтобы оснащаться устройствами сцепления по аналогии с раскрытыми выше примерами исполнения.
Раскрытые выше примеры исполнения исходят из трехэлементных направляющих (корпусная направляющая, средняя направляющая, внутренняя направляющая).
Описанный вид сцепления/управления элементами направляющей, конечно, также может использоваться, если направляющие состоят более чем из трех элементов.
В этом случае либо выбирают элементы направляющей, которые будут сцеплять направляющие с магнитами, или за счет магнитов различной силы вызывается принудительная последовательность работы всех направляющих. При этом, например, первая выдвигающаяся направляющая взаимодействует со «слабым» магнитом, а последняя выдвигающаяся направляющая взаимодействует с «сильным» магнитом, в то время как средние направляющие могут сцепляться магнитами «средней силы». Это означает, что целенаправленное управление процессом возможно в желаемой последовательности при более чем трех элементах направляющих благодаря целенаправленному использованию магнитов с различной, например ступенчатой, удерживающей силой.
Градация удерживающей силы магнитов может, конечно, реализовываться также и посредством количества магнитов, использованных в каждом элементе направляющей.
Формула изобретения
1. Телескопическая направляющая (2) для выдвижных элементов мебели, включающая в себя корпусную направляющую (3), фиксируемую на корпусе мебели, выдвижную направляющую (5), фиксируемую на выдвигаемом элементе, и, по крайней мере, одну среднюю направляющую (6), расположенную между корпусной направляющей (3) и выдвижной направляющей (5), причем выдвижная направляющая (5) сцеплена со средней направляющей (6) вплоть до ее максимального или практически максимального смещения относительно корпусной направляющей (3), отличающаяся тем, что для сцепления, по крайней мере, одной средней направляющей (6) с выдвижной направляющей (5) на одной из указанных направляющих (5, 6) закреплен по меньшей мере один постоянный магнит (9, 9а), который до максимального или практически максимального положения выдвижения средней направляющей (6) прилегает к упору на другой из указанных направляющих (5, 6), выполненному из магнитного материала.
2. Телескопическая направляющая по п.1, отличающаяся тем, что упором для постоянного магнита или постоянных магнитов (9, 9а) является торцевая сторона соответственно другой из указанных направляющих (5, 6).
3. Телескопическая направляющая по п.1, отличающаяся тем, что в качестве упора для постоянного магнита или постоянных магнитов (9, 9а) на соответствующей направляющей (5, 6) предусмотрена выполненная в соответствующей направляющей (5, 6) или размещенная отдельно перемычка (15, 17).
4. Телескопическая направляющая по п.1, отличающаяся тем, что постоянный магнит или постоянные магниты (9) расположены в магнитном держателе (10), который оснащен одной или несколькими захватывающими скобами (13, 13а), в которых постоянный магнит или постоянные магниты (9, 9а) зафиксированы.
5. Телескопическая направляющая по п.1, отличающаяся тем, что постоянный магнит или постоянные магниты (9, 9а), закрепленные на одной из направляющих (5, 6), прилегают к расположенным с торцевой стороны упорам соответственно другой из указанных направляющих (6, 5).
6. Телескопическая направляющая по п.1, отличающаяся тем, что постоянные магниты (9, 9а), закрепленные на одной из направляющих (5, 6), прилегают к упорам соответственно другой из направляющих (6, 5), расположенных в средней или задней части.
7. Телескопическая направляющая по любому из пп.1-6, отличающаяся тем, что направляющая (5, 6), образующая упор для постоянного магнита или постоянных магнитов (9, 9а), изготовлена из магнитного материала.
8. Телескопическая направляющая по любому из пп.1-6, отличающаяся тем, что направляющая (5, 6), несущая упоры для постоянных магнитов (9, 9а), изготовлена из немагнитного материала и в области упора оснащена покрытием из магнитного материала.
9. Телескопическая направляющая по любому из пп.1-6, отличающаяся тем, что постоянные магниты (9) и соответствующие захватывающие скобы (13) магнитного держателя (10) имеют цилиндрическое сечение.
10. Телескопическая направляющая по любому из пп.1-6, отличающаяся тем, что постоянные магниты (9а) и соответствующие захватывающие скобы (13а) имеют прямоугольную форму.
11. Телескопическая направляющая по любому из пп.1-6, отличающаяся тем, что для сцепления средней направляющей (6) с выдвижной направляющей (5) предусмотрено два постоянных магнита (9, 9а).
12. Телескопическая направляющая по любому из пп.1-6, отличающаяся тем, что магнитное крепление (10) соединено непосредственно с выдвижной направляющей (5) или средней направляющей (6).
13. Телескопическая направляющая по любому из пп.1-6, отличающаяся тем, что магнитное крепление (10) установлено на U-образном профиле (8), несущем выдвижную направляющую (5).
РИСУНКИ
|