|
|
(21), (22) Заявка: 2006114092/13, 30.09.2004
(24) Дата начала отсчета срока действия патента:
30.09.2004
(30) Конвенционный приоритет:
30.09.2003 US 10/675,440
(43) Дата публикации заявки: 10.11.2007
(46) Опубликовано: 27.04.2009
(56) Список документов, цитированных в отчете о поиске:
US 4924552 А, 15.05.1990. US 5273481 А, 28.12.1993. US 3703065 А, 21.11.1972. US 6263643 B1, 24.06.2001.
(85) Дата перевода заявки PCT на национальную фазу:
02.05.2006
(86) Заявка PCT:
US 2004/032125 20040930
(87) Публикация PCT:
WO 2005/032759 20050414
Адрес для переписки:
107061, Москва, Преображенская пл., 6, ООО Фирма патентных поверенных “ИННОТЭК”, пат.пов. Т.А.Вахниной, рег. 122
|
(72) Автор(ы):
ПИНТО Роберт (US), ХАШКЕ Эгго (US)
(73) Патентообладатель(и):
ПОЛИ-КЛИП СИСТЕМ КОРП. (US)
|
(54) УСОВЕРШЕНСТВОВАННАЯ МАШИНА И СПОСОБ СОСБОРИВАНИЯ СЕТОЧНОЙ УПАКОВКИ
(57) Реферат:
Изобретение относится к области приготовления пищевых продуктов в гофрированных (искусственных) трубчатых оболочках и заключения продуктов в сеточную упаковку. Машина содержит трубу для сеточной упаковки. Вторую трубу размещают поверх трубы для сеточной упаковки и коаксиально ей и сеточную упаковку натягивают поверх второй трубы. Две трубы побуждают к возвратно-поступательному движению сквозь множество подпружиненных пальцев, которые позволяют сеточной упаковке проходить при ходе вниз и удерживают сеточную упаковку при ходе вверх. При движении двух труб сеточная упаковка натягивается поверх второй трубы и сосборивается на трубе для сеточной упаковки. Кольцевое пространство, образованное кольцом трубы, размещенным между трубой для сеточной упаковки и второй трубой, побуждает сеточную упаковку сосбориваться во множестве аккуратно уложенных слоев. 3 н. и 11 з.п. ф-лы, 8 ил.
Настоящее изобретение относится к области приготовления пищевых продуктов в гофрированных (искусственных) трубчатых оболочках и заключения продуктов в сеточную упаковку. Один способ, в основном используемый в промышленности, предусматривает нагнетание пищевых продуктов, например колбасного фарша, в целом мышечного мяса или другого мяса, через продуктовый рог. Мясные продукты вводят под давлением (втискивают) в съедобную пленку и затем в сеточную упаковку. Пищевые продукты, подлежащие упаковке, должны будут расширяться и толкать пленку через сеточную упаковку. После технологической обработки, например копчения или отваривания, сеточная упаковка будет удалена, оставляя на внешней поверхности пищевых продуктов ямочки, внешний вид которых, как полагают, является привлекательным для потребителей. Съедобная оболочка будет препятствовать прилипанию сеточной упаковки к мясу, таким образом, после удаления сеточной упаковки сохраняется привлекательный внешний вид мяса. (Нет причины ограничивать настоящее изобретение мясом; оно может быть использовано для сыра или вегетарианской колбасы, или любых других пищевых продуктов, для которых желательным является внешний вид с ямочками.) Этот способ иллюстрируется в патенте США 4910034 и его выделенном патенте США 4958477. Как следует из фиг.4 этих двух патентов, имеются три коаксиальных трубы. Колбасный фарш или другой ингредиент нагнетают в трубу наименьшего диаметра; труба среднего диаметра формует съедобную оболочку в трубу, а внешняя труба (“труба для сеточной упаковки”) удерживает сеточную упаковку.
Сеточная упаковка, используемая в этом технологическом процессе, поступает от изготовителей в уплощенном состоянии и периферически обернутой на цилиндре одноразового использования. Для того чтобы быть использованной так, как это описано выше, сеточная упаковка должна быть сосборена на временной трубе для сеточной упаковки. Этот технологический процесс сосборивания или “образования складок” включает в себя размещение сеточной упаковки на трубе для сеточной упаковки. Имеется преимущество в возможности максимизции количества сеточной упаковки, размещаемой на трубе для сеточной упаковки, так как непроизводительные затраты времени на замену труб сеточной упаковки вызывают разрывы и неэффективность в технологическом процессе. Как только сеточная упаковка сосборена на трубе сеточной упаковки, трубу размещают на колбасоделательной машине для экструзии колбасы, как описано в патентах США 4910034 и 4958477 и как иллюстрируется, например, на фиг.7 этих патентов.
В документах предшествующего уровня техники трубу для сеточной упаковки побуждают совершать возвратно-поступательные движения в вертикальном направлении, например, при использовании пневматического цилиндра. Сеточную упаковку растягивают поверх этой трубы. Множество подпружиненных пальцев прикреплено к кронштейну вокруг трубы сеточной упаковки в окружном направлении. Эти пальцы нормально находятся в горизонтальном положении. Направленная вниз сила движет их вниз; при прекращении действия силы пружины побуждают их отскакивать назад в нормальное горизонтальное положение. В соответствии с этим, пальцы несут сеточную упаковку вниз во время хода трубы вверх и скользят поверх сеточной упаковки во время хода трубы вниз. Таким образом, возвратно-поступательное движение трубы для сеточной упаковки побуждает сосборивание сеточной упаковки на трубе для сеточной упаковки. Этот предшествующий уровень техники описан, например, в патенте США 5273481. Следует отметить, что с помощью этого способа на трубе для сеточной упаковки сосборивается только один слой сеточной упаковки.
Усовершенствование предшествующего уровня техники заключается во введении второй трубы, которая устанавливается коаксиально поверх трубы для сеточной упаковки. Сеточную упаковку растягивают поверх второй трубы. Когда сеточную упаковку переносят поверх второй трубы, вторая труба поднимается относительно трубы для сеточной упаковки, и сеточная упаковка сосборивается на трубе для сеточной упаковки в пространстве, образованном между основанием трубы для сеточной упаковки и теперь поднявшейся второй трубой. В этом случае больше сеточной упаковки может быть сосборено на трубе для сеточной упаковки по сравнению со способом, описанным в предыдущем разделе, поскольку может быть сосборено множество слоев, обеспечивая в соответствии с этим большее сосборивание в линейных футах на длину трубы для сеточной упаковки. Однако сеточная упаковка не сосборивается особенно аккуратно при сосборивании этим способом. Сборки собираются в группы и становятся извилистыми. В общем, неопрятный внешний вид сеточной упаковки на трубе является непривлекательным для потенциальных покупателей оборудования. Помимо всего прочего и более важно, отсутствие аккуратности, вызываемое отсутствием равномерности, препятствует сосбориванию такого большого количества сеточной упаковки на трубе, как можно было бы надеяться получить.
Это улучшение, соответствующее предшествующему уровню техники, использовало вторую трубу с большим внутренним диаметром, чем внешний диаметр трубы для сеточной трубы. В соответствии с этим крышку трубы вставляют в верхнюю часть второй трубы для поддержания коаксиального движения второй трубы относительно трубы для сеточной упаковки и для обеспечения возможности плавного скольжения сеточной упаковки поверх второй трубы. Коаксиальное кольцо в нижней части второй трубы поддерживает коаксиальность второй трубы относительно трубы для сеточной упаковки и будет толкать сеточную упаковку вниз на трубу для сеточной упаковки.
Хотя усовершенствование этого предшествующего уровня техники увеличивает количество сеточной упаковки, которое может быть сосборено на трубе для сеточной упаковки, для пользователей машины желательно дополнительное увеличение этого количества. Помимо всего прочего, вновь разработанные устройства соединяются с выходным концом трубы для сеточной упаковки во время получения колбасы и обеспечивают сеточной оболочке возможность соскальзывания с трубы для сеточной упаковки в дискретные заданные участки. Эти вновь разработанные сосбориватели сеточной упаковки требуют свободного пространства на конце трубы для сеточной упаковки, которое больше длины получаемых колбас, дополнительно ограничивая количество сеточной упаковки, которое может быть сосборено на трубе для сеточной упаковки. В соответствии с этим использование десосборивателя дополнительно увеличивает необходимость максимизации количества сеточной упаковки, которое может быть сосборено на трубе для сеточной упаковки данной длины. (Следует отметить, что больше сеточной упаковки может быть сосборено на трубе для сеточной упаковки просто путем увеличения размера трубы для сеточной упаковки, но эта возможность недоступна или в лучшем случае непрактична для пользователей с ограниченным рабочим пространством.)
В соответствии с этим объектом настоящего изобретения является увеличение количества сеточной упаковки, которое может быть сосборено на трубе для сеточной упаковки. Дополнительным объектом настоящего изобретения является обеспечение возможности сосборивания большего количества сеточной упаковки на трубе для сеточной упаковки и оставление большей длины трубы для сеточной упаковки без сосборенной сетчатой упаковки для обеспечения возможности использования десосборивателя сеточной упаковки. Дополнительным объектом настоящего изобретения является побуждение сеточной упаковки аккуратно сосбориваться на трубе для сеточной упаковки.
Сущность настоящего изобретения
Задачей настоящего изобретения является улучшение предшествующего уровня техники, предусматривающего размещение коаксиального кольца между трубой для сеточной упаковки и второй трубой на расстоянии от нижнего конца второй трубы, создавая кольцевое пространство, ограниченное трубой для сеточной упаковки, кольцом и второй трубой. Сеточная упаковка изгибается под вторую трубу и заполняет сначала это кольцевое пространство. При следующем ходе сеточная упаковка сосборивается поверх сеточной упаковки, которая была сосборена в этом кольцевом пространстве. Этот способ побуждает сеточную упаковку сосбориваться аккуратно во множестве слоев без искривления и обеспечивает возможность большему количеству сетчатой упаковки сосбориваться на данной длине трубы для сеточной упаковки.
КРАТКОЕ ОПИСАНИЕ ЧЕРТЕЖЕЙ
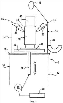
Фиг.1 – вертикальная проекция машины, соответствующей настоящему изобретению, без какой-либо сеточной упаковки.
Фиг.1А – подобная вертикальная проекция, что и на фиг.1, но с показанной сеточной упаковкой.
Фиг.2 – изометрическое изображение трубы для сеточной упаковки.
Фиг.3 – вертикальная проекция кольца крышки трубы.
Фиг.4 – изометрическое изображение второй трубы.
Фиг.5 – вид в плане на нижнее кольцо трубы.
Фиг.6 – вертикальная проекция второй трубы, размещенной поверх трубы для сеточной упаковки.
Фиг.7 – вертикальная проекция, выполненная с частичным вырезом, второй трубы.
Фиг.8 – вертикальная проекция, выполненная с частичным вырезом, второй трубы, размещенной поверх трубы для сеточной упаковки.
Подробное описание настоящего изобретения
Предпочтительные варианты устройства и способа осуществления настоящего изобретения вместе с их объектами и преимуществами могут стать наиболее очевидными из следующего описания его предпочтительного варианта осуществления, сделанного со ссылкой на следующие чертежи:
На фиг.1 иллюстрируется предпочтительный вариант осуществления машины 2 для сосборивания сеточной упаковки без сеточной упаковки, а на фиг.1А – с сеточной упаковкой. Машина 2 содержит станину 10, трубу 40 для сеточной упаковки и вторую трубу 50. Станина 10 имеет стойки 12 для ее поддерживания и верхние рычаги 14, которые держат головную часть 16 сосборивателя сетки. Головная часть 16 сосборивателя сетки ограничивает канал 18, через который проходят труба 40 для сеточной упаковки и вторая труба 50. С головной частью 16 сосборивателя сетки соединены и проходят в канал 18 множество подпружиненных пальцев 20.
Подвижная платформа 22 расположена на верхней части станины 10. Она предназначена для перемещения в направлении вверх и вниз и приводится в движение подъемными средствами. В предпочтительном варианте осуществления подъемные средства содержат пневматический цилиндр 24, соединенный с подводом 26 воздуха, который управляется с помощью управляющих средств 28. Будут достаточными любые подъемные средства, которые могут обеспечить возвратно-поступательное движение в аксиальном направлении, например зубчатый механизм, другой тип гидравлического цилиндра или ножной привод. В предпочтительном варианте осуществления управляющим средством 28 является микропроцессор с прикладной специальной программой, написанной для него, но будет достаточным любой пригодный цифровой или аналоговый контроллер.
Сеточная упаковка 4 размещена в магазине 30 для сетки, который соединен с верхним рычагом 14. Передний край сеточной упаковки 4 проходит вверх к направляющей 32 сетке, соединенной с одним из верхних рычагов 14, и выше одного из верхних рычагов 14 и выше головной части 16 сосборивателя сетки. Направляющая 32 сетки направляет сеточную упаковку 4 вниз через канал 18, как будет описано ниже.
Труба 40 для сеточной упаковки, показанная увеличенной на фиг.2, представляет собой полый цилиндр с опорной плитой 42. В предпочтительном варианте осуществления труба 40 для сеточной упаковки выполнена из нержавеющей стали для использования в окружающей среде технологической обработки пищевых продуктов. Для надежного удержания трубы 40 для сеточной упаковки на подвижной платформе 22 предусмотрены крепежные средства 44. Крепежные средства 44 предпочтительно являются такими же средствами, посредством которых труба для сеточной упаковки будет соединена с машиной для производства колбасы после сосборивания сеточной упаковки 4. Крепежными средствами 44 может быть простое приспособление типа гайка-болт, зажим с фиксацией или любая система для прочного удерживания трубы 40 для сеточной упаковки на подвижной платформе 22.
Вторая труба 50, иллюстрируемая на фиг.4, также представляет собой полый цилиндр, внутренний диаметр которого больше внешнего диаметра трубы 40 для сеточной упаковки. Вторая труба 50 предпочтительно получена из высокомолекулярного полимерного материала для обеспечения возможности ее простого скольжения по сеточной упаковке 4. В верхней части второй трубы 50 размещено кольцо 52 крышки трубы, иллюстрируемое на фиг.3. Кольцо 52 крышки трубы является торовидным элементом с имеющим паз краем 53, так что оно имеет один внешний диаметр, равный внешнему диаметру второй трубы 50, и второй внешний диаметр, равный внутреннему диаметру второй трубы 50, обеспечивая возможность вхождения кольца 52 крышки трубы в верхний торец второй трубы 50. Кольцо 52 крышки трубы имеет внутренний диаметр, который только немного больше внешнего диаметра трубы 40 для сеточной упаковки, так что кольцо 52 крышки трубы может просто скользить аксиально трубе 40 для сеточной упаковки. Кольцо 52 крышки трубы является скругленным или, по меньшей мере, уголковым на стороне, которая противоположна имеющему паз краю, чтобы обеспечивать возможность простого скольжения поверх него сеточной упаковке 4, так как задачей кольца 52 крышки трубы является предотвращение закрепления. В предпочтительном варианте осуществления кольцо 52 крышки трубы остается прочно соединенным со второй трубой 50 по неподвижной посадке, но при необходимости может также использоваться клей.
Нижнее кольцо 54 трубы, иллюстрируемое на фиг.5, также имеет торовидную форму и размещено коаксиально во второй трубе 50. Нижнее кольцо 54 трубы имеет внешний диаметр, равный внутреннему диаметру второй трубы 50, и установлено в ней по неподвижной посадке, так что нижнее кольцо 54 трубы остается прочно размещенным внутри второй трубы 50. Внутренний диаметр нижнего кольца 54 трубы, подобно кольцу 52 крышки трубы, только немного превышает внешний диаметр трубы 40 для сеточной упаковки, так что нижнее кольцо 54 трубы может просто скользить аксиально трубе 40 для сеточной упаковки, как показано на фиг.6. Нижнее кольцо 54 трубы размещено внутри второй трубы 50 на коротком расстоянии, равном приблизительно 1 дюйму (25,4 мм), от нижней части второй трубы, как показано на фиг.7. Поскольку нижнее кольцо 54 трубы размещено на коротком расстоянии от нижнего торца второй трубы 50, трубой 40 для сеточной упаковки, нижним кольцом 54 трубы и второй трубой 50 ограничено кольцевое пространство 56. Когда кольцо 52 крышки трубы и нижнее кольцо 54 трубы установлены по месту на второй трубе 50, как показано на фиг.6, кольцо 52 крышки трубы и нижнее кольцо 54 трубы просто скользят вдоль трубы 40 для сеточной упаковки, так что вторая труба 50 перемещается коаксиально трубе 40 для сеточной упаковки. В альтернативном варианте осуществления внутри второй трубы 50 могут быть размещены дополнительные нижние кольца 54 трубы. Однако для этого варианта осуществления настоящего изобретения необходимо только нижнее кольцо 54 трубы, которое ограничивает кольцевое пространство 56.
В другом варианте осуществления вторая труба 50 имеет внутренний диаметр, который только немного больше внешнего диаметра трубы 40 для сеточной упаковки. Однако вместо размещения нижнего кольца 54 трубы в отверстии второй трубы вырезан паз в нижнем торце второй трубы 50, образуя в соответствии с этим кольцевое пространство 56.
Для использования трубу 40 для сеточной упаковки размещают на подвижной платформе 22 и присоединяют посредством крепежных средств 44. Вторую трубу 50 с ее двумя кольцами 52, 54, установленными по месту, размещают поверх трубы 40 для сеточной упаковки. Подвижная платформа 22, благодаря ее возвратно-поступательному движению, побуждает трубу 40 для сеточной упаковки, окруженную второй трубой 50, перемещаться в возвратно-поступательном коаксиальном направлении через канал 18.
Подпружиненные пальцы 20 расположены так, чтобы они согласовывались с диаметрами второй трубы 50 и трубы 40 для сеточной упаковки. Во время движения второй трубы 50 и трубы 40 для сеточной упаковки вниз пальцы 20 отталкиваются в окружном направлении от двух труб 40 и 50, обеспечивая возможность сеточной упаковке 4 перемещаться в направлении вниз. Когда вторая труба 50 и труба 40 для сеточной упаковки движутся вверх, то подпружиненные пальцы 20 отскакивают назад, чтобы сцепляться с сеточной упаковкой и препятствовать ее перемещению.
В соответствии с этим при использовании сеточную упаковку 4 размещают в магазине 30 и свободный конец пропускают через направляющую 32 сетки и поверх второй трубы 50, по меньшей мере, до точки ниже пальцев 20, совершающих возвратно-поступательное движение. Когда подвижная платформа 22 движется вниз, она тянет с собой сеточную упаковку 4 вниз мимо подпружиненных пальцев 20. Когда платформа 22, совершающая возвратно-поступательное движение, достигает нижней части своего рабочего хода, цилиндр 24 реверсирует движение в направлении вниз на движение в направлении вверх, толкая трубу 40 для сеточной упаковки и вторую трубу 50 через канал 18. Теперь подпружиненные пальцы 20 сцепляются с сеточной упаковкой 4 на второй трубе 50 и предотвращают ее перемещение. Вторая труба 50, тем не менее, продолжает свой путь наверх, так как сеточная упаковка 4 может скользить поверх гладкой полимерной поверхности второй трубы, так что сеточная упаковка 4 движется вниз относительно второй трубы 50. Таким образом, когда подвижная платформа 22 реверсируется снова в своем возвратно-поступательном движении, сеточная упаковка 4 тянется вниз по направлению к нижней части второй трубы 50. Когда сеточная упаковка достигает нижней части второй трубы 50, подпружиненные пальцы 20 сталкивают ее со второй трубы 50 и сеточная упаковка 4 сокращается вокруг меньшего диаметра трубы 40 для сеточной упаковки. В соответствии с этим вторая труба 50 побуждается подпружиненными пальцами сместиться немного вверх относительно трубы 40 для сеточной упаковки, когда сеточная упаковка 4 сосборивается на нижней части трубы 40 для сеточной упаковки. При каждом ходе подвижной платформы 22 вверх больше сеточной упаковки 4 сталкивается подпружиненными пальцами 20 со второй трубы 50 на трубу 40 для сеточной упаковки. Подпружиненные пальцы 20 толкают сеточную упаковку 4 внутрь, заставляя ее заполнять кольцевое пространство 56. Вследствие наличия кольцевого пространства 56 сеточная упаковка 4 аккуратно сосборивается толщиной в несколько слоев. В соответствии с этим машина 2 будет сосборивать упаковку 4 в 4-5 раз больше на данном размере трубы 40 для сеточной упаковки, чем стандартный сосбориватель без этого кольцевого пространства.
Хотя показаны и описаны предпочтительные варианты осуществления настоящего изобретения, квалифицированным специалистам в этой области техники очевидно, что без отклонения от сущности и объема прилагаемой формулы изобретения могут быть сделаны модификации устройства.
Формула изобретения
1. Машина для сосборивания сеточной упаковки на трубе, содержащая станину, имеющую ось, средство для обеспечения возвратно-поступательного движения вдоль указанной оси, трубу для сеточной упаковки, имеющую внешний диаметр и ось и соединенную с возможностью съема с указанным средством для обеспечения возвратно-поступательного движения, вторую трубу, имеющую отверстие первого диаметра, который больше внешнего диаметра указанной трубы для сеточной упаковки, и совмещенную коаксиально с возможностью съема с указанной трубой для сеточной упаковки, паз на конце указанной второй трубы, образующий кольцевое пространство с указанной трубой для сеточной упаковки, подпружиненные пальцы, соединенные с указанной станиной и проходящие периферийно в указанную ось указанной станины, образующие канал, через который движутся указанная труба для сеточной упаковки и указанная вторая труба, когда указанная труба для сеточной упаковки соединена с платформой, а указанная вторая труба смонтирована на указанной трубе для сеточной упаковки.
2. Машина по п.1, дополнительно содержащая средство для предотвращения застопоривания сеточной упаковки на указанной второй трубе.
3. Машина по п.2, в которой указанное средство для предотвращения застопоривания содержит крышку трубы, соединенную с указанной второй трубой и имеющую коническую поверхность.
4. Машина по п.1, дополнительно содержащая средство для управления указанным средством для обеспечения возвратно-поступательного движения.
5. Машина по п.4, в которой указанное средство для обеспечения возвратно-поступательного движения содержит пневматический цилиндр и подвод воздуха.
6. Машина по п.5, дополнительно содержащая средство для управления указанным пневматическим цилиндром.
7. Машина для сосборивания сеточной упаковки на трубе, содержащая станину, имеющую ось, платформу, соединенную со средством для обеспечения возвратно-поступательного движения вдоль указанной оси, трубу для сеточной упаковки, имеющую внешний диаметр и ось и соединенную с возможностью съема с указанной платформой, вторую трубу, имеющую отверстие первого диаметра, который больше внешнего диаметра указанной трубы для сеточной упаковки, и совмещенную коаксиально с возможностью съема с указанной трубой для сеточной упаковки, подпружиненные пальцы, соединенные с указанной станиной и проходящие периферийно в указанную ось указанной станины, образующие канал, через который движутся указанная труба для сеточной упаковки и указанная вторая труба, когда указанная труба для сеточной упаковки соединена с указанной платформой, а указанная вторая труба смонтирована на указанной трубе для сеточной упаковки, и кольцо трубы, концентрически совмещенное с указанным отверстием указанной второй трубы и скользящее аксиально поверх указанной трубы для сеточной упаковки, благодаря чему указанное кольцо трубы, указанная вторая труба и указанная труба для сеточной упаковки образуют кольцевое пространство.
8. Машина по п.7, дополнительно содержащая средство для предотвращения застопоривания указанной сеточной упаковки на указанной второй трубе.
9. Машина по п.8, в которой указанное средство для предотвращения застопоривания содержит крышку трубы, соединенную с указанной второй трубой и имеющую коническую поверхность.
10. Машина по п.7, дополнительно содержащая средство для управления указанным средством для обеспечения возвратно-поступательного движения.
11. Машина по п.7, в которой указанное средство для обеспечения возвратно-поступательного движения содержит пневматический цилиндр и подвод воздуха.
12. Машина по п.11, дополнительно содержащая средство для управления указанным пневматическим цилиндром.
13. Способ сосборивания сеточной упаковки на трубе для сеточной упаковки, предусматривающий соединение трубы для сеточной упаковки с подвижной платформой и второй трубой коаксиально указанной трубе для сеточной упаковки, размещение кольца трубы внутри второй трубы и концентрично указанной второй трубе на расстоянии от нижнего конца второй трубы, причем кольцо трубы плотно установлено внутри второй трубы, и где указанное кольцо трубы, указанная вторая труба и указанная труба для сеточной упаковки образуют кольцевое пространство, размещение края сеточной упаковки на указанной второй трубе и перемещение указанной второй трубы возвратно-поступательно через подпружиненные пальцы таким образом, что сеточная упаковка сосборивается в указанное кольцевое пространство.
14. Способ по п.13, дополнительно предусматривающий сужение конца указанной второй трубы для предотвращения застопоривания указанной сеточной упаковки.
РИСУНКИ
|
|