|
|
(21), (22) Заявка: 2007123542/09, 15.11.2005
(24) Дата начала отсчета срока действия патента:
15.11.2005
(30) Конвенционный приоритет:
24.11.2004 US 04027881.4
(46) Опубликовано: 20.04.2009
(56) Список документов, цитированных в отчете о поиске:
US 2003043970 A1, 06.03.2003. RU 2177664 C2, 27.12.2001. RU 2197782 C2, 27.01.2003. WO 03061303 A1, 24.07.2003.
(85) Дата перевода заявки PCT на национальную фазу:
25.06.2007
(86) Заявка PCT:
US 2005/041103 20051115
(87) Публикация PCT:
WO 2006/057842 20060601
Адрес для переписки:
105215, Москва, Щелковское ш., 48, стр. 1, а/я 26, Н.А.Рыбиной
|
(72) Автор(ы):
МЕТРАЛ Гай (FR), ПЕРЬЕР Гаэтан (FR), БОНВАЛЛАТ Пьер (FR)
(73) Патентообладатель(и):
ЗМ ИННОВЕЙТИВ ПРОПЕРТИС КОМПАНИ (FR)
|
(54) ТЕЛЕКОММУНИКАЦИОННЫЙ МОДУЛЬ, КОМБИНАЦИЯ ТЕЛЕКОММУНИКАЦИОННОГО МОДУЛЯ И, ПО МЕНЬШЕЙ МЕРЕ, ОДНОГО РАЗДЕЛИТЕЛЯ СИГНАЛОВ И СБОРКА ИЗ, ПО МЕНЬШЕЙ МЕРЕ, ДВУХ ТЕЛЕКОММУНИКАЦИОННЫХ МОДУЛЕЙ
(57) Реферат:
Изобретение относится к области электрорадиотехники и может быть использовано для ассиметричной цифровой абонентской линии. Телекоммуникационный модуль (10) содержит контакты (12, 14, 16) для соединения с проводами, которые расположены, по существу, параллельными рядами в количестве, равном трем или кратном трем. По меньшей мере, один ряд контактов (12, 14, 16) предназначен для передачи специальных сигналов, таких как POTS-сигналов (аналоговых телефонных сигналов), сигналов телефонной линии или DSLAM-сигналов (цифровых сигналов), при этом каждый из рядов контактов предназначен для передачи сигнала иного, чем сигнал, передаваемый любым соседним рядом контактов. 2 н. и 7 з.п. ф-лы, 4 ил.
ОБЛАСТЬ ТЕХНИКИ
Заявленное изобретение относится к телекоммуникационному модулю, комбинации телекоммуникационного модуля и, по меньшей мере, одного разделителя сигналов линии передач, а также к сборке, состоящей, по меньшей мере, из двух телекоммуникационных модулей.
УРОВЕНЬ ТЕХНИКИ
В области телекоммуникаций многочисленные потребители соединяются с коммутатором телекоммуникационной компании посредством телекоммуникационных линий. Потребителей можно также называть абонентами. Под коммутатором подразумевается коммутатор АТС. Между абонентом и АТС участки телекоммуникационных линий соединены с телекоммуникационными модулями. С помощью телекоммуникационного модуля устанавливается электрическое соединение между проводом, который соединен с телекоммуникационным модулем с одной стороны, и другим проводом, который соединен с телекоммуникационным модулем с другой стороны. Многочисленные телекоммуникационные модули могут все вместе располагаться в распределительном пункте, таком как основной распределительный щит, промежуточный распределительный щит, внешний распределительный щит, или в распределительном пункте, расположенном, например, в офисном здании или на определенном этаже офисного здания. Для того чтобы обеспечить возможность гибкой коммутации, некоторые телекоммуникационные линии соединены с первыми телекоммуникационными модулями таким образом, чтобы было обеспечено постоянное соединение. Маневренность обеспечивается так называемыми перемычками, которые гибко соединяют контакты первого телекоммуникационного модуля с контактами второго телекоммуникационного модуля. Эти перемычки могут переставляться, когда человек движется внутри офисного здания, чтобы воспользоваться другим телефоном (т.е. другой телефонной линией) с сохранением прежнего номера телефона.
В последнее время широкое распространение в области телекоммуникаций получила технология ADSL (асимметричная цифровая абонентская линия). Эта технология позволяет, по меньшей мере, двум различным сигналам передаваться по одной линии. Это достигается посредством передачи различных сигналов на различных частотах по одной и той же линии. Сигналы объединяются в определенной точке телекоммуникационной линии и разделяются в другой точке. В частности, со стороны абонента голосовые и информационные сигналы, являющиеся разделенными, объединяются и передаются на центральную станцию посредством одной и той же линии. На центральной станции объединенный сигнал разделяется. Для того чтобы передать абоненту голосовой и информационный сигналы, разделенные голосовой и информационный сигналы объединяются на центральной станции, передаются абоненту и разделяются на стороне абонента. После разделения сигнала для передачи голосовых сигналов может использоваться так называемый POTS-сигнал (сигнал обычной аналоговой телефонной линии). Оставшаяся часть разделенного сигнала может быть использована, например, для передачи информации. Так называемые разделители сигналов (сплиттеры), которые используются для разделения сигнала или объединения сигналов, как правило, могут быть установлены в любом распределительном пункте. В данном контексте под POTS-проводом или POTS-перемычкой подразумевается провод, соединенный с коммутатором АТС. Кроме того, под линией соединения подразумевается провод, который ведет к абоненту или потребителю. Наконец, как описывается более детально ниже, под DSLAM-проводом подразумевается провод, который соединен с DSLAM (мультиплексор доступа к цифровой абонентской линии) и, таким образом, может, например, передавать информацию. DSLAM обрабатывает информационный сигнал.
В международной заявке WO 2002/076109 описан разделитель сигналов, встроенный в основной распределительный щит. Встроенная сборка содержит три группы контактов, первая группа соединена с телефонной линией, вторая – с POTS и третья – с DSLAM. Контакты сборки соединены с разделителями сигналов для того, чтобы разделить сигнал, передаваемый по телефонной линии, на POTS-сигнал (аналоговый телефонный сигнал) и DSLAM-сигнал (цифровой сигнал). Несмотря на то, что эта известная сборка обеспечивает большую маневренность благодаря дополнительной группе контактов, эта дополнительная группа контактов необходима не во всех случаях. Так что компактность известной сборки может быть улучшена без этой дополнительной группы контактов.
В заявке ЕР 04006530 описана сборка, состоящая из трех телекоммуникационных модулей, каждый из которых имеет два ряда контактов.
СУЩНОСТЬ ИЗОБРЕТЕНИЯ
Изобретение описывает телекоммуникационный модуль, характеризующийся простой компоновкой и очень компактным соединением телекоммуникационных линий, несущих сигналы телефонной линии, POTS-сигналы и DSLAM-сигналы и соединенных с контактами телекоммуникационных модулей. Кроме того, описывается комбинация такого телекоммуникационного модуля и, по меньшей мере, одним разделителем сигналов, а также сборка, состоящая, по меньшей мере, из двух телекоммуникационных модулей.
Телекоммуникационный модуль может быть “стандартным модулем”, как это известно в данной области техники, в той части, что модуль содержит корпус, обычно выполненный из изоляционного материала, в основном, из пластмассы. Телекоммуникационный модуль, в частности его корпус, может иметь участки, выполненные с возможностью подсоединения модуля к держателям, стойкам щита или подобным устройствам, известным в области телекоммуникаций. Этими участками телекоммуникационного модуля могут, например, быть крючки с защелками или защелкивающиеся кнопки. Более того, телекоммуникационный модуль может содержать крючки, каналы для проводов и любые другие структуры, известные в данной области техники, для того, чтобы проложить провода нужным образом. Корпус телекоммуникационного модуля может быть открытым и/или доступным с одной или более сторон для того, чтобы внешние объекты, такие как другие модули, разделители сигналов, устройства защиты от перенапряжения и перегрузок по току можно было соединить с контактами телекоммуникационного модуля. Кроме того, в телекоммуникационный модуль, описанный выше, можно встроить один или более разделителей сигналов.
В частности, телекоммуникационный модуль содержит контакты, которые размещены таким образом, чтобы их можно было соединять с проводами. Модуль, в котором контакты размещены на широкой и плоской передней стороне, можно рассматривать как ленточный модуль (strip-type-module). Такой модуль, например, под наименованием SID коммерчески доступен в Quante, 3М Telecommunications of Neuss, Германия.
Однако у модуля может быть и блочная (block-type) конфигурация. В любом случае, провода, такие как POTS-провода, провода телефонной линии и DSLAM-провода, описанные выше, могут быть соединены с контактами телекоммуникационного модуля. Контакты могут быть типа контактов с прорезанием изоляции (IDC), контактами для монтажа накруткой и любым другим типом контактов. Кроме того, несколько контактов можно сгруппировать вместе для того, чтобы образовать соединитель, к которому подсоединяется вспомогательный соединитель, имеющий такое же количество контактов, сгруппированных вместе.
В новом телекоммуникационном модуле контакты расположены по существу параллельными рядами в количестве, равном трем или кратном трем. Это представляет собой подход, который значительно отличается от ранее известных телекоммуникационных модулей, у которых обычно либо два параллельных ряда контактов, либо количество рядов контактов кратно двум. Такой традиционный подход, в котором сборка состоит из трех телекоммуникационных модулей, каждый из которых имеет два ряда контактов, описан в заявке ЕР 04006530. По сравнению с описанным в ней модулем заявленный телекоммуникационный модуль обладает преимуществами в части уровня сложности базовой структуры телекоммуникационного модуля, используемого для обеспечения таких соединений, которые, в частности, необходимы для технологии ADSL. Это является следствием того, что, как описано более детально ниже, три, шесть, девять и т.д. рядов контактов могут быть использованы для создания одного ряда POTS-соединений, одного ряда соединений телефонной линии и одного ряда DSLAM-соединений. Один ряд контактов обычно состоит их двух или более контактов, предназначенных для передачи одного и того же типа сигнала. Если телекоммуникационный модуль содержит шесть или более рядов контактов, описанный порядок рядов контактов будет повторяться один или более раз. В заявленном изобретении телекоммуникационный модуль будет, главным образом, описан на основе примера осуществления изобретения, которое содержит три ряда контактов. Однако таким же образом можно рассматривать возможность осуществления изобретения, когда модуль содержит шесть или более рядов контактов. Для простоты объяснения описание будет дано на примере осуществления изобретения для случая с тремя рядами контактов для того, чтобы избежать необходимости устанавливать различие между другими примерами осуществления изобретения при описании признаков и преимуществ нового телекоммуникационного модуля.
При выполнении телекоммуникационного модуля с тремя рядами контактов он может быть использован как основа для всех необходимых соединений. В частности, если распределительный пункт, как описан выше, предназначен для передачи данных по ADSL, необходимо обеспечить минимальное количество соединений. По существу, в заявленном телекоммуникационном модуле устанавливается один ряд каждого из упомянутых выше контактов (POTS-контакты, контакты телефонной линии АТС и DSLAM-контакты). В отличие от заявленного модуля в заявке ЕР 04006530 описано устройство с двумя рядами каждого из описанных контактов.
Кроме того, в заявленном телекоммуникационном модуле контакты могут устанавливаться очень компактно. Другими словами, много контактов может быть установлено в относительно маленьком пространстве. В частности, можно сослаться на заявку ЕР 04006530, в которой описаны особенности, относящиеся к плотности контактов. Эти особенности применимы к заявленному телекоммуникационному модулю и включены в настоящее описание посредством ссылки. Это также касается любых характерных аспектов монтажа проводов, базовой структуры телекоммуникационных модулей и специальных соединений, которые выполняются специальными контактами телекоммуникационного модуля. Эти детали включены в заявленное изобретение путем ссылки на упомянутую заявку для того, чтобы избежать повторения детального описания.
Таким образом, телекоммуникационный модуль обеспечивает эффективную базу для необходимых соединений в распределительном пункте, через который должна осуществляться передача данных по ADSL. Кроме того, заявленный телекоммуникационный модуль предпочтителен в том отношении, что в ситуации, когда нужно изменить расположение модулей в распределительном пункте, операции проводятся только с одним модулем, по сравнению со сборкой, состоящей из двух или более модулей, которые, вероятно, все приходится задействовать, когда возникает необходимость в настройке. Наконец, при монтаже распределительный пункт содержит меньшее число модулей, что ведет, следовательно, к сокращению издержек.
Кроме того, можно использовать отдельный тип модуля, выполненного с меньшим количеством различных частей и элементов, что также ведет к сокращению издержек.
Также возможно, чтобы телекоммуникационный модуль содержал кратное трем число рядов контактов. Такая модификация считается новым типом телекоммуникационного модуля, в частности, поскольку при этом применяются отдельные ряды для соединения с ними либо POTS-проводов, либо проводов телефонных линий, либо DSLAM-проводов. Например, в модуле, имеющем шесть рядов контактов, ряды могут располагаться следующим образом: POTS, телефонная линия, DSLAM, POTS, телефонная линия, DSLAM. В качестве альтернативы порядок рядов может быть следующим: POTS, телефонная линия, DSLAM, DSLAM, телефонная линия, POTS. Соответственно, можно наращивать описанные выше симметричные и ассиметричные схемы до большего количества рядов контактов, такого как девять, двенадцать и т.д. Такой тип модуля можно назвать телекоммуникационным блоком. Можно сказать, что телекоммуникационный модуль, имеющий ровно три ряда контактов, является новым только для этого количества рядов. Пример осуществления изобретения, который имеет шесть рядов контактов, может считаться новым в результате предназначения, по меньшей мере, одного ряда контактов для определенного вида связи (POTS, телефонная линия или DSLAM) и предназначения любого соседнего ряда для другого вида связи. Любые модули, имеющие ряды контактов в количестве девять или выше, в нечетном количестве и кратные трем, являются новыми из-за такого количества рядов контактов. Последние примеры осуществления изобретения следует рассматривать как объект, содержащийся в этой заявке.
В целом, ряды контактов заявленного телекоммуникационного модуля могут быть приспособлены для передачи любого вида связи или сигнала. Однако можно достичь особых преимуществ, особенно в отношении ADSL связи, когда контакты первого ряда приспособлены для передачи POTS-сигнала (аналогового телефонного сигнала), контакты второго – для передачи сигнала телефонной линии, и контакты третьего – для передачи DSLAM-сигнала (цифрового сигнала). В такой конфигурации телекоммуникационный модуль обеспечивает все необходимые соединения для предоставления ADSL связи определенному абоненту вследствие того, что создана эффективная база для такой связи. В частности, контакты могут быть распределены для передачи описанных сигналов результате того, что телекоммуникационный модуль соединен с одним или более разделителями сигналов, которые получают и выдают специальный сигнал на соответствующие контакты телекоммуникационного модуля.
Что касается порядка расположения рядов контактов, в настоящее время предпочтение отдается такому порядку, при котором ряды контактов располагаются следующим образом: POTS-контакты, контакты телефонной линии и DSLAM-контакты. Этот порядок позволяет осуществить желаемые соединения в четко выраженной и логической манере.
В телекоммуникационном модуле, по меньшей мере, два контакта, по меньшей мере, двух рядов могут соединяться друг с другом и разъединяться друг от друга в точке разъединения. В частности, контакты одного ряда POTS-контактов, с одной стороны, и одного ряда контактов телефонной линии, с другой стороны, могут быть оснащены такой точкой разъединения. Таким же образом может быть осуществлена так называемая жизненно важная (lifeline) связь, когда упомянутые контакты соединяются друг с другом (без разделения на DSLAM), и, следовательно, происходит только POTS связь.
Для обеспечения укладки провода и/или направления проводов к контактам телекоммуникационного модуля модуль может включать в себя направляющие приспособления для проводов. Они могут быть выполнены в форме крючков и/или открытых или закрытых направляющих каналов для проводов. В частности, направляющие приспособления для проводов могут быть выполнены в соответствии с заявкой ЕР 00101650 и/или заявкой WO 2003/061303.
Что касается особенностей выполнения телекоммуникационного модуля, контакты для соединения с проводами могут быть расположены на его передней стороне, и для соединения контактов есть доступ к телекоммуникационному модулю с его тыльной стороны. Следовательно, телекоммуникационный модуль может быть открытым и/или к нему можно иметь доступ с тыльной стороны, чтобы отсюда можно было подсоединить внешние устройства к контактам. На передней стороне модулей контакты приспособлены для соединения с проводами. В определенных ситуациях с этими проводами необходимо осуществлять определенные действия, например, требуется вынуть провода и соединить их с другими контактами. Кроме того, возможно, с передней стороны нужно будет монтировать тестовое оборудование или защитные устройства, такие как защитные устройства от перенапряжения или перегрузки по току. Описанная структура, в которой есть доступ к тыльной стороне для того, чтобы оттуда монтировать другие компоненты, такие как разделители сигналов, облегчает осуществление этих действий. Следовательно, чтобы надежность сборки в целом, т.е. как самого разделителя сигналов, так и телекоммуникационных линий, повышалась, компоненты разделителя сигналов не располагаются на передней стороне. Модуль, более того, может быть открытым, т.е. доступным с передней стороны, чтобы можно было включать другие устройства, такие как модули защиты и/или тестовое оборудование. Следовательно, эти модули можно встраивать в модуль с одним или более разделителями сигналов, которые будут защищены от воздействия, поскольку они встраиваются со стороны, отличной от передней стороны.
В последнем описанном примере осуществления изобретения телекоммуникационный модуль особенно пригоден для соединения, по меньшей мере, с одним разделителем сигналов. Как это известно в данной области техники, разделители сигналов содержат такие фильтры, как фильтры низких и верхних частот, для того, чтобы разделять объединенный сигнал, как это было описано выше. Следовательно, несмотря на то, что была сделана ссылка на “разделение” сигнала, основные требования фактически остаются теми же в той части телекоммуникационной системы, где POTS-сигналы и DSLAM-сигналы объединяются друг с другом для передачи по телефонной линии. Следовательно, ссылку на “разделитель сигналов” можно понимать в определенных обстоятельствах как ссылку на то, что могло бы называться “объединителем” сигнала. Разделители сигналов, описанные выше, содержат электрическую цепь, которая разделяет или объединяет сигнал. Этот сигнал передается посредством контактов разделителя сигналов, которые соединены с контактами сборки. Контакты сборки, которые получают, например, DSLAM-сигнал из разделителя сигналов, следовательно, служат для передачи DSLAM-сигнала. Соответственно, пара проводов, ведущих к DSLAM, будет соединяться с соответствующими контактами сборки. Аналогичные принципы применимы к тем контактам, которые описаны как контакты, предназначенные для передачи сигнала телефонной линии и POTS-сигнала. В частности, описанная комбинация телекоммуникационного модуля и, по меньшей мере, одного разделителя сигналов может быть выстроена последовательно посредством добавления по мере необходимости разделителей сигналов. Разделители сигналов могут встраиваться в сборку, которая содержит множество разделителей сигналов, возможно, все разделители сигналов, необходимые для модуля, описанного выше. Однако разделители сигналов могут использоваться отдельно друг от друга так, что один определенный разделитель сигналов имеет три пары контактов, в целом шесть контактов, каждый из которых соединяется с подходящим контактом модуля. Следовательно, такой разделитель сигналов, который может быть использован в соответствующем встроенном, отдельном устройстве, например разделительном блоке, может быть назван разделителем сигналов отдельной линии. При соблюдении этих условий, в случае возникновения проблем или в том случае, когда абонент, который ранее имел только POTS связь, хочет использовать ADSL связь, только тот разделитель сигналов, который соединен с линиями этого абонента, может быть удален из сборки или добавлен туда. Например, в заявленном модуле могут использоваться разделители сигналов, описанные в заявке ЕР 04006530, упомянутой выше.
Как правило, заявленный телекоммуникационный модуль может быть использован отдельно, т.е. распределительный пункт может быть укомплектован этими телекоммуникационными модулями постепенно, чтобы можно было подготовиться к обеспечению ADSL связи по мере роста числа абонентов. Однако сборка, содержащая, по меньшей мере, два таких телекоммуникационных модуля, в распределительном пункте обеспечивает больше соединений на первом этапе и позволяет иметь такой же порядок в рядах контактов, как и в известных для монтажников сборках, имеющих три модуля.
В такой сборке, по меньшей мере, два телекоммуникационных модуля могут быть расположены симметрично относительно воображаемой плоскости между телекоммуникационными модулями. В этом случае, ряды контактов могут располагаться, например, следующим образом: POTS, телефонная линия, DSLAM, DSLAM, телефонная линия, POTS. Это соответствует порядку, который уже принят в подобных сборках так, что такая конфигурация может сочетаться с уже известными сборками, не нарушая установленного порядка соединений.
Однако в особых случаях, в сборке, состоящей, по меньшей мере, из двух телекоммуникационных модулей, ориентация, по меньшей мере, двух таких модулей может быть идентична. Другими словами, это создает последовательность соединений, таких как POTS, телефонная линия, DSLAM, POTS, телефонная линия, DSLAM и т.д. В этом случае, по меньшей мере, два телекоммуникационных модуля монтируются с идентичной ориентацией таким образом, чтобы соединения и монтаж проводов могли бы повторяться в двух или более телекоммуникационных модулях. Любые разделители сигналов, которые соединяются с телекоммуникационными модулями описанных выше сборок, надлежащим образом встраиваются в телекоммуникационные модули. Следовательно, в описанном выше первом примере осуществления изобретения разделители сигналов будут расположены симметрично. В описанном выше втором примере осуществления изобретения у разделителей сигналов будут идентичная ориентация, соответствующая “многоярусному размещению” телекоммуникационных модулей.
КРАТКОЕ ОПИСАНИЕ ЧЕРТЕЖЕЙ
В дальнейшем в этом документе примеры не ограничивают изобретение, которое будет описано со ссылкой на чертежи:
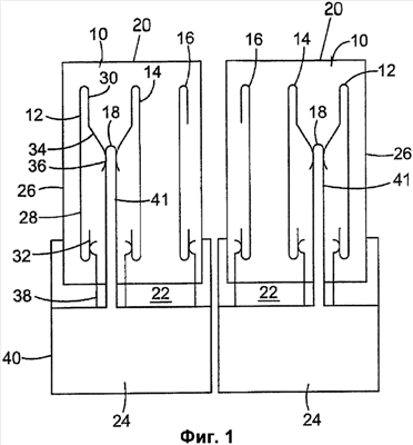
на фиг.1 показано схематично сечение вида сбоку сборки, описанной в первом примере осуществления изобретения;
на фиг.2 показано схематично сечение вида сбоку сборки, описанной во втором примере осуществления изобретения;
на фиг.3 показано схематично сечение вида сбоку сборки, показанной на фиг.1 без разделителей сигналов;
на фиг.4 показано схематично сечение вида сбоку сборки, показанной на фиг.2 без разделителей сигналов.
ОПИСАНИЕ ПРЕДПОЧТИТЕЛЬНОГО ОСУЩЕСТВЛЕНИЯ ЗОБРЕТЕНИЯ
На фиг.1 схематично показано сечение вида сбоку сборки, состоящей из двух телекоммуникационных модулей 10. Каждый модуль 10 выполнен вытянутым в направлении, перпендикулярном плоскости фиг.1. В сечении виден только единственный контакт 12, 14, 16 каждого телекоммуникационного модуля 10, при этом каждый из этих контактов представляет собой, с учетом протяженности перпендикулярно плоскости чертежа, ряд контактов. Другими словами, другие контакты 12, 14, 16 расположены “впереди” и “позади” контактов, показанных на фиг.1.
На фиг.1 корпус телекоммуникационного модуля, обычно выполненный из пластмассы, обозначен цифрой 26. Ряды контактов 12, 14, 16 установлены в этом корпусе. На передней стороне 20 располагаются контакты 12, 14, 16, в частности, их наружные концы. Это позволяет подсоединять к ним провода. В показанном примере осуществления изобретения контактами 12 являются контакты, которые предназначены для передачи POTS-сигналов. Следовательно, их можно называть POTS-контактами 12. Контакты 14 предназначены для передачи сигнала телефонной линии, поэтому их можно считать контактами линии 14. Наконец, контакты 16 предназначены для передачи DSLAM-сигнала. Это упорядочение типов линий с контактами упоминается просто в качестве примера, и они могут быть указаны в любом желаемом порядке и с любым желаемым типом сигнала. Следовательно, их можно называть DSLAM-контактами 16. В целом, три ряда контактов 12, 14, 16 расположены в трех по существу параллельных рядах в телекоммуникационном модуле 10. Более того, на чертеже можно видеть, что POTS-контакты 12 и контакты телефонной линии 14 могут соединяться и разъединяться в точке размыкания 18. В показанном примере все контакты 12, 14, 16 содержат, во-первых, основную часть 28, которая, как правило, вытянута в показанном примере осуществления изобретения в направлении от передней стороны 20 к тыльной стороне 22. Рядом с передней стороной 20 образована изогнутая назад часть 30. Следует отметить, что показанный на чертеже контакт обычно имеет протяженность в несколько миллиметров в направлении, перпендикулярном плоскости чертежа. Следовательно, прорезь или щель (которая не видна на фиг.1) может быть образована в любом месте вдоль этого направления, перпендикулярного плоскости чертежа. Эта прорезь проходит вглубь от передней стороны 20 по направлению к тыльной стороне 22 так, чтобы можно было вставить провода (которые обычно прокладывают горизонтально, как показано на фиг.1) сквозь описанную прорезь.
Приведенное выше описание имеет отношение к соединителю с контактами, прорезающими изоляцию. Однако следует отметить, что некоторые или все контакты также могут быть выполнены в виде контактов с соединением накруткой, когда соединяемый провод накручивается на контакт. Итак, общая структура контактов была описана выше в отношении POTS-контакта 12 левого телекоммуникационного модуля 10. Однако структура контактов телефонной линии 14, в основном, такая же. Согласно чертежу контакт телефонной линии 14 расположен симметрично по отношению к воображаемой плоскости, которая по существу является параллельной относительно основной части 28, в которой расположена точка размыкания 18. Однако структура контактов телефонной линии 14 и DSLAM-контактов 16 также может отличаться от POTS-контактов 12. Вместе с тем, по отношению к основной части 28 и изогнутой назад части 30 на передней стороне, также как и ко второй изогнутой назад части 32 на тыльной стороне, структура DSLAM-контактов в показанном примере осуществления изобретения, в целом, такая же, как и POTS-контактов 12.
Однако в POTS-контактах 12 и в контактах телефонной линии 14 создан наклонный контактный язычок 34, который продолжается от изогнутой назад части 30 на передней стороне. В показанном примере осуществления изобретения контактный язычок 34 образует точечный контакт 36 таким образом, что вершины контактов 12 и 14 могут сойтись в точке размыкания 18. В частности, они упруго сойдутся в этой точке размыкания так, что может произойти соединение, подобное тому, что показано на фиг.3 и фиг.4. В качестве альтернативы, любое пригодное устройство, такое как вилка, в частности, показанная на чертеже в качестве выступающей части 41, может быть вставлено либо с передней стороны 20 или, как показано, с тыльной стороны 22 для того, чтобы отделить контактные язычки 34 друг от друга. В показанном примере осуществления изобретения выступающая часть 41 выполнена как часть разделителя сигналов 24, в частности как часть его корпуса, который может быть сделан, например, из пластмассы. Однако выступающая часть 41 или подходящая вилка также могут использоваться отдельно от разделителя сигналов 24 и встраиваться с передней стороны 20.
В показанном примере осуществления изобретения телекоммуникационные модули 10 открыты и доступны с тыльной стороны. В частности, разделитель сигналов 24 можно встроить с тыльной стороны 22. Как описывалось выше, корпус разделителя сигналов 24 может быть выполнен таким образом, чтобы частично включить в себя корпус 26 телекоммуникационного модуля 10. Разделитель сигналов содержит фильтры или другие электронные компоненты, необходимые для того, чтобы разделить или объединить сигнал, полученный от или посланный на контакт телефонной линии 14, POTS-контакт или DSLAM-контакт. Для этого разделитель сигналов содержит контакты 38, выступающие из корпуса 40 и входящие в телекоммуникационный модуль 10, в частности, контактирующие с изогнутой назад частью 32 на тыльной стороне контактов для того, чтобы обеспечить соединение с контактами 12, 14, 16 телекоммуникационного модуля 10. В показанном примере осуществления изобретения контакты разделителя сигналов 38 имеют выступ, который соприкасается с изогнутой назад частью 32 соответствующего контакта телекоммуникационного модуля.
Что касается сборки, состоящей из двух телекоммуникационных модулей 10, которая показана на фиг.1, то фиг.1 иллюстрирует пример осуществления изобретения, в котором телекоммуникационные модули 10 расположены симметрично относительно плоскости, расположенной между телекоммуникационными модулями, т.е. вертикальной плоскости на фиг.1. Как показано на фиг.1, телекоммуникационные модули 10 являются идентичными в отношении их структуры в целом. Однако они расположены с различной ориентацией так, что POTS-контакты 12 расположены на левой стороне в левом телекоммуникационном модуле 10 и на правой стороне в правом телекоммуникационном модуле 10. Направление правого телекоммуникационного модуля 10 по сравнению с направлением левого телекоммуникационного модуля 10 может быть описано как “развернутое” на 180 градусов вокруг вертикальной оси. Следовательно, порядок рядов для этой сборки, состоящей из двух телекоммуникационных модулей, следующий: POTS, телефонная линия, DSLAM, DSLAM, телефонная линия, POTS. Такой порядок представляет для монтажников удобное расположение контактов. В соответствии с ориентацией телекоммуникационных модулей цепи фильтров 24 также расположены симметрично. Разделитель сигналов 24, по существу, может быть одинаковым для обоих телекоммуникационных модулей 10.
Для сравнения, фиг.2 показывает сборку, состоящую из двух телекоммуникационных модулей 10, которые также являются идентичными в отношении их структуры в целом и которые, следовательно, идентичны телекоммуникационному модулю 10, показанному на фиг.1. Однако в сборке на фиг.2 они расположены с идентичной ориентацией, т.е. POTS-контакты 12 расположены на левой стороне в обоих телекоммуникационных модулях 10. Такие же принципы применимы к другим контактам телекоммуникационных модулей, также как и к разделителям сигналов 24. Другими словами, и разделители сигналов могут быть идентичны друг другу и идентичны тем, которые показаны на фиг.1. Однако на фиг.2 они также встраиваются в телекоммуникационные модули с идентичной ориентацией. Таким образом, сборка, показанная на фиг.2, представляет следующий порядок контактов: POTS, телефонная линия, DSLAM, POTS, телефонная линия, DSLAM. Это может быть выгодным в некоторых случаях. В частности, любому человеку, намеревающемуся соединить провода с контактами телекоммуникационных модулей, не нужно обращать внимание на ориентацию конкретного модуля. Скорее, ориентация будет одной и той же для двух модулей, как показано на фиг.2, или даже для большего количества модулей, которые, в основном, расположены в распределительном пункте. Более того, одинаковая ориентация облегчит операцию и в отношении встраивания разделителей сигналов в телекоммуникационные модули.
Следует, наконец, отметить, что, несмотря на то, что это не показано на чертежах, телекоммуникационные модули 10 включают соответствующие части, такие как крючки с защелками, которые обеспечивают присоединение модулей к подходящим держателям, стойкам щита или похожими устройствам, известным в области телекоммуникаций. В частности, модули могут быть расположены в распределительном пункте в направлении, которое отличается от направления, показанного на фигурах, поворотом на 90 градусов вокруг горизонтальной оси.
Фиг.3 показывает сборку телекоммуникационных модулей 10, как показано на фиг.1, без установленных в них разделителей сигналов 24. В этой ситуации контактные язычки 34 контактов 12 и 14 соприкасаются в точечном контакте 36 так, что соединение происходит в этой точке. Поскольку контакты 12 предназначены для передачи POTS-сигнала и контакты 14 предназначены для передачи сигнала телефонной линии, может быть обеспечена так называемая жизненно важная связь, т.е. без передачи DSLAM-сигнала. В такой ситуации контакты 16 могут, например, использоваться как заземляющее устройство или соединение на корпус так же, как и в целях контроля или индикации.
То же применимо к сборке, показанной на фиг.4, в которой телекоммуникационные модули 10 имеют одинаковую ориентацию, в то время как они симметричны друг другу относительно вертикальной плоскости в примере осуществления изобретения, показанном на фиг.3.
Формула изобретения
1. Телекоммуникационный модуль, включающий контакты для соединения с проводами, передающими аналоговый телефонный сигнал, сигнал телефонной линии и цифровой сигнал, контакты расположены тремя или кратными трем параллельными рядами, при этом каждый из рядов контактов предназначен для передачи сигнала, иного, чем сигнал, передаваемый любым соседним рядом контактов.
2. Телекоммуникационный модуль по п.1, отличающийся тем, что контакты, по меньшей мере, одного первого ряда предназначены для передачи аналогового телефонного сигнала, контакты, по меньшей мере, одного второго ряда предназначены для передачи сигнала телефонной линии и контакты, по меньшей мере, одного третьего ряда предназначены для передачи цифрового сигнала.
3. Телекоммуникационный модуль по п.2, отличающийся тем, что ряды контактов расположены в следующем порядке: первый ряд, второй ряд и третий ряд.
4. Телекоммуникационный модуль по п.1, отличающийся тем, что, по меньшей мере, два контакта, по меньшей мере, двух рядов установлены с возможностью соединения друг с другом и разъединения друг от друга в точке разъединения.
5. Телекоммуникационный модуль по п.1, отличающийся тем, что контакты открыты на его передней стороне и доступны для подключения к ним с тыльной стороны телекоммуникационного модуля.
6. Телекоммуникационный модуль по п.1, отличающийся тем, что он снабжен, по меньшей мере, одним разделителем сигналов.
7. Сборка, включающая, по меньшей мере, два телекоммуникационных модуля по п.6.
8. Сборка по п.7, отличающаяся тем, что, по меньшей мере, два телекоммуникационных модуля расположены симметрично относительно воображаемой плоскости, проведенной между телекоммуникационными модулями.
9. Сборка по п.7, отличающаяся тем, что, по меньшей мере, два телекоммуникационных модуля ориентированы идентично.
РИСУНКИ
|
|