|
|
(21), (22) Заявка: 2005129102/09, 18.02.2004
(24) Дата начала отсчета срока действия патента:
18.02.2004
(30) Конвенционный приоритет:
19.02.2003 US 60/448,667 17.02.2004 US 10/780,539
(43) Дата публикации заявки: 20.03.2006
(46) Опубликовано: 20.04.2009
(56) Список документов, цитированных в отчете о поиске:
RU 99125323 А, 27.10.2001. US 2003/0039218 A1, 27.02.2003. RU 2216868 C2, 20.11.2003. WO 02/33876 A1, 25.04.2002. US 6421803 B1, 16.07.2002. EP 1156617 A1, 21.11.2001.
(85) Дата перевода заявки PCT на национальную фазу:
19.09.2005
(86) Заявка PCT:
US 2004/004831 20040218
(87) Публикация PCT:
WO 2004/075023 20040902
Адрес для переписки:
129090, Москва, ул. Б.Спасская, 25, стр.3, ООО “Юридическая фирма Городисский и Партнеры”, пат.пов. Ю.Д.Кузнецову, рег. 595
|
(72) Автор(ы):
ЛАРОЯ Раджив (US), РИЧАРДСОН Том (US), ЛИ Цзюньи (US)
(73) Патентообладатель(и):
КВЭЛКОММ ИНКОРПОРЕЙТЕД (US)
|
(54) ЭФФЕКТИВНЫЕ СПОСОБЫ И УСТРОЙСТВА АВТОМАТИЧЕСКОГО ЗАПРОСА ПОВТОРЕНИЯ
(57) Реферат:
Изобретение относится к области техники связи и, более конкретно, к способам автоматических запросов повторения в системе беспроводной связи множественного доступа. Сущность изобретения состоит в том, что используют различные сигналы ОПДТ (отрицательного подтверждения) для указания различных относительных уровней успеха в отношении неудачной попытки декодирования полученного сигнала. Сигнал ПДТ (подтверждения) используют в случае успешного декодирования. Устройство, которое сгенерировало и передало исходный кодированный сигнал, получает сигнал ОПДТ и выбирает часть избыточной информации, например дополнительные биты исправления ошибок, подлежащие передаче на основании значения сигнала ОПДТ. Если сигнал ОПДТ указывает низкий уровень успеха декодирования, указывающий относительно большое количество ошибок в декодированном сигнале, выбирают и передают большой набор избыточной информации. Если сигнал ОПДТ указывает относительно успешное декодирование, например относительно немного ошибок, выбирают и передают малый набор избыточной информации. Если передан малый набор избыточной информации, новая информация может быть передана с избыточной информацией. Технический результат – увеличение эффективности использования ограниченных размеров полосы пропускания, доступной для передачи данных. 4.н. и 34 з.п ф-лы, 15 ил.
Область техники, к которой относится изобретение
Настоящее изобретение направлено на обеспечение улучшенных способов связи в системе беспроводной связи и, более конкретно, на обеспечение улучшенных способов автоматических запросов повторения в системе беспроводной связи множественного доступа.
Уровень техники
Сотовые системы связи становятся все более обычными. В сотовых системах связи область связи разделена на множество ячеек. Каждая ячейка обычно включает в себя, по меньшей мере, одну базовую станцию. Базовая станция в каждой ячейке осуществляет связь с множеством устройств, например подвижных терминалов, расположенных в пределах той же ячейки, что и базовая станция. Базовая станция обычно служит точкой приложения подвижного терминала к системе связи, которая включает в себя базовую станцию. Поскольку доступ к системе связи подвижный, терминал получает через базовую станцию, с которой он связан, например, линией беспроводной связи, базовые станции иногда известны как узлы доступа.
В сотовых беспроводных системах передачи данных данные часто транспортируют между базовой станцией и подвижным терминалом посредством кванта ресурса, называемого сегментом трафика. В таких системах доступный ресурс для передачи данных в ячейке, например канал трафика, часто делится в многочисленные сегменты трафика. Информация управления может быть передана через другие каналы, например каналы подтверждения. Трафик по нисходящей линии связи сегментирует транспортный трафик данных от базовой станции к одному или нескольким беспроводным терминалам, тогда как трафик по восходящей линии связи сегментирует транспортный трафик данных от одного или более беспроводных терминалов к базовой станции.
Каналы подтверждения включают в себя сегменты подтверждения, которые могут использоваться для указания, действительно ли была успешно получена информация в одном или нескольких соответствующих сегментах трафика. Восходящий канал подтверждения может использоваться мобильным устройством для передачи сигнала, что информация, переданная базовой станцией, была успешно получена, например было возможным декодировать ее подвижным терминалом. Это может быть достигнуто посредством посылки Подтверждения (Ack) в сегменте восходящего канала подтверждения. Сбой успешного получения информации может быть сообщен посредством посылки отрицательного подтверждения (ОПДТ) вместо ПДТ. ПДТ и ОПДТ могут быть представлены с использованием единственного бита, например 1, для представления ПДТ, и 0, для представления ОПДТ. Нисходящий канал подтверждения может быть использован базовой станцией для передачи сигнала о том, действительно ли информация, переданная мобильным телефоном в восходящем канале трафика, была успешно получена, например было ли возможным ее декодировать базовой станцией тем же самым способом, что и восходящий канал подтверждения используется подвижными терминалами. Передатчик, например базовая станция или подвижный терминал, после получения ОПДТ может выбрать повторную передачу тех же данных.
Повторная передача предварительно переданной информации представляет собой передачу избыточной информации. В то время как повторная передача может привести к повышению успешности передачи, она может быть относительно дорогостоящим процессом, так как ресурсы передачи расходуются на необходимость передачи тех же самых данных множество раз. Избирательный процесс повторной передачи может также привести к задержкам в достижении успешного результата передачи.
Механизм, посредством которого определяют, действительно ли избыточная информация, например предварительно переданная информация, должна быть передана, иногда называют механизмом автоматического запроса повторения (АЗП).
Чтобы увеличить устойчивость к ошибкам и уменьшать потребность в повторной передаче данных, может быть использовано кодирование с исправлением ошибок. Коды исправления ошибок (КИО) приводят к добавлению избыточной информации, например одного или нескольких КИО, добавляемых избирательным образом к передаваемой информации. При использовании избыточной информации может быть возможным восстановить переданную информацию, даже когда в ходе процесса передачи имеют место некоторые ошибки.
Чтобы обеспечивать эффективное использование полосы пропускания связи, вообще говоря, желательно минимизировать количество избыточной информации, например кодов исправления ошибок, передаваемой наряду с информацией, которая подлежит передаче. В результате, даже когда используют методику исправления ошибок, в результате ошибок передачи, может по-прежнему остаться потребность в механизме АЗП.
Ввиду вышеизложенного очевидным является, что существует потребность в улучшенных механизмах АЗП и способах передачи избыточной информации для увеличения эффективного использования ограниченных размеров полосы пропускания, доступной для передачи данных.
Раскрытие изобретения
Способы и устройства по настоящему изобретению направлены на обеспечение методик, которые могут быть использованы в комбинации с кодами исправления ошибок, для минимизации количества избыточной информации, которая должна быть повторно передана, например, в случае ошибок связи. Изобретение также направлено на обеспечение новых механизмов автоматического запроса повторения (АЗП) и способов осуществления таких механизмов. Улучшенные механизмы АЗП, которые могут использоваться с Кодами с Низкой Плотностью Проверок Четности (LDPC, КНППЧ), которые отличаются от других известных кодов исправления ошибок и обеспечивают различные преимущества по сравнению с такими кодами, в том числе кодами Рида-Соломона, описаны и используются в различных вариантах осуществления.
Способы и устройства изобретения используют сигналы ОПДТ (отрицательное подтверждение), которые передают для указания сбоя передачи, например, неисправимых ошибок в декодированном сигнале и/или неудовлетворительном уровне надежности относительно декодированной информации. Неудовлетворительный уровень надежности может быть определен по одной или нескольким статистикам надежности, поддерживаемых декодером, например, отсчету неисправимых ошибок и/или мягких информационных значений.
В случаях, когда декодирование выполнено успешно, на устройство, от которого был получен успешно декодированный сигнал, передают сигнал ПДТ (подтверждения).
В соответствии с настоящим изобретением, сигналы ОПДТ могут принимать любое множество значений, например значения в наборе заранее выбранных значений или значения в диапазоне непрерывных значений. Значение сигнала ОПДТ используют для передачи информации, полезной при определении количества избыточной информации, которая должна быть передана для облегчения декодирования первоначально переданного информационного сигнала. Значение сигнала ОПДТ может быть определено, в соответствии с настоящим изобретением, на основе статистики ошибок декодера, например отсчета обнаруженных ошибок в декодированном сигнале или другой информации, такой как мягкие информационные значения, указывающие на надежность декодированных значений, выработанных из переданного сигнала, как части процесса декодирования. Такая статистика обеспечивает меру успеха декодирования, например меньшее число неисправимых ошибок указывает на больший успех декодирования, чем большее число неисправимых ошибок. Поскольку частоты ошибок декодирования являются функцией качества полученного кодированного сигнала, значения сигнала ОПДТ, выработанные в соответствии с изобретением, отражают качество полученного кодированного сигнала.
Как часть процесса кодирования, используемого в различных вариантах осуществления настоящего изобретения, кодированный информационный сигнал вырабатывают наряду с набором избыточной информации, например дополнительных битов исправления ошибок, которые нет необходимости передавать с оригинальным кодированным информационным сигналом. В некоторых случаях исходный кодированный информационный сигнал включает в себя некоторые биты исправления ошибок, но это число обычно намного меньше, например меньше чем половина, числа битов исправления ошибок, включенных в набор избыточной информации, которую не передают с кодированным информационным сигналом. Избыточную информацию сохраняют на период времени после передачи кодированного информационного сигнала, например в случае получения ОПДТ. В случае получения ПДТ избыточные информационные биты могут быть сброшены, и обычно так и поступают, без их передачи.
Устройство, которое передало исходный кодированный информационный сигнал, определяет из значения полученного сигнала ОПДТ количество избыточной информации, которая должна быть передана для облегчения декодирования исходного информационного сигнала. Для различных значений сигнала ОПДТ обычно будут выбраны различные количества избыточной информации. Это обеспечивает эффективный механизм повторения, при котором избегают необходимости посылать фиксированное количество избыточной информации независимо от качества полученного сигнала, который не мог быть декодирован. Изменяя количество избыточной информации для отражения относительного уровня успеха декодирования, эффективности передачи могут быть достигнуты без необходимости, в большинстве случаев, повторно передавать весь исходный сигнал.
В некоторых случаях, например, в которых поддерживают непрерывный диапазон значений сигнала ОПДТ, степень структурирования переданных сигналов ОПДТ может быть более тонкой, чем степень структурирования, с которой различные количества избыточной информации выбирают для передачи. Соответственно, в таких случаях множественные значения сигнала ОПДТ могут соответствовать части избыточной информации того же размера, но, по меньшей мере, некоторые значения сигнала ОПДТ будут соответствовать частям избыточной информации различных размеров.
Выбранную часть избыточной информации передают после получения сигнала ОПДТ. Устройство, получающее избыточную информацию, использует ее в совокупности с информацией, полученной из исходного полученного сигнала, при попытке успешно декодировать предварительно полученный сигнал.
Успешное декодирование предварительно полученного сигнала посредством использования избыточной информации приводит к ПДТ, передаваемому в ответ на получение избыточной информации. Однако, если устройство, получающее избыточную информацию, тем не менее неспособно успешно декодировать полученную информацию, в ответ на получение избыточной информации передают ОПДТ. Значение ОПДТ выбирают так, чтобы указать текущий уровень успеха декодирования. Таким образом, ОПДТ, переданное в ответ на получение избыточной информации, обычно будет отличным значением от ОПДТ, переданного в ответ на исходный полученный сигнал из-за большего уровня успеха декодирования, достигаемого посредством использования избыточной информации.
В различных вариантах осуществления информационные сигналы передают, используя сегменты канала трафика. Каждый сегмент канала трафика имеет фиксированную емкость данных. В случаях, когда избыточная информация, переданная в ответ на ОПДТ, не требует полной емкости сегмента канала, используемой для передачи избыточной информации, дополнительная информация, предназначенная для устройства, на которое направляют избыточную информацию, может быть включена в сигнал, используемый для передачи избыточной информации.
В некоторых вариантах осуществления информацию выделения, которая указывает выделение сегмента канала трафика для использования конкретным устройством, широковещательно передают в сообщении выделения. Сообщения выделения, в соответствии с изобретением, могут включать в себя информацию, указывающую, будет ли использован соответствующий сегмент трафика для передачи новой информации или избыточной информации. В случае, когда будет передана избыточная информация, сообщение выделения может также включать в себя информацию, достаточную для идентификации предварительно переданного сигнала, которому будет соответствовать подлежащая передаче избыточная информация. Эта информация может быть, например, информацией, идентифицирующей предыдущий сегмент канала трафика, в котором имеется исходная кодированная информация, которой соответствует избыточная информация.
Многоуровневое ОПДТ и способы повторной передачи по настоящему изобретению хорошо подходят для широкого диапазона способов передачи и кодирования с Низкой Плотностью Проверок Четности (LDPC, КНППЧ), особенно хорошо подходят для использования в соответствии с изобретением, так как такие способы кодирования позволяют выполнять генерирование избыточной информации во время кодирования, которая может быть использована для увеличения возможности успешного декодирования и/или надежности декодированной информации, но которую при отсутствии ошибок передачи не нужно использовать для достижения успешного декодирования. Способы декодирования LDPC также имеют преимущество, состоящее в обеспечении полезной статистики декодирования, которая может быть использована, и используется, в различных вариантах осуществления, для измерения уровня успеха декодирования.
Хотя сообщения выделения и методики кодирования LDPC и используются в различных вариантах осуществления изобретения, очевидным является, что способы многоуровневых ОПДТ по настоящему изобретению и выбор различных количеств избыточной информации для передачи в ответ на сигнал ОПДТ хорошо подходят для широкого диапазона приложений, которые не используют сообщения выделения или коды LDPC.
Многочисленные дополнительные признаки, преимущества и варианты осуществления настоящего изобретения раскрыты в следующем далее подробном описании.
Перечень фигур чертежей
Фиг.1 – приводимая в качестве примера система связи, осуществленная в соответствии со способами по настоящему изобретению.
Фиг.2 – приводимая в качестве примера базовая станция, осуществленная в соответствии с настоящим изобретением.
Фиг.3 – приводимый в качестве примера беспроводной терминал, осуществленный в соответствии с настоящим изобретением.
Фиг.4 – диаграммы, иллюстрирующие приводимый в качестве примера нисходящий и приводимый в качестве примера восходящий каналы и используемые для иллюстрации приводимого в качестве примера способа распределения сегментов канала трафика, в соответствии с настоящим изобретением.
Фиг.5 – пример использования инкрементных избыточных кодов, например инкрементных избыточных кодов LDPC, в соответствии с настоящим изобретением.
Фиг.6 – диаграмма, иллюстрирующая временные окна и индекс сегмента во временном окне, в соответствии с настоящим изобретением.
Фиг.7 – приводимая в качестве примера структура сообщения выделения и пример использования инкрементных избыточных кодов, например инкрементных избыточных кодов LDPC, в соответствии с настоящим изобретением.
Фиг.8 и 12 – примеры использования инкрементных избыточных кодов и использования многоуровневого сигнала ОПДТ, в соответствии с настоящим изобретением.
Фиг.9 – приводимое в качестве примера представление фазы кодового слова сигнала подтверждения приема, включающего в себя ПДТ и приводимые в качестве примера 3 уровня ОПДТ, в соответствии с настоящим изобретением.
Фиг.10 – приводимое в качестве примера представление фазы кодового слова сигнала подтверждения приема, включающего в себя ПДТ и непрерывный диапазон ОПДТ, показано как приводимое в качестве примера ОПДТ отображается в диапазон требуемых битов, в соответствии с настоящим изобретением.
Фиг.11 – включает в себя совокупность Фиг. 11A-11Г, иллюстрирует этапы, выполненные в соответствии с одним приводимым в качестве примера вариантом осуществления, в котором многоуровневые ОПДТ используют в соответствии с изобретением.
Способы и устройства по настоящему изобретению хорошо подходят для сотовых систем связи, но не ограничены рамками применимости в таких системах. Сотовые системы связи, в которых может быть использовано изобретение, обычно включают в себя многочисленные ячейки, причем каждая ячейка включает в себя, по меньшей мере, одну базовую станцию и множество беспроводных терминалов, например подвижных узлов. На Фиг.1 представлена приводимая в качестве примера система 100 беспроводной связи, осуществленная в соответствии со способами по настоящему изобретению. Приводимая в качестве примера система 100 беспроводной связи поддерживает эффективные автоматические запросы повторения (АЗП), в соответствии с настоящим изобретением. Приводимая в качестве примера система 100 беспроводной связи является системой множественного доступа OFDM (ортогональное частотное уплотнение) с расширенным спектром. Хотя приводимая в качестве примера система беспроводной связи OFDM используется в настоящей заявке в целях раскрытия изобретения, изобретение более широко по объему, чем такой пример, и изобретение может быть применено во многих других системах связи, например системе беспроводной связи CDMA.
Система 100 включает в себя множество ячеек: ячейку 1 102, ячейку М 104. Каждая ячейка (ячейка 1 102, ячейка М 104) включает в себя базовую станцию (БС), (БС 1 106, БС М 108), соответственно, и представляет беспроводную зону покрытия базовой станции. БС 1 106 связана с множеством конечных узлов (КУ (1) 110, КУ (X) 112) посредством беспроводных линий (114, 116), соответственно. БС М 108 связана с множеством конечных узлов (КУ (1′) 118, КУ (X’) 120) посредством беспроводных линий (122, 124), соответственно. Конечные узлы 110, 112, 118, 120 могут быть мобильными и/или неподвижными устройствами беспроводной связи и названы беспроводными терминалами (БТ). Мобильные БТ иногда называют подвижными узлами (ПУ). ПУ могут двигаться всюду по системе 100. БС 1 106 и БС M 108 связаны с сетевым узлом 126 посредством сетевых линий 128, 130 связи, соответственно. Сетевой узел 126 связан с другими сетевыми узлами и Интернет посредством сетевой линии 132 связи. Сетевые линии 128, 130, 132 связи могут быть, например, волоконно-оптическими кабелями.
На Фиг.2 представлена приводимая в качестве примера базовая станция 200, осуществленная в соответствии с изобретением. Приводимая в качестве примера базовая станция 200 может быть более детализированным представлением любой из базовых станций 106, 108 по Фиг.1. Базовая станция 200 включает в себя приемник 202, передатчик 204, процессор 206, интерфейс 208 ввода-вывода и память 210, связанные между собой шиной 212, по которой различные элементы могут осуществлять обмен данными и информацией.
Приемник 202 включает в себя декодер 214 и модуль 218 выработки ОПДТ. Декодер 214 включает в себя демодулятор 216 и модуль 217 определения качества. Приемник 202 связан с антенной 220, по которой БС 200 может получать сигналы, например сигналы восходящей линии связи от БТ 300 (см. Фиг.3), включающие в себя сигналы канала подтверждения и сигналы восходящих каналов трафика, включающие в себя данные. Декодер 214, например LDPC декодер, выполняет операции декодирования полученных сигналов, в соответствии с настоящим изобретением. Демодулятор 216 выполняет операции демодуляции по полученным сигналам, в соответствии с настоящим изобретением. Модуль 217 определения качества генерирует и поддерживает статистическую информацию декодирования, указывающую качество декодированного сигнала, например измерение отсчета, числа и/или уровня обнаруженных ошибок и/или статистики по надежности декодированного сигнала, такой как мягкие информационные значения. Модуль 218 выработки ОПДТ генерирует ОПДТ, в соответствии с настоящим изобретением, когда полученный сигнал, например полученные данные, не может быть декодирован успешно. Приемник 202 связан с передатчиком 204 посредством линии 222 связи, по которой сгенерированное ОПДТ может быть передано для последующей передачи передатчиком 204 на БТ 300.
Передатчик 204 включает в себя кодер 224. Кодер 224, например кодер LDPC, включает в себя модулятор 226, модуль 228 обработки сигналов подтверждения и модуль 230 управления повторной передачей. Операции кодера 224 включают в себя кодирование блоков информационных битов в блоки кодированных битов. Модулятор 226 модулирует информацию в сигналы, например сигналы выделения нисходящей линии связи, сигналы трафика нисходящей линии связи и сигналы подтверждения приема. Передатчик 204 связан с антенной 232, посредством которой сигналы нисходящей линии связи могут быть переданы на БТ 300. Модуль 228 обработки сигналов подтверждения обрабатывает информацию сигнала подтверждения, например полученный сигнал ОПДТ от БТ 300 соответствующий предыдущей передаче нисходящего канала трафика, которая не была успешно декодирована БТ 300. Такая обработка может включать в себя получение уровня полученного ОПДТ, в соответствии с изобретением. Модуль 230 управления повторной передачей управляет передачей избыточной информации, например блоками избыточных битов, к БТ 300, в соответствии с изобретением. Модуль 230 управления повторной передачей может выполнить управление в ответ на информацию от модуля 228 обработки сигналов подтверждения. Управление повторной передачей может включать в себя управление числом и/или размером избыточного блока, подлежащего передаче, управление тем, передавать ли повторно блок информационных битов, и/или управление тем, прервать ли дальнейшие передачи, относящиеся к кодированному блоку.
Память 210 включает в себя подпрограммы 234 и данные/информацию 236. Процессор 206, например ЦП, выполняет подпрограммы 234 и использует данные/информацию 236 в памяти 210 для управления работой базовой станции 200 и осуществлением способов по настоящему изобретению. Интерфейс 208 ввода-вывода связывает БС 200 с другими сетевыми узлами, например маршрутизаторами, другими базовыми станциями основ, узлами сервера AAA и т.д., и Интернет. Интерфейс 208 ввода-вывода позволяет БТ 300 работать в пределах ячейки БС 200, для осуществления связи с равноправными узлами вне сотовой зоны покрытия БС 200.
Подпрограммы 234 включают в себя подпрограммы 238 связи и подпрограммы 240 управления базовой станцией. Подпрограммы 240 управления базовой станцией включают в себя модуль 242 планировщика, модуль 244 управления автоматическим запросом повторения и сигнальные подпрограммы 246. Подпрограммы 238 связи используют для управления базовой станцией 200 с тем, чтобы выполнять различные операции связи и осуществлять различные протоколы связи. Подпрограммы 240 управления базовой станцией используют для управления работой базовой станции 200, например управлением интерфейсом 208 ввода-вывода, управлением приемником 202, управлением передатчиком 204, управлением мощностью, планированием, управлением АЗП, передачей сигналов и т.д., и осуществления этапов способа по настоящему изобретению. Модуль 242 планировщика используют для управления планированием передачи и/или распределением ресурсов связи. Модуль 242 планировщика может служить планировщиком. Модуль 242 планировщика может планировать пользователей, например, БТ 300 по сегментам канала, например сегментам восходящего канала трафика и сегментам нисходящего канала трафика.
Модуль 244 управления автоматическим запросом повторения использует данные/информацию 236 в памяти 210 и работает вместе с приемником 202 и передатчиком 204 для управления работой АЗП, в соответствии с настоящим изобретением. Сигнальные подпрограммы 246 выполняют работу для управления выработкой сигнала, передачей сигнала и приемом сигнала по беспроводному интерфейсу, например, посредством антенны 220, 232 и посредством интерфейса 208 ввода-вывода.
Данные/информация 236 включают в себя данные 248, данные/информацию 250 беспроводного терминала (БТ), системную информацию 252, сообщения 254 выделения нисходящей линии связи, сообщения трафика по нисходящей линии связи 256, полученные сообщения 258 подтверждения, сообщения 260 выделения восходящей линии связи, сообщения 262 восходящего канала трафика и сообщения подтверждения для трафика 264 по восходящей линии связи.
Данные 248 включают в себя пользовательские данные, например данные, полученные от БТ 300 по линиям беспроводной связи, данные, полученные от других сетевых узлов, данные, которые подлежат передаче на БТ 300, и данные, которые подлежат передаче на другие сетевые узлы.
Данные/информация 266 беспроводного терминала включают в себя множество данных/информации БТ, информацию 266 БТ 1, информацию 268 БТ N. Информация 266 БТ 1 включает в себя данные 270, информацию 272 ИД терминала, блоки информационных битов 274, блоки кодированных битов 276 и определенное качество декодированной информации 282. Данные 270 включают в себя пользовательские данные, полученные БС 200 от БТ 1, предназначенные для равноправного узла БТ 1, например БТ N, и пользовательские данные, подлежащие передаче с БС 200 на БТ 1. Информация 272 идентификации (ИД) терминала включает в себя выделенный базовой станцией ИД, используемый для идентификации БТ 1 при связи и процессах с БС 200. Блоки информационных битов 274 включают в себя блоки информации, например блоки битов пользовательских данных, подлежащих кодированию кодером 224 передатчика 204. Блоки кодированных битов 276 включают в себя блоки информационных битов 278 и блоки избыточных битов 280. Для каждого кодированного блока информационных битов есть обычно соответствующий блок избыточных битов. Блок кодированных битов обычно передают, пока передают одну или несколько частей избыточных битов в случае ОПДТ. Блоки кодированных информационных битов 276 могут включать в себя немного избыточной информации, например биты КИО, сгенерированной, как часть процесса кодирования. Блоки закодированных битов 276 являются выходом операции кодирования, например операции кодирования LDPC, выполненной кодером 224 по блокам информационных битов 274. Блоки информационных битов 276 могут включать в себя, и, как правило, включают, информацию, например текст, речь или другие данные, включенные во входные блоки информационных битов 274. Они могут также включать в себя немного избыточной информации, сгенерированной, как часть процесса кодирования. Блоки избыточных битов 280 включают в себя дополнительную избыточную информацию, например дополнительные биты кодирования с исправлением ошибок. Блоки избыточных битов 280 включают в себя множество групп избыточных битов, избыточные биты 284 части 1 по избыточные биты 286 части N для каждого блока кодированных информационных битов 278. В целях передачи кодированный блок 278 информационных битов может быть сгруппирован с соответствующей первой частью 284 и передан, как набор кодированной информации. Остальные части избыточных битов, соответствующие переданному блоку кодированных битов 278, могут быть сохранены, как набор избыточной информации, к которой получают доступ и используют в случае ОПДТ, но которая может быть сброшена после получения ПДТ, указывающего успешное получение и декодирование соответствующего переданного блока кодированных информационных битов 278. Определенное качество декодированной информации 282 выдают с декодера 214, указывающее уровень качества декодированной информации и, таким образом, уровень успеха декодирования. Модуль 218 выработки ОПДТ сравнивает определенное качество декодированной информации 282 с информацией, включенной в информацию 296 уровня ОПДТ для определения, было ли декодирование успешным или нет. Таким образом, модуль 218 определяет, должно ли быть сгенерировано ОПДТ, и, если должно, подходящий уровень ОПДТ для генерирования, как функцию уровня успеха декодирования, когда декодирование не полностью успешно.
Системная информация 252 включает в себя тоновую информацию 288, информацию 290 модуляции, информацию 292 синхронизации, информацию 294 о коде и информацию 296 уровня ОПДТ. Тоновая информация 288 включает в себя информацию, идентифицирующую тоны, используемые в последовательностях перескока, каналах и/или сегментах. Информация 290 модуляции включает в себя информацию, используемую БС 200 для осуществления различных схем модуляции, используемых модулятором 216 и демодулятором 226. Информация 292 синхронизации 292 может включать в себя информацию о синхронизации, используемую для последовательностей перескока, суперслотах, интервалах, продолжительностях сегментов канала, и временных зависимостях между различными сегментами канала, например временной зависимости между сегментом выделения, сегментом канала трафика и сегментом канала подтверждения. Информация 292 синхронизации может также включать в себя информацию о синхронизации, используемую в способах АЗП по настоящему изобретению. Информация 294 о коде включает в себя информацию, идентифицирующую скорости кодирования, тип используемого кода, например LDPC, связанную с КИО информацию, используемую при генерировании кодированной информации, и связанную с КИО информацию, используемую при восстановлении кодированной информации. Информация 296 уровня ОПДТ включает в себя информацию 298 дискретного уровня и информацию 299 непрерывного уровня. Информация 296 уровня ОПДТ включает в себя информацию, которая может быть использована модулем 218 выработки ОПДТ для генерирования ОПДТ, в соответствии с изобретением, для последующей передачи на БТ 300. Информация 296 уровня ОПДТ также включает в себя информацию, которая может быть использована модулем 228 обработки сигналов ПДТ для интерпретации и обработки полученных сигналов ОПДТ от БТ 300. Информация 298 дискретного уровня включает в себя информацию, определяющую и касающуюся дискретных уровней ОПДТ, используемых в некоторых вариантах осуществления изобретения. Информация 298 дискретного уровня может включать в себя множество значений сигнала ОПДТ, причем каждое из возможных значений сигнала ОПДТ соответствует различному уровню качества кодированного сигнала, значению фазы, соответствующему ПДТ, и различным значениям фазы, соответствующим каждому из различных уровней ОПДТ. Информация 299 непрерывного уровня включает в себя информацию, определяющую и касающуюся непрерывных уровней значений сигнала ОПДТ, используемых в некоторых вариантах осуществления изобретения. Информация 299 непрерывного уровня включает в себя непрерывный диапазон значений сигнала ОПДТ, соответствующих непрерывному интервалу фазы ОПДТ, значение фазы, соответствующее ПДТ, интервал требуемых битов, соответствующий и отображенный из непрерывного диапазона фазы сигналов ОПДТ.
Сообщения 254 выделения нисходящей линии связи включают в себя сообщения выделения, используемые для уведомления БТ 300, что ему был выделен сегмент нисходящего канала трафика. Сообщения 254 выделения нисходящей линии связи могут включать в себя новый/старый битовый индикатор, используемый для передачи того, является ли соответствующий сегмент трафика по нисходящей линии связи первичным сегментом трафика или нет. Сообщения 254 выделения нисходящей линии связи могут также включать в себя информацию, указывающую ИД желаемого БТ, для первичного сегмента трафика, или информацию, используемую для получения индекса первичного сегмента, для не первичного сегмента. Сообщения 254 выделения нисходящей линии связи передают БС 200 на БТ 300 в сегментах выделения нисходящей линии связи.
Сообщения 256 нисходящего канала трафика включают в себя данные и информацию, например блоки информационных битов 274, кодированный и затем переданный БС 200 на БТ 300 в сегментах нисходящего канала трафика. Полученные сообщения 258 подтверждения включают в себя сигналы подтверждения приема от БТ 300 к БС 200, указывающие, действительно ли БТ 300 успешно декодировал переданную информацию, например сигнал подтверждения приема, передающий информацию в фазе, идентифицирующей положительное подтверждение (ПДТ) или уровень отрицательного подтверждения (ОПДТ), причем уровень отрицательного подтверждения может быть использован для определения повторной передачи, например, количества избыточных битов, которые будут впоследствии посланы, в соответствии с изобретением.
Сообщения 260 выделения восходящей линии связи включают в себя сообщения выделения, используемые для уведомления БТ 300, что ему был выделен сегмент восходящего канала трафика. Сообщения 260 выделения восходящей линии связи могут включать в себя новый/старый битовый индикатор, используемый для передачи того, является ли соответствующий сегмент трафика по восходящей линии связи первичным сегментом трафика или нет. Сообщения 260 выделения восходящей линии связи могут также включать в себя информацию, указывающую ИД желаемого БТ, для первичного сегмента трафика, или информацию, используемую для получения индекса первичного сегмента, для не первичного сегмента. Сообщения 262 выделения восходящей линии связи передают БС 200 на БТ 300 в сегментах восходящей линии связи.
Сообщения восходящего канала трафика 262 включают в себя полученные данные и информацию, которая была успешно декодирована из кодированных сигналов, переданных в сегментах восходящего канала трафика БТ 300 на БС 200. Сообщения подтверждения для трафика 264 по восходящей линии связи включают в себя сообщения подтверждения, сгенерированные модулем 218 выработки ОПДТ на основе качества декодированной информации, например сообщение ПДТ для успешного восстановления информации и сообщений, соответствующих различным уровням ОПДТ, для неудачной попытки декодирования, в соответствии с настоящим изобретением.
На Фиг.3 представлен приводимый в качестве примера беспроводной терминал 300, осуществленный в соответствии с изобретением. Приводимый в качестве примера беспроводной терминал 300 может быть более детализированным представлением любого из конечных узлов 110, 112, 118, 120 по Фиг.1. Беспроводной терминал 300 включает в себя приемник 302, передатчик 304, процессор 306 и память 310, связанные между собой шиной 312, по которой различные элементы могут осуществлять обмен данными и информацией.
Приемник 302 включает в себя декодер 314 и модуль 318 выработки ОПДТ. Декодер 314 включает в себя демодулятор 316 и модуль 317 определения качества. Приемник 302 связан с антенной 320, посредством которой БТ 300 может получать сигналы, например сигналы нисходящей линии связи от БС 200, включающие в себя сигналы канала выделения, сигналы канала подтверждения и сигналы нисходящих каналов трафика, включающие в себя данные. Декодер 314, например LDPC декодер, выполняет операции декодирования полученных сигналов, в соответствии с настоящим изобретением. Демодулятор 316 выполняет операции демодуляции по полученным сигналам, в соответствии с настоящим изобретением. Модуль 317 определения качества генерирует и поддерживает статистическую информацию декодирования, указывающую качество декодированного сигнала, например измерение отсчета, числа и/или уровня обнаруженных ошибок, и/или статистику по надежности декодированного сигнала, типа мягких информационных значений. Модуль 318 выработки ОПДТ генерирует ОПДТ, в соответствии с настоящим изобретением, когда полученный сигнал, например полученные данные, не может быть успешно декодирован. Приемник 302 связан с передатчиком 304 посредством линии 322 связи, по которой сгенерированное ОПДТ может быть передано для последующей передачи передатчиком 304 на БС 200.
Передатчик 304 включает в себя кодер 324. Кодер 324, например кодер LDPC, включает в себя модулятор 326, модуль 328 обработки сигналов подтверждения и модуль 330 управления повторной передачей. Работа кодера 324 включает в себя кодирование блоков информационных битов в блоки кодированных битов. Модулятор 326 модулирует информацию в сигналы, например сигналы трафика восходящей линии связи и сигналы подтверждения. Передатчик 304 связан с антенной 332, посредством которой сигналы восходящей линии связи могут быть переданы на БС 200. Модуль 328 обработки сигналов подтверждения обрабатывает информацию сигнала подтверждения приема, например полученный сигнал ОПДТ от БС 200, соответствующий предыдущей передаче восходящего канала трафика, которая не была успешно декодирована БС 200. Такая обработка может включать в себя получение уровня принятого ОПДТ, в соответствии с изобретением. Модуль 330 управления повторной передачей управляет передачей избыточной информации, например, блоков избыточных битов, на БС 200, в соответствии с изобретением. Модуль 330 управления повторной передачей может выполнять управление в ответ на информацию от модуля 328 обработки сигналов подтверждения. Управление повторной передачей может включать в себя управление числом и/или размером избыточного блока, который будет передан, управление тем, передавать ли повторно блок информационных битов, и/или управление тем, прервать ли дальнейшие передачи, связанные с кодированным блоком.
Память 310 включает в себя подпрограммы 334 и данные/информацию 336. Процессор 306, например ЦП, выполняет подпрограммы 334 и использует данные/информацию 336 в памяти 310 для управления работой беспроводного терминала 300 и осуществления способов по настоящему изобретению.
Подпрограммы 334 включают в себя подпрограмму 338 связи и подпрограммы 340 управления беспроводным терминалом. Подпрограммы 340 управления беспроводным терминалом включают в себя модуль 342 управления автоматическим запросом повторения и сигнальные подпрограммы 344. Подпрограмму 338 связи используют для управления беспроводным терминалом 300 для выполнения различных операций связи и осуществления различных протоколов связи. Подпрограммы 340 управления беспроводным терминалом используют для управления работой беспроводного терминала 300, например управления приемником 302, управления передатчиком 304, управления мощностью, управления АЗП, передачей сигналов и т.д., и осуществления этапов способа по настоящему изобретению.
Модуль 342 управления автоматическим запросом повторения использует данные/информацию 336 в памяти 310 и работает вместе с приемником 302 и передатчиком 304 для управления работой АЗП, в соответствии с настоящим изобретением. Сигнальные подпрограммы 344 выполняют работу для управления генерированием сигнала, передачей сигнала и приемом сигнала по беспроводному интерфейсу, например, посредством антенн 320 и 332.
Данные/информация 336 включают в себя данные 346, информацию 348 ИД терминала, тоновую информацию 350, информацию 352 модуляции, информацию 354 о коде, информацию 356 синхронизации, блоки информационных битов 358, блоки закодированных битов 360, определенное качество декодированной информации 362, информацию 364 уровня ОПДТ, полученные сообщения 368 выделения нисходящей линии связи, полученные сообщения 370 трафика по нисходящей линии связи, сообщения подтверждения для трафика 372 по нисходящей линии связи, полученные сообщения 374 выделения восходящей линии связи, сообщения 376 восходящего канала трафика и полученные сообщения подтверждения для трафика 378 по восходящей линии связи.
Данные 346 включают в себя пользовательские данные, полученные БТ 300 от БС 200, например данные от равноправного узла связи БТ 300, и пользовательские данные, подлежащие передаче на БС 200 от БТ 300. Информация 348 идентификации (ИД) терминала включает в себя выделенный базовой станцией ИД, используемый для идентификации БТ 300 при связи и работе с БС 200. Блоки информационных битов 358 включают в себя блоки информации, например блоки битов пользовательских данных, подлежащих кодированию кодером 324 передатчика 304. Блоки кодированных битов 360 включают в себя блоки информационных битов 380 и блоков избыточных битов 382. Блоки кодированных битов 360 могут быть выданы при операции кодирования, например процесс кодирования LDPC, выполненной кодером 324 по блокам информационных битов 358. Блоки информационных битов 380 включают в себя информацию, включенную во входные блоки информационных битов 358. Блоки избыточных битов 382 включают в себя дополнительную избыточную информацию, например дополнительные биты кодирования с исправлением ошибок. Блоки избыточных битов 382 включают в себя множество блоков избыточных битов, избыточные биты 384 части 1, избыточные биты 386 части N. Определенное качество декодированной информации 362 представляет собой выход от декодера 314, указывающий уровень качества декодированной информации. Модуль 318 выработки ОПДТ может сравнивать определенное качество декодированной информации 362 с информацией, включенной в информацию 364 уровня ОПДТ для определения, должно ли быть сгенерировано ОПДТ и/или определения соответствующего уровня ОПДТ для генерирования.
Тоновая информация 350 включает в себя информацию, идентифицирующую тоны, используемые в последовательностях перескока, каналах и/или сегментах. Информация 352 модуляции включает в себя информацию, используемую БТ 300 для осуществления различных схем модуляции, используемых демодулятором 316 и модулятором 326. Информация 356 о синхронизации может включать в себя информацию о синхронизации, используемую для последовательностей перескока, суперслотах, интервалах, продолжительности сегментов канала, и временной зависимости между различными сегментами канала, например временной зависимости между сегментами выделения, сегментом канала трафика и сегментом канала подтверждения. Информация 356 о синхронизации может также включать в себя информацию о синхронизации, используемую в способах АЗП по настоящему изобретению. Информация 354 о коде включает в себя информацию, идентифицирующую скорости кодирования, тип используемого кода, например, LDPC, связанную с КИО информацию, используемую при генерации кодированной информации, и связанную с КИО информацию, используемую при восстановлении кодированной информации. Информация 364 уровня ОПДТ включает в себя информацию 388 дискретного уровня и информацию 390 непрерывного уровня. Информация 364 уровня ОПДТ включает в себя информацию, которая может быть использована модулем 318 выработки ОПДТ для генерирования ОПДТ, в соответствии с изобретением, для последующей передачи на БС 200. Информация 364 уровня ОПДТ также включает в себя информацию, которая может быть использована модулем 328 обработки сигналов ПДТ для интерпретации и обработки полученных сигналов ОПДТ от БС 200. Информация 388 дискретного уровня включает в себя информацию, определяющую и касающуюся дискретных уровней ОПДТ, используемых в некоторых вариантах осуществления изобретения. Информация 388 дискретного уровня может включать в себя множество значений сигнала ОПДТ, причем каждое возможное значение сигнала ОПДТ соответствует различному уровню качества кодированного сигнала, значение фазы, соответствующее ПДТ, и различные значения фазы, соответствующие каждому из различных уровней ОПДТ. Информация 390 непрерывного уровня включает в себя информацию, определяющую и касающуюся непрерывных уровней значений сигнала ОПДТ, используемых в некоторых вариантах осуществления изобретения. Информация 390 непрерывного уровня включает в себя непрерывный диапазон значений сигнала ОПДТ, соответствующих непрерывному интервалу фазы ОПДТ, значение фазы, соответствующее ПДТ, интервал требуемых битов, соответствующий и отображенный из непрерывного диапазона фазы сигналов ОПДТ.
Полученные сообщения 368 выделения нисходящей линии связи включают в себя сообщения выделения, используемые для уведомления БТ 300, что ему был выделен сегмент нисходящего канала трафика. Полученные сообщения 368 выделения нисходящей линии связи могут включать в себя новый/старый битовый индикатор, используемый для передачи того, является ли соответствующий сегмент трафика по нисходящей линии связи первичным сегментом трафика или нет. Сообщения 368 выделения нисходящей линии связи могут также включать в себя информацию, указывающую ИД желаемого БТ, для первичного сегмента трафика, или информацию, используемую для получения индекса первичного сегмента, для не первичного сегмента. Сообщения выделения нисходящей линии связи передают БС 200 на БТ 300 в сегментах выделения нисходящей линии связи.
Полученные сообщения 370 нисходящего канала трафика включают в себя данные и информацию, например блоки информационных битов 358, которые были успешно декодированы декодером 314. Сообщения трафика по нисходящей линии связи передают от БС 200 на БТ 300 в сегментах нисходящего канала трафика. Сообщения подтверждения для трафика 372 по нисходящей линии связи включают в себя сообщения, переданные в сигналах подтверждения приема от БТ 300 на БС 200, указывающие, действительно ли БТ 300 успешно декодировал полученную информацию, например сигнал подтверждения приема, доставляющий информацию в его фазе, идентифицирующую положительное подтверждение (ПДТ), или информацию в фазе, идентифицирующую уровень отрицательного подтверждения (ОПДТ), причем уровень отрицательного подтверждения может быть использован для определения повторной передачи, например, количества избыточных битов, которые требуется послать впоследствии, в соответствии с изобретением.
Полученные сообщения 374 выделения восходящей линии связи включают в себя сообщения выделения, используемые для уведомления БТ 300, что ему был выделен сегмент восходящего канала трафика. Полученные сообщения 374 выделения восходящей линии связи могут включать в себя новый/старый битовый индикатор, используемый для передачи того, является ли соответствующий сегмент трафика по восходящей линии связи первичным сегментом трафика или нет. Сообщения 374 выделения восходящей линии связи могут также включать в себя информацию, указывающую ИД желаемого БТ, для первичного сегмента трафика, или информацию, используемую для получения индекса первичного сегмента, для не первичного сегмента. Сообщения выделения восходящей линии связи передают БС 200 на БТ 300 в сегментах выделения восходящей линии связи.
Сообщения 376 восходящего канала трафика включают в себя данные и информацию, например блоки информационных битов 358, которые кодированы в блоки кодированных битов и переданы в сигналах восходящей линии связи в сегментах восходящего канала трафика БТ 300 на БС 200.
Полученные сообщения подтверждения для трафика 378 по восходящей линии связи включают в себя сигналы подтверждения приема от БС 200 на БТ 300, указывающие, успешно или нет БС 200 декодировала переданную информацию, например сигнал подтверждения приема, доставляющий информацию в фазе, идентифицирующей положительное подтверждение (ПДТ) или уровень отрицательного подтверждения (ОПДТ), причем уровень отрицательного подтверждения может быть использован для определения повторной передачи, например, количества избыточных битов, которые требуется послать впоследствии, в соответствии с изобретением.
В одной приводимой в качестве примера системе с ячейкой сегменты трафика динамически распределены между беспроводными терминалами 300, которые осуществляют связь с базовой станцией 200 в ячейке, например ячейке 1 102. Функция планирования в базовой станции 200 выделяет каждый сегмент восходящей и нисходящей линий связи одному из беспроводных, например мобильных, терминалов 300 в ячейке, на основании ряда критериев. Выделения передают по ресурсам управления, называемым сегментами выделения. Каждому сегменту трафика соответствует уникальный сегмент выделения, который включает в себя идентификатор беспроводного терминала 300, которому выделяют сегмент трафика. Данные, переданные базовой станцией 200 в сегменте трафика по нисходящей линии связи, декодируют приемником желаемого терминала. Данные, переданные выделенным беспроводным терминалом 300 в сегменте восходящей линии связи, декодируют базовой станцией 200. Обычно переданный сегмент включает в себя избыточные биты, например код исправления ошибок, который помогает приемному устройству, например базовой станции 200 или беспроводному, например мобильному, терминалу 300, определить, декодированы ли данные правильно. Это сделано, потому что беспроводный канал, используемый для передачи данных между базовой станцией 200 и беспроводным, например мобильным, терминалом 300, может быть ненадежен, а трафик данных обычно имеет высокое требование к целостности, чтобы быть полезным. Приемное устройство затем обеспечивает обратную связь на передатчик. Обратная связь указывает успешное или неудачное декодирование полученного сегмента трафика. Успешное декодирование полученного сегмента указывают, посылая положительное подтверждение, например ПДТ. Неудачное декодирование сегмента указывают, посылая отрицательное подтверждение, например ОПДТ. Подтверждение посылают с использованием ресурса управления, например, канала управления, включающего в себя множество сегментов подтверждения. Каждое ПДТ или ОПДТ могут быть передано в различных сегментах подтверждения, соответствующих заранее определенным образом одному или нескольким сегментам канала трафика. В одном конкретном варианте осуществления уникальный сегмент подтверждения связан с каждым сегментом трафика. Передатчик после получения ОПДТ может выбрать повторную передачу тех же данных или, в соответствии с настоящим изобретением, передачу избыточной информации, представляющей дополнительную информацию кода исправления ошибок. Таким образом, приводимая в качестве примера система по настоящему изобретению поддерживает механизм автоматического запроса повторения, причем избыточная информация, например инкрементная информация LDPC, соответствующая предварительно переданным данным, может быть передана в ответ на полученное ОПДТ.
На Фиг.4 представлен один приводимый в качестве примера способ, который может быть использован для того, чтобы выделять данные, которые будут переданы в сегментах канала трафика, и использование сегмента подтверждения для доставки информации подтверждения (ПДТ или ОПДТ), соответствующей данным, переданным в сегментах канала трафика.
На Фиг.4 представлена диаграмма 400 нисходящих каналов, на которой горизонтальная ось 402 представляет время, а вертикальная ось 404 представляет частоту, например частотные тоны. Фиг.4 также включает в себя диаграмму 450 восходящих каналов, на которой горизонтальная ось 452 представляет время, а вертикальная ось 454 представляет частоту, например частотные тоны. На Фиг.4 сегмент трафика логически представлен как прямоугольный блок. Диаграмма 400 включает в себя следующие сегменты нисходящего канала: сегмент выделения для соответствующего сегмента 406 трафика по нисходящей линии связи, сегмент выделения для соответствующего сегмента 408 трафика по восходящей линии связи, сегмент 410 трафика по нисходящей линии связи и сегмент подтверждения, соответствующий сегменту 412 трафика по восходящей линии связи. Диаграмма 450 включает в себя следующие сегменты восходящего канала: сегмент 456 восходящего канала трафика и сегмент 458 подтверждения восходящей линии связи. В реальной системе физические частоты, например тоны, занятые сегментом трафика, могут не быть непрерывными, например, из-за перескоков или по другим причинам, и могут изменяться во времени. Каждый сегмент канала трафика может соответствовать одному или нескольким тонам. Кроме того, каждый сегмент канала трафика может иметь протяженность в один или несколько периодов времени, например периодов символа. На Фиг.4 показано, что в нисходящей линии связи имеется канал выделения. Канал выделения включает в себя последовательность сегментов 406 выделения. Каждый сегмент 406 выделения, представленный как прямоугольный блок, используют для передачи информации выделения конкретного сегмента 410 трафика по нисходящей линии связи. Информация выделения включает в себя идентификатор беспроводного терминала(терминалов) 300, которые должны получить данные в соответствующем сегменте 410 трафика по нисходящей линии связи. Для облегчения работы приемника, информация выделения может также включать в себя такую информацию, как кодирование канала и скорости модуляции для использования при обработке данных в соответствующем сегменте 410 трафика по нисходящей линии связи. Сегмент 410 трафика по нисходящей линии связи связан с соответствующим сегментом 406 выделения предписанным, например, заранее определенным, известным образом. Каждый сегмент 456 трафика по восходящей линии связи, также как и каждый сегмент 410 трафика по нисходящей линии связи, выделяют планировщиком базовой станции 200, для использования одним или несколькими беспроводными, например мобильными, терминалами 300. Информацию выделения передают, используя сегменты 408 выделения в нисходящей линии связи, имеющие заранее определенное отношение к выделенным сегментам 456 трафика по восходящей линии связи. Так как отношения между сегментами 406, 408 выделения и сегментами 410, 456 трафика заранее определено и известно, в приводимом в качестве примера варианте осуществления отсутствует необходимость включения информации в сегменты 406, 408 выделения, указывающие сегмент(сегменты) 410, 456 канала трафика, которым соответствует информация выделения в конкретном сегменте выделения.
Как представлено на Фиг.4, канал подтверждения имеется как в восходящей линии связи, так и в нисходящей линии связи. Канал подтверждения восходящей линии связи включает в себя последовательность сегментов 458 подтверждения. Сегмент 458 подтверждения восходящей линии связи указывает, была ли информация в соответствующем сегменте 410 трафика по нисходящей линии связи получена правильно или нет, например было ли возможно правильно декодировать информацию, полученную в соответствующем сегменте 410 трафика. Беспроводной терминал 300, которому был выделен соответствующий сегмент 410 трафика по нисходящей линии связи, передает подтверждение в соответствующем сегменте 458 подтверждения восходящей линии связи, тогда как все другие беспроводные терминалы обычно не осуществляют передачу с использованием этого конкретного сегмента 458 подтверждения. Информация подтверждения может включать в себя всего лишь один бит, либо ПДТ, например “1”, для указания успеха приема, или ОПДТ, например “0”, для указания сбоя приема. Сегмент 410 трафика по нисходящей линии связи связан с соответствующим сегментом 458 подтверждения восходящей линии связи, предписанным, например, заранее определенным образом. Точно так же имеется нисходящий канал подтверждения, в котором сегменты 412 подтверждения включают в себя информацию подтверждения для соответствующих сегментов 456 трафика по восходящей линии связи.
Каскадные коды, например каскадные Коды LDPC, могут быть использованы, в соответствии с настоящим изобретением, для обеспечения избыточной информации, переданной в ответ на получение ОПДТ.
Сегмент трафика по нисходящей или восходящей линии связи используют для переноса блока информационных битов. В одном варианте осуществления изобретения блок информационных битов кодирован в блок кодированных битов с использованием способов кодирования канала, таких как кодирование с низкой плотностью проверок четности (LDPC), которое описано, например, в работе Т.Ричардсона (T.Richardson) и Р.Урбанке (R.Urbanke) “Эффективное кодирование кодов с низкой плотностью проверок четности,” Труды ИИЭР. Теория Информации, том 47, Номер 2, стр. 638-656, февраль 2001, которая включена в настоящее описание посредством ссылки.
Блок кодированных битов затем отображают в набор символов совокупности (созвездия), например, как часть операции отображения символа, которая может также быть описана как процесс модуляции. Сгенерированные символы передают по беспроводному каналу. Приемное устройство выполняет операцию восстановления символа и затем обрабатывает восстановленные символы для получения переданных битов. Восстановленный блок кодированных битов подвергают операции декодирования канала, например процесс декодирования LDPC, в намерении восстановить блок информационных битов, подвергнутых операции кодирования LDPC перед передачей.
Кодирование канала добавляет избыточность к переданному сигналу для противодействия искажениям, с большой вероятностью происходящим при передаче по беспроводному каналу. При постоянной схеме модуляции, чем большее число избыточных битов добавлено, тем большему числу искажений передачи можно противостоять, по-прежнему декодируя (восстанавливая информационные биты) правильно. Когда блок информационных битов должен быть передан первый раз в сегменте трафика, блок информационных битов кодируют в кодовое слово, имеющее некоторую специфическую избыточность.
В одном конкретном варианте осуществления изобретения кодированные биты, переданные в первом сегменте трафика, представляют кодовое слово кода LDPC. Коды LDPC хорошо подходят для гибридного АЗП, причем дополнительную избыточную информацию в форме информации о коде исправления передают вместо того, чтобы повторно передавать первоначально переданную информацию, если получено ОПДТ.
При коде LDPC, представленном с использованием графа Таннера, расширение кода может быть определено посредством ввода в граф дополнительных переменных узлов и узлов ограничений. В сущности, расширение кода включает в себя проверки четности битов в исходном кодовом слове. В конкретном варианте осуществления в графе Таннера дополнительные биты проверки четности представлены как дополнительные переменные узлы первой степени, каждый из которых связан с единственным дополнительным узлом ограничения. Декодирование LDPC происходит посредством выполнения декодирования с передачей сообщения в расширенном графе. Дополнительные проверки четности, например расширение графа, могут быть заранее определены в форме явной структуры или неявно определены в форме вероятностного процесса, который генерирует расширение, связанное с некоторым начальным числом, которое является доступным как для передатчика, так и для приемника.
В соответствии с изобретением, инкрементные избыточные биты, переданные в ответ на ОПДТ, расширяют кодовое слово первого переданного кодового слова (переданного в первом сегменте трафика) для формирования большего кодового слова, которое, к счастью, может быть декодировано успешно, при увеличенной избыточности по сравнению с начальным кодовым словом. В одном варианте осуществления дополнительные биты проверки четности, сформированные посредством выполнения проверки четности исходных информационных битов или исходного кодового слова LDPC, включают в себя инкрементные избыточные биты. В другом варианте осуществления изобретения инкрементные биты включают в себя некоторые/все из информационных битов и/или некоторые или все из битов проверки четности, переданных в первом сегменте трафика, например первой передаче информационных битов, которым соответствуют инкрементные биты.
В соответствии с одним признаком изобретения, когда два сегмента трафика, например первый и второй сегменты трафика, связанные с одними и теми же информационными битами являются ОПДТыми, передатчик может передать инкрементные избыточные биты в третьем сегменте трафика, так, чтобы приемник мог объединить три полученных сегмента трафика для достижения лучшего функционирования декодирования. Инкрементные избыточные биты выполнены подобно тем, которые находятся во втором сегменте трафика. Вышеупомянутая процедура может быть повторена неоднократно, например N раз, где N – положительное целое число, пока не удовлетворен некоторый критерий завершения, например достигнут успех декодирования. В некоторых вариантах осуществления N больше чем 3, например 4 или 5.
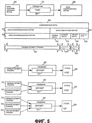
На Фиг.5 приведен пример использования инкрементных избыточных кодов, например инкрементных избыточных кодов LDPC, в соответствии с изобретением. На Фиг.5 представлен передатчик 502, включающий в себя кодер 504, осуществленный в соответствии с настоящим изобретением. На Фиг.5 также представлен приемник 522, включающий в себя декодер 524, осуществленный в соответствии с настоящим изобретением. Передатчик 502 может использоваться как передатчик 204 БС 200 по Фиг.2 или передатчик 304 БТ 300, представленного на Фиг.3. Приемник 522 может быть использован как приемник 202 БС 200 или приемник 302 БТ 300. Когда блок информационных битов 506 должен быть передан, передатчик 502 со своим кодером 504 использует большую матрицу проверки четности для генерирования битов 508 кода, включая большой блок битов проверки четности. Кодированные биты 508 включают в себя блок информационных битов 510 и блок избыточных битов 512. Блок избыточных битов 512 включает в себя первую часть 514, вторую часть 516, третью часть 518 и четвертую часть 519. В первом сегменте 520 трафика передают информационные биты 510 и первую часть битов 514 проверки четности. Комбинация кодированных информационных битов 510 и первой части 514 битов проверки четности формирует первый набор кодированной информации, которую передают. Остальные биты проверки четности, со второго по четвертый включительно битов проверки четности, формируют набор избыточной информации, которую сохраняют и используют в случае ОПДТ. Если приемник 522 своим декодером 524 не может декодировать информационные биты 510 и посылает ОПДТ 526, передатчик 502 посылает вторую часть битов 516 проверки четности во втором сегменте 528 трафика. Приемник 522 использует оба полученных сегмента 520, 528 при процессе декодирования в попытке декодировать информационные биты 510. Теперь предположим, что приемник 522 тем не менее не может декодировать информационные биты 510, что свидетельствует приемное устройство 522, посылая другое ОПДТ 530 в сегменте подтверждения, соответствующем второму сегменту 528 трафика. Тогда передатчик 502 передает третью часть битов 518 проверки четности в третьем сегменте 532 трафика. Приемник 522 должен использовать некоторые или все из полученных сегментов, например сегменты 520, 528, 532 для декодирования информационных битов 510. Если приемник в некоторый момент времени 522 декодирует информационные биты 510 успешно, то передатчик может отказаться от неиспользованных битов проверки четности.
В примере, представленном на Фиг.5, приемное устройство 522 неспособно декодировать первый и второй сегменты 520, 528 трафика и отвечает на каждый из этих сегментов ОПДТ 526, 530, соответственно. Комбинируя информацию ((510 и 514), (516)), полученную в первом и втором сегментах (520, 528) трафика с инкрементной информацией, например инкрементной информацией LDPC 518, полученной в третьем сегменте 532 трафика, приемное устройство 522 в конце концов успешно декодирует полученную информацию 510. Это приводит к передаче приемным устройством 522 ПДТ 534 в сегменте подтверждения, соответствующем третьему сегменту 532 трафика. В ответ на ПДТ 534 передающему устройству 502 сообщают, что не является необходимым передавать дополнительную избыточную информацию, например дополнительные избыточные биты, например дополнительные биты LDPC, 519.
В вышеприведенном примере, когда передают множественные сегменты трафика 520, 528, 532, связанные с этими же информационными битами 510, сегменты 528, 532 трафика повторной передачи включают в себя дополнительные избыточные биты 516, 518, например, проверки четности, без исходной информации 510, переданной в первом сегменте 520 трафика.
В другом варианте осуществления изобретения, в дополнение к дополнительным избыточным битам, сегмент трафика повторной передачи может также включать в себя новые информационные биты, например биты, которые не соответствуют кодовому слову, переданному в предыдущем сегменте трафика. Таким образом, если приемник в состоянии правильно декодировать комбинированные сегмент первичной передачи и сегмент повторной передачи, приемник эффективно получает не только информационные биты, включенные в сегмент первичной передачи, например первый сегмент трафика, но также и новые информационные биты, добавленные в сегмент повторной передачи, например второй или третий сегменты трафика.
Инкрементное выделение в соответствии с настоящим изобретением будет описано далее в приводимом в качестве примера варианте осуществления. Один признак настоящего изобретения направлен на обеспечение способа выделения сегмента трафика, который допускает использование инкрементного избыточного кодирования, например инкрементное избыточное кодирование LDPC.
Рассмотрим сначала сегменты трафика по нисходящей линии связи. В различных приводимых в качестве примера вариантах осуществления, используемых для раскрытия изобретения, для каждого сегмента трафика по нисходящей линии связи имеется соответствующий сегмент выделения, который указывает информацию выделения сегмента трафика по нисходящей линии связи. Соответствие между сегментом трафика по нисходящей линии связи и соответствующим сегментом выделения заранее определено и фиксировано.
В соответствии с изобретением, в некоторых вариантах осуществления сегмент выделения явно указывает, является ли соответствующий сегмент трафика первичной передачей или нет.
Если имеет место первичная передача, сегмент выделения должен включать в себя такую информацию, как идентификатор беспроводного терминала (терминалов).
Если это не первичная передача, в соответствии с изобретением, сегмент выделения должен включать в себя, например, вместо идентификатора беспроводного терминала, информацию, которая может связать предварительно переданные сегменты трафика, которые соответствуют тому же самому блоку информационных битов. Такая информация названа “инкрементным выделением” в настоящем описании. При инкрементном выделении приемник сегментов трафика может затем объединять эти сегменты вместе и эффективно декодировать блок информационных битов.
В соответствии с изобретением, каждый из сегментов трафика уникально индексирован по определенному временному интервалу, например периодическому временному интервалу. Например, на Фиг.6 представлены сегменты трафика N, индексированные, как 1, 2…, N во временном интервале T 616, причем в целях иллюстрации, в примере, N=3. Вообще говоря, значение N является числом, много большим чем 3. На Фиг.6 представлена диаграмма 600 зависимости частоты, например частотного тона, по вертикальной оси 602, от времени – по горизонтальной оси 604. В примере по Фиг.6 показано, что каждый сегмент трафика занимает те же самые частоты, но различные временные интервалы. На Фиг.6 показан сегмент N 606 трафика, за которым следует сегмент 1 608 трафика, за которым следует сегмент 2 610 трафика, за которым следует сегмент N 612 трафика, за которым следует сегмент 1 614 трафика. Дополнительные сегменты, во временном интервале T 616, будут присутствовать в случае, когда N равняется некоторому числу, большему чем 3. Любой прошлый сегмент трафика в пределах временного окна T 616 может быть однозначно определен индексом сегмента. Временной интервал T 616, таким образом, называют правильным временным окном. В соответствии с одним признаком изобретения, беспроводной терминал 300 сохраняет в правильном временном окне выделенные сегменты трафика, которые не он был в состоянии декодировать. Беспроводной терминал 300 также сохраняет прошлую информацию выделения в правильном временном окне. Эту информацию сохраняют в памяти, включенной в состав беспроводного терминала 300.
Рассмотрим сегмент трафика, который представляет n-ую передачу, связанную с блоком информационных битов, причем n>1. Некоторые варианты осуществления инкрементного выделения описаны далее.
В одном варианте осуществления инкрементное выделение включает в себя индекс первоначального сегмента трафика того же блока информационных битов. В другом варианте осуществления инкрементное выделение включает в себя индекс (n-1)-й передачи сегмента того же блока информационных битов.
В еще одном варианте осуществления инкрементное выделение включает в себя различие индекса ( > 0). Обозначим индекс текущего сегмента трафика как I. Например, инкрементное выделение может указывать, что новый сегмент трафика того же блока информационных битов задан, как (I- ) mod N. В другом примере инкрементное выделение указывает, что (n-1)-ю передачу сегмента того же блока информационных битов задают, как (I- ) mod N.
Фиг.7 распространяется на пример, представленный на Фиг.5, и показывает информацию выделения, например сегменты выделения, для трех сегментов трафика блока информационных битов, передаваемых в примере по Фиг.5, в соответствии с изобретением. На Фиг.7 представлено приводимое в качестве примера сообщение 700 сегмента выделения, включающее в себя новый/старый индикаторный бит 702, и индексные биты 704 ИД/сегмента. Новый/старый индикаторный бит 702 индикатора является 1-битовым индикатором, который может быть использован для сообщения, является ли соответствующий сегмент трафика первичным сегментом трафика или не первичным сегментом трафика. Если новый/старый битовый индикатор является, например, 0, сообщение выделения может сообщать, что это выделение является выделением для первичного сегмента трафика, и что информация в индексных битах 704 ИД/Сегмента БТ указывает идентификатор БТ, которому выделяют соответствующий сегмент трафика. Если новый/старый битовый индикатор является, например, 1, сообщение выделения может сообщать, что это выделение не является первичным сегментом трафика, что информация в индексных битах 704 ИД/Сегмента БТ указывает индекс первичного сегмента.
Фиг.7 дополнительно включает в себя диаграмму 720 зависимости частоты построения нисходящих каналов, например, частотного тона по вертикальной оси 722 от времени по горизонтальной оси 724. Диаграмма 720 включает в себя три сегмента 724, 726, 728 выделения нисходящей линии связи и три сегмента 730, 732, 734 канала трафика, соответственно. Фиг.7 также включает в себя диаграмму 750 частоты построения восходящих каналов, например, частотных тонов по вертикальной оси 752 от времени по горизонтальной оси 754. Диаграмма 750 включает в себя три сегмента 756, 758, 760 подтверждения восходящей линии связи, соответствующих сегментам 730, 732, 734 трафика по нисходящей линии связи, соответственно.
Показаны три приводимых в качестве примера интервала передачи, первый интервал 762 передачи, второй интервал 764 передачи и третий интервал 766 передачи. В первом интервале 762 передачи сегмент 724 выделения передает новый/старый индикаторный бит = 0 736, указывающий, что соответствующий сегмент 730 трафика является первичным сегментом трафика. Сегмент 724 выделения также передает индексные биты 738 ИД/сегмента, указывающие идентификатор беспроводного терминала, которому выделен сегмент 730 трафика. Базовая станция передает информацию сегмента 730 трафика, включающую в себя информационные биты и первую часть избыточных битов. Желаемый БТ неспособен успешно декодировать информационные биты и передает сигнал ОПДТ восходящей линии связи в соответствующем сегменте 756 канала подтверждения восходящей линии связи.
Во втором временном интервале 764 передачи сегмент 726 выделения передает новому/старому индикаторному биту = 1 740 указание, что соответствующий сегмент 732 трафика не является первичным сегментом трафика. Сегмент 726 выделения также передает индексную информацию 742 ИД/сегмента БТ, указывающую индекс первичного сегмента, например информацию, указывающую индекс сегмента 732 трафика. Базовая станция передает информацию сегмента 732 трафика, включающую в себя вторую часть избыточных битов. Желаемый БТ по-прежнему неспособен успешно декодировать информационные биты и передает сигнал ОПДТ восходящей линии связи в соответствующем сегменте 758 канала подтверждения восходящей линии связи.
В третьем временном интервале 766 передачи сегмент 728 выделения передает новый/старый индикаторный бит = 1 746, указывающий, что соответствующий сегмент 734 трафика не является первичным сегментом трафика. Сегмент 728 выделения также передает индексную информацию 748 ИД/сегмента БТ, указывающую индекс первичного сегмента, например информацию, указывающую индекс сегмента 734 трафика. Базовая станция передает информацию сегмента 734 трафика, включающую в себя третью часть избыточных битов. Намеченный БТ в состоянии успешно декодировать информационные биты и передает сигнал ПДТ восходящей линии связи в соответствующем сегменте 760 канала подтверждения восходящей линии связи.
Тот же инкрементный способ выделения может быть использован для обеспечения возможности использования инкрементных избыточных кодов в сегментах трафика по восходящей линии связи. В случае восходящей линии связи базовая станция должна указывать, и в различных вариантах осуществления указывает, что выделение является выделением для первоначального сегмента трафика, когда базовая станция готова получить новый блок информационных битов. По получении сегмента выделения для первоначального сегмента передатчик беспроводного терминала должен начать новый блок информационных битов и сгенерировать большой блок битов проверки четности для нового блока информационных битов. Беспроводной терминал должен передать, и передает, блок информационных битов и первую часть битов проверки четности. Если приемник базовой станции не может декодировать блок информационных битов, базовая станция должна выделить, и действительно выделяет, другой сегмент трафика по восходящей линии связи. Выделение включает в себя информацию, указывающую, что сегмент трафика не предназначен для первоначального сегмента, который следует передать. Кроме того, выделение включает в себя инкрементное выделение. По получении сегмента выделения не для первоначального сегмента передатчик беспроводного терминала идет обратным путем по информации, сохраненной в его памяти, чтобы отыскать соответствующий блок информационных битов с использованием инкрементной информации выделения, и затем передает последующую часть битов проверки четности, в соответствии с изобретением.
Многоуровневое отрицательное подтверждение и адаптивное выделение ресурсов должны быть раскрыты далее, в соответствии с настоящим изобретением. Настоящее изобретение дополнительно направлено на обеспечение способа посылки сегмента подтверждения, соответствующего сегменту трафика для улучшения работы гибридной схемы АЗП, использующей инкрементное избыточное кодирование, например инкрементное избыточное кодирование LDPC.
В вышеупомянутом способе приемник посылает ПДТ, если блок информационных битов был декодирован правильно, и ОПДТ, если необходимо больше избыточных битов для декодирования блока информационных битов. По получении ОПДТ передатчик посылает инкрементные избыточные биты для увеличения вероятности правильного декодирования блока информационных битов приемником.
Однако, когда передатчик имеет только обратную связь ОПДТ от приемника, передатчик может не знать, сколько инкрементной информации необходимо. Эффективное количество инкрементной поставленной информации зависит от того, сколько избыточных битов было передано, и от того, сколько энергии израсходовано на бит. В некоторых случаях приемник может нуждаться в большом количестве инкрементной информации, в то время как передатчик посылает только малое количество, что приводит к чрезмерному запаздыванию из-за большого количества циклов АЗП, требуемых для достижения успешной передачи. В других случаях приемник, возможно, нуждается в малом количестве инкрементной информации, например в несколько битов, в то время как передатчик посылает большое количество избыточной информации, тратя впустую системные ресурсы.
В соответствии с этим, один признак изобретения состоит в том, что, когда приемник нуждается в инкрементной информации, он сначала оценивает количество эффективной инкрементной информации, например в битах, требуемой для правильного декодирования блока информационных битов, и затем посылает многоуровневое ОПДТ, причем каждый уровень ОПДТ представляет отличающееся количество необходимой эффективной инкрементной информации. Таким образом, в таком варианте осуществления приемник передает, в дополнение к ОПДТ, индикатор количества избыточной информации, которую следует предоставить, например, как определено ее оценкой требуемых битов. В таком варианте осуществления, когда приемник не нуждается ни в каких инкрементных избыточных битах, он посылает ПДТ. Вышеупомянутый способ указания количества избыточной информации, необходимой или желательной, применим и к нисходящей линии связи, и к сегментам трафика по восходящей линии связи. Эффективная информация, включенная в инкрементные биты, является мерой ‘истинного’ количества информации, которое может отличаться от числа переданных инкрементных избыточных битов.
Количество ресурса эфирной линии связи (число переданных символов, их мощность и модуляции), выделенное сегменту трафика, определяет число эффективных инкрементных битов, включенных в сегмент. Например, мощность передачи сегмента трафика, а в некоторых системах величина полосы пропускания и времени, увеличивается с числом эффективных инкрементных избыточных битов, требуемых в сегменте. Таким образом, основываясь на информации обратной связи от многоуровневого ОПДТ, передатчик может адаптивно определить число эффективных инкрементных избыточных битов, которые будут включены в сегмент трафика и соответственно корректировать количество ресурса эфирной линии связи, выделенное сегменту трафика. Для облегчения работы приемника инкрементное выделение может включать в себя, и в различных вариантах осуществления включает в себя, также информацию, которая указывает число эффективных инкрементных битов, включенных в сегмент трафика. В соответствии с изобретением, число битов, включенных в k-й временной сегмент передачи, может не быть тем же самым для всех k, где k> 0, и в различных случаях не является таковым.
Фиг.8 продолжает пример по Фиг.5 и показывает, как подтверждение ОПДТ с 3 уровнями, в соответствии с изобретением, может улучшить работу АЗП. Фиг.8 включает в себя диаграмму 800 зависимости частоты построения нисходящих каналов, например, частотных тонов по вертикальной оси 802 от времени по горизонтальной оси 804. Диаграмма 800 включает в себя две сегмента 806, 808 выделения и два соответствующих сегмента 810, 812 нисходящего канала трафика, соответственно. Фиг.8 также включает в себя диаграмму 850 зависимости частоты построения восходящих каналов, например, частотных тонов по вертикальной оси 852 от времени по горизонтальной оси 854. Диаграмма 850 включает в себя два сегмента 856, 858 подтверждения восходящей линии связи, соответствующих сегментам 810, 812 трафика по нисходящей линии связи, соответственно.
Более конкретно, когда должен быть передан блок информационных битов, передатчик генерирует большое кодовое слово малой плотности проверок четности. В первом времени 860 передачи базовая станция передает сообщение выделения в сегменте 806 выделения, включая новый/старый битовый индикатор 816 =0, указывающий, что сегмент 810 трафика является первичным сегментом трафика. Сообщение выделения в сегменте 806 выделения также включает в себя индексные биты 818 ИД/сегмента БТ, включающие в себя идентификатор выделенного БТ для сегмента 810 трафика по нисходящей линии связи. В первом сегменте 810 трафика передают информационные биты и первую часть кодового слова. Теперь предположим, что приемник не декодирует информационные биты и, таким образом, посылает ОПДТ уровня-2 в сегменте 856 подтверждения. По получении ОПДТ уровня-2 передатчик посылает сообщение выделения в сегменте 808 выделения. Сообщение выделения включает в себя новый/старый битовый индикатор 864 =1, указывающий, что соответствующий сегмент 812 трафика не является первичным сегментом трафика и индикаторные биты 866 ИД/сегмента БТ, включающие в себя информацию, указывающую индекс первичного сегмента. Передатчик затем посылает как вторую, так и третью части битов проверки четности во втором сегменте 812 трафика, с уровнем мощности, нацеленным на доставку некоторого числа эффективных информационных битов. Используя оба из полученных сегментов 810, 812 для декодирования информационных битов, приемник теперь, вероятно, успешно декодирует информационные биты на этот раз и посылает ПДТ в сегменте 858 подтверждения. В этом примере многоуровневый механизм ОПДТ помогает уменьшать необходимые циклы АЗП, по сравнению с примером, который представлен на Фиг.7.
На Фиг.9 представлен чертеж 900, используемый для иллюстрирования фазы кодового слова ПДТ/многоуровневого ОПДТ, в одном, приводимом в качестве примера, варианте осуществления изобретения. Фиг.9 включает в себя представление фазы для ПДТ 902, для ОПДТ 904 Уровня-1, для ОПДТ 906 Уровня-2, и для ОПДТ 908 Уровня-3. Как представлено на Фиг.9, кодовое слово, используемое в сегменте подтверждения, таково, что Евклидово расстояние между ПДТ 902 и любым из многоуровневых ОПДТ 904, 906, 908 является намного большим, чем расстояние между любыми двумя из многоуровневых ОПДТ 904, 906, 908.
В другом варианте осуществления изобретения число уровней ОПДТ бесконечно. На Фиг.10 представлен чертеж 1000, используемый для иллюстрирования фазы ПДТ/бесконечного уровня ОПДТ. Фиг.10 включает в себя представление фазы ПДТ 1002, представление фазы приводимого в качестве примера ОПДТ 1004, и непрерывного интервала фазы 1006 ОПДТ. Фиг.10 также включает в себя непрерывный целочисленный интервал требуемых битов 1050, соответствующий непрерывному интервалу фазы 1006 ОПДТ, минимальное значение для требуемых битов 1052, и максимального значения для требуемых битов 1054. На Фиг.10 показано, что фаза полученного символа или кодового слова, которое является непрерывной переменной от x 1008 до y 1010, может быть отображена на непрерывный целочисленный интервал числа необходимых дополнительных информационных битов. На Фиг.10 представлено приводимое в качестве примера ОПДТ 1004, отображенное на, как представлено стрелкой 1060, определенное число требуемых битов 1056.
На Фиг.11, которая включает в себя совокупность фигур с Фиг.11A по Фиг.11Г, представлена блок-схема 1100 приводимого в качестве примера способа автоматического запроса повторения (АЗП), в соответствии с настоящим изобретением. От начального узла 1102 процесс переходит на этап 1104. В этапе 1104 инициализируют первое устройство, например подвижный узел, и второе устройство, например базовую станцию (БС). Процесс переходит с этапа 1104 на этап 1108. Информацию, подлежащую передаче, например текст, речь или другие цифровые данные 1106, обрабатывают базовой станцией на этапе 1108. На этапе 1108 кодер базовой станции кодирует информацию 1106, упомянутое кодирование, генерирует первый набор кодированной информации и первый набор избыточной информации. Первый набор кодированной информации может включать в себя, например, блок кодированных информационных битов 510 и первую часть 514 битов исправления ошибок, сгенерированных, как часть процесса кодирования, первый набор избыточной информации может включать в себя оставшиеся избыточные биты 516, 518, 519, сгенерированные, как часть кодирования, выполненного по информации 1106. На этапе 1110 базовая станция сохраняет первый набор избыточной информации. Процесс переходит с этапа 1110 на этап 1112. На этапе 1112 БС выбирает временной интервал канала трафика и, таким образом, сегмент канала трафика, соответствующий выбранному временному интервалу, для передачи первого набора кодированной информации. На этапе 1114 БС генерирует сообщение выделения канала трафика, указывающее выделение выбранного слота канала трафика, упомянутое сообщение выделения включает в себя идентификатор ПУ и индикатор, указывающий, что кодированная информация, подлежащая передаче на упомянутый ПУ во временном интервале канала трафика, не соответствует предварительно переданному сигналу. Затем, на этапе 1116, БС передает сгенерированное сообщение выделения во временном интервале канала выделения, например временном интервале канала трафика, соответствующем временному интервалу выделения, используемому для передачи сообщения выделения. Затем, на этапе 1118, ПУ получает сообщение выделения. Затем, на этапе 1120, БС передает кодированный первый набор информации в сигнале, передаваемом в выделенном временном интервале канала трафика. Процесс переходит с этапа 1120 на этап 1122. На этапе 1122 ПУ получает сигнал, включающий в себя кодированный первый набор информации. Процесс переходит с этапа 1122 через соединяющий узел 1124 на этап 1126. На этапе 1126 ПУ выполняет операцию декодирования по полученному сигналу, который включает в себя первый набор кодированной информации. Как часть операции декодирования по этапу 1126, выполняют подэтап 1128. На подэтапе 1128 ПУ поддерживает статистику декодирования, например отсчет обнаруженных неисправимых ошибок, информацию надежности результата декодирования и/или мягкие значения. Процесс переходит с этапа 1126 на этап 1130. На этапе 1130 ПУ определяет, была ли декодированная информация успешно декодирована. Это может быть выполнено посредством сравнения одной или нескольких статистик декодирования с пороговым уровнем, указывающим успешное декодирование. Пороговый уровень может быть, например, отсчетом нулевых неисправимых ошибок в результатах процесса декодирования.
Если на этапе 1130 определено, что кодированная информация была успешно декодирована, то процесс переходит на этап 1132. На этапе 1132 ПУ передает сигнал ПДТ на БС. Процесс переходит с этапа 1132 через соединяющий узел В 1134 на этап 1108, где БС обрабатывает дополнительную информацию, которая подлежит передаче.
Если на этапе 1130 определено, что кодированная информация не была успешно декодирована, процесс переходит на этап 1136. На этапе 1136, ПУ определяет уровень успеха декодирования, например, по статистике декодирования, указывающей качество декодированной информации, такое как статистику ошибок (например, отсчет обнаруженных неисправимых ошибок) и/или статистику надежности. Процесс переходит с этапа 1136 на этап 1138. На этапе 1138 ПУ генерирует сигнал ОПДТ, упомянутое генерирование включает в себя выбор значения сигнала ОПДТ из множества возможных значений сигнала ОПДТ, основанных на определенном уровне успеха декодирования. Затем, на этапе 1140, ПУ передает сгенерированный сигнал ОПДТ. Затем, на этапе 1142, БС получает сигнал ОПДТ. Процесс переходит с этапа 1142 на этап 1144. На этапе 1144 БС определяет из значения полученного сигнала ОПДТ количество избыточной информации, из сохраненного первого набора избыточной информации, для передачи на ПУ. Больше информации выбирают для передачи тогда, когда значение ОПДТ указывает низкий уровень успеха декодирования, например большое количество ошибок в результате декодирования, чем выбирают для передачи тогда, когда значение ОПДТ указывает высокий уровень успеха декодирования, например немного ошибок. Процесс переходит с этапа 1144 через соединяющий узел C 1146 на этап 1148.
На этапе 1148 БС определяет, является ли определенное количество избыточной информации меньшим, чем емкость сегмента трафика. Если БС определяет, что определенное количество избыточной информации является меньшим, чем емкость сегмента трафика, процесс переходит на этап 1150, в ином случае процесс переходит на соединяющий узел D 1152.
На этапе 1150 БС определяет, имеется ли достаточная свободная емкость сегмента трафика для переноса части второго набора кодированной информации. Если на этапе 1150 БС определяет, что имеется достаточная емкость сегмента трафика для переноса части второго набора кодированной информации, процесс переходит на этап 1156, в ином случае процесс переходит на соединяющий узел D 1152.
На этапе 1156 БС обрабатывает дополнительную информацию, которая подлежит передаче, например текст, речь или другие цифровые данные 1154. На этапе 1156 БС кодирует дополнительную информацию 1154, упомянутое кодирование генерирует второй набор кодированной информации и второй набор избыточной информации. С этапа 1156 процесс переходит на этап 1158. На этапе 1158 БС сохраняет второй набор избыточной информации. Процесс переходит с этапа 1158 на этап 1160. На этапе 1160 БС выбирает часть второго набора кодированной информации для передачи с выбранной избыточной информацией, полученной из сохраненного первого набора избыточной информации. Затем процесс переходит на соединяющий узел D 1152.
С соединяющего узла D 1152 процесс переходит на этап 1162. На этапе 1162 БС выбирает временной интервал канала трафика для передачи упомянутого выбранного набора избыточной информации. Затем, на этапе 1164 БС генерирует сообщение выделения канала трафика, указывающее выделение упомянутого выбранного временного интервала канала трафика, упомянутое сообщение выделения включает в себя индикатор, указывающий, что избыточная информация подлежит передаче в выделяемом временном интервале канала трафика, информацию, идентифицирующую предыдущий сигнал, которому соответствует избыточная информация, и, если новая кодированная информация должна быть передана с избыточной информацией, индикатор новой кодированной информации. Информация, идентифицирующая предыдущий сигнал, может быть, например, временным интервалом трафика или идентификатором временного интервала выделения, связанным с предыдущим сигналом и/или идентификатором подвижного узла, связанным с предыдущим сигналом. Затем, на этапе 1166 БС передает сгенерированное сообщение выделения трафика во временном интервале канала выделения. Затем, на этапе 1168, ПУ получает сообщение выделения, которое было передано на этапе 1166. Процесс переходит с этапа 1168 на этап 1170. На этапе 1170 БС передает выбранный набор избыточной информации, соответствующей первому набору кодированной информации, и новую кодированную информацию, соответствующую второму набору информации, исходя из предположения, что на выделенном временном интервале имеется место. Затем, на этапе 1172, ПУ получает сигнал, включающий в себя избыточную информацию. Процесс переходит с этапа 1172 на этап 1174. На этапе 1174 ПУ определяет из полученного сообщения выделения предварительно полученный сигнал, которому соответствует упомянутая избыточная информация. Процесс переходит с этапа 1174 на этап 1176. На этапе 1176 ПУ выполняет дополнительную операцию декодирования, используя полученную избыточную информацию и информацию, полученную из предварительно полученного сигнала (сигналов), которым соответствует избыточная информация.
Процесс переходит с этапа 1176 через соединяющий узел E 1178 на этап 1130, на котором ПУ определяет, была ли успешно декодирована кодированная информация. Процесс продолжается с этапа 1176, как было предварительно раскрыто, например, с повторными ОПДТ и передачей дополнительной избыточной информации, пока не будет достигнуто успешное декодирование первого набора кодированной информации.
На Фиг.12 представлен другой пример использования многоуровневого ОПДТ, в соответствии с изобретением, в контексте информационных передач по восходящей линии связи. В примере по Фиг.12 базовая станция ответственна за выделение сегмента восходящего канала трафика в дополнение к сегментам нисходящего канала трафика, как раскрыто в отношении примера по Фиг.8. На Фиг.12 представлена диаграмма 1200 зависимости частоты построения нисходящих каналов, например, частотных тонов по вертикальной оси 1202 от времени по горизонтальной оси 1204. Диаграмма 1200 включает в себя два сегмента 1206, 1208 выделения восходящей линии связи и два сегмента 1210, 1212 подтверждения, используемых для передачи информации о сигналах, посылаемых по восходящей линии связи. На Фиг.8 также представлена диаграмма 1250 частоты построения восходящих каналов, например, частотных тонов по вертикальной оси 1252 от времени по горизонтальной оси 1254. Диаграмма 1250 включает в себя два сегмента 1256, 1258 восходящего канала трафика. Сегмент 1206 выделения соответствует сегменту 1256 трафика по восходящей линии связи; сегмент 1256 трафика по восходящей линии связи соответствует сегменту 1210 подтверждения. Сегмент 1208 выделения соответствует сегменту 1258 трафика по восходящей линии связи; сегмент 1258 трафика по восходящей линии связи соответствует сегменту 1212 подтверждения.
Более конкретно, когда подлежит передаче блок информационных битов, передатчик БТ генерирует большое кодовое слово малой плотности проверок четности. В первом времени передачи 1260 базовая станция передает сообщение выделения в сегменте 1206 выделения, включающем в себя новый/старый битовый индикатор 1216 =0, указывающий, что выделенный сегмент 1256 трафика по восходящей линии связи является первичным сегментом трафика. Сообщение выделения в сегменте 1206 выделении также включает в себя индексные биты 1218 ИД/сегмента БТ, включающие в себя идентификатор выделенного БТ для сегмента 1256 трафика по восходящей линии связи. В первом сегменте 1256 трафика по восходящей линии связи информационные биты и первую часть кодового слова, включающего в себя набор кодированной информации, передают БТ на БС. Теперь предположим, что приемник БС не декодирует информационные биты и таким образом посылает ОПДТ уровня-2 в сегменте 1210 подтверждения. Передатчик БС посылает БТ сообщение выделения восходящей линии связи в сегменте 1208 выделения. Сообщение выделения включает в себя новый/старый битовый индикатор 1264 =1, указывающий, что соответствующий сегмент 1258 трафика не является первичным сегментом трафика и БТ индикаторные биты 1266 ID/сегмента БТ, включающие в себя информацию, указывающую индекс первичного сегмента. БТ получает ОПДТ Уровня-2 в канале сегмента 1210 подтверждения и выделение в сегменте 1208 выделения. Передатчик БТ затем посылает избыточную информацию, выбранную в ответ на ОПДТ, то есть как вторую, так и третью части набора сохраненных битов проверки четности, во втором сегменте 1258 трафике по восходящей линии связи, с уровнем мощности, нацеленным на доставку некоторого числа эффективных информационных битов. БС получает сегмент 1258 восходящего канала трафика. Используя информацию от обоих из полученных сегментов 1256, 1258, БС декодирует информационные биты. В ответ на определение, что процесс декодирования был успешным, приемник БС посылает ПДТ в сегменте 1212 подтверждения. В этом примере многоуровневый механизм ОПДТ помогает уменьшать необходимые циклы АЗП, по сравнению с примером, который представлен на Фиг.7.
Следует заметить, что сегмент канала трафика, соответствующий сегменту выделения часто следует, в терминах времени, за сегментом выделения. Однако возможно частичное или полное перекрытие сегментов выделения и соответствующих сегментов канала трафика, приводящее к одновременной передаче в сегменте выделения и соответствующем сегменте трафика, где различные частоты используют для различных сегментов.
Хотя описание приведено в контексте системы OFDM, способы и устройства АЗП по настоящему изобретению, также как и новые способы подтверждения, описанные в настоящих материалах, применимы в широком диапазоне систем связи, включающем в себя многие системы связи не OFDM и/или не сотовые системы связи. Кроме того, хотя описание приведено в контексте приводимой в качестве примера системы беспроводной связи, очевидным является, что способы и устройства по настоящему изобретению могут быть использованы в других приложениях, которые не задействуют линии беспроводной связи, но где желательно уменьшить или минимизировать потребность в повторной передаче данных, потерянные в ходе связи между передающим и приемным устройством. Например, способ по изобретению может быть использован с волоконно-оптической связью, проводными сетями и другими системами связи, в которых происходит передача информации.
В различных вариантах осуществления узлы, описанные в настоящих материалах, осуществлены с использованием одного или нескольких модулей для выполнения этапов, соответствующих одному или нескольким способам по настоящему изобретению, например, обработки сигналов, выработке сообщения и/или этапов передачи. Таким образом, в некоторых вариантах осуществления различные признаки настоящего изобретения осуществлены с использованием модулей. Такие модули могут быть осуществлены с использованием программного обеспечения, аппаратного обеспечения или совокупности программного обеспечения и аппаратного обеспечения. Многие из вышеописанных способов или этапов способов могут быть осуществлены с использованием машинно-исполняемых команд, таких как программного обеспечения, содержащегося в машиночитаемой среде, такой как устройство памяти, например ОЗУ, гибкий диск и т.д., для управления машиной, например универсальной ЭВМ с дополнительным оборудованием или без него, для осуществления всех вышеописанных способов или их частей. Соответственно, помимо иных объектов, настоящее изобретение направлено на обеспечение машиночитаемой среды, содержащей машинно-исполняемые команды для управления машиной, например процессором и связанным аппаратным обеспечением, с тем, чтобы она выполняла один или несколько этапов вышеописанного способа (способов).
Многочисленные дополнительные варианты описанных выше способов и устройств по настоящему изобретению являются очевидными для специалистов в настоящей области техники с учетом вышеприведенного описания изобретения. Такие варианты входят в объем изобретения. Способы и устройства по настоящему изобретению могут быть, а в различных вариантах осуществления и являются таковыми, использованы с CDMA, мультиплексированием с ортогональным частотным разделением (OFDM) и/или различными другими типами технологий осуществления связи, которые могут быть использованы для обеспечения линий беспроводной связей между узлами доступа и беспроводными терминалами. Соответственно, в некоторых вариантах осуществления базовые станции устанавливают линии связи с подвижными узлами, используя OFDM и/или CDMA. В различных вариантах осуществления беспроводные терминалы могут быть осуществлены, как портативные компьютеры, персональные информационные ассистенты (PDA) или другие портативные устройства, включающие в себя приемные/передающие тракты и логику и/или подпрограммы для осуществления способов по настоящему изобретению.
Формула изобретения
1. Способ связи, включающий в себя: задействование первого устройства связи для: i) выполнения операции декодирования по первому сигналу, включающему в себя информацию кодированного сигнала; ii) определения, была ли информация кодированного сигнала, включенная в первый сигнал, успешно декодирована; и iii) когда определено, что упомянутая кодированная информация не была успешно декодирована, генерирования первого сигнала ОПДТ (отрицательного подтверждения), имеющего одно из множества возможных значений сигнала ОПДТ, каждое из упомянутого множества возможных значений сигнала ОПДГ соответствует различному уровню успеха декодирования.
2. Способ по п.1, в котором упомянутый процесс декодирования вырабатывает декодированную информацию, а этап генерирования первого сигнала ОПДТ, включает в себя: выбор первого значения сигнала ОПДТ в функциональной зависимости от качества декодированной информации.
3. Способ по п.2, дополнительно включающий в себя: когда определено, что упомянутая кодированная информация была успешно декодирована, генерирование сигнала ПДТ (подтверждения), имеющего значение сигнала ПДТ; и причем каждое значение сигнала ОПДТ из множества значений сигнала ОПДТ отличается от любого другого из значений сигнала ОПДТ в упомянутом множестве на величину, которая является меньшей, чем наименьшая величина, на которую любое из упомянутых значений сигнала ОПДТ отличается от упомянутого значения сигнала ПДТ.
4. Способ по п.3, в котором упомянутые сигналы ОПДТ и ПДТ являются сложными сигналами, причем упомянутые значения сигнала ОПДТ и упомянутые значения сигнала ПДТ являются значениями фазы.
5. Способ по п.1, в котором задействование первого устройства для выполнения операции декодирования включает в себя: определение качества декодированной информации, сгенерированной посредством декодирования упомянутой кодированной информации; причем задействование первого устройства для генерирования первого сигнала ОПДТ включает в себя задействование первого устройства для выбора первого значения сигнала ОПДТ в функциональной зависимости от определенного качества декодированной информации и причем задействование первого устройства дополнительно включает в себя задействование первого устройства для передачи сгенерированного первого сигнала ОПДТ.
6. Способ по п.5, в котором определение качества декодированной информации включает в себя: поддержание статистики декодирования, указывающей надежность декодированной информации, причем упомянутая статистика декодирования указывает качество декодированной информации.
7. Способ по п.6, в котором поддержание статистики декодирования включает в себя отсчет числа обнаруженных ошибок в декодированной информации.
8. Способ по п.5, дополнительно включающий в себя: задействование первого устройства для передачи упомянутого первого сигнала ОПДТ и задействование второго устройства для: i) получения упомянутого первого сигнала ОПДТ и ii) определения из упомянутого первого значения сигнала ОПДТ количества избыточной информации для передачи на упомянутое первое устройство из различных величин избыточной информации, определяемых, по меньшей мере, для двух различных значений сигнала ОПДТ.
9. Способ по п.5, дополнительно включающий в себя: задействование первого устройства для: передачи сгенерированного первого сигнала ОПДТ; получения во втором сигнале включенной избыточной информации, соответствующей упомянутому первому полученному кодированному сигналу; выполнения дополнительной операции декодирования с использованием упомянутой избыточной информации и информации, полученной из упомянутого первого полученного сигнала; и определения, успешно ли декодировала дополнительная операция декодирования информацию кодированного сигнала, включенную в первый сигнал.
10. Способ по п.9, в котором упомянутый этап задействования первого устройства для выполнения дополнительной операции декодирования включает в себя: получение сообщения выделения канала графика от второго устройства и идентификацию из информации, включенной в упомянутое сообщение выделения канала графика, первого сигнала, которому соответствует упомянутый второй сигнал.
11. Способ по п.10, в котором упомянутое первое устройство является подвижным узлом, а упомянутое второе устройство является базовой станцией; причем информация, включенная в упомянутое сообщение выделения канала графика, используемое для идентификации первого сигнала, является индексом сегмента графика, используемого для передачи первого сигнала.
12. Способ по п.10, в котором упомянутое первое устройство является подвижным узлом, а упомянутое второе устройство является базовой станцией; и причем информация, включенная в упомянутое сообщение выделения канала графика, используемое для идентификации первого сигнала, является различием индекса канала графика, указывающим различие между индексом сегмента канала графика, связанным с сообщением выделения, и сегментом канала графика, используемым для передачи первого сигнала.
13. Способ по п.9, в котором упомянутое первое устройство является базовой станцией, а упомянутое второе устройство является подвижным узлом, и способ дополнительно включает в себя: задействование первого устройства для передачи на второе устройство сообщения выделения восходящего канала; задействование второго устройства для идентификации из информации, включенной в сообщение выделения восходящего канала, первого сигнала, для которого избыточная информация должна быть передана в сегменте восходящего канала, выделенном упомянутым сообщением выделения канала; и задействование второго устройства для передачи упомянутого второго сигнала, включающего в себя избыточную информацию.
14. Способ по п.13, в котором информация, включенная в упомянутое сообщение выделения восходящего канала, используемое для иденгификации первого сигнала, является индексом сегмента графика по восходящей линии связи, используемого для передачи первого сигнала.
15. Способ по п.13, в котором информация, включенная в упомянутое сообщение выделения канала графика, используемое для идентификации первого сигнала, является различием индекса восходящего канала графика, указывающим различие между индексом сегмента восходящего канала графика, связанного с сообщением выделения, и сегментом восходящего канала графика, используемым для передачи первого сигнала.
16. Способ по п.9, в котором упомянутый второй сигнал включает в себя, в дополнение к упомянутой избыточной информации, новую кодированную информацию и способ дополнительно включает в себя: задействование упомянутого первого устройства для декодирования упомянугой новой кодированной информации.
17. Способ по п.9, дополнительно включающий в себя: задействование первого устройства для определения, была ли информация кодированного сигнала, включенная в себя в первый сигнал, успешно декодирована упомянутой дополнительной операцией декодирования; и если определено, что упомянутая кодированная информация не была правильно декодирована упомянутой дополнительной операцией декодирования, задействование первого устройства для генерирования второго сигнала ОПДТ, имеющего одно из упомянутого множества возможных значений сигнала ОПДТ, каждое из упомянутого множества возможных значений сигнала ОПДТ соответствует различному уровню успеха декодирования, задействование первого устройства для генерирования второго сигнала ОПДТ включает в себя выбор второго значения сигнала ОПДТ в функциональной зависимости от качества декодированной информации, сгенерированной упомянутой дополнительной операцией декодирования.
18. Способ по п.1, дополнительно включающий в себя: задействование второго устройства связи для: i) выполнения операции кодирования по информации, которая должна быть передана, для выработки первого набора кодированной информации и набора избыточной информации и ii) передачи упомянутого первого набора кодированной информации в упомянутом первом сигнале.
19. Способ по п.18, в котором задействование упомянутого второго устройства связи дополнительно включает в себя задействование упомянутого второго устройства связи для: передачи в сообщении выделения канала графика, используемом для выделения сегмента канала графика, используемого для передачи упомянутого первого сигнала, индикатора, указывающего, что первый сигнал не соответствует предварительно переданному сигналу.
20. Способ по п.18, в котором задействование упомянутого второго устройства связи дополнительно включает в себя: задействование упомянутого второго устройства связи для: получения сигнала ОПДТ от упомянутого первого устройства, упомянутый сигнал ОПДТ соответствует упомянутому первому сигналу; и определение из значения полученного сигнала ОПДТ передачу какой части набора избыточной информации выполнить на упомянутое первое устройство.
21. Способ по п.20, в котором задействование упомянутого второго устройства связи для определения того, какую часть набора избыточной информации следует передать на упомянутое первое устройство, включает в себя: выбор размера части набора избыточной информации в функциональной зависимости от значения полученного сигнала ОПДТ, причем часть большего размера выбирают, когда значение сигнала ОПДТ указывает первый уровень успеха декодирования, чем когда значение сигнала ОПДТ указывает второй уровень успеха декодирования, который указывает больший успех декодирования, чем упомянутый первый уровень.
22. Способ по п.20, дополнительно включающий в себя: задействование второго устройства связи для передачи определенной части набора избыточной информации на упомянутое первое устройство во втором информационном сигнале.
23. Способ по п.22, дополнительно включающий в себя: задействование упомянутого второго устройства связи для передачи сообщения выделения, используемого для выделения сегмента канала, используемого для передачи упомянутого второго информационного сигнала, упомянутое сообщение выделения включает в себя информацию, указывающую предварительно переданный первый сигнал, которому соответствует избыточная информация, включенная во второй информационный сигнал, упомянутое сообщение выделения передают перед упомянутым вторым информационным сигналом.
24. Способ по п.22, дополнительно включающий в себя: задействование второго устройства связи для: выполнения второй операции кодирования по дополнительной информации, которая должна быть передана, для выработки второго набора кодированной информации и второго набора избыточной информации и причем задействование упомянутого второго устройства связи для передачи второго информационного сигнала включает в себя задействование второго устройства связи для включения в упомянутый второй информационный сигнал части упомянутого второго набора кодированной информации.
25. Способ по п.18, в котором упомянутая операция кодирования является операцией кодирования с низкой плотностью проверок четности.
26. Устройство связи, включающее в себя: средство для выполнения операции декодирования по первому сигналу, включающему в себя информацию кодированного сигнала; средство для определения, была ли информация кодированного сигнала, включенная в первый сигнал, успешно декодирована; и средство для генерирования первого сигнала ОПДТ (отрицательного подтверждения), имеющего одно из множества возможных значений сигнала ОПДТ, если определено, что упомянутая кодированная информация не была успешно декодирована, причем каждое из упомянутого множества возможных значений сигнала ОПДТ соответствует различному уровню успеха декодирования сигнала.
27. Устройство по п.26, в котором упомянутое средство для выполнения операции декодирования вырабатывает декодированную информацию и причем упомянутое средство для генерирования первого сигнала ОПДТ выбирает первое значение сигнала ОПДТ в функциональной зависимости от качества декодированной информации.
28. Устройство связи по п.27, дополнительно включающее в себя: передатчик, связанный с упомянутым средством для генерирования первого сигнала ОПДТ, для передачи сгенерированного первого сигнала ОПДТ; приемник для получения второго сигнала, включающего в себя избыточную информацию, соответствующую упомянутому первому полученному кодированному сигналу; и причем упомянутое средство для выполнения операции декодирования включает в себя средство для выполнения дополнительной операции декодирования с использованием упомянутой избыточной информации и информации, полученной из упомянутого первого полученного сигнала.
29. Устройство связи по п.28, дополнительно включающее в себя: средство для определения, успешно ли декодировала дополнительная операция декодирования информацию кодированного сигнала, включенную в первый сигнал; и средство для генерирования второго сигнала ОПДТ посредством выбора второго значения сигнала ОПДТ в функциональной зависимости от качества декодированной информации, сгенерированной посредством упомянутой дополнительной операцией декодирования, когда определено, что упомянутая кодированная информация не была правильно декодирована упомянутой дополнительной операцией декодирования, причем упомянутый второй сигнал ОПДТ имеет одно из упомянутого множества возможных значений сигнала ОПДТ.
30. Способ задействования устройства связи, включающий в себя: кодирование с использованием кодера информации, которая должна быть передана, для выработки первого набора кодированной информации и набора избыточной информации; передачу упомянутого первого набора кодированной информации в первом сигнале; получение сигнала ОПДТ (отрицательного подтверждения) от устройства, которому был передан упомянутый первый сигнал; и выбор части набора избыточной информации для передачи на упомянутое первое устройство в функциональной зависимости от значения полученного сигнала ОПДТ, упомянутая функциональная зависимость вызывает различные величины избыточной информации, подлежащие выбору для, по меньшей мере, двух различных возможных значений сигнала ОПДТ.
31. Способ по п.30, дополнительно включающий в себя: включение в первый сигнал выделения, используемый для выделения сегмента канала связи, используемого для передачи упомянутого первого сигнала, индикатора, указывающего, что первый сигнал не соответствует предварительно переданному сигналу; и передачу упомянутого первого сигнала выделения перед или параллельно с передачей упомянутого первого сигнала.
32. Способ по п.30, в котором выбор части набора избыточной информации, которая должна быть передана, включает в себя выбор части избыточной информации большего размера, если значение сигнала ОПДТ указывает первый уровень качества полученного кодированного сигнала, чем когда значение сигнала ОПДТ указывает второй уровень качества полученного кодированного сигнала, который лучше, чем упомянутый первый уровень качества полученного кодированного сигнала.
33. Способ по п.32, дополнительно включающий в себя: передачу второго сигнала выделения, указывающего выделение сегмента канала, который используют для передачи упомянутой выбранной части набора избыточной информации, упомянутый второй сигнал выделения включает в себя информацию, идентифицирующую сегмент канала, используемый для передачи упомянутого первого сигнала; и передачу выбранной части набора избыточной информации на упомянутое первое устройство во втором информационном сигнале.
34. Способ по п.33, дополнительно включающий в себя: выполнение второй операции кодирования по дополнительной информации, которая должна быть передана, для выработки второго набора кодированной информации и второго набора избыточной информации и причем передача второго информационного сигнала включает в себя: включение в упомянутый второй информационный сигнал части упомянутого второго набора кодированной информации.
35. Способ по п.30, в котором упомянутая операция кодирования является операцией кодирования с низкой плотностью проверок четности.
36. Устройство связи, включающее в себя: кодер для кодирования информации, которая должна быть передана для выработки первого набора кодированной информации и набора избыточной информации; передатчик для передачи упомянутого первого набора кодированной информации в первом сигнале; приемник для получения сигнала ОПДТ (отрицательного подтверждения) от устройства, на которое был передан первый сигнал; и средство для выбора части набора избыточной информации для передачи на упомянутое первое устройство в функциональной зависимости от значения полученного сигнала ОПДТ, причем упомянутая функциональная зависимость вызывает различные величины избыточной информации, подлежащие выбору для, по меньшей мере, двух различных возможных значений сигнала ОПДТ.
37. Устройство по п.36, дополнительно включающее в себя: средство для генерирования сигнала выделения, используемого для выделения сегмента канала связи, используемого для передачи упомянутого первого сигнала, причем упомянутый сигнал выделения включает в себя индикатор, указывающий, что первый сигнал не соответствует предварительно переданному сигналу; и средство для управления передачей упомянутого первого сигнала выделения перед передачей упомянутого первого сигнала.
38. Способ по п.36, в котором упомянутое средство для выбора выбирает часть набора избыточной информации, которая должна быть передана, выбирает часть первого размера, если значение сигнала ОПДТ указывает первый уровень качества полученного кодированного сигнала, причем упомянутая часть первого размера является частью большего размера избыточной информации, чем часть второго размера, которая выбрана посредством упомянутого средства для выбора, если значение сигнала ОПДТ указывает второй уровень качества полученного кодированного сигнала, который лучше, чем упомянутый первый уровень качества полученного кодированного сигнала.
РИСУНКИ
|
|