|
|
(21), (22) Заявка: 2007127490/28, 19.07.2007
(24) Дата начала отсчета срока действия патента:
19.07.2007
(46) Опубликовано: 20.04.2009
(56) Список документов, цитированных в отчете о поиске:
SU 572591 A1, 15.09.1977. RU 2005943 C1, 15.01.1994. GB 2335480, 22.09.1999. Справочник по средствам автоматики / Б.И.Филиппович, А.П.Шарыгин, В.А.Царьков и др. Под ред. В.Э.Низе и И.В.Антика. – М.: Энергоиздат, 1983, с.411.
Адрес для переписки:
125993, Москва, ул. Часовая, 22/2, (РГОТУПС)
|
(72) Автор(ы):
Луков Николай Михайлович (RU), Ромашкова Оксана Николаевна (RU), Космодамианский Андрей Сергеевич (RU), Алейников Игорь Аркадьевич (RU), Андреев Артем Владимирович (RU)
(73) Патентообладатель(и):
Государственное образовательное учреждение высшего профессионального образования “Российский государственный открытый технический университет путей сообщения” (РГОТУПС) (RU)
|
(54) ЭЛЕКТРОПНЕВМАТИЧЕСКИЙ ПРЕОБРАЗОВАТЕЛЬ
(57) Реферат:
Изобретение относится к области электропневмоавтоматики, в частности к автоматическим системам, в которых применяются преобразователи электрического сигнала постоянного или переменного тока в пневматический. Электропневматический преобразователь содержит обмотку электромагнита, подключенную к усилителю, якорь электромагнита, механопневматический преобразователь и датчик температуры обмотки. Усилитель подключен к выходу микропроцессорного контроллера, к входам которого подключены блок управления преобразователем и датчик температуры обмотки. Якорь электромагнита опирается на мембранную головку, лежащую на мембране и имеющую соединенное с атмосферой верхнее выпускное седло регулирующего двухседельного клапана, поддерживаемого пружиной, нижнее впускное седло которого закреплено в перегородке, разделяющей корпус механопневматического преобразователя на камеру давления питания, закрываемую нижним впускным клапаном, и камеру выходного давления, закрываемую верхним выпускным клапаном и мембраной. Техническим результатом изобретения является упрощение конструкции, повышение точности и надежности. 2 з.п. ф-лы, 3 ил.
Область техники, к которой относится изобретение
Предлагаемое изобретение относится к области электропневмоавтоматики, в частности к автоматическим системам, в которых применяются преобразователи электрического сигнала постоянного или переменного тока в пневматический.
Уровень техники
Известен ряд преобразователей того же назначения (аналогов), совокупность признаков которых сходна с совокупностью существенных признаков предполагаемого изобретения.
Известны электропневматические преобразователи [Справочник по средствам автоматики / Б.И.Филиппович, А.П.Шарыгин, В.А.Царьков и др. Под ред. В.Э.Низе и И.В.Антика. – М.: Энергоиздат, 1983, с.409-413], содержащие электромеханический и механопневматический преобразователи, соединенные последовательно. Электромеханические преобразователи выполняются с применением различных физических эффектов: магнитоэлектрических, электромагнитных, электромашинных и др. Механопневматический преобразователь состоит из междроссельной камеры, ограниченной двумя пневматическими дросселями – постоянным и переменным (или двух переменных), один из которых служит для подвода давления сжатого воздуха, а другой – для стравливания воздуха в атмосферу. Таким образом, эти механопневматические преобразователи являются преобразователями расходного типа. Механическое перемещение, создаваемое электромеханическим преобразователем, используется для управления степенью открытия одного или двух переменных дросселей, в качестве которых обычно используется элемент типа сопло – заслонка или сопло – шарик.
Для построения аналоговых электропневматических преобразователей обычно используются компенсационные схемы, обеспечивающие стабильность преобразования, но из-за конструктивной сложности, присущей таким устройствам, стремятся использовать преобразователи прямого преобразования. [Справочник по средствам автоматики / Б.И.Филиппович, А.П.Шарыгин, В.А.Царьков и др. Под ред. В.Э.Низе и И.В.Антика. – М.: Энергоиздат, 1983, с.410]. Для конструкций электропневматических преобразователей прямого преобразования характерна зависимость выходного сигнала от колебаний давления питания и окружающих условий, прежде всего от температуры [Справочник по средствам автоматики / Б.И.Филиппович, А.П.Шарыгин, В.А.Царьков и др. Под ред. В.Э.Низе и И.В.Антика. – М.: Энергоиздат, 1983, с.411].
Сущность изобретения
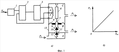
Электропневматический преобразователь содержит (Фиг.1. Электропневматический преобразователь с прямо пропорциональной зависимостью давления воздуха на выходе от тока в обмотке электромагнита: а – принципиальная блок-схема; б – статическая характеристика) блок управления 1, подключенный к микропроцессорному контроллеру 2, подключенному к усилителю 3, питающему обмотку 4 электромагнита, температура которой измеряется датчиком температуры 5, также подключенным к микропроцессорному контроллеру 2; якорь 6 электромагнита опирается на мембранную головку 7, лежащую на мембране 8 и имеющую верхнее выпускное седло 9 регулирующего двухседельного клапана 10, поддерживаемого поддерживающей пружиной 12, нижнее впускное седло 11 которого закреплено в перегородке, разделяющей корпус 13 электропневматического преобразователя на две камеры: камеру А давления питания, закрываемую нижним впускным клапаном, и камеру В выходного давления, мембранная головка 7 имеет канал выхода воздуха в камеру С, соединенную с атмосферой. На фиг.1 Хвх – входной сигнал, P1 – давление питания, P2 – давление воздуха на выходе электропневматического преобразователя, Р3 – давление воздуха, равное атмосферному.
С целью регулирования давления на выходе электропневматического преобразователя (в рабочем воздухопроводе) в обратно пропорциональной зависимости от тока в обмотке электромагнита (Фиг.2. Электропневматический преобразователь с обратно пропорциональной зависимостью давления воздуха на выходе от тока в обмотке электромагнита: а – принципиальная блок-схема; б – статическая характеристика) на якорь 6 электромагнита опирается измерительная пружина 14, затяжка которой может изменяться регулировочным винтом 15.
Для уменьшения влияния сил трения и повышения тем самым точности преобразования сигналов в электропневматическом преобразователе (фиг.3. Принципиальная блок-схема электропневматического преобразователя с уменьшенным влиянием сил трения на его характеристики) якорь 6 электромагнита подвешен на двух плоских пружинах 16.
Таким образом, электропневматический преобразователь состоит из электромеханического преобразователя, содержащего элементы 1-6, и механопневматического преобразователя, содержащего элементы 7-16. Механопневматический преобразователь является преобразователем безрасходного типа, так как принцип его действия основан не на зависимости выходного давления от соотношения расходов воздуха через дроссели, а на принципе уравновешивания (компенсации) сил, действующих в нем. В предлагаемом электропневматическом преобразователе отсутствуют перемещения, определяющие характеристику преобразователя. В нем также уменьшено влияние сил трения на характеристики. Он обладает большей простотой конструкции, более высокой точностью преобразования сигналов и большей надежностью, чем известные электропневматические преобразователи.
Электропневматический преобразователь работает следующим образом.
При установившемся режиме, то есть при постоянном значении входных сигналов Хвх блока управления 1, датчика 5 температуры обмотки 4 электромагнита и тока IК в обмотке 4, сила давления FЭ электромагнита на якоре 6 электромагнита постоянна, воздействует на мембранную головку 7 и уравновешивается силой FМ давления воздуха Р2 на выходе электропневматического преобразователя на мембрану 8. При этом FМ=FЭ, а давление P2=FЭ/SМ, где SМ – эффективная площадь мембраны 8. Ток IK в обмотке катушки 4 определяется входными сигналами Хвх блока управления 1 и датчика 5 температуры обмотки 4.
При увеличении выходного сигнала блока управления 1 увеличиваются ток IК2 в обмотке и сила электромагнита FЭ, которая становится больше силы FМ. Под действием усилия, равного разности сил FЭ и FM, мембрана 8 прогибается вниз, регулирующий двухседельный клапан 10 открывает нижнее впускное седло 11. Воздух из камеры А поступает через нижнее впускное седло 11 в камеру В и давление Р2 на выходе электропневматического преобразователя увеличивается. При этом увеличивается сила FM и при достижении ею значения, равного FЭ, мембранная головка 7 поднимается и регулирующий двухседельный клапан 10 закрывает нижнее впускное седло 11. Давление Р2 становится постоянным и равным FЭ/SМ.
При уменьшении выходного сигнала блока управления 1 уменьшаются ток IK в обмотке катушки 2 и сила электромагнита FЭ, которая становится меньше силы FM. Под действием усилия, равного разности сил FM и FЭ, мембрана 8 прогибается вверх, регулирующий двухседельный клапан 10 открывает верхнее выпускное седло 9. Воздух из камеры В поступает через верхнее выпускное седло 6 в камеру С, то есть в атмосферу, и давление Р2 на выходе электропневматического преобразователя уменьшается. При этом уменьшается сила FM, и при достижении ею значения, равного FЭ мембранная головка 7 опускается и регулирующий двухседельный клапан 10 закрывает верхнее выпускное седло 9. Давление Р2 становится постоянным и равным FЭ/SМ.
Таким образом, электропневматический преобразователь работает на принципе уравновешивания (компенсации) сил, действующих в нем: силы якоря 6 электромагнита FЭ, силы давления воздуха Р2 на мембрану 8 и мембранную головку 7 FМ и силы измерительной пружины FП. Кроме этих основных сил есть еще сила действия на регулирующий двухседельный клапан 10 поддерживающей пружины 12 и силы веса якоря 6 электромагнита и измерительной пружины 14. Однако эти последние три силы малы, постоянны и не оказывают влияния на характеристики электропневматического преобразователя.
При постоянном значении тока IK в обмотке 4 давление Р2 поддерживается постоянным. Утечки воздуха в рабочем воздухопроводе уменьшают силу FM и равенство FM=FЭ нарушается. Восстановление равновесия сил происходит так же, как и при увеличении тока IK в обмотке 4.
Таким образом, при увеличении тока IK в обмотке 4 давление Р2 на выходе электропневматического преобразователя увеличивается (см. фиг.1, б).
В случае применения в электропневматическом преобразователе измерительной пружины 14 и регулировочного винта 15 (см. фиг.2) при токе IК в обмотке 4, равном нулю, сила FЭ=0 и давление на выходе электропневматического преобразователя P2=FП1/SМ, где FП1 – сила затяжки измерительной пружины 14, которая посредством якоря 6 электромагнита воздействует на мембранную головку 7. При увеличении тока IK в обмотке 4 (но уже обратного направления, чем в первом случае) сила FЭ увеличивается, сила давления якоря 6 электромагнита на мембранную головку 7 FM уменьшается, так как FМ=FП1-FЭ, и давление Р2 на выходе электропневматического преобразователя уменьшается. Таким образом, при увеличении тока IK в обмотке 4 (но уже обратного направления, чем в первом случае) давление Р2 на выходе электропневматического преобразователя не увеличивается, а уменьшается (см. фиг.2, б).
При изменении температуры обмотки 4 электромагнита, но при постоянном значении выходного сигнала блока управления 1 микропроцессорный контроллер 2 изменяет входной сигнал усилителя 3 таким образом, чтобы значение тока IK в обмотке 4 всегда соответствовало значению выходного сигнала блока управления 1. Таким образом компенсируется влияние температуры обмотки 4 на статическую характеристику электропневматического преобразователя Р2=f(Xвх).
Технический результат, который может быть получен при осуществлении предлагаемого изобретения
Технический результат заключается в обеспечении пропорциональной зависимости давления воздуха на выходе преобразователя от выходного сигнала блока управления независимо от колебания давления перед ним, утечек в рабочем воздухопроводе, температуры воздуха и других факторов.
Технический результат достигается за счет того, что электропневматический преобразователь, содержащий обмотку электромагнита, подключенную к усилителю, якорь электромагнита, механопневматический преобразователь и датчик температуры обмотки, отличается тем, что усилитель подключен к выходу микропроцессорного контроллера, к входам которого подключены блок управления преобразователем и датчик температуры обмотки, якорь электромагнита опирается на мембранную головку, лежащую на мембране и несущую соединенное с атмосферой верхнее выпускное седло регулирующего двухседельного клапана, поддерживаемого поддерживающей пружиной, нижнее впускное седло которого закреплено в перегородке, разделяющей корпус механопневматического преобразователя на две камеры: камеру давления питания, закрываемую нижним впускным клапаном, и камеру выходного давления, закрываемую верхним выпускным клапаном и мембраной.
С целью регулирования давления на выходе электропневматического преобразователя в обратно пропорциональной зависимости от тока в обмотке электромагнита на якорь электромагнита опирается измерительная пружина, затяжка которой может изменяться регулировочным винтом.
С целью повышения точности преобразования сигналов за счет уменьшения сил трения в электропневматическом преобразователе якорь электромагнита подвешен на двух плоских пружинах.
Электропневматический преобразователь является преобразователем безрасходного типа, так как принцип его действия основан не на зависимости выходного давления от соотношения расходов воздуха через дроссели, а на принципе уравновешивания (компенсации) сил, действующих в нем. В предлагаемом электропневматическом преобразователе отсутствуют перемещения, определяющие характеристику преобразователя. В нем также уменьшено влияние сил трения на характеристики. Он обладает большей простотой конструкции, более высокой точностью преобразования сигналов и большей надежностью, чем известные электропневматические преобразователи.
Перечень фигур
Фиг.1. Электропневматический преобразователь с прямо пропорциональной зависимостью давления воздуха на выходе от тока в обмотке электромагнита: а – принципиальная блок-схема; б – статическая характеристика.
Фиг 2. Электропневматический преобразователь с обратно пропорциональной зависимостью давления воздуха на выходе от тока в обмотке электромагнита: а – принципиальная блок-схема; б – статическая характеристика.
Фиг 3. Принципиальная блок-схема электропневматического преобразователя с уменьшенным влиянием сил трения на его характеристики.
Формула изобретения
1. Электропневматический преобразователь, содержащий обмотку электромагнита, подключенную к усилителю, якорь электромагнита, механопневматический преобразователь и датчик температуры обмотки, отличающийся тем, что усилитель подключен к выходу микропроцессорного контроллера, к входам которого подключены блок управления преобразователем и датчик температуры обмотки, якорь электромагнита опирается на мембранную головку, лежащую на мембране и имеющую соединенное с атмосферой верхнее выпускное седло регулирующего двухседельного клапана, поддерживаемого пружиной, нижнее впускное седло которого закреплено в перегородке, разделяющей корпус механопневматического преобразователя на две камеры: камеру давления питания, закрываемую нижним впускным клапаном, и камеру выходного давления, закрываемую верхним выпускным клапаном и мембраной.
2. Электропневматический преобразователь по п.1, отличающийся тем, что на якорь электромагнита опирается измерительная пружина, затяжка которой может изменяться регулировочным винтом.
3. Электропневматический преобразователь по п.1, отличающийся тем, что якорь электромагнита подвешен на двух плоских пружинах.
РИСУНКИ
|
|