|
|
(21), (22) Заявка: 2006128903/28, 09.08.2006
(24) Дата начала отсчета срока действия патента:
09.08.2006
(30) Конвенционный приоритет:
11.08.2005 JP 2005-233514
(43) Дата публикации заявки: 20.02.2008
(46) Опубликовано: 20.04.2009
(56) Список документов, цитированных в отчете о поиске:
US 6072529 A, 06.06.2000. JP 2004007137 A, 08.01.2004. US 5453784 A, 26.09.1995. JP 9289600 A, 04.11.1997. JP 2000307937 A, 02.11.2000. US 6449004 А, 10.09.2002.
Адрес для переписки:
127006, Москва, ул. Долгоруковская, 7, Садовая Плаза, 11 этаж, фирма “Бейкер и Макензи”, пат. пов. В.М.Угрюмову, рег. 816
|
(72) Автор(ы):
ИНАБА Минору (JP)
(73) Патентообладатель(и):
ИНАБА Минору (JP)
|
(54) ЦИФРОВАЯ ФОТОКАМЕРА
(57) Реферат:
Цифровая фотокамера содержит основание, смонтированное с элементом восприятий изображения, прижимаемое к передней поверхности или к задней поверхности корпуса фотокамеры прижимным элементом. При этом положение основания регулируется так, что изображение, проецируемое посредством фотографического объектива, попадает на элемент восприятия изображения. Тем самым перспектива может быть визуально проверена и отрегулирована на электронном дисплее перед фотографированием. Также заявленная камера содержит пылезащитную пластину между объективом и корпусом фотокамеры. Технический результат: улучшенное управление перспективой, исключение попадания пыли в камеру при смене объектива. 3 н. и 1 з.п. ф-лы, 9 ил.
Область изобретения
Настоящее изобретение относится к цифровой фотокамере, и в частности к цифровой фотокамере с функцией управления перспективой, которая изменяет перспективу изображения и регулирует обзор на электронном дисплее, чтобы сфотографировать это изображение, и предотвращает налипание пыли на элемент восприятия изображения.
Уровень техники
Как показано на фиг.7А, в случае, когда фотокамерой 72 пытаются сфотографировать весь такой объект 71, как высокое здание, когда используемая фотокамера 72 является обычной фотокамерой, оптическая ось L фотографического объектива 73 по необходимости направлена вверх. Фиг.7В иллюстрирует случай, где относительное соотношение положений между фотокамерой 72 и объектом 71, показанными на фиг.7А, постоянно, и оптическая ось L фотографического объектива 73 горизонтальна. Как ясно из фиг.7В, изображение объекта 71, фотографируемого в таком состоянии, выглядит наклоненным назад.
Фиг.8 представляет собой один пример, который получается схематизацией картины, фотографируемой в состоянии фиг.7А и 7В. К примеру, в случае, когда объектом 71 является дом-башня или тому подобное с постоянной шириной, вытянутое в направлении вверх-вниз, верхняя часть этого объекта 71 (удаленная часть) выглядит более узкой, а нижняя часть (ближняя часть) выглядит более широкой. Далее, вест объект 71 выглядит наклоненным назад, а дома-башни справа и слева на фиг.8 выглядят наклоненными внутрь.
Для того чтобы решить проблему деформации объекта из-за перспективы, предложена цифровая фотокамера, которая осуществляет цифровую коррекцию посредством процессора, который сохраняет сфотографированные изображения в фотокамере (см., например, выложенную заявку на патент Японии 2002-335438 (патентный документ 1)).
Однако обычный пример, раскрытый в патентном документе 1, содержит следующую проблему. Вообще говоря, во-первых, работа фотокамеры становится очень усложненной. Во-вторых, когда перспектива управляется последующей обработкой, частота импульсов частично изменяется, и тем самым качество изображения вследствие этого ухудшается. В-третьих, поскольку изображение, подлежащее отображению на мониторе во время фотографирования, является нескорректированным изображением, окончательно кадр или тому подобное нельзя проверить во время фотографирования. Далее, законченное состояние после последующей обработки нельзя отображать во время фотографирования. Если фотографирование неудачно, коррекцию в большинстве случаев нельзя получить последующей обработкой. По этим причинам не следует управлять перспективой с помощью электроники при последующей обработке за исключением удаления в непредвиденной ситуации (неудачная картинка сохраняется).
Управление перспективой может осуществляться, как показано на фиг.9, размещением поверхности пленки (элемента восприятия изображения) 92 параллельно поверхности объекта 71 и перемещением оптической оси L фотографического объектива 93 в вертикальном направлении в таких пределах, что объект удовлетворительно изображается в кадре изображения на пленке 92, чтобы регулировать положение. Это управление перспективой уже делается в просмотровых фотокамерах или тому подобном, это описывается в абзацах [0003]-[0004] в патентном документе 1.
В случае модернизированных фотокамер, однако, управление перспективой постепенно становится затруднительным, а потому фактически опускается. К примеру, в фотокамерах с видоискателем управление перспективой затрудняется, и от него отказываются. Управление перспективой возрождается в зеркальных фотокамерах с единственным объективом, но поскольку должны использоваться конкретные объективы, они становятся очень дорогими и непрактичными (см. абзац [0003] в патентном документе 1).
Между тем, на рынок поступают цифровые фотокамеры со сменными объективами. Наибольшая проблема цифровых фотокамер со сменными (присоединяемыми-отделяемыми) объективами состоит в том, что на элементы восприятия изображения налипает пыль, но некоторые из таких фотокамер на рынке имеют такую конструкцию, что предусмотренный прямо перед элементом восприятия изображения фильтр нижних частот и т.п. вибрирует на ультразвуковой частоте посредством кварцевого резонатора, так что пыль, налипшая на этот фильтр, стряхивается, и эта пыль собирается с помощью чувствительного к давлению клея, так что предотвращается улетучивание этой пыли. Далее, на некоторые рынки поступают цифровые фотокамеры, снабженные очистителем для очистки элементов восприятия изображения. Эти фотокамеры, однако, не имеют полной пылезащитной функции.
Объективы для управления перспективой в зеркальных фотокамерах с единственным объективом очень дороги, и их положение может регулироваться лишь в одном направлении из-за их конструкции. Если же, однако, показанное на фиг.7А состояние является видом сверху, регулировка положения необходима также для горизонтального направления (направление вправо-влево). Во многих случаях фотографирования положения действительно следует регулировать в обоих направлениях: вверх-вниз, т.е. в вертикальном направлении (продольном направлении) и вправо-влево, т.е. в горизонтальном направлении (поперечном направлении), которое перпендикулярно вертикальному направлению. В случае зеркальных фотокамер с единственным объективом, поскольку положение может регулироваться только в единственном направлении, окрестность установочной базовой части объектива может поворачиваться. Поэтому при реальном фотографировании нелегко определить конечное положение.
Чтобы реализовать состояние, показанное на фиг.9, оптическая ось объектива может быть сконструирована так, чтобы она могла перемещаться по отношению к пленке или к центру элемента восприятия изображения. Поэтому легче, чтобы оптическая ось объектива фиксировалась на фотокамере, а перемещался элемент восприятия изображения. В случае зеркальных фотокамер с единственным объективом необходимо, однако, чтобы соотношение положений между экраном фотографирования пленки или элементом восприятия изображения и фокусирующей линзой для наблюдения состояния фотографирования было таким эквивалентным положением, чтобы они, к примеру, были симметричны при 90° (в том числе иногда и при углах, отличных от 90°). По этой причине в действительности невозможно, чтобы пленка или элемент восприятия изображения перемещались, дабы осуществлять управление перспективой.
Недавние электронные дисплеи имеют исключительно высокое разрешение, и оптические видоискатели можно для практического применения заменить электронными видоискателями. Поэтому электронный видоискатель освобождается от конструкции, в которой он устанавливает постоянное соотношение с элементом восприятия изображения в месте установки фотокамеры. По этой причине фотографический объектив фиксируется, а элемент восприятия изображения перемещается перпендикулярно относительно оптической оси фотографического объектива, так что управление перспективой становится практичным.
С помощью, в особенности, ферроэлектрического жидкого кристалла, который разработан недавно, схема формируется непосредственно на кремнии, причем реализуется шаг пикселов 10 мкм и разрешение 2500 dpi (dots per inch – точек на дюйм), а светосила объектива высока, так что ячейки между пикселами едва заметны. Далее, поскольку способность реагировать очень высокая (от 100 до 10 мс, что примерно в 1000 раз выше, чем у традиционных жидкокристаллических дисплеев), становится возможным дисплей с разделением времени (высокочастотное разделение времени не вызывает цветового разрыва в движущихся изображениях), и эти характеристики синтезируются так, что реализуются сверхминиатюрный размер и высокое разрешение. Поскольку же ферроэлектрические микродисплеи имеют очень малый размер, эти дисплеи нельзя просматривать непосредственно, а потому их увеличивают для просмотра посредством окулярных увеличительных стекол.
Однако цифровые фотокамеры функцией управления перспективой вызывают затруднение на стадиях проектирования и изготовления. Это потому, что для перемещения элемента восприятия изображения в постоянное положение обычно нужна направляющая, и в этом случае даже очень маленькая направляющая требует расходов и человеко-часов.
Когда реально пытаются сконструировать элемент восприятия изображения, чтобы он был способен перемещаться и регулироваться по отдельности в продольном и поперечном направлениях, необходимы направляющие с двумя ярусами в направлении, перпендикулярном к продольному и поперечному направлениям. Далее, нужно установить элемент восприятия изображения на двойной ползунок, встроенный в основной корпус фотокамеры, имеющий герметичную конструкцию, и обеспечить возможность перемещать и регулировать элемент восприятия изображения независимо в продольном и поперечном направлениях. В этом случае необходимо установить элемент восприятия изображения так, чтобы он не перемещался ошибочно из-за внешнего удара или тому подобного во время фотографирования, а вследствие этого конструкция становится усложненной.
В обычных фотокамерах уже воплощено, что на фокусирующем стекле напечатаны или вырезаны сеточные линии, и изображение проверяется визуально. В состоянии, когда структурный контур определяется во время фотографирования, сеточные линии не сопрягаются с изображением в позициональном отношении, так что трудно наблюдать состояние перспективы.
Чтобы получить управление перспективой, область изображения фотографического объектива требует поле, но большинство современных зеркальных фотокамер с единственным объективом сконструированы так, чтобы можно было обмениваться объективами с традиционными фотокамерами, использующими пленки на галоидном серебре. Далее, большинство зеркальных фотокамер с единственным объективом используют элементы восприятия изображения, площадь которых меньше, чем стандартный формат 24 мм × 36 мм традиционных пленок на галоидном серебре, зато удобно, что вышеуказанные объективы и элементы восприятия изображения объединяются для использования. Это потому, что область изображения фотографического объектива имеет поле, и во всех заменяемых объективах обеспечивается возможность управления перспективой.
Однако даже если область изображения имеет поле, очень трудно выполнить управление перспективой в конструкции традиционных зеркальных фотокамер с единственным объективом, а зеркальные цифровые фотокамеры с единственным объективом (с возможностью обмениваться объективами) имеют другую проблему. Эта проблема состоит в том, что в эти фотокамеры во время прикрепления-отсоединения объективов попадает пыль, которая прилипает к элементам восприятия изображения.
Для того чтобы решить вышеуказанную проблему, фотокамеры, в которых прямо перед элементами восприятия изображений предусмотрены низкочастотный фильтр и т.п., вибрируют в ультразвуковом диапазоне, так что пыль стряхивается, а на рынок поступают и фотокамеры, в которых пыль очищается очистителем. Хотя конструкции становятся усложненными и стоимость их изготовления высока, реальный эффект удаления пыли несовершенен.
Сущность изобретения
Цель настоящего изобретения состоит в обеспечении цифровой фотокамеры, которая способна визуально проверять и регулировать перспективу изображения на электронном дисплее перед фотографированием и надежно предотвращать прилипание пыли к поверхности фильтра в недорогой и простой конструкции.
Настоящее изобретение предлагается для достижения вышеуказанной цели. Настоящее изобретение по первому аспекту обеспечивает цифровую фотокамеру, которая визуально проверяет на электронном дисплее изображение, попадающее на элемент восприятия изображения, и одновременно управляет перспективой, чтобы фотографировать это изображение, и которая сконструирована таким образом, что основание восприятия изображения, смонтированное с элементом восприятия изображения, прижимается к передней поверхности или к задней поверхности корпусной рамы фотокамеры прижимным элементом, таким как пластинчатая пружина, и выполнено так, что его положение можно регулировать независимо в продольном направлении и в поперечном направлении, перпендикулярных к оптической оси фотографического объектива, а положение основания восприятия изображения регулируется так, что спроецированное посредством фотографического объектива изображение попадает на элемент восприятия изображения, и тем самым перспектива может визуально проверяться и регулироваться на электронном дисплее перед фотографированием.
Согласно этой конструкции, когда фотографируется такой объект, как дом-башня, положение основания восприятия изображения предварительно регулируется по отношению к корпусу фотокамеры так, что изображение, проецируемое фотографическим объективом, попадает на элемент восприятия изображения. То есть основание восприятия изображения перемещается в произвольные положения в продольном направлении и в поперечном направлении, чтобы найти положение. Элемент восприятия изображения, установленный на основании восприятия изображения, регулируется поэтому независимо в желательные положения в продольном и поперечном направлениях, которые перпендикулярны друг другу в направлении, вертикальном к оптической оси фотографического объектива. Поэтому после того, как фотограф заранее визуально проверяет и регулирует перспективу изображения на электронном дисплее, фотограф фотографирует такой объект, как дом-башня.
Изобретение по второму аспекту обеспечивает цифровую фотокамеру, зависимую от первого аспекта, т.е. построенную таким образом, что вертикальные линии и горизонтальные линии в качестве указательных линий отображаются в качестве программного отображения на электронном дисплее, вертикальные и горизонтальные линии выполняются так, чтобы они могли перемещаться независимо в горизонтальном направлении и в вертикальном направлении электронного дисплея, и вертикальные линии и горизонтальные линии сопрягаются с заранее заданными положениями по отношению к изображению на электронном дисплее, так что состояние перспективы можно визуально проверить и регулировать.
Согласно этой конструкции изображение объекта, воспринимаемого элементом восприятия изображения, отображается как изображение видоискателя, и вертикальная линия и горизонтальная линия в качестве указательных линий отображаются как программное отображение на электронном дисплее. Вертикальных линий и горизонтальных линий может быть одна или множество. Вертикальная линия и горизонтальная линия перемещаются по отдельности в произвольное положение в горизонтальном направлении и в произвольное положение в вертикальном направлении по всей поверхности электронного дисплея, чтобы отображаться специальными рабочими секциями дисплея. В результате указательные линии сопрягаются с положениями изображения видоискателя, и перспектива изображения визуально проверяется и регулируется.
Изобретение по третьему аспекту обеспечивает цифровую фотокамеру, зависимую от первого или второго аспекта, которая сконструирована таким образом, что объектив этой цифровой фотокамеры может заменяться, и между сменяемым объективом и корпусом фотокамеры установлена пылезащитная пластина, которая герметизирует внутренность фотокамеры, так что пыль не прилипает к поверхности элемента восприятия изображения в корпусе фотокамеры.
Согласно этой конструкции между сменяемым объективом и корпусом фотокамеры предусмотрена пылезащитная пластина, такая как стеклянная пластина или пластмассовая пластина, так что корпус фотокамеры сформирован таким, что он имеет герметичную конструкцию. В результате, во время смены (присоединения-отделения) объектива предотвращается попадание пыли в корпус фотокамеры. Поэтому предотвращается прилипание пыли к поверхности элемента восприятия изображения, содержащегося в корпусе фотокамеры.
Изобретение по четвертому аспекту обеспечивает цифровую фотокамеру, зависимую от первого, второго или третьего аспекта, которая сконструирована таким образом, что на боковой стенке корпуса фотокамеры образована отдушина, которая связана с внешней средой, на внутренней части корпуса фотокамеры, соответствующей отдушине, предусмотрен гибкий разделительный элемент, так что давление между внутренностью основного корпуса фотокамеры и внешней средой различно, и эта разность давлений уменьшается отклонением гибкого разделительного элемента.
Согласно этой конструкции, когда между внутренностью основного корпуса фотокамеры и внешней средой появляется разность давлений, гибкий разделительный элемент, такой как диафрагма, цилиндрический сильфон с закрытым концом или пластмассовая пленка, отклоняется, так что разность давлений уменьшается насколько возможно или устраняется.
В изобретении по первому аспекту, когда фотографируется такой объект, как дом-башня, после того как перспектива изображения предварительно наблюдается и регулируется в оптическое состояние на электронном дисплее, такой объект, как дом-башня может быть сфотографирован. По этой причине цифровая фотокамера может быть выполнена так, чтобы иметь простую конструкцию, когда предотвращается деформация объекта и удовлетворительная картинка может быть получена надежно и легко. Далее, эта фотокамера не требует специального объектива и является недорогой и практичной. Конечное положение можно легко определить в этой фотокамере во время реального фотографирования.
В изобретении по второму аспекту указательные линии сопрягаются с заранее заданными положениями изображения видоискателя на электронном дисплее, а перспектива визуально проверяется и регулируется. По этой причине, в дополнение к эффекту изобретения по первому аспекту, перспективу изображения можно визуально проверять и точно, легко и быстро регулировать.
В изобретении по третьему аспекту можно предотвратить налипание пыли к поверхности элемента восприятия изображения в корпусе фотокамеры. По этой причине, в дополнение к эффекту изобретения по первому или второму аспекту, можно предотвратить неточное фотографирование из-за налипания пыли на поверхность элемента восприятия изображения, так что всегда стабильно можно получить удовлетворительную картинку.
В изобретении по четвертому аспекту разность давлений между внутренностью основного корпуса фотокамеры и внешней средой быстро уменьшается гибким разделительным элементом. По этой причине, в дополнение к эффекту от первого, второго или третьего аспекта, даже в случае, когда разность давлений между внутренностью основного корпуса фотокамеры, имеющего герметичную конструкцию, и атмосферным воздухом велика из-за изменения температуры, изменения высоты и иных погодных условий, к гибкому разделительному элементу не прикладывается большое усилие, так что может быть получен удовлетворительный эффект предотвращения конденсации влаги.
Краткое описание чертежей
Фиг.1 представляет собой вид в разрезе цифровой фотокамеры согласно одному варианту осуществления настоящего изобретения.
Фиг.2 представляет собой вид в перспективе одного примера электронного дисплея цифровой фотокамеры согласно настоящему изобретению.
Фиг.3 представляет собой вид в разрезе, иллюстрирующий структурный пример, в котором пылезащитная пластина прикреплена к основному корпусу фотокамеры согласно настоящему изобретению.
Фиг.4 является примерной схемой, иллюстрирующей полученное состояние спроецированного посредством фотографического объектива изображения согласно настоящему изобретению.
Фиг.5 представляет собой вид в разрезе, иллюстрирующий структурный пример, где цилиндрический сильфон с закрытым концом установлен в фотокамере согласно настоящему изобретению.
Фиг.6 представляет собой вид в разрезе, иллюстрирующий структурный пример, где гибкая тонкая пластина установлена в фотокамере согласно настоящему изобретению.
Фиг.7А является пояснительной схемой, иллюстрирующей традиционный пример такого изображения, как высокое сооружение.
Фиг.7В является пояснительной схемой, иллюстрирующей традиционный пример изображения, отображаемого при горизонтальном положении оптической оси фотографического объектива на фиг.7А.
Фиг.8 является пояснительной схемой, полученной схематизацией картинки, сфотографированной в состоянии по фиг.7.
Фиг.9 является пояснительной схемой управления перспективой, где поверхность пленки параллельна поверхности объекта согласно традиционному примеру.
Подробное описание предпочтительных вариантов осуществления
Цель состоит в получении недорогой цифровой фотокамеры с простой конструкцией, в которой перспектива наблюдается и соответствующим образом регулируется перед фотографированием, и предотвращается искажение такого изображения, как высокие здания, так что получается удовлетворительная картинка. Эта цель реализуется тем, что обеспечивается механизм управления перспективой, который перемещает элемент восприятия изображения в направлении по вертикали к оптической оси фотографического объектива и в продольном и поперечном направлениях, которые перпендикулярны друг другу, чтобы регулировать элемент восприятия изображения. В наилучшем варианте осуществления настоящего изобретения цифровая фотокамера включает в себя механизм, регулирующий положение в продольном направлении, и механизм, регулирующий положение в поперечном направлении, которые надавливают, чтобы прижимать основание восприятия изображения, смонтированное с элементом восприятия изображения, прижимаемым к передней поверхности или к задней поверхности рамы (корпусной рамы) в основном корпусе фотокамеры прижимным элементом, таким как пластинчатая пружина или тому подобное, и независимо перемещать основание восприятия изображения в продольном направлении и поперечном направлении этого основания восприятия изображения. В результате положение элемента восприятия изображения можно регулировать, так что изображение, спроецированное фотографическим объективом, изображается в заранее заданном положении на элементе восприятия изображения.
Основание восприятия изображения, смонтированное с элементом восприятия изображения, устанавливается на раме основного корпуса фотокамеры с возможностью скольжения, и на обоих краях основания восприятия изображения устанавливается зубчатая рейка. Зубчатые рейки могут перемещаться и регулироваться одним трибом, и в этом случае удерживается позиция основания восприятия изображения, и положение основания восприятия изображения в продольном направлении триба свободно.
Аналогично зубчатая рейка и триб предусматриваются на одном краю в направлении, перпендикулярном вышеуказанным зубчатым рейкам и трибу, и положение основания восприятия изображения в направлении, перпендикулярном вышеупомянутому направлению, можно регулировать в свободное положение этими предусмотренными зубчатой рейкой и трибом. Поэтому положение элемента восприятия изображения, смонтированного на основании восприятия изображения, регулируется так, что можно регулировать перспективу изображения.
Устройство управления перспективой можно сконструировать по механическому принципу, чтобы оно было способно перемещать и регулировать элемент восприятия изображения вышеописанным образом, но его состояние регулирования должно легко и визуально проверяться. В этом случае, когда, к примеру, объектом является здание, при определении, регулируется ли перспектива, все вертикальные линии изображения должны быть параллельны. Далее, все горизонтальные линии должны быть параллельны в зависимости от фотографируемой сцены. Излишне говорить, что поскольку картинка представляет собой один из видов изображения, настоящее изобретение не всегда ограничивается этим.
В традиционной зеркальной фотокамере с единственным объективом на фокусирующем стекле напечатана (выгравирована) сетка, но, поскольку эта сетка на фокусирующем стекле фиксирована, сетка по большей части не совпадает с вертикальными линиями или горизонтальными линиями изображения такого объекта, как здание. Это затрудняет точную регулировку.
Изображение, пойманное элементом восприятия изображения, отображается поэтому как изображение видоискателя на электронном дисплее, но в это время одна или несколько указательных линий отображаются как программный дисплей в продольном и поперечном направлениях. Эти указательные линии перемещаются, чтобы быть отображенными по всей дисплейной поверхности электронного дисплея таким рабочим элементом, как рабочая головка. В результате указательные линии сопрягаются с произвольным положением в изображении видоискателя, и перспектива проверяется визуально, чтобы регулироваться в оптимальном состоянии.
В качестве одного примера средства, предотвращающего проникание пыли, на передней поверхности фотокамеры устанавливают прозрачную стеклянную или пластмассовую пластину, так что получается герметизированная конструкция. В этом случае для улучшения эффекта предотвращения конденсации росы в герметизированную часть инжектируется сухой воздух (если возможно, то азот, аргон или тому подобное), так что получается герметичная конструкция.
В случае герметичной конструкции между внутренностью фотокамеры и атмосферным воздухом появляется разность давлений из-за изменения температуры или разности высот, а тем самым большое усилие прикладывается к пылезащитной пластине, такой как стеклянная пластина. Далее, даже если на части, где через наружную стенку основного корпуса фотокамеры проходит вал триба или подобный элемент механизма управления перспективой, установлено уплотнительное кольцо, имеется опасение, что такая подвижная часть, как уплотнительное кольцо, не может выдерживать длительное давление.
Для того чтобы решить эту проблему, разность давлений внутри и снаружи основного корпуса фотокамеры исключается. Чтобы исключить эту разность давлений, между частью механизма, которая должна поддерживать воздухонепроницаемость основного корпуса фотокамеры, и атмосферным воздухом предусматривается диафрагма, цилиндрический сильфон с закрытым концом или гибкая перегородка (гибкий разделительный элемент).
Ниже поясняется цифровая фотокамера с механизмом управления перспективой согласно конкретному варианту осуществления настоящего изобретения. Этот вариант осуществления представляет собой цифровую фотокамеру, в которой перед фотографированием изображение, подлежащее попаданию на элемент восприятия изображения, визуально проверяется на электронном дисплее и одновременно производится управление перспективой, чтобы сфотографировать это изображение. Основание восприятия изображения, смонтированное с элементом восприятия изображения, прижимается к передней поверхности или к задней поверхности корпуса фотокамеры пластинчатой пружиной и устанавливается на этой поверхности так, что изображение попадает на элемент восприятия изображения. Первые зубчатые рейки крепятся вблизи обоих краев основания восприятия изображения в продольном направлении соответственно.
Между тем, подшипник, который поддерживает первый триб, присоединяется к частям корпусной рамы на обеих внешних сторонах, на которых устанавливается основание восприятия изображения, и первый триб сцепляется с первыми зубчатыми рейками так, чтобы направлять положение основания восприятия изображения. В то же самое время первый триб сконструирован так, чтобы он мог размещать основание восприятия изображения в направлении, касательном по отношению к окружности его зубцов, и в направлении, вертикальном к оптической оси фотографического объектива. Аналогично предусматриваются второй триб перпендикулярно первому трибу и вторая зубчатая рейка, и второй триб сцепляется со второй зубчатой рейкой только на одном конце. Основание восприятия изображения сконструировано таким образом, чтобы оно могло размещаться в направлении, перпендикулярном к направлению, регулируемому первым трибом.
Первая рабочая головка (первый рабочий элемент), присоединенная к первому трибу, и вторая рабочая головка (второй рабочий элемент), присоединенная ко второму трибу, вращаются независимо, так что элемент восприятия изображения, установленный на основании восприятия изображения, регулируется в произвольные положения в перпендикулярных направлениях, вертикальных к оптической оси фотографического объектива. Фотограф визуально проверяет и регулирует перспективу на электронном дисплее, а затем фотографирует объект.
В качестве указательных линий на электронном дисплее отображаются одна или множество линий как программный дисплей в вертикальном направлении и поперечном направлении, и эти вертикальные и поперечные линии сконструированы так, что их можно независимо перемещать, чтобы регулировать в произвольных положениях. Далее, в цифровой фотокамере со сменными объективами пылезащитная стеклянная или пластмассовая пластина крепится в качестве пылезащитной пластины в положение за сменяемым объективом в основном корпусе фотокамеры, так что внутренность основного корпуса фотокамеры имеет герметичную конструкцию. В результате предотвращается налипание пыли на поверхность элемента восприятия изображения, установленного в основной корпус фотокамеры.
Между механической частью и корпусом фотокамеры предусматривается диафрагма, которая свободно изгибается, и цилиндрический сильфон с закрытым концом или экран, сделанный из пластмассы или тому подобного, так что механическая часть фотокамеры экранируется от воздуха и герметизируется. В то же время предусматривается механизм, который снижает разность давлений между внутренностью фотокамеры и атмосферным воздухом из-за изменения температуры, изменения высоты и прочих погодных условий.
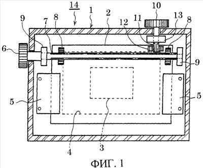
Конкретный конструктивный пример цифровой фотокамеры 14 согласно настоящему изобретению показан на фиг.1. Фиг.1 представляет собой вид в разрезе, иллюстрирующий строение, видимое с обратной стороны (со стороны фотографа) цифровой фотокамеры 14, но та же самая конструкция в качестве строения, показанного на фиг.1, может использоваться и в передней стороне (стороне фотографического объектива) цифровой фотокамеры 14. В этом случае, однако, элемент 3 восприятия изображения, показанный пунктиром на фиг.1, установлен реально, так что воспринимающая поверхность элемента 3 восприятия изображения обращена к передней стороне поверхности листа на фиг.1 (показанного сплошной линией).
По центру внутренней задней поверхности корпусной рамы 1 в фотокамере предусматривается отверстие 4, и квадратное основание 2 восприятия изображения, смонтированное с элементом 3 восприятия изображения, крепится к плоской поверхности вокруг отверстия 4. В этом случае основание 2 восприятия изображения удерживается у плоской поверхности пластинчатыми пружинами (прижимными элементами) 5, опорные концы которых прикреплены к основному корпусу фотокамеры в прижатом и неподвижном состоянии. В результате, основание 2 восприятия изображения точно размещается в направлении оптической оси фотографического объектива (не показана), и даже если к нему прикладывается внешняя сила, такая как сила тяжести, или легкий толчок, положение элемента 3 восприятия изображения фиксируется в неподвижном состоянии.
Первые зубчатые рейки 8 крепятся вблизи правого и левого краев над основанием 2 восприятия изображения в направлении вверх-вниз (продольное направление основания 2 восприятия изображения). Оба конца первого триба 7, выступающие в направлении вправо-влево (поперечное направление основания 2 восприятия изображения), сцепляются с правой и левой зубчатыми рейками 8, и правый и левый концы триба 7 поддерживаются с возможностью вращения подшипниками 9 по сторонам основного корпуса фотокамеры. Поэтому перемещение основания 2 восприятия изображения во вращательном направлении ограничивается по отношению к оптической оси фотографического объектива, а его положение в направлении вверх-вниз на чертеже ограничивается трибом 7. Далее, рабочая головка 6 для вращения присоединена к левому концу триба 7. Когда триб 7 поворачивается рабочей головкой 6, положением основания 2 восприятия изображения в направлении вверх-вниз можно соответственно управлять, чтобы регулировать посредством зубчатых реек 8.
Вторая зубчатая рейка 12 крепится вблизи верхнего края основания 2 восприятия изображения в направлении вправо-влево (поперечное направление основания 2 восприятия изображения). Второй триб 11, вытянутый в направлении вверх-вниз, сцепляется с зубчатой рейкой 12, и триб 11 поддерживается с возможностью вращения подшипником 13 на стороне основного корпуса фотокамеры. Далее, рабочая головка 10 для вращения присоединена к верхнему концу триба 11. Когда триб 11 поворачивается рабочей головкой 10, положением основания 2 восприятия изображения можно соответственно управлять, чтобы регулировать посредством зубчатой рейки 12.
Поэтому во время фотографирования, когда рабочая головка 6, прикрепленная к трибу 7, и рабочая головка 10, прикрепленная к трибу 11, поворачиваются независимо, элемент 3 восприятия изображения, смонтированный на основании 2 восприятия изображения, соответственно регулируется в произвольные положения в направлении вправо-влево и в направлении вверх-вниз по отношению к оптической оси фотографического объектива. Триб 7 и триб 11 можно заменить кулачками, а зубчатую рейку 8 и зубчатую рейку 12 можно заменить кулачковыми толкателями. В такой конструкции можно осуществлять регулировку положения, которая эквивалентна вышеописанной. Механизм регулировки положения в поперечном направлении и механизм регулировки положения в продольном направлении, а именно приводные механизмы, которые независимо передвигают основание 2 восприятия изображения в направлении вправо-влево и в направлении вверх-вниз, не ограничиваются типом с зубчатой рейкой и трибом или кулачковым типом, и иные типы приводных механизмов могут быть соответственно приспособлены под конструкцию.
Согласно варианту осуществления на фиг.1 перед фотографированием такого объекта, как дом-башня, основание 2 восприятия изображения независимо передвигается в продольном направлении и в поперечном направлении, чтобы разместиться так, что изображение, фотографируемое фотографическим объективом, попадает на элемент 3 восприятия изображения. По этой причине элемент 3 восприятия изображения легко регулируется в желательные положения в продольном и поперечном направлениях. Поэтому фотограф визуально проверяет и регулирует состояние перспективы изображения на электронном дисплее и может фотографировать объект, так что можно получить удовлетворительную картинку без искажения сфотографированного изображения.
Фиг.2 иллюстрирует один пример электронного дисплея (видоискателя) 21 цифровой фотокамеры 14 согласно настоящему изобретению. Вертикальные линии 22 и 23 отображаются на электронном дисплее 21 в качестве указательных линий вертикального направления как программное отображение, а горизонтальные линии 24 и 25 отображаются на электронном дисплее 21 в качестве указательных линий горизонтального направления как программное отображение. Что касается указательных линий 22-25, то во время фотографирования с помощью рабочего переключателя могут отображаться только вертикальные линии 22 и 23 или горизонтальные линии 24 и 25, либо может соответственно отображаться только одна из вертикальных линий 22 и 23 или одна из горизонтальных линий 24 и 25.
В примере на чертеже положения вертикальных линий 22 и 23 и горизонтальных линий 24 и 25 могут перемещаться независимо для регулировки ползунками (рабочей секцией для отображения вертикальных линий) 202 и 203 и ползунками (рабочей секцией для отображения горизонтальных линий) 204 и 205. В этом случае на поверхностях ползунков 220-205 наносятся стрелки или тому подобное, чтобы отображать направления перемещения указательных линий 22-25, соответствующие ползункам. Форма и конструкция рабочих элементов для регулировки положений указательных линии 22-25, а именно ползунки и кнопки, не ограничиваются частными случаями, так что можно свободно приспособить общеизвестные рабочие блоки, такие как ползунки и кнопки, если они могут независимо перемещать указательные линии 22-25 в произвольные положения.
В случае примера по фиг.2, изображение 26 видоискателя такого объекта, как дом-башня, отображается на электронном дисплее 21 и, к примеру, вертикальная линия 21 перемещается в произвольное положение в горизонтальном направлении в левой части изображения 26 видоискателя переключателем 202, чтобы ее можно было совместить с левым краем изображения 26 видоискателя. Аналогично, вертикальная линия 23 перемещается в произвольное положение в вертикальном направлении в правой части изображения 26 видоискателя, чтобы ее можно было совместить с правым краем изображения 26 видоискателя.
Например, когда регулируется перспектива в направлении вверх-вниз, триб 7 поворачивается рабочей головкой 6, чтобы регулировать перспективу в направлении вверх-вниз до оптимального состояния. На деле, когда рабочая головка 6 поворачивается так, чтобы перемещать элемент 3 восприятия изображения, перемещается только изображение 26 видоискателя, а тем самым должно измениться направление оптической оси фотокамеры. Вертикальные линии 22 и 23 подстраиваются согласно состоянию регулировки и далее могут окончательно регулироваться рабочей головкой 6. Фиг.2 иллюстрирует состояние в середине регулировки перспективы и не иллюстрирует состояния полной регулировки. В состоянии полной регулировки перспективы контур изображения 26 видоискателя для такого объекта, как дом-башня, параллелен вертикальным линиям 22 и 23.
Аналогично, когда нужно регулировать перспективу в горизонтальном направлении, горизонтальные линии 24 и 25 совмещаются с верхним краем и нижним краем (верхним концом и нижним концом) изображения 26 видоискателя в горизонтальной части в направлении вверх-вниз. Рабочая головка 10 работает так, чтобы поворачивать триб 11, и, поскольку перспектива в горизонтальном направлении проверяется визуально, ее можно регулировать до оптимального состояния.
В данном варианте осуществления вертикальные линии 22 и 23 и горизонтальные линии 24 и 25, которые представляют собой указательные линии, отображаются в качестве программного отображения на электронном дисплее 21, но вертикальные линии 22 и 23 независимо перемещаются в произвольные положения в поперечном направлении по всей поверхности электронного дисплея 21 посредством исключительно рабочей секции дисплея. Это применимо также к горизонтальным линиям 24 и 25, и они независимо перемещаются посредством исключительно рабочей секции дисплея, так что положения регулируются. В результате, указательные линии 22-25 размещаются относительно краевых частей изображения 26 видоискателя, и состояние перспективы можно визуально проверять и регулировать. По этой причине визуальная проверка и регулировка могут выполняться быстро и точно.
Фиг.2 для удобства пояснения иллюстрирует случай, использующий традиционный жидкокристаллический экран. Более предпочтительно, однако, использовать в качестве видоискателя ферроэлектрический жидкокристаллический микродисплей (не показан), так что конструкция может быть аналогична строению, поясненному со ссылкой на фиг.2, а ферроэлектрический жидкокристаллический микродисплей увеличивается лупой. При необходимости традиционный жидкокристаллический экран используется соответственно в то же самое время, отображая тем самым изображение.
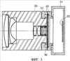
Фиг.3 иллюстрирует один пример конкретной конструкции согласно п.3 формулы настоящего изобретения. Основной корпус 31 фотокамеры имеет элемент 32 восприятия изображения на своей внутренней поверхности на одной стороне (правая поверхность или задняя поверхность на фиг.3) (чертеж и пояснение видоискателя и прочих механизмов опущены). На внутренней поверхности на другой стороне основного корпуса 31 фотокамеры (левая сторона или передняя сторона на фиг.3) устанавливается крепление 36 с конструкцией, соответствующей креплению секции 33 сменяемого объектива. Пылезащитная пластина 34, сделанная из стекла или пластмассы, прикрепляется к внутренней стороне крепления 35, чтобы предотвращать попадание пыли или тому подобного в основной корпус 31 фотокамеры.
Эффект пылезащитной пластины 34 поясняется ниже. Фиг.4 иллюстрирует структуру создания изображения, проецируемого посредством фотографического объектива 41. Как показано на фиг.4, световые лучи, которые излучаются из конкретной одной точки на объекте и входят во всю апертуру фотографического объектива 41, собираются в конкретную одну точку в соответствующем положении, как на стороне излучения, если расстояние до объекта дальше, чем фокусная длина f фотографического объектива 41. Световые лучи, которые излучаются из объекта 42, показанного на фиг.4, и входят в фотографический объектив 41, изображаются поэтому как спроецированное изображение 43 в конкретном соответствующем положении. Когда фиг.4 иллюстрирует структуру, получаемую посредством фотографического объектива в фотокамере, изображение 43 на фиг.4 попадает на элемент 3 восприятия изображения по фиг.3. Как показано на фиг.3 (на фиг.4, поскольку нельзя начертить его перекрывающимся с изображением 43, он начерчен в положении, немного рядом с фотографическим объективом 41), элемент 32 восприятия изображения воспринимает пыль 44 непосредственно как изображение 43. Это легко может понять даже человек, не являющийся специалистом.
Если же теперь пыль, размер которой такой же, как у пыли 44, присутствует в положении, обозначенном ссылочной позицией 45 на фиг.4, блокируется лишь малая часть световых лучей, подлежащих отображению в качестве изображения 43. Далее, световой луч, который блокируется пылью 45, становится световым лучом в направлении как к переднему концу, так и к основанию по направлению по стрелке изображения 43 на чертеже. Иными словами, все изображение 43 блокируется равномерно, так что конкретная часть изображения 43 не блокируется и не пропускается. Поскольку световые лучи, которые попадают в апертуру фотографических объективов 41 из конкретной точки объекта 42, собираются в одну точку в положении изображения, падающий свет и излученный свет от конкретной точки объекта 42 рассеиваются и преобразуются в коническую форму.
Ослабление величины света вследствие пыли 45 становится малым в обратной пропорции к квадрату расстояния от положения изображения (положения элемента 32 восприятия изображения). Поэтому в положении, показанном на фиг.3, предусматривается пылезащитная пластина 34, так что получается герметичная конструкция. Когда внутренность основного корпуса 31 фотокамеры всегда поддерживается в чистоте, даже если фотокамера используется со слегка налипшей пылью на поверхности пылезащитной пластины 34 (наружная поверхность фотокамеры на стороне фотографического объектива 41), вряд ли возникнет неблагоприятная проблема из-за налипания пыли.
Между секцией 33 сменяемого объектива и основным корпусом 31 фотокамеры предусматривается пылезащитная пластина 34, чтобы основной корпус 31 фотокамеры имел герметичную конструкцию, предотвращая тем самым попадание пыли в основной корпус 31 фотокамеры во время смены объектива. Поэтому пыль не налипает на элемент 32 восприятия изображения в основном корпусе 31 фотокамеры, и тем самым предотвращается неправильное фотографирование из-за налипания пыли.
Далее, даже если налипание пыли и загрязненное состояние опасны, надо просто протереть поверхность пылезащитной пластины 34, так что очистка пыли осуществляется легко. Поверхность пылезащитной пластины 34 может иметь твердое покрытие для предотвращения царапин. Естественно, что поверхность пылезащитной пластины 34 подвергается процессу предохранения от отражений.
Фиг.5 иллюстрирует конструктивный пример, где на боковой стенке основного корпуса 51 фотокамеры образована отдушина 53, которая напрямую соединяется с внешней средой (атмосферным воздухом) основного корпуса 51 фотокамеры, и на внутренности основного корпуса 51 фотокамеры, соответствующей отдушине 53, предусматривается упругий цилиндрический сильфон 52 с закрытым концом, так что к нему прикладывается давление отдушины 53. При такой конструкции давление вне основного корпуса 51 фотокамеры прикладывается к отдушине 53, и сильфон 52 упруго растягивается и сокращается в соответствии с разностью давлений между внутренностью и внешней средой основного корпуса 51 фотокамеры. В результате разность давлений между внутренностью и внешней средой основного корпуса 51 фотокамеры устраняется или уменьшается насколько возможно быстро за счет функции упругой деформации сильфона 52. Позиция 54 обозначает пылезащитную пластину, такую как стеклянная пластина.
Фиг.6 иллюстрирует конструктивный пример, где на одной боковой поверхности основного корпуса 61 фотокамеры образована отдушина 63, которая напрямую соединяется с внешней средой основного корпуса 61 фотокамеры, и к внутренности основного корпуса 61 фотокамеры, соответствующей отдушине 63, прикрепляется упругая гибкая тонкая пластина (например, отклоняемая диафрагма, имеющая форму днища масленки и называемая в Японии машинным раструбом) или пластмассовый экран 62, так что на них воздействует давление отдушины 53. При такой конструкции отклоняемая диафрагма или пластмассовый экран 62 уменьшают разность давлений аналогично сильфону 52, показанному на фиг.5, так что разность давлений между внутренностью и внешней средой основного корпуса 61 фотокамеры устраняется или уменьшается насколько возможно быстро. Позиция 64 обозначает пылезащитную пластину, такую как стеклянная пластина.
Согласно вариантам осуществления по фиг.5 и 6, когда между внутренностью и внешней средой основного корпуса 51 или 61 фотокамеры появляется разность давлений, гибкий разделительный элемент 52 или 62 отклоняется, так что разность давлений устраняется или уменьшается. Следовательно, и в этом случае, когда разность давлений между внутренностью фотокамеры и атмосферным воздухом велика из-за изменения температуры, изменения высоты и прочих погодных условий, можно предотвратить приложение большого внешнего усилия к пылезащитной пластине 54 или 64.
Отметим, что настоящее изобретение можно различным образом модифицировать, пока такие модификации не отходят от объема настоящего изобретения, и их следует рассматривать как включенные в настоящее изобретение.
Формула изобретения
1. Цифровая фотокамера, содержащая: основание, смонтированное с элементом восприятия изображения, прижимаемое к передней поверхности или к задней поверхности корпуса фотокамеры прижимным элементом, таким, как пластинчатая пружина, и обеспеченное так, что его положение можно регулировать независимо в продольном направлении и поперечном направлении, перпендикулярных оптической оси фотографического объектива; при этом положение основания, смонтированного с элементом восприятия изображения, регулируется так, что изображение, проецируемое посредством фотографического объектива, попадает на элемент восприятия изображения, и тем самым перспектива может быть визуально проверена и отрегулирована на электронном дисплее перед фотографированием; первые зубчатые рейки – правую и левую, прикрепленные вблизи правого и левого краев основания, смонтированного с элементом восприятия изображения, в направлении вверх-вниз, при этом оба края первого триба, который поддерживается на стороне корпуса фотокамеры, выступают в поперечном направлении и сцеплены с первыми зубчатыми рейками, и вторую зубчатую рейку, прикрепленную в поперечном направлении вблизи верхнего края основания, а также второй триб, который поддерживается корпусом фотокамеры, выступает в направлении вверх-вниз и сцеплен с указанной зубчатой рейкой, вследствие чего он смонтирован с корпусом фотокамеры.
2. Цифровая фотокамера по п.1, отличающаяся тем, что вертикальные линии и горизонтальные линии в качестве указательных линий отображаются в качестве программного отображения на электронном дисплее, вертикальные и горизонтальные линии выполняются так, чтобы они могли перемещаться независимо в горизонтальном направлении и в вертикальном направлении электронного дисплея, и вертикальные линии и горизонтальные линии сопрягаются с заранее заданными положениями по отношению к изображению на электронном дисплее, так что состояние перспективы можно визуально проверить и отрегулировать.
3. Цифровая фотокамера, содержащая: основание, смонтированное с элементом восприятия изображения, прижимаемое к передней поверхности или к задней поверхности корпуса фотокамеры прижимным элементом, таким, как пластинчатая пружина, и обеспеченное так, что его положение можно регулировать независимо в продольном направлении и поперечном направлении, перпендикулярных оптической оси фотографического объектива; при этом положение основания, смонтированного с элементом восприятия изображения, регулируется так, что изображение, проецируемое посредством фотографического объектива, попадает на элемент восприятия изображения, и тем самым перспектива может быть визуально проверена и отрегулирована на электронном дисплее перед фотографированием; первые зубчатые рейки – правую и левую, прикрепленные вблизи правого и левого краев основания, смонтированного с элементом восприятия изображения, в направлении вверх-вниз, при этом оба края первого триба, который поддерживается на стороне корпуса фотокамеры, выступают в поперечном направлении и сцеплены с первыми зубчатыми рейками, и вторую зубчатую рейку, прикрепленную в поперечном направлении вблизи верхнего края основания, а также второй триб, который поддерживается корпусом фотокамеры, выступает в направлении вверх-вниз и сцеплен с указанной зубчатой рейкой, вследствие чего он смонтирован с корпусом фотокамеры; при этом цифровая фотокамера сконструирована таким образом, что объектив может заменяться, и между сменяемым объективом и корпусом фотокамеры установлена пылезащитная пластина, которая герметизирует внутренность фотокамеры так, что пыль не прилипает к поверхности элемента восприятия изображения в корпусе фотокамеры.
4. Цифровая фотокамера, содержащая: основание, смонтированное с элементом восприятия изображения, прижимаемое к передней поверхности или к задней поверхности корпуса фотокамеры прижимным элементом, таким, как пластинчатая пружина, и обеспеченное так, что его положение можно регулировать независимо в продольном направлении и поперечном направлении, перпендикулярных оптической оси фотографического объектива; при этом положение основания, смонтированного с элементом восприятия изображения, регулируется так, что изображение, проецируемое посредством фотографического объектива, попадает на элемент восприятия изображения, и тем самым перспектива может быть визуально проверена и отрегулирована на электронном дисплее перед фотографированием; первые зубчатые рейки – правую и левую, прикрепленные вблизи правого и левого краев основания, смонтированного с элементом восприятия изображения, в направлении вверх-вниз, при этом оба края первого триба, который поддерживается на стороне корпуса фотокамеры, выступают в поперечном направлении и сцеплены с первыми зубчатыми рейками, и вторую зубчатую рейку, прикрепленную в поперечном направлении вблизи верхнего края основания, а также второй триб, который поддерживается корпусом фотокамеры, выступает в направлении вверх-вниз и сцеплен с указанной зубчатой рейкой, вследствие чего он смонтирован с корпусом фотокамеры; отдушину, образованную на боковой стенке корпуса фотокамеры, которая связана с внешней средой, при этом на внутренней части корпуса фотокамеры, соответствующей отдушине, предусмотрен гибкий разделительный элемент, так что давление между внутренностью корпуса фотокамеры и внешней средой различно и эта разность давлений уменьшается отклонением гибкого разделительного элемента.
РИСУНКИ
|
|