|
|
(21), (22) Заявка: 2006141976/11, 27.11.2006
(24) Дата начала отсчета срока действия патента:
27.11.2006
(43) Дата публикации заявки: 10.06.2008
(46) Опубликовано: 20.04.2009
(56) Список документов, цитированных в отчете о поиске:
Ильский А.Л., Миронов Ю.В. и др. Расчет и конструирование бурового оборудования. – М.: НЕДРА, 1985, с.180, рис.VI.18. RU 2005100750 А, 20.06.2006. RU 2134368 C1, 10.08.1999. Петрик A.A., Вольченко H.A. и др. Фрикционные узлы. – Краснодар, т. 1, 2003, с.148-153, рис.6,1 и 6,2, с.170-186, рис.6,6-6,9. US 3007554 А, 07.11.1961. US 2412706 А, 17.12.1946.
Адрес для переписки:
76019, Украина, г. Ивано-Франковск, ул. Карпатская, 15, технический университет нефти и газа, патентно-лицензионный отдел
|
(72) Автор(ы):
Вольченко Александр Иванович (UA), Крыжановский Евстахий Иванович (UA), Вольченко Николай Александрович (RU), Вольченко Дмитрий Александрович (UA), Малов Андрей Юрьевич (UA)
(73) Патентообладатель(и):
Ивано-Франковский национальный технический университет нефти и газа (UA)
|
(54) ОХЛАЖДАЕМЫЙ ДВУХСТУПЕНЧАТЫЙ ЛЕНТОЧНО-КОЛОДОЧНЫЙ ТОРМОЗ
(57) Реферат:
Изобретение относится к области машиностроения и может быть использовано в ленточно-колодочных тормозах буровых лебедок. Тормоз содержит тормозной шкив, фрикционные элементы, тормозные ленты, торовую резиновую пневмокамеру и охлаждающие узлы, механический и пневматический приводы. Охлаждающие узлы выполнены в виде труб, имеющих резьбу на наружной поверхности и на внутренней поверхности на 1/4 ее длины, заполненных теплопоглощающим наполнителем и герметично закрытых крышкой с продольным пазом. Трубы соединяют во фрикционные элементы – основные и дополнительные накладки, расположенные на наружной и внутренней поверхностях тормозного шкива. В дополнительных накладках торец трубы находится на уровне допустимой толщины износа их рабочих поверхностей, а сверху труба выведена заподлицо рабочих поверхностей основных накладок. Достигается повышение интенсивности охлаждения трущихся поверхностей первой ступени тормоза путем передачи теплоты ободу тормозного шкива, благодаря чему улучшаются их износо-фрикционные свойства. 4 ил.
Изобретение относится к машиностроению и может быть использовано в ленточно-колодочных тормозах буровых лебедок.
Известен двухступенчатый ленточно-колодочный тормоз с радиально подвижными фрикционными элементами, в котором в тормозном шкиве по периметру его цилиндрической поверхности выполнены равномерно расположенные сквозные окна, в которые установлены фрикционные элементы, имеющие в продольном сечении форму равнобокой трапеции с большим выпуклым и меньшим вогнутым основаниями, радиусы кривизны которых соответствуют кривизне сопрягаемых с ними поверхностей, при этом большее основание выступает над поверхностью шкива, а к меньшему по его нижней поверхности присоединена толстостенная металлическая пластина, которая своим выступом препятствует выпаданию фрикционного элемента из окна шкива, а снизу она своей вогнутой поверхностью контактирует с нанесенным фрикционным покрытием на наружную поверхность торовой резиновой пневмокамеры, внутренняя поверхность которой расположена на неподвижном цилиндрическом выступе фланца, опирающегося на установочную лапу, и прикреплена к нему штуцерами воздушных трубопроводов [1, аналог; положит. решен. на выдачу патента на изобретение по заявке 2005100750/11 от 30.08.06 г., кл. F16D 49/08]. Данный тормоз имеет тот недостаток, что поверхности тормозного шкива не принимают участия в процессах теплообмена и поэтому всю теплоту воспринимает пара трения «тормозная лента – наружные поверхности фрикционных элементов».
Известна цилиндрическая радиальная обжимная шинно-пневматическая муфта, содержащая цилиндрический шкив, к фланцу которого прикреплена полумуфта, а над шкивом установлен обод, выполненный в виде швеллера. К полке последнего со стороны свободного края прикреплена ступица с полумуфтой. Обод связан со шкивом при помощи ограничительных дисков. Между внутренней поверхностью обода и наружной поверхностью шкива установлена резиновая пневмокамера, к внутренней поверхности которой крепятся по периметру фрикционные накладки, взаимодействующие при включении муфты с наружной поверхностью шкива. Наружная поверхность пневмокамеры при помощи штуцера воздухопровода, по которому подается сжатый воздух в ее объем, крепится к цилиндрическому ободу [2, прототип; Ильский А.Л., Миронов Ю.В., Чернобыльский А.Г. Расчет и конструирование бурового оборудования. – М.: Недра, 1985. – С.180; рис.VI.18].
Недостатком данной конструкции муфты является то, что она является высокоскоростной, предназначена только для соединения валов в трансмиссиях буровых установок для передачи вращательного момента силами трения, создаваемых ее фрикционными поверхностями, и не может работать в режиме тормоза.
По сравнению с аналогом и прототипом предложенное техническое решение имеет следующие отличительные существенные признаки:
– достигается существенное снижение тепловой нагруженности первой ступени тормоза по схеме передачи теплоты теплопроводностью от торцов трубы к ее теплопоглощающему наполнителю и к тормозному шкиву, и от его наружной и внутренней поверхности конвективным и радиационным теплообменом в окружающую среду;
– достигается существенное снижение напряженно-деформированного состояния обода тормозного шкива вследствие невысокой его объемной температуры;
– обеспечивается улучшение износо-фрикционных свойств пар трения первой ступени тормоза вследствие их работы в диапазоне поверхностных температур ниже допустимой для материала основных накладок фрикционных элементов;
– обеспечивается плавность включения первой ступени тормоза, так как устраняется резкий захват тормозной лентой рабочих поверхностей основных накладок фрикционных элементов, исчезают толчки и вибрации пар трения благодаря наличию под дополнительными накладками торовой резиновой пневмокамеры, заполненной сжатым воздухом;
– устраняется неравномерность износа рабочих поверхностей основных накладок фрикционных элементов благодаря непрерывной смене их положения относительно ветвей тормозной ленты в процессе торможения.
Целью настоящего изобретения является повышение интенсивности охлаждения трущихся поверхностей первой ступени тормоза путем передачи теплоты ободу тормозного шкива, благодаря чему улучшаются их износо-фрикционные свойства.
Поставленная цель достигается тем, что в охлаждаемом ленточно-колодочном тормозе охлаждающие узлы выполнены в виде труб, имеющих резьбу на наружной поверхности и на внутренней поверхности на 1/4 ее длины, заполненных теплопоглощающим наполнителем и герметично закрытых крышкой с продольным пазом, при этом трубы соединяют во фрикционные элементы – основные и дополнительные накладки, расположенные на наружной и внутренней поверхности обода тормозного шкива, в дополнительных накладках торец трубы находится на уровне допустимой толщины износа их рабочих поверхностей, а сверху труба выведена заподлицо рабочих поверхностей основных накладок.
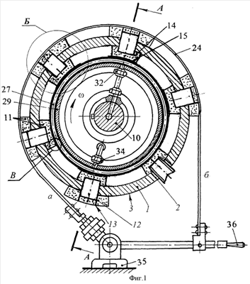
На фиг.1 представлен общий вид охлаждаемого двухступенчатого ленточно-колодочного тормоза; на фиг.2 – поперечный разрез по А-А тормоза; на фиг.3 показан вид Б на фрикционный узел тормоза; на фиг.4 проиллюстрирован вид В на прямую пару трения тормоза.
Двухступенчатый ленточно-колодочный тормоз содержит тормозной шкив 1, имеющий окна 2 с резьбой постоянного диаметра, расположенные с постоянным шагом по периметру его рабочей поверхности 3. Шкив 1 имеет выступ 4, которым он с помощью болтового соединения 5 крепится к фланцу 6 барабана 7. Ступица 8 барабана 7 с фланцем 6 посредством призматической шпонки 9 закреплена на подъемном валу 10 лебедки.
В окна 2 шкива 1 установлены фрикционные элементы (накладки) 11, состоящие из основной 12 и дополнительной 14 накладок, имеющих выпуклые рабочие поверхности 13 и 15, которые отличаются площадями их поверхностей. Соединены между собой накладки 12 и 14 с помощью емкости, выполненной в виде трубы 16. На последней выполнена наружная резьба 17 на всей ее внешней поверхности, а внутренняя резьба 18 выполнена только сверху на 1/4 длины трубы 16. Внутренний объем трубы 16 заполнен теплопоглощающим наполнителем 19, например карбидом алюминия (Al4С3). При этом нижний торец трубы 16 в дополнительной накладке 14 находится на уровне допустимого износа ее рабочей поверхности 15. Сверху труба 16 закрывается крышкой 20, имеющей прорезь 21, и, таким образом, торец трубы 16 выведен заподлицо рабочей поверхности 13 основной фрикционной накладки 12. При этом верхний торец крышки 19 расположен на глубине допустимого износа рабочей поверхности 13 основной накладки 12. После чего в пустотелый объем верхней части трубы 16 запрессовывается цилиндрический столбик 22 из фрикционного материала основной накладки 12, увеличивая таким образом ее площадь поверхности. Над рабочими поверхностями 13 основных накладок 12 расположена внутренняя (рабочая) поверхность 23 тормозной ленты 24, имеющей набегающую (а) и сбегающую (б) ветви.
Своими рабочими поверхностями 15 дополнительные фрикционные накладки 14 контактируют с нанесенным фрикционным покрытием 25 на наружную поверхность 26 торовой резиновой пневмокамеры 27. Внутренняя поверхность 28 пневмокамеры 27 расположена на неподвижном цилиндрическом выступе 29 специального фланца 30, опирающегося на установочную лапу 31. Крепление внутренней поверхности 28 торовой резиновой пневмокамеры 27 к цилиндрическому кольцевому выступу 29 осуществляется при помощи штуцеров 32 воздушных трубопроводов 33. Трубопроводы 33 подсоединены к воздушному тракту 34, проходящему через отверстия, выполненные в специальном фланце 30. Второй шкив тормоза (на фиг.1, 2 и 3 не показан) подключен аналогичным образом к общей пневмосистеме.
Тормозная лента 24 своей набегающей ветвью (а) связана с опорой 35, а сбегающая ветвь (б) соединена с рычагом 36 управления тормозом.
В данном тормозе различают следующие пары трения при условии, что их рабочие поверхности сопряжены:
обратная – «рабочая поверхность 13 основной накладки 12 (индекс 1) – рабочая поверхность 23 тормозной ленты 24 (индекс 2)» при соблюдении условия расположения ее материалов: H2>H1 (твердость) и AH2>АH1 (площади поверхностей касания);
обратная – «рабочая поверхность 15 дополнительной накладки 14 (индекс 3) – фрикционное покрытие 25 наружной поверхности 26 торовой резиновой пневмокамеры 27 (индекс 4)» при соблюдении условия расположения ее материалов: H4>Н3 (твердость) и АH4>АH3 (площади поверхностей трения).
Охлаждаемый двухступенчатый ленточно-колодочный тормоз работает на следующих тормозных режимах.
Первый тормозной режим.
При нажатии на рычаг управления 37 тормозная лента 24 набегающей (а) и сбегающей (б) ветвями взаимодействует с выступающими над поверхностью шкива 1 выпуклыми рабочими поверхностями 13 основных фрикционных накладок 12, обуславливая тем самым притормаживание шкива 1, имеющего момент инерции меньший, чем у серийного шкива. При этом на поверхностях трения «внутренняя поверхность 23 тормозной ленты 24 – рабочие поверхности 13 основных фрикционных накладок 12» генерируется некоторое количество теплоты. Последнее делится на две части. Первая часть теплоты воспринимается тормозной лентой 24 и от ее наружных поверхностей конвективным и радиационным теплообменом рассеивается в окружающую среду. Вторая часть теплоты посредством теплопроводности от торцов труб 16, которые расположены заподлицо рабочих поверхностей 13 основных накладок 12, передается теплопоглощающему наполнителю 19, например Al4С3, имеющему высокую удельную теплоемкость и низкую плотность. От наружной поверхности трубы 16, которая завинчена в отверстие 2 шкива 1, теплота передается к его телу и от его наружной и внутренней поверхности рассеивается в окружающую среду конвективным и радиационным теплообменом. Для интенсификации радиационного теплообмена от наружных и внутренних поверхностей тормозного шкива 1 они выполняются матовыми.
При увеличении усилия нажатия на рычаг управления 37 тормозная лента 24 набегающей (а) и сбегающей (б) ветвями взаимодействует с выступающими над наружной поверхностью шкива 1 выпуклыми рабочими поверхностями 13 основных фрикционных накладок 12, обуславливая тем самым остановку шкива 1.
Второй тормозной режим.
В этом случае работают торовые резиновые пневмокамеры, которые заполняются сжатым воздухом, в результате чего фрикционное покрытие 25, расположенное на наружной поверхности 26 пневмокамеры 27, взаимодействует с рабочими поверхностями 15 дополнительных фрикционных накладок 14 и тем самым притормаживают тормозной шкив 1. Данный тормозной режим является вспомогательным и при его реализации на взаимодействующих парах трения генерируется незначительное количество теплоты и поэтому их трущиеся поверхности не охлаждаются.
Третий тормозной режим.
Данный режим торможения является суммарным, включающий первый и второй.
Величина развиваемого тормозом тормозного момента определяется усилием замыкания тормоза (усилием на рычаге управления 37), но и давлением сжатого воздуха в торовой резиновой пневмокамере 27, поскольку именно величина давления сжатого воздуха в ней влияет на силу прижатия основных накладок 12 к тормозной ленте 24. В общем случае тормозной момент, развиваемый ленточно-колодочным тормозом, равен МТ1=(SH-SC)R, где SH, SC – натяжение набегающей (а) и сбегающей (б) ветвей тормозной ленты 24; R – радиус поверхности трения. Таким образом, управлять величиной тормозного момента можно не только изменяя разность натяжения ветвей тормозной ленты 24, но и давлением сжатого воздуха в пневмокамере 27.
Тормозной момент, развиваемый вторыми обратными парами трения тормоза, равен МТ2=n·p·А2·f2·R2, где n – количество обратных пар трения тормоза; p – давление сжатого воздуха в полости пневмокамеры 27; A2 – площадь вторых обратных пар трения; f2 – коэффициент трения скольжения во вторых обратных парах трения тормоза; R2 – радиус поверхности трения вторых обратных пар трения. Суммарный тормозной момент равен МC=МТ1+МТ2. Все составляющие, входящие в последнюю аналитическую зависимость для определения суммарного тормозного момента, являются переменными. Целенаправленно изменяя величины SH; SC; n; p; A2; f2; R1 и R2 можно добиться существенного уменьшения усилий натяжения тормозной ленты 24 при том же значении тормозного момента.
При реализации третьего тормозного режима суммарный тормозной момент, развиваемый данным видом тормоза, будет несколько большим, чем максимальный тормозной момент серийного тормоза.
Интенсивность износа рабочей поверхности 13 основной накладки 12 и рабочей поверхности 15 дополнительной накладки 14 будет различной. Большая – основной накладки 12 и меньшая – дополнительной накладки 14 фрикционного элемента 11. Однако интенсивное охлаждение рабочей поверхности 13 основной накладки 12 будет способствовать улучшению ее износо-фрикционных свойств. После износа рабочей поверхности 13 основной накладки 12 до торца крышки 20 трубы 16 и рабочей поверхности 15 дополнительной накладки 14 до торца дна трубы 16, т.е. до их допустимой величины, производят замену всего фрикционного элемента 11. Изношенное фрикционное покрытие 25 наружной поверхности 26 торовой резиновой пневмокамеры 27 наносят на указанную поверхность после ее снятия с цилиндрического кольцевого выступа 29.
В данном виде тормоза вторую обратную пару можно превратить в прямую пару путем установки на рабочей поверхности 15 дополнительной накладки 14 в виде металлического фрикционного элемента.
Предложенное техническое решение позволяет существенно улучшить не только динамику процесса торможения, но и износо-фрикционные характеристики обратных пар трения первой ступени тормоза путем интенсивного охлаждения.
Формула изобретения
Охлаждаемый двухступенчатый ленточно-колодочный тормоз, содержащий механический и пневматический приводы, тормозной шкив, в котором по периметру его цилиндрической поверхности выполнены равномерно расположенные сквозные отверстия с резьбой, фрикционные элементы, охлаждающие узлы, тормозные ленты и торовую резиновую пневмокамеру, на наружной поверхности которой нанесено фрикционное покрытие, а ее внутренняя поверхность расположена на неподвижном цилиндрическом кольцевом выступе фланца и прикреплена к нему штуцерами воздушных трубопроводов, при этом сопряжены трущиеся поверхности обратных пар трения, отличающийся тем, что охлаждающие узлы выполнены в виде труб, имеющих резьбу на наружной поверхности и на внутренней поверхности на 1/4 ее длины, заполненных теплопоглощающим наполнителем и герметично закрытых крышкой с продольным пазом, при этом трубы соединяют во фрикционные элементы – основные и дополнительные накладки, расположенные на наружной и внутренней поверхностях тормозного шкива, в дополнительных накладках торец трубы находится на уровне допустимой толщины износа их рабочих поверхностей, а сверху труба выведена заподлицо рабочих поверхностей основных накладок.
РИСУНКИ
|
|