|
|
(21), (22) Заявка: 2007132394/11, 27.08.2007
(24) Дата начала отсчета срока действия патента:
27.08.2007
(46) Опубликовано: 20.04.2009
(56) Список документов, цитированных в отчете о поиске:
Авиационный двухконтурный турбореактивный двигатель Д-30 II серии. Техническое описание. – М.: Машиностроение, 1973, с.37, рис.38. RU 2003821 C1, 30.11.1993. GB 2076083 А, 25.11.1981. SU 148304 А, 01.01.1962.
Адрес для переписки:
614990, г.Пермь, ГСП, Комсомольский пр-кт, 93, ОАО “Авиадвигатель”, отдел защиты интеллектуальной собственности
|
(72) Автор(ы):
Горошенкин Владимир Петрович (RU), Микрюков Алексей Викторович (RU), Мехоношин Александр Владимирович (RU)
(73) Патентообладатель(и):
Открытое акционерное общество “АВИАДВИГАТЕЛЬ” (RU)
|
(54) УЗЕЛ КРЕПЛЕНИЯ ПОДШИПНИКА КАЧЕНИЯ
(57) Реферат:
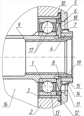
Изобретение относится к креплению подшипника, которое обеспечивает уплотнение против просачивания масла и стопорение подшипника на валу. Узел включает корпус (2) с обоймой (3) под подшипник (1), гайку (4), опорный фланец (5) и маслоотражатель, который включает маслоотражающее кольцо (6), выполненное заодно целое с замком (7), имеющим форму чашечного с выступами (8) для исключения проворачивания относительно вала (9). На подшипник (1) установлено регулировочное кольцо (10) с минимальным радиальным зазором (11) относительно маслоотражающего кольца (6) и нормированным осевым зазором (12) относительно подшипника (1), причем цилиндрическая часть замка выполнена с возможностью ее обжатия в пазы (15) гайки (4) после затяжки. В процессе работы агрегата, например, на узле привода газотурбинного двигателя из полости (16) масло стремится проникнуть в полость (18), чему препятствует минимальный радиальный зазор (11) и маслоотражающее кольцо (6). В процессе работы в зазоре (11) образуется масляная пленка, препятствующая проникновению масла в полость (18). Решение направлено на повышение надежности в узлах приводов газотурбинных двигателей авиационного и наземного применений. 1 ил.
Изобретение относится к области машиностроения и может быть использовано в узлах приводов газотурбинных двигателей авиационного и наземного применений.
Известен подшипниковый узел, состоящий из подшипникового щита, подшипника качения, располагающегося на валу, маслосбрасывающего кольца, наружного уплотнения и маслосборника (RU 2122664, F16C 33/66, 1998).
Однако известная конструкция подшипникового узла не обеспечивает регулярную смазку, т.к. при работе узла консистентная смазка выбрасывается из подшипника качения.
Наиболее близкой к заявляемой является конструкция узла крепления подшипника качения, включающая маслоотражатель, корончатую гайку, два пластинчатых замка, концы которых загнуты в пазы гайки при выполнении контровки. Для предотвращения проворачивания маслоотражателя на валу предусмотрены два внутренних выступа на маслоотражателе и два паза для них (Авиационный двухконтурный турбореактивный двигатель Д-30 II серии. Техническое описание, М., «Машиностроение»,1973, с.37, рис.38).
Однако известно, что пластинчатые замки ломаются от вибрации в местах их сгибания. Кроме того, при затяжке гайки ее поверхность в результате трения о поверхность маслоотражателя способна сломать или деформировать внутренние выступы, т.к. сам маслоотражатель является отдельной тонкостенной деталью.
Приведенные выше недостатки в целом снижают надежность конструкции.
Техническая задача, на решение которой направлено изобретение, заключается в повышении надежности за счет совмещения функций стопорения гайки и обеспечения герметичности узла в одной детали.
Сущность изобретения заключается в том, что в заявляемом узле крепления подшипника качения, включающем корпус с обоймой под подшипник, гайку, замок, маслоотражатель и опорный фланец, согласно формуле маслоотражатель включает маслоотражающее кольцо, выполненное заодно целое с замком, имеющим форму чашечного с выступами для исключения проворачивания относительно вала, на подшипник установлено регулировочное кольцо с минимальным радиальным зазором относительно маслоотражающего кольца и нормированным осевым зазором относительно подшипника с возможностью обеспечения натяга между поверхностями обоймы и регулировочного кольца, причем цилиндрическая часть замка выполнена с возможностью ее обжатия в пазы гайки после затяжки.
Выполнение маслоотражателя и замка за одно целое позволяет увеличивать толщину выступов чашечного замка для сохранения их целостности. Обжатие цилиндрической части чашечного замка в 2-4 паза гайки гарантированно стопорит последнюю от отворачивания. При этом три детали узла в конструкции прототипа (маслоотражатель и два замка) заменены одной, выполняющей их функции и обеспечивающей повышение надежности узла крепления подшипника.
Заявляемые зазоры, с которыми установлено регулировочное кольцо, и натяг между поверхностями обоймы и регулировочного кольца препятствуют проникновению масла в полости, расположенные за указанным узлом.
На чертеже изображена заявляемая конструкция.
Узел крепления подшипника качения 1 включает корпус 2 с обоймой 3 под подшипник 1, гайку 4 и опорный фланец 5. Маслоотражатель состоит из маслоотражательного кольца 6 и замка 7, имеющего форму чашечного с выступами 8 для стопорения на валу 9. Регулировочное кольцо 10 установлено на подшипнике 1 с минимальным радиальным зазором 11 относительно маслоотражательного кольца 6, а также с нормированным осевым зазором 12 относительно торца наружной обоймы 13 подшипника 1. Обеспечен натяг между поверхностями обоймы 3 и регулировочного кольца 10. Цилиндрическая часть 14 замка 7 выполнена с возможностью ее обжатия в пазы 15 гайки 4 после затяжки.
Фланец 5 закреплен на корпусе 2. В полости 16 присутствуют брызги и пары масла с избыточным давлением вследствие барботажа, которые смазывают поверхности 17 подшипника 1. Радиальный зазор 11 препятствует проникновению масла в полость 18. Выступы 8 чашечного замка 7 входят в пазы 19 вала 9.
Узел собирают в следующем порядке.
Подшипник качения 1 напрессовывают на вал 9. В пазы 19 вала 9 с помощью выступов 8 устанавливают маслоотражательное кольцо 6 указанного маслоотражателя, навинчивают на вал 9 гайку 4 с пазами 15, удерживая вал 9, затягивают гайку 4 на расчетный момент. Далее осуществляют обжатие цилиндрической части 14 замка 7 в пазы 15 в двух-четырех местах.
Собранные детали устанавливают в корпус 2, для этого на наружную обойму 13 подшипника 1 устанавливают регулировочное кольцо 10 с минимальным радиальным зазором 11 относительно маслоотражающего кольца 6 и с нормированным осевым зазором 12 относительно наружной обоймы 13 подшипника 1. При этом обеспечивается натяг между поверхностями обоймы 3 и регулировочного кольца 10, что гарантирует герметичность узла.
Затем устанавливают опорный фланец 5, который закрепляют на шпильках гайками (не показаны) относительно корпуса 2.
В процессе работы агрегата, например, на узле привода газотурбинного двигателя, из полости 16 масло стремится проникнуть в полость 18, чему препятствует минимальный радиальный зазор 11 и маслоотражающее кольцо 6. В процессе работы в зазоре 11 образуется масляная пленка, препятствующая проникновению масла в полость 18.
В результате присутствия паров и брызг масла в полости 16 гарантированно обеспечивается постоянная смазка подшипника 1.
Формула изобретения
Узел крепления подшипника качения, включающий корпус с обоймой под подшипник, гайку, замок, маслоотражатель и опорный фланец, отличающийся тем, что маслоотражатель включает маслоотражающее кольцо, выполненное заодно целое с замком, имеющим форму чашечного с выступами для исключения проворачивания относительно вала, на подшипник установлено регулировочное кольцо с минимальным радиальным зазором относительно маслоотражающего кольца и нормированным осевым зазором относительно подшипника с возможностью обеспечения натяга между поверхностями обоймы и регулировочного кольца, причем цилиндрическая часть замка выполнена с возможностью ее обжатия в пазы гайки после затяжки.
РИСУНКИ
|
|