|
(21), (22) Заявка: 2007130051/06, 06.08.2007
(24) Дата начала отсчета срока действия патента:
06.08.2007
(46) Опубликовано: 20.04.2009
(56) Список документов, цитированных в отчете о поиске:
US 7216487 A, 16.03.2006. RU 2194181 С1, 10.12.2002. RU 2269667 С1, 10.02.2002. RU 2287075 C1, 10.11.2006. RU 2228455 С2, 10.05.2004. EP 0741240 A, 06.11.1996.
Адрес для переписки:
644116, г.Омск, ул. Герцена, 312, ОАО “Омское машиностроительное конструкторское бюро”
|
(72) Автор(ы):
Слотин Олег Борисович (RU), Мельников Игорь Анатольевич (RU)
(73) Патентообладатель(и):
ОАО “Омское машиностроительное конструкторское бюро” (RU)
|
(54) СИСТЕМА ТОПЛИВОПИТАНИЯ И РЕГУЛИРОВАНИЯ ГАЗОТУРБИННОГО ДВИГАТЕЛЯ
(57) Реферат:
Система топливопитания и регулирования предназначена для автоматического управления газотурбинными двигателями. Система содержит центробежный насос с приводом от двигателя и объемный дозатор с регулируемым приводом. Объемный дозатор выполнен в виде шестеренного гидравлического механизма, во входной магистрали которого установлен дросселирующий клапан. Клапан поддерживает заданную величину перепада давлений на дозаторе, стабилизируя величину перетечек топлива во внутренних полостях дозатора, что повышает точность дозирования топлива независимо от изменения частоты вращения привода центробежного насоса. 1 ил.
Изобретение относится к области двигателестроения, в частности к системам автоматического управления газотурбинными двигателями (САУ ГТД).
Известна бездозаторная система топливопитания и регулирования, содержащая электроприводной насосный агрегат, управляемый по частоте вращения, и электронный блок управления. На общем валу привода последовательно установлены шестеренный качающий узел подачи топлива и шестеренный дозирующий качающий узел с клапаном постоянного перепада давлений прямого действия (см. патент РФ 2194181, F02C 9/00, 2001 г.).
Недостатком указанной системы является то, что шестеренный насос связан с регулируемым приводом, который должен иметь мощность, позволяющую создать необходимое давление топлива. Регулируемый привод, по сравнению с нерегулируемым приводом той же мощности, имеет больший вес и меньший коэффициент полезного действия. Это приводит к необходимости увеличивать мощность, а следовательно, и вес электрогенератора и электрических кабелей для питания привода. Также увеличение мощности регулируемого привода приводит к увеличению массы блока управления, усложнению его конструкции, необходимости обеспечения охлаждения силовых электрических элементов.
Известна система дозирования топлива для ГТД (см. патент США 7216487, F02C 9/26, 2006 г.), которая содержит центробежный насос с приводом от газотурбинного двигателя и объемный дозатор, приводимый регулируемым электродвигателем.
Недостатком указанной системы является усложнение конструкции объемного дозатора, необходимое для обеспечения требуемой точности дозирования топлива, так как при изменении режима работы газотурбинного двигателя меняется частота вращения привода центробежного насоса и соответственно давление топлива, создаваемое центробежным насосом. Следовательно, изменяется перепад давлений на объемном дозаторе. Это приводит к изменению величины перетечек топлива между рабочими полостями объемного дозатора и ухудшению точности дозирования топлива. Поэтому для обеспечения необходимой точности дозирования топлива за счет уменьшения влияния перетечек топлива требуется усложнение конструкции объемного дозатора, увеличение его массы, что уменьшает надежность работы системы.
Техническим результатом, на достижение которого направлено изобретение, является снижение веса системы в целом за счет снижения мощности регулируемого привода и упрощения конструкции объемного дозатора, при обеспечении требуемой точности дозирования топлива, а также повышение надежности работы системы.
Для достижения указанного технического результата в системе регулирования газотурбинного двигателя, содержащей центробежный насос и объемный дозатор с регулируемым приводом, объемный дозатор выполнен в виде шестеренного гидравлического механизма, во входной магистрали которого установлен дросселирующий клапан постоянного перепада давлений на объемном дозаторе.
Отличительные признаки, а именно использование в качестве дозатора шестеренного гидравлического механизма с дросселирующим клапаном постоянного перепада упрощает систему, снижает вес и повышает ее надежность. Это достигается тем, что:
– Шестеренные гидравлические механизмы (насосы и гидромоторы) по сравнению с другими (плунжерными, винтовыми и т.п.) более компактны, являются наиболее простыми, надежны и имеют небольшую трудоемкость изготовления.
– Установка дросселирующего клапана постоянного перепада давления топлива на объемном дозаторе, выполненном в виде шестеренного гидравлического механизма, позволяет обеспечить точность дозирования топлива за счет стабилизации величины перетечек топлива во внутренних полостях дозатора по радиальным и торцевым зазорам.
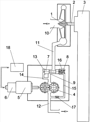
Предложенная система представлена на чертеже и описана ниже.
Система содержит центробежный насос 1, связанный приводным валом 2 с газотурбинным двигателем 3, и объемный дозатор 4, соединенный с регулируемым приводом 5, связанным с блоком управления 6. На входе в объемный дозатор 4 установлен дросселирующий клапан постоянного перепада давления 7 с пружиной 8 и дросселирующим сечением 9.
Центробежный насос 1 имеет входную магистраль 10 подвода топлива, выходную магистраль 11, связанную с клапаном 7, и магистраль 12 подачи топлива в газотурбинный двигатель 3.
Чувствительная полость 13 клапана 7 связана каналом 14 со входом в объемный дозатор 4.
В канале 15, соединяющем пружинную полость 16 клапана 7 с магистралью 12, установлен дроссельный пакет 17.
Блок управления 6 связан с блоком управления газотурбинного двигателя (БУ ГТД) 18, выполненным в виде электронного счетно-решающего устройства или пульта, управляемого оператором.
Система работает следующим образом.
Топливо по входной магистрали 10 поступает в центробежный насос 1, который приводится во вращение приводным валом 2 от газотурбинного двигателя 3. Для привода центробежного насоса 1 также может использоваться нерегулируемый электрический, гидравлический или пневматический привод.
Частота вращения центробежного насоса 1 пропорциональна частоте вращения газотурбинного двигателя 3. Центробежный насос 1 повышает давление топлива. Величина повышения давления топлива центробежным насосом 1 зависит от частоты вращения привода 2 и расхода топлива, то есть от режима работы газотурбинного двигателя 3. По магистрали 11 топливо подается к дросселирующему клапану 7 постоянного перепада давлений. От клапана 7 топливо поступает в объемный дозатор 4. Давление топлива на объемном дозаторе 4 снижается на величину, определяемую настройкой клапана 7. Топливо подается в газотурбинный двигатель 3 по магистрали 12. При этом объемный дозатор 4 дозирует расход топлива пропорционально частоте вращения регулируемого привода 5. Частотой вращения регулируемого привода 5 управляет блок управления 6, который также выдает электрический параметр обратной связи, характеризующий частоту вращения регулируемого привода 5 объемного дозатора 4, в БУ ГТД 18.
БУ ГТД 18 на основании внешних воздействующих факторов и внутренних параметров газотурбинного двигателя 3 формирует заданную программу управления. При рассогласовании заданных параметров с фактическими БУ ГТД18, управляя блоком управления 6, изменяет расход топлива в газотурбинный двигатель 3.
При перепаде давлений на объемном дозаторе 4, равном заданной величине, сила, действующая на клапан 7 от давления в чувствительной полости 13, уравновешивается силой пружины 8 и силой от давления в пружинной полости 16.
При увеличении перепада давлений топлива на объемном дозаторе 4 сила от давления топлива в чувствительной полости 13 становится больше силы пружины 8 и силы от давления в пружинной полости 16. Равновесие нарушается, и клапан 7 перемещается, уменьшая площадь дросселирующего сечения 9 до тех пор, пока величина перепада давлений на объемном дозаторе 4 не достигнет заданной величины.
При уменьшении перепада давлений топлива на объемном дозаторе 4 сила от давления топлива в чувствительной полости 13 становится меньше силы пружины 8 и силы от давления в пружинной полости 16. Равновесие нарушается, и клапан 7 перемещается, увеличивая площадь дросселирующего сечения 9 до тех пор, пока величина перепада давлений на объемном дозаторе 4 не достигнет заданной величины.
Дроссельный пакет 17 обеспечивает устойчивую работу клапана 7, демпфируя колебания давления в пружинной полости 16.
Формула изобретения
Система топливопитания и регулирования газотурбинного двигателя, содержащая центробежный насос и объемный дозатор с регулируемым приводом, отличающаяся тем, что объемный дозатор выполнен в виде шестеренного гидравлического механизма, во входной магистрали которого установлен дросселирующий клапан постоянного перепада давлений на объемном дозаторе.
РИСУНКИ
|