|
(21), (22) Заявка: 2006108391/03, 18.08.2004
(24) Дата начала отсчета срока действия патента:
18.08.2004
(30) Конвенционный приоритет:
20.08.2003 DE 10338861.3
(43) Дата публикации заявки: 27.09.2007
(46) Опубликовано: 20.04.2009
(56) Список документов, цитированных в отчете о поиске:
DE 19802663 А1, 05.08.1999. DE 3543524 A1, 25.06.1987. DE 29824119 U1, 25.05.2000. ЕР 1070824 А2, 24.01.2001. RU 2216631 C1, 20.11.2003.
(85) Дата перевода заявки PCT на национальную фазу:
20.03.2006
(86) Заявка PCT:
EP 2004/051828 20040818
(87) Публикация PCT:
WO 2005/019587 20050303
Адрес для переписки:
105064, Москва, а/я 88, ООО “Квашнин, Сапельников и Партнеры”, пат.пов. В.П.Квашнину, рег. 4
|
(72) Автор(ы):
ГИЗЕЛЬ Бернд (DE), ШЕФЕР Штефан (DE)
(73) Патентообладатель(и):
Профайн ГмбХ (DE)
|
(54) ПРОФИЛЬ ДЛЯ СТВОРНОГО ОКОННОГО ПЕРЕПЛЕТА И ПЛАСТМАССОВОЕ ОКНО С ВКЛЕЕННЫМ ОСТЕКЛЕНИЕМ
(57) Реферат:
Изобретение относится к области строительства, а именно к конструкциям окон. Изобретение позволит повысить жесткость конструкции. Окно со створным оконным переплетом, оконной коробкой и ступенчатым остеклением, у которого створный оконный переплет выполнен из пластмассовых профилей и имеет наружную сторону и обращенную внутрь помещения внутреннюю сторону. Ступенчатое остекление имеет с наружной стороны выступ и причем между ступенчатым остеклением и створным оконным переплетом образована полость фальца оконного стекла. Профили для створного оконного переплета выполнены в виде многокамерных полых профилей и имеют гнездо под оконные приборы и центральную функциональную камеру. Обращенная внутрь помещения стенка центральной функциональной камеры одновременно образует наружную стенку гнезда под оконные приборы. Наружная стенка центральной функциональной камеры образует поверхность склейки для соединения створного оконного переплета с внутренней поверхностью наружного оконного стекла ступенчатого остекления. Верхняя стенка центральной функциональной камеры примыкает к полости фальца оконного стекла, а нижняя стенка центральной функциональной камеры примыкает к образованной фальцем полости, проходящей между створным оконным переплетом и оконной коробкой. 2 н. и 6 з.п. ф-лы, 3 ил.
Настоящее изобретение относится к окну со створным оконным переплетом, оконной коробкой и ступенчатым остеклением, причем створный оконный переплет образован из пластмассовых профилей для створного оконного переплета и имеет наружную сторону и обращенную внутрь помещения внутреннюю сторону, причем ступенчатое остекление имеет расположенный с наружной стороны выступ и причем между ступенчатым остеклением и створным оконным переплетом образована полость фальца оконного стекла.
Область техники
Обычно пластмассовые окна и двери сваривают из пластмассовых профилей, разрезанных на ус, и затем снабжают остеклением, причем остекление удерживается между наружным упором для стекла и внутренней рейкой для крепления стекла. В качестве материала для пластмассовых окон на практике почти исключительно применяется твердый поливинилхлорид (ПВХ), жесткость которого в сравнении с другими пластмассами хотя и относительно высока, однако в сравнении с металлами она является относительно низкой. Поэтому створкам с шириной или высотой более 80 см приходится придавать жесткость с помощью вставляемых в полые камеры усилительных профилей, изготовляемых большей частью из стали.
Уровень техники
В области так называемого конструкционного остекления (Structural Glazings) известно, что остекление, в частности постоянное остекление, вклеивается в раму из стали или алюминия. Уже имеются предложения (DE 4112826 А1, DE 29824119 U1, ЕР 1070824 А2, DE 19802663 С2, DE 3543524 А1) о применении пластмассовых окон с вклеенным остеклением, у которых высокая жесткость остекления отчасти используется также для того, чтобы придать достаточную жесткость створным оконным переплетам без дополнительных стальных усилительных элементов.
Из ЕР 1067268 А2 известна оконная система с оконным стеклом и полученной непрерывным литьем профильной деталью, у которого, вместо обычного многолистового блока остекления, два отдельных оконных стекла соединены непосредственно через специальный литой профиль с образованием створного оконного переплета без стекольного фальца. Такая оконная система технологически весьма трудоемка в изготовлении.
Предлагавшиеся до настоящего времени решения были неудовлетворительны, так как створные конструкции обладают слишком малой жесткостью на изгиб и кручение, сами конструкции весьма сложны или монтаж оконного стекла чрезмерно трудоемок.
Задача изобретения
Поэтому в основу настоящего изобретения положена задача создать пластмассовое окно со створным оконным переплетом с вклеенным остеклением, в котором указанные недостатки устранены. Другие задачи вытекают из преимуществ предлагаемого технического решения в сравнении с ранее известными решениями.
Изложение сущности изобретения
Изобретение решает эту задачу с помощью окна со створным оконным переплетом, оконной коробкой и ступенчатым остеклением согласно п.1 формулы изобретения, предпочтительно в комбинации с одним или несколькими признаками зависимых пунктов формулы, соответственно с помощью профиля для створного оконного переплета для такого окна согласно п.7 или 8 формулы изобретения.
Существенным признаком решения задачи согласно изобретению является центральная функциональная камера в профиле для створного оконного переплета, имеющем несколько полых камер. Эта центральная функциональная камера в свою очередь может быть разделена на несколько подкамер, чтобы повысить жесткость, однако повышение ее жесткости достигается без применения вставляемых усилительных профилей. Вместо этого необходимая жесткость обеспечивается посредством склейки наружной стенки центральной функциональной камеры с внутренней стороной наружного оконного стекла ступенчатого остекления.
Согласно предпочтительному варианту осуществления изобретения склейка производится силиконовым клеем, причем клеевой шов имеет ширину приблизительно от 5 до 10 мм, предпочтительно от 6 до 9 мм.
Склейка ступенчатого остекления со створным оконным переплетом предпочтительно производится по всему периметру, т.е. на всех четырех сторонах, включая угловые участки оконного стекла. Согласно альтернативному варианту осуществления изобретения склейка может производиться с разрывами через регулярные промежутки, в частности после проклейки, например 10 см длины, может быть предусмотрен отрезок, например длиной 2 см, не содержащий клея, и т.п. Или проклейка может производиться в виде сплошной ленты на трех сторонах, в то время как на нижней горизонтальной стороне могут быть предусмотрены несколько разрывов, чтобы создать возможность проветривания через эти разрывы полости, образованной фальцем оконного стекла.
Центральная функциональная камера на обращенной внутрь помещения стороне предпочтительно примыкает к гнезду под оконные приборы, так что обращенная в сторону помещения стенка центральной функциональной камеры одновременно образует наружную стенку гнезда под оконные приборы. Таким образом могут быть созданы особенно тонкие и одновременно жесткие на кручение и изгиб геометрии профиля. В створном оконном переплете гнездо под оконные приборы служит для крепления в нем оконных приборов, и его геометрия практически является фиксированной.
Верхняя стенка центральной функциональной камеры, т.е. стенка, обращенная к полости, образованной фальцем оконного стекла, согласно изобретению непосредственно примыкает к полости, образованной фальцем оконного стекла. Это дает возможность в максимальной степени направлять силы от остекления непосредственно в центральную функциональную камеру. Наконец, нижняя стенка центральной функциональной камеры примыкает к образованной фальцем полости, проходящей между створным оконным переплетом и оконной коробкой.
Согласно предпочтительному варианту осуществления изобретения профили для створного оконного переплета, если смотреть в поперечном сечении нижнего горизонтального профиля, имеют выше гнезда под оконные приборы или выше центральной функциональной камеры проходящую параллельно плоскости остекления поверхность прилегания, снабженную двухслойной клейкой лентой. Эта двухслойная клейкая лента служит в первую очередь для облегчения монтажа остекления, а также для фиксации остекления в створном оконном переплете до полного отверждения, соответственно вулканизации клея.
Для изготовления створки вначале разрезают на ус профили для створного оконного переплета и известным специалисту способом сваривают друг с другом, причем валики сварного шва в угловых зонах предпочтительно удаляют. В готовый сваренный и зачищенный створный оконный переплет устанавливают по центру – малым оконным стеклом вперед – ступенчатое остекление, причем створный оконный переплет может быть зафиксирован в стоячем или лежачем положении. После прижатия внутренней поверхности внутреннего (т.е. меньшего) оконного стекла к двухслойной клейкой ленте остекление вначале фиксируют в створном оконном переплете. Затем шов шириной приблизительно от 5 до 10 мм между внутренней поверхностью наружного оконного стекла и склеиваемой поверхностью центральной функциональной камеры заполняют подходящим клеем, в частности силиконовым клеем. Клей затем отверждают, например, путем реакции отверждения. В качестве альтернативы, перед тем как вставлять остекление, можно также нанести, в частности по всему периметру, валик клеящего средства на наружную склеиваемую поверхность центральной функциональной камеры, который после установки остекления в раму соединит остекление и створный оконный переплет наглухо или с силовым замыканием.
Согласно предпочтительному варианту осуществления изобретения профиль для створного оконного переплета имеет, наряду с центральной функциональной камерой и соседним с ней гнездом под оконные приборы, упорную камеру для оконного стекла, которая выполнена за одно целое с профилем для створного оконного переплета и при необходимости может быть подразделена на две или более камеры.
Выполненная таким образом упорная камера для оконного стекла предпочтительно имеет на обращенной в сторону стекла верхней кромке гибкое уплотнение, выполненное на ней во время экструзии и предназначенное для уплотнения зазора между внутренней упорной камерой и остеклением. Благодаря этому предотвращается проникновение влаги в щель между упорной камерой для оконного стекла и внутренней поверхностью ступенчатого остекления, что обеспечивает практически полную защиту двухслойной клейкой ленты.
Согласно еще одному предпочтительному варианту осуществления изобретения центральная функциональная камера нижнего горизонтального профиля для створного оконного переплета имеет одно или несколько просверленных, или профрезерованных отверстий, которые создают сквозное соединение между образованной фальцем полостью, проходящей между створным оконным переплетом и оконной коробкой, с одной стороны, и полостью, образованной фальцем оконного стекла, с другой стороны, для вентиляции полости, образованной фальцем оконного стекла.
Предлагаемая в изобретении концепция с центральной функциональной камерой, с одной стороны, и примыкающим к ней со стороны помещения гнездом под оконные приборы, с другой стороны, дает возможность выполнять профили для створного оконного переплета по изобретению с оптически чрезвычайно малой шириной при высокой устойчивости и жесткости на изгиб и кручение. Изобретение, в частности, пригодно для окон из ПВХ, однако оно может быть использовано также для изготовления окон из полипропиленовых профилей или стеклопластиков.
Краткое описание чертежей
Ниже изобретение подробнее описывается на примере его осуществления со ссылкой на прилагаемые чертежи, на которых показано:
Фиг.1 – поперечное сечение окна по изобретению со ступенчатым остеклением;
Фиг.2 – поперечное сечение створки согласно уровню техники;
Фиг.3 – поперечное сечение профиля для створного оконного переплета по изобретению.
Наилучший способ осуществления изобретения
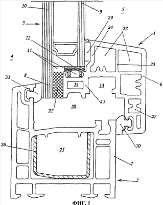
На Фиг.1 представлено поперечное сечение окна по изобретению со створного оконного переплета 1, оконной коробкой 2 и ступенчатым остеклением 3. Оконная коробка 2 соответствует уровню техники и составлена обычным образом из рамных профилей, предусмотренных для такой оконной коробки. Жесткость центральной полой камеры 25 обеспечивается стальными усилительными элементами 26.
Само по себе известное ступенчатое остекление 3 имеет наружное оконное стекло 10 и внутреннее оконное стекло 9, причем наружное оконное стекло 10 больше внутреннего стекла на размер выступа 8 наружного стекла.
Профиль 6 для створного оконного переплета на Фиг.1 изображен на чертеже наглядно в поперечном разрезе, а на Фиг.3 представлен отдельно. Он, по существу, состоит из центральной функциональной камеры 14, гнезда 13 под оконные приборы, упорной камеры 22 для оконного стекла, а также створного ограничителя 27. Упорная камера 22 для оконного стекла разделена перемычкой 23 на две меньшие камеры.
Профили для оконной коробки и для створного оконного переплета изготовлены из твердого ПВХ.
Центральная функциональная камера 14 имеет с наружной стороны 4 стенку 16, проходящую параллельно к плоскости остекления и служащую поверхностью 17 склейки, которой она приклеивается к ступенчатому остеклению. От образованной фальцем оконного стекла полости центральная функциональная камера 14 отделена стенкой 18, которая одновременно служит для крепления известных, применяемых при остеклении колодок 12.
Со стороны 5 помещения центральная функциональная камера 14 ограничена стенкой 15, которая одновременно является наружной стенкой гнезда 13 под оконные приборы. Тем самым гнездо 13 под оконные приборы и центральная функциональная камера 14 расположены практически на одной плоскости, что приводит к оптически очень узкой ширине створного оконного переплета 1 по изобретению. На Фиг.2 для сравнения показан стандартный створный оконный переплет при одинаковом увеличении.
Наконец, от образованной фальцем полости 20, расположенной между створным оконным переплетом 1 и оконной коробкой 2, центральная функциональная камера 14 отделена нижней стенкой 19, причем стенка 19 имеет с наружной стороны кромку 28 для отекания капель.
Выше гнезда 13 под оконные приборы расположена упорная камера 22 для оконного стекла, которая в приведенном примере с целью обеспечения дополнительной жесткости разделена перемычкой 23. С наружной стороны 4 упорная камера 22 для оконного стекла ограничена легко пружинящей стенкой 24, которая с наружной стороны снабжена двухсторонней клейкой лентой 29.
Для монтажа предлагаемого в изобретении окна вначале изготовляют известным образом оконную коробку 2 и створный оконный переплет 1 из соответствующих профилей 7 для оконной коробки и профилей 6 для створного оконного переплета путем сварки их в скошенной зоне. После того как створный оконный переплет зачищен, на наружную сторону стенки 24 упорной камеры 22 для оконного стекла наносят двухслойную клейкую ленту 29. Затем в створный оконный переплет 1 устанавливают ступенчатое остекление 3, центрируя его с помощью колодок 12 остекления, предусмотренных по две на каждую из двух соседних сторон створки. Кратковременным прижатием ступенчатого остекления 3 к свободной поверхности двухслойной клейкой ленты 29 производят фиксацию ступенчатого остекления 3. Затем заполняют щель между выступом 8 оконного стекла и склеиваемой поверхностью 17 стенки 16 центральной функциональной камеры 14 самоотверждающимся силиконовым клеем. Выступающие участки места 21 проклейки могут быть закрашены, а место 21 проклейки может быть известным образом разглажено на его нижней стороне, обращенной к полости 20, образованной фальцем. После отверждения клея в зоне 21 проклейки жесткость как в отношении изгибания, так и в отношении кручения обеспечивается почти исключительно ступенчатым остеклением 3. При этом двухслойная клейкая лента 29 служит почти исключительно для целей фиксации во время монтажа, а для соединения ступенчатого остекления 3 со створным оконным переплетом 1 она играет лишь второстепенную роль.
Щель между обращенной к оконному стеклу стенкой 24 упорной камеры 22 для оконного стекла и внутренним оконным стеклом 9 уплотняется в верхней зоне посредством уплотнительного язычка 32.
Перечень обозначений
1,1 Створный оконный переплет
2 Оконная коробка
3 Ступенчатое остекление
4 Наружная сторона
5 Внутреннее пространство помещения
6 Профиль для створного оконного переплета
7 Профиль для оконной коробки
8 Выступ оконного стекла
9 Внутреннее оконное стекло
10 Наружное оконное стекло
11 Полость, образованная фальцем оконного стекла
12 Колодка остекления
13, 13 Гнездо под оконные приборы
14 Центральная функциональная камера
15 Стенка
16 Стенка
17 Поверхность склейки, склеиваемая поверхность
18 Стенка
19 Стенка
20 Полость, образованная фальцем
21 Место склейки
22 Упорная камера для оконного стекла
23 Перемычка
24 Стенка
25 Полая камера
26 Стальной усилительный элемент
27 Створный ограничитель
28 Кромка для отекания капель
29 Двухслойная клейкая лента
30 Внутреннее уплотнение упора
31 Наружное уплотнение упора
32 Уплотнительный язычок
33 Ограничитель для оконного стекла на оконной коробке
34 Профиль для створного оконного переплета
35 Ограничитель для оконного стекла на профиле оконного переплета
36 Рейка для крепления оконного стекла, стеклоудерживающая рейка
37 Остекление
38 отпадает
39 Створный ограничитель
40 Наружная упорная поверхность
41 Наружная упорная поверхность
42, 42 Средняя ось
А Расстояние
B Расстояние
C Глубина фальца оконной коробки
Формула изобретения
1. Окно со створным оконным переплетом (1), оконной коробкой (2) и ступенчатым остеклением (3), причем створный оконный переплет (1) выполнен из пластмассовых профилей (6) для створного оконного переплета и имеет наружную сторону (4) и обращенную внутрь помещения (5) внутреннюю сторону, причем ступенчатое остекление (3) имеет расположенный с наружной стороны выступ (8) оконного стекла и причем между ступенчатым остеклением (3) и створным оконным переплетом (1) образована полость (11) фальца оконного стекла, профили (6) выполнены в виде многокамерных полых профилей и профили (6) имеют гнездо (13) под оконные приборы, отличающееся тем, что профили (6) имеют центральную функциональную камеру (14) с обращенной внутрь помещения стенкой (15), наружной стенкой (16), верхней стенкой (18) и нижней стенкой (19), причем обращенная внутрь помещения стенка (15) одновременно образует наружную стенку гнезда (13) под оконные приборы, а наружная стенка (16) образует поверхность (17) склейки для соединения створного оконного переплета (1) с внутренней поверхностью наружного оконного стекла (10) ступенчатого остекления (3) и причем верхняя стенка (18) примыкает к полости (11) фальца оконного стекла, а нижняя стенка (19) примыкает к образованной фальцем полости (20), проходящей между створным оконным переплетом (1) и оконной коробкой (2).
2. Окно по п.1, отличающееся тем, что профили (6) сварены между собой в зоне соединения на ус.
3. Окно по п.1 или 2, отличающееся склейкой (21) по периметру между внутренней стороной наружного оконного стекла (10) и наружной стенкой (16) центральной функциональной камеры (14).
4. Окно по п.1, отличающееся тем, что выше гнезда (13) под оконные приборы расположена внутренняя упорная камера (22) для оконного стекла, наружная стенка которой соединена с внутренней поверхностью внутреннего оконного стекла (9) ступенчатого остекления (3) двухслойной клейкой лентой (29) в качестве фиксирующего элемента.
5. Окно по п.4, отличающееся тем, что внутренняя упорная камера (22) для оконного стекла имеет на обращенной в сторону стекла верхней кромке гибкое уплотнение (32), выполненное на ней во время экструзии и предназначенное для уплотнения зазора между внутренней упорной камерой (22) и остеклением.
6. Окно по п.1, отличающееся тем, что створный оконный переплет (1) не имеет усилительного профиля.
7. Профиль (6) для створного оконного переплета для окна по одному из пп.1-6 со следующими признаками: профиль (6) выполнен из пластмассы и имеет несколько полых камер, гнездо (13) под оконные приборы и центральную функциональную камеру (14); обращенная внутрь помещения стенка (15) центральной функциональной камеры (14) образует одновременно наружную стенку гнезда (13) под оконные приборы; наружная стенка (24) центральной функциональной камеры (14) образует поверхность (17) склейки, пригодную для соединения створного оконного переплета (1) с внутренней поверхностью наружного оконного стекла (10) ступенчатого остекления (3).
8. Профиль (6) для створного оконного переплета по п.7, отличающийся тем, что выше гнезда (13) под оконные приборы расположена упорная камера (22) для оконного стекла, соединенная за одно целое с профилем створного оконного переплета.
РИСУНКИ
|