|
|
(21), (22) Заявка: 2007134919/02, 19.09.2007
(24) Дата начала отсчета срока действия патента:
19.09.2007
(46) Опубликовано: 20.04.2009
(56) Список документов, цитированных в отчете о поиске:
SU 399525 А, 03.10.1973. RU 2048528 C1, 20.11.1995. SU 854992 A, 15.08.1981. SU 1771486 A3, 23.10.1992. SU 1361174 A1, 23.12.1987.
Адрес для переписки:
398058, г.Липецк, ул. 15-й мкр., 28, кв.97, Г.И.Урбановичу
|
(72) Автор(ы):
Урбанович Генрих Иванович (RU), Урбанович Елена Генриховна (RU), Воропаев Виктор Федорович (RU), Панов Виктор Алексеевич (RU)
(73) Патентообладатель(и):
Урбанович Генрих Иванович (RU)
|
(54) УСТРОЙСТВО ДЛЯ ПОДАЧИ ПРИРОДНОГО ГАЗА В ДОМЕННУЮ ПЕЧЬ
(57) Реферат:
Изобретение относится к области черной металлургии, конкретно к оборудованию доменной печи. Устройство содержит воздушную фурму, соединенную газопроводом с коллектором распределения природного газа по фурмам через змеевики секций плитовых холодильников площадки фурменной зоны, расположенных над чугунной леткой и главным желобом доменной печи. Газопровод от коллектора распределения природного газа по фурмам врезан в трубу подвода воды к змеевикам секций плитовых холодильников площадки фурменной зоны. Каждая из двух секций плитовых холодильников площадки фурменной зоны над чугунной леткой соединена с одной воздушной фурмой, близлежащей к секции плитовых холодильников площадки фурменной зоны. Использование изобретения обеспечивает снижение расхода кокса на выплавку чугуна. 2 з.п. ф-лы, 4 ил.
Изобретение относится к черной металлургии, конкретно к оборудованию доменной печи, и может быть использовано при выплавке чугуна с вдуванием в печь природного газа через воздушные фурмы.
Подогрев природного газа перед подачей в доменную печь обеспечивает значительное снижение расхода кокса на выплавку чугуна (А.Н.Рамм, Современный доменный процесс. – М.: Металлургия. – 1980 – с.228).
Известна фурма доменной печи, в рабочем канале которой размещен жаропрочный экран, образующий с корпусом кольцевой зазор для подогрева природного газа, кольцевой зазор со стороны рыльной части закрыт кольцом, направляющим газ по выточкам в дутье, кольцо расположено на расстоянии, равном 1/3 длины рабочего канала фурмы, на конце рабочего канала фурмы укреплено упорное кольцо для удержания теплоизоляционного слоя, размещенного между направляющим и упорными кольцами.
Газ имеет низкую температуру, которая зимой составляет минус 20°С. Поступая под экран, газ подогревается дутьем, снижает потери тепла горячего дутья с водой охлаждения фурмы (см. авт. свид. СССР 840116, кл. С21В 7/16, 1981).
К причине, препятствующей достижению указанного ниже технического результата, относится то, что на нагрев газа используется только тепло горячего дутья.
Известно сопло фурменного прибора доменной печи, содержащее стальную трубу, которая внутри футерована кольцами из огнеупорного материала. В кольцах имеются сквозные отверстия, продольные оси которых параллельны продольной оси трубы сопла и образуют каналы для прохода газа вдоль трубы.
Природный газ, проходя в каналах футеровки трубы, подогревается, потери тепла горячего дутья через внешнюю поверхность трубы сопла сокращаются (см. патент РФ 2048528, кл. С21В 7/16).
К причине, препятствующей достижению указанного ниже технического результата, относится то, что нагрев газа производится только теплом горячего дутья.
Известен способ подогрева природного газа, осуществляемый его подачей в охлаждающие полости фланцев колена фурменного прибора доменной печи. Газ, подогретый в каждом из двух фланцев колена на 190-210°С, поступает через воздушную фурму в печь, снижая расход кокса (см. патент РФ 2294377, кл. С21В 5/00, 2007).
К причине, препятствующей достижению указанного ниже технического результата, относится то, что нагрев газа производится только теплом горячего дутья.
Известно устройство для подачи природного газа в доменную печь, содержащее распределительный коллектор, соединенный с полыми фланцами подвижного колена фурменного прибора, причем с целью подогрева газа, полый фланец подвижного колена соединен с каналом подачи газа в фурму (авт. свид. СССР 399525, С21В 7/16, 1971). К причине, препятствующей достижению указанного ниже технического результата, относится то, что нагрев газа производится теплом горячего дутья.
Для ликвидации выбросов бурого дыма при выпуске чугуна из доменной печи применяют аспирационные системы, размещая укрытия над чугунной леткой и главным желобом. Одним из элементов этих укрытий являются площадки фурменной зоны с плитовыми холодильниками, охлаждаемые водой, которые размещены над чугунной леткой и главным желобом ([1] – Турова Е.С. “Борьба с выбросами бурого дыма на литейных дворах за рубежом”, М., 1992 (обзорная информация/ ин-т.”Черметинформация” сер. “защита воздушного и водного бассейна от выбросов металлургических заводов”, вып.1).
На доменной печи 4 (диаметр горна 8,4 м) завода фирмы “Дофаско” в Гамильтоне (Канада) система отсоса газов от главного чугунного желоба включает водоохлаждаемое укрытие над чугунной леткой, водоохлаждаемую площадку обслуживания фурм, подвижное укрытие главного желоба, убирающийся зонд, укрытие скиммера, подвижный газоход, механизм передвижения укрытия главного желоба, воодохлаждаемая площадка обслуживания фурм, зонты над леткой и скиммером. Подвижный газоход необходимо перемещать только при ремонте главного желоба [1, с.4, рис.3].
На доменной печи 3 металлургического комбината “КАТОВИЦА” Польша (диаметр горна 12 м, круглый литейный двор, 4 чугунные летки, производство чугуна более 6000 т/сутки, количество выпусков до 20 в сутки) на летках установлены площадки для обслуживания фурм, снабженные жаростойкими плитами, охлаждаемыми водой [1, с.6-7, рис.4]. Печь оборудована малогабаритными пушками и бурмашинами. Каждая подфурменная площадка, шириной 5 м, образует над главным желобом у доменной печи род крыши, которая не позволяет газам подниматься вверх вокруг поддоменника. По обеим сторонам главного желоба установлены боковые отсосы, доходящие от рабочей площадки поддоменника вплоть до подфурменной площадки. Из боковых отсосов газы отводятся в коллектор, находящийся под рабочей площадкой литейного двора. Летка и главный желоб на протяжении 5 метров закрыты с боков, сверху и снизу. С торцевой стороны сохранен открытый проход для въезда пушки или бурмашины. Первый участок главного желоба находится, таким образом, укрытый, далее укрытия желоба не предусмотрено.
Аналогичные решения герметизации чугунной летки (фиг.1) имеют место на доменных печах НЛМК объемом 3200 м3 с 4-мя чугунными летками 6, 5 и печи 4 объемом 2000 м3 с двумя чугунными летками.
Заявленное изобретение решает задачу подогрева природного газа, подаваемого в воздушную фурму за счет тепла, которое бесполезно теряется у печи.
Технический результат – подогрев природного газа, подаваемого в воздушную фурму, теплом, излучаемым чугуном и шлаком, которые вытекают из чугунной летки доменной печи, снижение расхода кокса на выплавку чугуна за счет тепла, вносимого подогретым газом.
Указанный технический результат достигается применением устройства для подачи природного газа в доменную печь, оборудованную площадкой фурменной зоны с плитовыми холодильниками, характеризующегося тем, что оно содержит воздушную фурму, соединенную с коллектором распределения природного газа по фурмам через змеевики секции плитовых холодильников площадки фурменной зоны, расположенных над чугунной леткой и главным желобом доменной печи.
Особенностями заявляемого устройства являются также:
Газопровод от коллектора распределения природного газа по фурмам к воздушной фурме врезан в трубу подвода воды к змеевикам секции плитовых холодильников площадки фурменной зоны.
Каждая из двух секций плитовых холодильников фурменной зоны над чугунной леткой соединена с одной воздушной фурмой, близлежайшей к секции плитовых холодильников площадки фурменной зоны.
На чертежах представлено:
Фиг.1 – существующее устройство подачи природного газа в доменную печь.
Фиг.2 – предлагаемое устройство подачи природного газа в доменную печь.
Фиг.3 – плита-холодильник площадки фурменной зоны доменной печи над чугунной леткой.
Фиг.4 – план размещения устройств для подачи природного газа в печь с четырьмя чугунными летками.
Сведения, подтверждающие возможность осуществления изобретения с получением вышеуказанного технического результата, заключается в следующем.
Существующее устройство (фиг.1) содержит воздушную фурму 1, соединенную через шарнирное соединение 2, обратный клапан 3 со стационарной линией подачи природного газа к коллектору 9 распределения газа по фурмам (устройства, входящие в стационарную линию вентили 4, 5, дроссельный клапан 6, измерительная диафрагма 7, вентиль 8 для упрощения фиг.1, не показаны. Их размещение показано на фиг.2 предлагаемого изобретения).
Водяной коллектор 10 через задвижку 11, трубу 12 соединен с змеевиками секции плит-холодильников 13 площадки 15 фурменной зоны над чугунной леткой 16, чугуном и шлаком 17 в главном желобе 18, размещенном в массиве 19 литейного двора. От чугуна и шлака в главном желобе, имеющем температуру 1500-1550°С, на плиты-холодильники действует тепловой поток 20 излучения и конвекции.
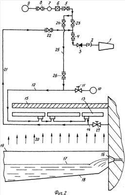
Предлагаемое устройство подачи природного газа в доменную печь (фиг.2) содержит воздушную фурму 1, соединенную через шарнирное соединение 2, обратный клапан 3 со стационарной линией подачи природного газа, включающей вентиль 4, вентиль 23, вентиль 5, дроссельный клапан 6, измерительную диафрагму 7, вентиль 8, коллектор 9 распределения газа по фурмам (схема существующая); стационарная линия подачи газа по изобретению включает: дополняющие существующую схему вентиль 24, газопровод 25 с вентилем 26, причем газопровод 25 врезан в трубу 12 существующего водопровода на змеевики плит-холодильников от водяного коллектора 10. Змеевики секции плит-холодильников газопроводом 21 с вентилем 22 соединены с существующей стационарной линией подачи газа коллектор 9 – фурма 1. На существующем отводе 14 воды от плит-холодильников установлена задвижка 27, отрезающая отвод до колонки сброса воды (не показана).
Подогретым газом снабжаются: воздушная фурма над левой секцией плит-холодильников и воздушная фурма над правой их секцией (отчет левой и правой секций принят относительно чугунной летки: смотреть на летку со стороны литейного двора).
Предлагаемое устройство обеспечивает охлаждение плит-холодильников водой, если доменная печь работает без вдувания природного газа, и охлаждение плит-холодильников природным газом. В этом случае выполняются операции:
– при открытой задвижке 27 на отводе 14 закрывают задвижку 11, отключая подачу воды из водяного коллектора 10 к змеевикам плит-холодильников 13;
– закрывают вентиль 4;
– закрывают подачу газа на коллектор 9;
– открывают вентили 23, 24, 26 на газопроводе 25, вентиль 22 на газопроводе 21;
– пропаривают трассу коллектор 9 – вентиль 8, измерительная диафрагма 7, дроссельный клапан 6, вентиль 5, вентиль 24, газопровод 21, 25 – труба 12 – змеевики плит-холодильников 13 – задвижка 27 в течение 15 минут (паропровод в коллектор 9 не показан).
После пропаривания закрывают задвижку 27, открывают вентиль 4, закрывают вентиль 23, открывают газ в коллектор 9. Газ проходит по трассе коллектор 9, узлы 8, 7, 6, 5 – вентиль 24 – газопровод 25 – труба 12 – змеевики плит-холодильников 13 – газопровод 21 – вентили 22, 4, обратный клапан 3, шарнирное соединение 2 – фурма 1 – печь.
При выпуске чугуна и шлака 17 из чугунной летки 16 от теплового потока 20 плиты-холодильники 13 нагреваются, газ, проходя по змеевикам плит, нагревается. За время выпуска массивные плиты (фиг.3) аккумулируют тепло. При существующей практике на печи объемом 3200 м3 в сутки производят 18-21 выпуск. Главный желоб после каждого выпуска от чугуна и шлака не опорожняют. Поэтому на плиты-холодильники 13 действует тепловой поток 20 и между выпусками. Обычно летки работают в очередности: 1-3 8 часов, 2-4 следующие 8 часов, т.е. в смену подогретый газ поступает на 4 фурмы (фиг.4).
На печи объемом 3200 м3 при расходе воды 6.5 м3/час на одну секцию плит-холодильников перепад температур охлаждающей воды составляет 9,6°С, с водой от плит одной секции отнимается 260832 кДж/час.
При работе печи: производство 6983 т/сутки, расход природного газа 92 м3/т чугуна, температура дутья 1139°С, 26,7% О2 в дутье, расход газа на одну из 32 фурм составляет 836 м3/час. При теплоемкости природного газа 2,02 кДж/м3·град повышение температуры газа, поступающего на фурму заявленного устройства, составляет
260832:(836×2,02)=154°С.
При теплотворности углерода кокса 3601 ккал/кг экономия кокса с 85% С на 8 фурмах составит
260832 кДж/час × 8:(3601×4,18):0,85=163,1 кг/час или
163×24:6983 т/сут=0.56 кг/т чугуна.
Формула изобретения
1. Устройство для подачи природного газа в доменную печь, оборудованную площадкой фурменной зоны с плитовыми холодильниками, характеризующееся тем, что оно содержит воздушную фурму, соединенную газопроводом с коллектором распределения природного газа по фурмам через змеевики секций плитовых холодильников площадки фурменной зоны, расположенных над чугунной леткой и главным желобом доменной печи.
2. Устройство по п.1, отличающееся тем, что газопровод от коллектора распределения природного газа по фурмам к воздушной фурме врезан в трубу подвода воды к змеевикам секций плитовых холодильников площадки фурменной зоны.
3. Устройство по любому из пп.1 и 2, отличающееся тем, что каждая из двух секций плитовых холодильников площадки фурменной зоны над чугунной леткой соединена с одной воздушной фурмой, близлежащей к секции плитовых холодильников площадки фурменной зоны.
РИСУНКИ
|
|