|
|
(21), (22) Заявка: 2005117790/04, 12.12.2003
(24) Дата начала отсчета срока действия патента:
12.12.2003
(30) Конвенционный приоритет:
20.12.2002 IT MI2002A 002713 08.04.2003 IT MI2003A 000692
(43) Дата публикации заявки: 27.02.2006
(46) Опубликовано: 20.04.2009
(56) Список документов, цитированных в отчете о поиске:
US 5242578 А, 07.09.1993. US 4640762 А, 03.02.1987. RU 2174534 С2, 10.10.2001.
(85) Дата перевода заявки PCT на национальную фазу:
20.07.2005
(86) Заявка PCT:
EP 03/014545 20031212
(87) Публикация PCT:
WO 2004/056947 20040708
Адрес для переписки:
191036, Санкт-Петербург, а/я 24, “НЕВИНПАТ”, пат.пов. А.В.Поликарпову
|
(72) Автор(ы):
МОНТАНАРИ Ромоло (IT), МАРКЬОННА Марио (IT), ПАНАРИТИ Николетта (IT), ДЕЛЬБЬЯНКО Альберто (IT), РОЗИ Серджо (IT)
(73) Патентообладатель(и):
Эни С.п.А. (IT), Снампроджетти С.п.А. (IT), Энитекнолодже С.п.А. (IT)
|
(54) СПОСОБ ПЕРЕРАБОТКИ ТЯЖЕЛОГО СЫРЬЯ, ТАКОГО КАК ТЯЖЕЛАЯ СЫРАЯ НЕФТЬ И КУБОВЫЕ ОСТАТКИ
(57) Реферат:
Изобретение относится к способу переработки тяжелого сырья, выбранного из тяжелых сырых нефтей, включающему следующие операции: – смешивание по меньшей мере части тяжелого сырья (1b) и по меньшей мере большей части потока, содержащего асфальтены, полученные в установке деасфальтизации, или по меньшей мере большей части потока, содержащего асфальтены с подходящим катализатором гидрогенизации, и подачу полученной смеси в реактор гидрообработки (ГО), в который загружают водород или смесь водорода и H2S; – подачу потока, содержащего продукт реакции гидрообработки и катализатор, находящийся в дисперсной фазе, на одну или более чем одну операцию (П) перегонки или мгновенного испарения, посредством чего отделяют различные фракции, полученные при гидрообработке; – рециркуляцию по меньшей мере части кубового остатка (гудрона) или жидкости, выходящей из установки мгновенного испарения, содержащей катализатор в дисперсной фазе, обогащенной сульфидами металлов, получаемыми при деметаллировании сырья, и возможно, коксом, в присутствии растворителей в зону деасфальтизации (СДА), в которую также, возможно, подают по меньшей мере часть тяжелого сырья (1а), с получением двух потоков, один из которых состоит из деасфальтированного нефтепродукта (ДАН), а другой содержит асфальтены, отличающийся тем, что поток, содержащий продукт реакции гидрообработки и катализатор в дисперсной фазе, перед подачей на одну или более чем одну операцию перегонки или мгновенного испарения подвергают предварительному разделению при высоком давлении для получения легкой фракции и тяжелой фракции, при этом лишь тяжелую фракцию подают для осуществления указанной операции (операций) (П) перегонки. 35 з.п. ф-лы, 8 табл., 1 ил.
Изобретение относится к способу переработки тяжелого сырья, в частности тяжелых сырых нефтей, битумов из нефтеносных песков, кубовых остатков после перегонки и различных видов углей, при помощи трех основных технологических установок: установки гидроконверсии сырья с использованием катализаторов, находящихся в дисперсной фазе, установки перегонки и установки деасфальтизации, соединенных соответствующим образом, в которые подают смешанные потоки сырья, состоящего из свежего сырья и продуктов переработки, при этом к указанным трем основным установкам добавлена установка дополнительной обработки легких дистиллятов, нафты и газойля.
Переработку тяжелых сырых нефтей, битумов из нефтеносных песков и нефтяных остатков в жидкие продукты можно по существу проводить двумя способами: посредством исключительно термической переработки и посредством гидрогенизационной переработки.
В настоящее время исследования в основном нацелены на гидрогенизационную обработку, поскольку при термической обработке возникают проблемы, связанные с утилизацией побочных продуктов, в частности кокса (пека), (также получаемого в количествах, превышающих 30 мас.% в расчете на массу сырья), а также с неудовлетворительным качеством продуктов переработки.
Гидрогенизационные способы заключаются в обработке сырья в присутствии водорода и подходящих катализаторов.
Имеющиеся в настоящее время на рынке технологии гидропереработки используют реакторы с неподвижным слоем катализатора или реакторы с кипящим (псевдоожиженным) слоем катализатора, и катализаторы, обычно состоящие из одного или более переходного металла (Мо, W, Ni, Co и т.д.) на носителе из оксида кремния/оксида алюминия (или эквивалентного материала).
Для технологий с неподвижным слоем катализатора имеются значительные трудности при обработке особо тяжелого сырья, содержащего большие количества гетероатомов, металлов и асфальтенов, поскольку указанные примеси вызывают быструю дезактивацию катализатора.
Для обработки указанного сырья были разработаны и внедрены технологии, осуществляемые в кипящем слое катализатора; при этом получают хорошие рабочие характеристики, но технологии являются сложными и дорогостоящими.
Проблемы, возникающие при применении реакторов с неподвижным или кипящим слоем катализатора, могут быть с успехом решены при помощи способов гидрообработки с использованием катализаторов, находящихся в дисперсной фазе. Действительно, в суспензионных процессах сочетаются гибкость при обработке широкого спектра сырья и высокая эффективность с точки зрения конверсии и повышения качества продукции, что в принципе делает эти процессы более технологически простыми.
Суспензионные технологии характеризуются наличием частиц катализатора, имеющих очень малые средние размеры и равномерно диспергированных в реакционной среде; по этой причине процессы гидрогенизации осуществляют с большей легкостью и более эффективно во всех точках реактора. Также может быть значительно снижено коксообразование и достигнута высокая степень облагораживания сырья.
Катализатор может быть введен в виде порошка с очень малыми размерами частиц или в виде растворимого в нефти предшественника. В последнем случае активная форма катализатора (обычно сульфид металла) образуется in situ при термическом разложении используемого соединения во время проведения самой реакции или после соответствующей предварительной обработки.
Металлические составляющие диспергированных катализаторов обычно представляют собой один или более переходных металлов (предпочтительно Мо, W, Ni, Со или Ru). Молибден и вольфрам обеспечивают более удовлетворительные рабочие характеристики, чем никель, кобальт или рутений, и даже более удовлетворительные по сравнению с ванадием и железом (N.Panariti et al., Appl. Catal. A: Gen. 2000, 204, 203).
Несмотря на то, что применение диспергированных катализаторов решает основную часть проблем, связанных с вышеописанными технологиями, недостатками указанных катализаторов является неудовлетворительные сроки службы самих катализаторов и неудовлетворительное качество получаемых продуктов.
Условия использования указанных катализаторов (тип предшественника, концентрация и т.д.) в действительности являются чрезвычайно важными как с экономической, так и с экологической точки зрения.
Можно применять низкие концентрации катализатора (несколько сот частей на миллион) в конфигурации с однократным прохождением , но в этом случае облагораживание продуктов реакции, как правило, бывает неудовлетворительным (A.Delbianco et al., Chemtech, November 1995, 35). При работе с чрезвычайно активными катализаторами (например, молибденом) и при более высоких концентрациях катализатора (несколько тысяч частей на миллион), качество получаемого продукта заметно улучшается, но при этом необходима рециркуляция катализатора.
Катализатор, поступающий из реактора, может быть выделен путем отделения от продукта, получаемого при гидрообработке (предпочтительно – из нижней части перегонной колонны, находящейся после реактора), традиционными способами, такими как декантация, центрифугирование или фильтрование (патенты США 3240718 и 4762812). Часть указанного катализатора без дополнительной обработки может быть направлена рециклом в процесс гидрогенизации. Однако активность катализатора, извлеченного и повторно используемого в соответствии с известными способами гидрообработки, обычно ниже активности свежего катализатора, что приводит к необходимости проведения соответствующей операции регенерации катализатора для восстановления его каталитической активности и рециркуляции по меньшей мере части указанного катализатора в реактор гидрогенизации. Кроме того, указанные способы регенерации дорогостоящи и технологически сложны.
Все вышеуказанные способы гидропереработки позволяют получать, в зависимости от природы используемого сырья и применяемой технологии, более или менее высокие степени превращения, однако в любом случае на пределе устойчивости происходит образование непрореагировавшего остатка, здесь и далее называемого гудроном, который, в зависимости от конкретного случая, составляет от 15 до 85% от массы исходного сырья. Этот продукт используют для производства нефтяного топлива, битумов, или он может быть использован в качестве сырья для газификации.
Для увеличения общей степени конверсии при крекинге остатков были предложены схемы, которые включают рециркуляцию одной или нескольких значительных количеств гудрона в установку крекинга. В случае процессов гидропереработки с использованием катализаторов, диспергированных в суспензионной фазе, рециркуляция гудрона также позволяет извлекать катализатор в такой степени, что авторы настоящего патента в заявке IT-95А001095 описывают способ, позволяющий рециркулировать извлеченный катализатор в реактор гидрообработки без необходимости осуществления дополнительной операции регенерации, и в то же время обеспечивающий получение высококачественного продукта, не получая при этом остатка (нефтеперерабатывающая установка с нулевым остатком).
Этот способ включает следующие стадии:
– смешивание тяжелой сырой нефти или кубового остатка с подходящим катализатором гидрогенизации и подачу полученной смеси в реактор гидрообработки, в который загружают водород или смесь водорода с H2S;
– подачу потока, содержащего продукт реакции гидрообработки и катализатор в диспергированной фазе, в зону перегонки, в которой отделяют наиболее летучие фракции (нафта и газойль);
– подачу высококипящей фракции, получаемой при перегонке, на операцию деасфальтизации, с получением, таким образом, двух потоков, один из которых состоит из деасфальтированного нефтепродукта (ДАН), а другой состоит из асфальтенов, катализатора в диспергированной фазе и, возможно, кокса и обогащен металлами, поступающими с исходным сырьем;
– рециркуляцию по меньшей мере 60%, предпочтительно по меньшей мере 80% потока, состоящего из асфальтенов, катализатора в диспергированной фазе и, возможно, кокса и обогащенного металлами, в зону гидрообработки.
Затем было обнаружено, как описано в патентной заявке IT-MI2001A-001438, что при облагораживании тяжелых сырых нефтей или битумов из нефтеносных песков с получением сложных смесей углеводородов, которые используют в качестве сырья для дальнейшего превращения в дистилляты, могут быть использованы и другие типы реализации способа, отличные от описанных выше.
Способ переработки тяжелого сырья, описанный в патентной заявке IT-MI2001A-001438, в котором используют комбинацию следующих трех технологических установок: установки (ГО) гидрообработки сырья с использованием катализаторов в суспензионной фазе, установки (П) для перегонки или мгновенного испарения и установки деасфальтизации (СДА), характеризуется тем, что в указанные три установки поступают смешанные потоки, состоящие из свежего сырья и рециркулируемых потоков, причем способ включает следующие стадии:
– подачу по меньшей мере части тяжелого сырья в секцию деасфальтизации (СДА) в присутствии растворителей и получение двух потоков, причем один поток состоит из деасфальтированного нефтепродукта (ДАН), а другой состоит из асфальтенов;
– смешивание потока асфальтенов с остальной частью тяжелого сырья, не подаваемой в секцию деасфальтизации, и с подходящим катализатором гидрогенизации, и подачу полученной смеси в реактор гидрообработки (ГО), в который загружают водород или смесь водорода и H2S;
– подачу потока, содержащего продукт реакции гидрообработки и катализатор, находящийся в дисперсной фазе, на одну или более стадию (П) перегонки или мгновенного испарения, при которых отделяют наиболее летучие фракции, в том числе газы, полученные при гидрообработке, нафту и газойль;
– рециркуляцию по меньшей мере 60 мас.%, предпочтительно по меньшей мере 80 мас.%, более предпочтительно по меньшей мере 95 мас.% кубового остатка (гудрона) или жидкости, отводимой из установки мгновенного испарения, содержащих катализатор в дисперсной фазе, обогащенных сульфидами металлов, получаемыми при деметаллировании сырья, и возможно, коксом и различными типами углеродистых остатков, в зону деасфальтизации.
Обычно следует выполнять промывку потока асфальтенов, отводимого из секции (СДА) деасфальтизации, для того, чтобы концентрация указанных элементов в реакторе гидрообработки не становилась слишком высокой, и, в случае дезактивации катализатора, для удаления части катализатора, заменяемой на свежий катализатор. Однако в общем случае заменять часть катализатора не нужно, поскольку катализатор сохраняет свою активность в течение длительного времени; тем не менее, в силу вышеуказанных причин, промывку все же необходимо выполнять, поскольку часть катализатора, несмотря на то, что он и не был полностью дезактивирован, следует считать отработанной. Кроме того, хотя объемы промывочного потока чрезвычайно ограничены (0,5-4% от количества сырья) по сравнению с обычными технологиями гидрообработки, их использование или уничтожение все же представляет собой значительную проблему.
Способ, описанный в указанной заявке, особенно удобен, если тяжелые фракции сложных смесей углеводородов, получаемые указанным способом (в нижней части перегонной колонны), используют в качестве сырья для установок каталитического крекинга – как для гидрокрекинга (ГК), так и для флюид-каталитического крекинга (ФКК).
Сочетание обработки, производимой на установке (ГО) каталитической гидрогенизации, с экстракцией (СДА) позволяет получать деасфальтированные нефтепродукты с пониженным содержанием загрязняющих веществ (металлы, сера, азот, углеродистый остаток), которые, следовательно, можно легче переработать при помощи процессов каталитического крекинга.
Однако следует принять во внимание еще один аспект: нафта и газойль, получаемые непосредственно в установке гидрообработки, все еще содержат значительные количества загрязняющих веществ (сера, азот и т.д.), и для получения из них конечных продуктов в любом случае необходимо проведение дальнейшей обработки.
В настоящее время обнаружено, что способ, описанный в патентной заявке IT-MI2001A-001438, а также способ, описанный в патентной заявке IT-95А001095, полностью включенных в настоящее описание путем ссылки, может быть дополнительно усовершенствован введением дополнительной секции вторичной гидрогенизации, предназначенной для дополнительной обработки фракции С2-500°С, предпочтительно фракции С5-350°С.
В секции вторичной гидрогенизации для дополнительной обработки производят дальнейшую гидрообработку фракции С2-500°С, предпочтительно фракции С5-350°С, полученной в секции сепарации высокого давления, находящейся перед участком перегонки.
Задачей настоящего изобретения является способ переработки тяжелого сырья, выбранного из тяжелых сырых нефтей, кубовых остатков, тяжелых нефтепродуктов после каталитической обработки, гудронов термической обработки, битумов из нефтеносных песков, различных типов углей и другого высококипящего сырья углеводородного происхождения, известного как темные нефтяные масла, мазут, нефтяные остатки (black oil), путем использования комбинации следующих трех технологических установок: гидрообработки (ГО) сырья с использованием катализаторов в суспензионной фазе, перегонки (П) или мгновенного испарения, и деасфальтизации (СДА), включающий следующие операции:
– смешивание по меньшей мере части тяжелого сырья и/или по меньшей мере большей части потока, содержащего асфальтены, полученные в установке деасфальтизации, с подходящим катализатором гидрогенизации, и подачу полученной смеси в реактор (ГО) гидрообработки, в который загружают водород или смесь водорода и H2S;
– подачу потока, содержащего продукты гидрообработки и катализатор, находящийся в дисперсной фазе, для выполнения одной или более операций (П) перегонки или мгновенного испарения, при которых отделяют различные фракции, поступающие после реакции гидрообработки;
– рециркуляцию по меньшей мере части кубового остатка (гудрона) или отводимой из установки мгновенного испарения жидкости, содержащей катализатор в дисперсной фазе, обогащенной сульфидами металлов, получаемыми при деметаллировании сырья, и возможно, коксом в зону (СДА) деасфальтизации в присутствии растворителей, в которую также, возможно, подают по меньшей мере часть тяжелого сырья, при этом получают два потока, один из которых состоит из деасфальтированного нефтепродукта (ДАН), а другой содержит асфальтены,
характеризующийся тем, что поток, содержащий продукт гидрообработки и катализатор в дисперсной фазе, перед подачей на одну или более операцию перегонки или мгновенного испарения подвергают операции предварительного разделения при высоком давлении для получения легкой фракции и тяжелой фракции, при этом только тяжелую фракцию подают для осуществления указанной операции (операций) перегонки (П).
Легкая фракция, получаемая путем разделения при высоком давлении, затем может быть направлена в секцию гидрообработки, при этом получают более легкую фракцию, содержащую газообразные углеводороды C1-C4 и H2S, и более тяжелую фракцию, содержащую гидрообработанные нафту и газойль.
Включение секции вторичной гидрогенизации для дополнительной обработки фракции С2-500°С, предпочтительно фракции С5-350°С, возможно благодаря одновременному наличию этой фракции и водорода при относительно высоком давлении, которое приблизительно равно давлению в реакторе гидрообработки, что позволяет получить следующие преимущества:
– это позволяет получать из нефтяного сырья, которое содержит очень большие количества серы, топливо, которое отвечает самым жестким требованиям по содержанию серы (<10-50 частей на миллион), а также имеет другие улучшенные характеристики дизельного газойля, такие как плотность, содержание полиароматических углеводородов и цетановое число;
– получаемые дистилляты имеют достаточную стабильность.
Гидрогенизационная дополнительная обработка в неподвижном слое состоит в предварительном разделении реакционного потока, поступающего из реактора (ГО) гидрообработки, при помощи одного или более сепараторов, работающих при высоком давлении и высокой температуре. В то время как тяжелую часть, извлекаемую из нижней части аппарата, направляют в основную перегонную установку, часть, извлекаемую из верхней части аппарата – фракцию С2-500°С, предпочтительно фракцию С5-350°С, направляют в секцию вторичной обработки в присутствии водорода, уже находящегося при высоком давлении, при этом реактор представляет собой реактор с неподвижным слоем катализатора и содержит типичный катализатор десульфурирования/деароматизации, для получения продукта с гораздо меньшим содержанием серы, с более низким содержанием азота, с более низкой общей плотностью, но в то же время, при получении фракции газойля, с повышенными цетановыми числами.
Секция гидрообработки обычно состоит из одного или более последовательно соединенных реакторов; продукт, полученный в указанной системе, может быть далее разогнан на фракции с получением полностью десульфурированной нафты и дизельного газойля, отвечающего техническим характеристикам, предъявляемым к топливу.
При выполнении операции гидродесульфурирования в реакторе с неподвижным слоем катализатора обычно используют традиционные катализаторы неподвижного слоя для гидродесульфурирования газойля; этот катализатор или, возможно, смесь катализаторов, или серия реакторов с различными катализаторами, имеющими различные свойства, значительно улучшает качество легкой фракции, снижая в значительной степени содержание в ней серы и азота, повышая степень гидрогенизации сырья, снижая, таким образом, плотность и повышая цетановое число фракции газойля и в то же время снижая образование кокса.
Катализатор обычно состоит из аморфной части на основе оксида алюминия, оксида кремния, алюмосиликатов и смесей различных минеральных оксидов, на которую обычно осаждают (различными способами) гидродесульфурирующий компонент вместе с гидрогенизирующим агентом. Типичными катализаторами для выполнения операций указанного типа являются катализаторы на основе молибдена или вольфрама с добавлением никеля и/или кобальта, осажденных на аморфный минеральный носитель.
Реакцию гидрогенизации, предназначенную для дополнительной обработки, проводят при несколько более низком абсолютном давлении, чем давление, при котором осуществляют первичную гидрогенизацию; обычно оно находится в диапазоне от 7 до 14 МПа, предпочтительно от 9 до 12 МПа, а температура гидродесульфурирования находится в диапазоне от 250 до 500°С, предпочтительно от 280 до 420°С, причем температура обычно зависит от требуемого уровня десульфурирования. Еще одной важной переменной для регулирования качества получаемого продукта, является объемная скорость; ее значения могут находиться в диапазоне от 0,1 до 5 ч-1, предпочтительно от 0,2 до 2 ч-1.
Водород, смешиваемый с сырьем, вводят в поток в количестве от 100 до
5000 норм.м3/м3, предпочтительно от 300 до 1000 норм.м3/м3.
В дополнение к секции вторичной гидрогенизации для дополнительной обработки возможно введение еще одной секции вторичной дополнительной обработки промывочного потока.
Указанная секция вторичной обработки предназначена для последующей очистки промывочного потока с целью значительного снижения концентрации содержащихся в нем компонентов и для рециркуляции по меньшей мере части катализатора, все еще сохраняющего свою активность, в реактор гидрообработки.
В этом случае часть потока, содержащую асфальтены, отводимую из секции (СДА) деасфальтизации и называемую промывочным потоком, направляют в секцию обработки подходящим растворителем для разделения продукта на твердую фракцию и жидкую фракцию, из которой затем может быть удален указанный растворитель.
Возможно присутствующая секция обработки промывочного потока, предпочтительно составляющего от 0,5 до 10 об.% от объема свежего сырья, предназначена для проведения операции обезмасливания растворителем (толуолом или газойлем или другим потоком, обогащенным ароматическими компонентами) и отделения твердой фракции от жидкой фракции.
По меньшей мере часть указанной жидкой фракции может быть направлена:
– в резервуар жидкого нефтяного топлива (pool fuel oil) как таковая или после отделения от растворителя и/или после добавления подходящей разжижающей жидкости;
– и/или как таковая в реактор гидрообработки (ГО).
В некоторых случаях растворитель может совпадать с разжижающей жидкостью.
Твердая фракция может быть уничтожена как таковая или, что более выгодно, она может быть направлена на обработку для селективного извлечения переходного металла или металлов, содержащихся в катализаторе на основе переходного металла (например, молибдена) (по отношению к другим металлам, присутствующим в исходном остатке, – никелю и ванадию), с возможной рециркуляцией потока, обогащенного переходным металлом (молибденом) в реактор (ГО) гидрообработки.
Описанная комбинированная обработка имеет следующие преимущества перед традиционными способами:
– концентрация компонентов, содержащихся в промывочной фракции, может быть снижена в значительной степени;
– значительную часть промывочной фракции облагораживают в нефтяное топливо путем отделения из нее металлов и кокса;
– снижается часть свежего катализатора, добавляемого к сырью для первичной гидрообработки, поскольку рециркулируют по меньшей мере часть молибдена, экстрагируемого при селективном извлечении.
Операция обезмасливания состоит в обработке промывочного потока, который представляет собой минимальную часть потока асфальтенов, выходящего из секции (СДА) деасфальтизации на первичной установке гидрообработки тяжелого сырья, растворителем, при помощи которого возможен переход максимального количества органических соединений в жидкую фазу, в то время как в твердой фазе остаются сульфиды металлов, кокс и более тугоплавкие углеродистые остатки (нерастворимые в толуоле или подобных продуктах).
Учитывая, что при очень сильном высыхании компоненты металлической природы могут стать пирофорными, работу рекомендуется проводить в инертной атмосфере, содержащей как можно меньшие количества кислорода и влаги.
При проведении операции обезмасливания можно с успехом использовать различные растворители, среди которых можно назвать ароматические растворители, такие как толуол и/или смеси ксилолов, углеводородное сырье, имеющееся в наличие на установке, такое как газойль, получаемый на установке или на нефтеперерабатывающих заводах, или легкий рецикловый газойль, поступающий с установки флюид-каталитического крекинга (ФКК), или газойль термического крекинга, поступающий из установки легкого крекинга/установки термического крекинга.
В определенных пределах рабочая скорость увеличивается при увеличении времени и температуры реакции, но чрезмерное увеличение этих параметров экономически невыгодно.
Рабочая температура зависит от используемого растворителя и прилагаемого давления, однако рекомендованное значение температуры находится в диапазоне от 80 до 150°С, продолжительность реакции может находиться в диапазоне от 0,1 до 12 ч, предпочтительно от 0,5 до 4 ч.
Объемное соотношение растворитель/промывочный поток также является важным параметром, который необходимо принимать во внимание; оно может находиться в диапазоне от 1 до 10 (об./об.), предпочтительно от 1 до 5, более предпочтительно от 1,5 до 3,5.
После полного завершения смешивания растворителя и промывочного потока полученный поток, поддерживаемый при перемешивании, направляют в секцию отделения жидкой фазы от твердой фазы.
Эта операция может быть произведена при помощи одного из способов, обычно применяемых в промышленности, таких как декантация, центрифугирование или фильтрование.
Затем жидкая фаза может быть направлена на испарение и извлечение растворителя, который направляют рециклом на первую операцию обработки (обезмасливание) промывочного потока. Остающуюся тяжелую фракцию экономически выгодно отправлять на нефтеперерабатывающий завод в качестве потока, который практически не содержит металлов и содержит относительно небольшие количества серы. Если производят обработку газойлем, то, например, часть указанного газойля может быть оставлена в тяжелом продукте, чтобы этот продукт отвечал техническим требованиям, предъявляемым к стандартному жидкому нефтяному топливу.
В альтернативном случае жидкая фаза может быть направлена рециклом в реактор гидрогенизации.
Твердая часть может быть уничтожена как таковая, или ее можно подвергнуть дополнительной обработке с целью селективного извлечения катализатора (молибдена), который затем направляют рециклом в реактор гидрообработки.
Действительно, было обнаружено, что при добавлении тяжелого сырья, не содержащего металлов, такого как, например, часть деасфальтированного нефтепродукта (ДАН), поступающего из установки деасфальтизации рассматриваемого предприятия, к вышеуказанной твердой фазе и последующем смешивании этой системы с подкисленной (обычно неорганической кислотой) водой, почти весь молибден остается в органической фазе, в то время как значительные количества остальных металлов переходят в водную фазу. Эти две фазы могут быть легко разделены, и органическую фазу затем выгодно направить рециклом в реактор гидрообработки.
Твердую фазу диспергируют в достаточном количестве органической фазы (например деасфальтированного нефтепродукта, поступающего из того же процесса), к которой добавлена подкисленная вода.
Соотношение между водной фазой и органической фазой может находиться в диапазоне от 0,3 до 3; рН водной фазы может находиться в диапазоне от 0,5 до 4, предпочтительно от 1 до 3.
Обработке могут быть подвергнуты различные типы тяжелого сырья; сырье может быть выбрано из группы, включающей тяжелые сырые нефти, битумы из нефтеносных песков, различные типы углей, кубовые остатки, тяжелые нефтепродукты после каталитической переработки, например тяжелые рецикловые газойли, получаемые при каталитическом крекинге, нижние погоны или кубовые продукты, получаемые при гидропереработке, термические гудроны (получаемые, например, при легком крекинге или подобной термической обработке) и любое другое высококипящее сырье углеводородного происхождения, известное в настоящей области техники под названием нефтяной остаток, темное масло, мазут (black oil).
В отношении общих условий проведения способа следует ознакомиться с тем, что уже было описано в патентных заявках IT-MI2001A-001438 и IT-95А001095.
В соответствии с тем, что изложено в патентной заявке IT-95А001095, все тяжелое нефтяное сырье может быть смешано с подходящим катализатором гидрогенизации и направлено в реактор гидрообработки (ГО), причем по меньшей мере 60%, предпочтительно по меньшей мере 80% потока, содержащего асфальтены, который также содержит катализатор в дисперсной фазе и, возможно, кокс, а также обогащен металлом, поступившим с исходным сырьем, может быть направлено рециклом в зону гидрообработки.
В соответствии с тем, что изложено в патентной заявке IT-MI2001A-001438, часть тяжелого сырья и по меньшей мере основную часть потока, содержащего асфальтены, которая также содержит катализатор в дисперсной фазе и, возможно, кокс, смешивают с подходящим катализатором гидрогенизации и направляют в реактор гидрообработки, при этом оставшееся количество тяжелого сырья направляют в секцию деасфальтизации.
В соответствии с тем, что изложено в патентной заявке IT-MI2001A-001438, по меньшей мере основную часть потока, содержащего асфальтены, который по существу состоит из указанных асфальтенов, смешивают с подходящим катализатором гидрогенизации и направляют в реактор гидрообработки, при этом все тяжелое сырье направляют в секцию деасфальтизации.
Если лишь часть кубового остатка (гудрона) или жидкости, поступающей из установки мгновенного испарения, направляют рециклом в зону деасфальтизации (СДА), то по меньшей мере часть остального количества остатка после перегонки или мгновенного испарения может быть направлено в реактор гидрообработки, возможно, вместе с по меньшей мере частью потока, содержащего асфальтены, поступающего из секции деасфальтизации (СДА).
Используемые катализаторы могут быть выбраны из группы катализаторов, получаемых из предшественников, способных разлагаться in situ (нафтенаты металлов, металлсодержащие производные фосфоновых кислот, металл-карбонилы и т.д.), или из предварительно приготовленных соединений на основе одного или более переходных металлов, таких как Ni, Co, Ru, W и Мо; предпочтительно используют Мо вследствие его высокой каталитической активности.
Концентрация катализатора, определяемая на основании концентрации металла или металлов, присутствующего в реакторе гидрообработки, находится в диапазоне от 300 до 20000 частей на миллион, предпочтительно от 1000 до 10000 частей на миллион.
Операцию гидрообработки предпочтительно осуществляют при температуре в диапазоне от 370 до 480°С, более предпочтительно от 380 до 440°С, и при давлении в диапазоне от 3 до 30 МПа, более предпочтительно от 10 до 20 МПа.
Водород направляют в реактор, который может работать в режиме как нисходящего, так и, предпочтительно, восходящего потока. Указанный газ может быть подан в различные части реактора.
Операцию перегонки предпочтительно осуществляют при пониженном давлении, значения которого находятся в диапазоне от 0,0001 до 0,5 МПа, предпочтительно от 0,001 до 0,3 МПа.
Операция гидрообработки может быть осуществлена в одном или более реакторах, работающих в диапазоне условий, обозначенном выше. Часть дистиллятов, получаемых в первом реакторе, может быть направлена рециклом в следующие реакторы.
Операцию деасфальтизации, выполняемую при помощи экстракции углеводородным растворителем (например, парафинами или изопарафинами, имеющими от 3 до 6 атомов углерода) или неуглеводородным растворителем, обычно осуществляют при температурах в диапазоне от 40 до 200°С и при давлении в диапазоне от 0,1 до 7 МПа. Эта операция также может быть осуществлена в одной или более секций, работающих с применением одного и того же растворителя или различных растворителей; извлечение растворителя может быть осуществлено в субкритических или сверхкритических условиях при помощи одной или нескольких операций, что позволяет, таким образом, производить дальнейшее фракционирование деасфальтированного нефтепродукта (ДАН) и смол.
Поток, состоящий из деасфальтированного нефтепродукта (ДАН), может быть использован как таковой, или его можно применять в качестве синтетической сырой нефти (синтетического нефтяного сырья), возможно, смешанного с дистиллятами; или он может быть использован в качестве сырья для каталитического крекинга или гидрокрекинга в псевдоожиженном слое.
В зависимости от характеристик сырой нефти (содержание металлов, содержание серы и азота, углеродистый остаток) загрузку сырья при осуществлении всего способа выгодно производить, попеременно направляя тяжелый остаток то в установку деасфальтизации, то в установку гидрообработки, или одновременно в обе установки, регулируя следующие параметры:
– соотношение между тяжелым остатком, который направляют в секцию гидрообработки (свежее сырье), и тяжелым остатком, который направляют на деасфальтизацию; указанное соотношение предпочтительно находится в диапазоне от 0,01 до 100, более предпочтительно от 0,1 до 10, еще более предпочтительно от 1 до 5.
– соотношение рециркуляции между свежим сырьем и гудроном, направляемыми в секцию деасфальтизации; указанное соотношение предпочтительно находится в диапазоне от 0,01 до 100, более предпочтительно от 0,1 до 10;
– соотношение рециркуляции между свежим сырьем и асфальтенами, направляемыми в секцию гидрообработки; указанное соотношение может изменяться в зависимости от значения вышеуказанных соотношений;
– соотношение рециркуляции между гудроном и асфальтенами, направляемыми в секцию гидрообработки; указанное соотношение может изменяться в зависимости от значения вышеуказанных соотношений.
Указанная гибкость особенно важна для наиболее полного использования дополняющих друг друга характеристик установок деасфальтизации (дискретное снижение содержания азота и деароматизация) и установок гидрогенизации (глубокая очистка от металлов и серы).
В зависимости от типа сырой нефти, стабильности рассматриваемых потоков и качества получаемого продукта (важного для конкретной обработки, происходящей далее по потоку) количество фракций свежего сырья, загружаемое в секцию деасфальтизации и в секцию гидрообработки, может быть отрегулировано наилучшим образом.
Описанная заявка особенно пригодна, если тяжелые фракции сложных смесей углеводородов, получаемые при осуществлении способа (кубовые остатки перегонной колонны), должны быть использованы в качестве сырья в установках каталитического крекинга, как гидрокрекинга (ГК), так и флюид-каталитического крекинга в псевдоожиженном слое (ФКК).
Объединенное воздействие обработки, выполняемой в установке (ГО) каталитической гидрогенизации, и экстракционного процесса (СДА) позволяет получать деасфальтированные нефтепродукты с низким содержанием загрязняющих примесей (металлов, серы, азота, углеродистых остатков), которые, таким образом, могут с большей легкостью подвергаться переработке в процессах каталитического крекинга.
Ниже приведен пример предпочтительного выполнения настоящего изобретения, описываемый при помощи прилагаемого чертежа, который, тем не менее, никоим образом не ограничивает объем настоящего изобретения.
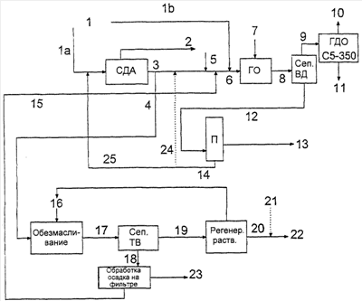
Тяжелое сырье (1) или по меньшей мере его часть (1а) направляют в установку деасфальтизации (СДА); операцию деасфальтизации осуществляют при помощи экстракции растворителем.
В установке деасфальтизации (СДА) получают два потока: один поток (2), состоящий из деасфальтированного нефтепродукта (ДАН), и другой поток (3), содержащий асфальтены.
Поток, содержащий асфальтены, за исключением промывочного потока (4), смешивают со свежим количеством (5) катализатора, необходимым для восполнения его потерь, унесенных промывочным потоком (4), с частью (1b) тяжелого сырья, которая не была направлена в секцию деасфальтизации, и с частью (24) гудрона, которая не была направлена в секцию (СДА) деасфальтизации, и, возможно, с потоком (15), поступающим из участка обработки промывочного потока (описание которого будет дано далее в тексте) с получением потока (6), который подают в реактор (ГО) гидрообработки, в который загружают водород (7) (или смесь водорода и H2S). Поток (8), содержащий продукт гидрогенизации и катализатор в дисперсной фазе, выходит из реактора, и сначала его подвергают фракционированию в одном или более сепараторов (Сеп. ВД), работающих при высоком давлении. Головную фракцию (9) направляют в реактор (ГДО С5-350) гидрообработки с неподвижным слоем катализатора, в котором получают легкую фракцию (10), содержащую газообразные С1-С4-углеводороды и H2S, и С5-350°С фракцию (11), содержащую гидрообработанные нафту и газойль. Из нижней части сепаратора, работающего при высоком давлении, выходит тяжелая фракция (12), которую подвергают фракционированию в перегонной колонне (П), в которой вакуумный газойль (13) отделяют от кубового остатка, содержащего дисперсный катализатор и кокс. Этот поток, называемый гудроном (14), полностью или почти полностью (25) направляют рециклом в реактор (СДА) деасфальтизации, за исключением фракции (24), упомянутой выше.
Промывочной поток (4) может быть направлен в секцию гидрообработки (обезмасливания) вместе с растворителем (16); при этом получают смесь (17), содержащую жидкую и твердую фракции. Указанную смесь направляют в участок обработки твердых веществ (Сеп. ТВ), в котором ее разделяют на отходящий поток (18) твердых веществ и отходящий поток (19) жидкости, который направляют в участок извлечения растворителя (регенер. раств.). Извлеченный растворитель (16) направляют обратно в секцию обезмасливания, в то время поток (20) тяжелых продуктов как таковой или с возможным добавлением разжижающей жидкости (21) направляют для смешивания с фракцией (22) нефтяного топлива.
Твердая фракция (18) может быть уничтожена как таковая, или, возможно, может быть направлена в секцию дополнительной обработки (обработка осадка), подобную, например, описанной в тексте и примерах, с получением фракции (23), практически не содержащей молибдена, которую направляют на уничтожение, и фракции (15), обогащенной молибденом, которую направляют рециклом в реактор гидрообработки.
Ниже, для лучшего понимания изобретения, даны несколько примеров, которые, однако, никоим образом не ограничивают объем настоящего изобретения.
Пример 1
Согласно схеме, представленной на фиг.1, был осуществлен следующий эксперимент.
Операция деасфальтизации
Сырье: 300 г остатка от вакуумной перегонки Уральской сырой нефти (таблица 1)
Деасфальтирующий агент: 2000 мл жидкого пропана (экстракцию повторяли три раза).
Температура: 80°С.
Давление: 35 бар (3,5 МПа).
| Таблица 1: |
| Характеристики остатка 500°С+ от вакуумной перегонки Уральской нефти |
| Плотность API (в градусах Американского нефтяного института) |
10,8 |
| Сера (мас.%) |
2,6 |
| Азот (мас.%) |
0,7 |
| Углеродистый остаток (CCR) (мас.%) |
18,9 |
| Ni+V (частей на миллион) |
80+262 |
Операция гидрообработки
Реактор: 3000 мл, сталь, имеющий подходящую форму и снабженный магнитной мешалкой;
Катализатор: добавляли 3000 млн.ч Мо/сырье, используя в качестве предшественника нафтенат молибдена;
Температура: 410°С.
Давление: 16 МПа водорода.
Время пребывания: 4 часа.
Операция быстрого испарения.
Операцию осуществляли при помощи лабораторного аппарата для испарения жидкостей (Т=120°С).
Результаты эксперимента
Были проведены десять последовательных испытаний по деасфальтизации; в каждом испытании использовали сырье, состоящее из остатка от вакуумной перегонки Уральской нефти (свежее сырье) и остатка от перегонки под атмосферным давлением, полученного при гидрообработке С3-асфальтенов на предшествующей операции, с целью достижения полной рециркуляции катализатора, добавляемого в первом испытании. При выполнении каждой операции в автоклав загружали некоторое количество сырья, состоящего из остатка от вакуумной перегонки Уральской нефти (свежее сырье) и С3-асфальтенов, полученных в установке деасфальтизации, так чтобы общая масса сырья (свежее сырье + рециркулируемые С3-асфальтены) соответствовала исходному значению 300 г.
Соотношение между количеством свежего сырья и количеством рециркулируемого продукта в данных рабочих условиях составляло 1:1.
Показатели в потоках, выходящих из последнего рецикла (мас.% в расчете на массу сырья), указаны ниже:
Газ: 7%.
Нафта (С5-170°С): 8%.
Атмосферный газойль (АГО 170-350°С): 17%.
Деасфальтированный нефтепродукт (ВГО+ДАН): 68%.
Поток асфальтенов, извлекаемый по окончании испытания, содержал все количество изначально загруженного катализатора, сульфиды металлов Ni и V, получаемые в десяти операциях гидрообработки, и некоторое количество кокса, порядка 1 мас.% в расчете на общее количество загружаемого остатка от перегонки Уральской сырой нефти. В указанном примере производить промывку рециркуляционного потока необязательно. В таблице 2 указаны характеристики полученного продукта.
| Таблица 2: |
| Характеристики продуктов реакции, полученных при испытаниях, проведенных в соответствии с примером 1 |
 |
Сера (мас.%) |
Азот (млн.ч) |
Плотность (г/мл) |
Углеродистый остаток (RCC) (мас.%) |
Ni + V (млн.ч) |
| Нафта С5-170°С |
0,06 |
450 |
0,768 |
– |
– |
| АГО 170-350°С |
0,52 |
2100 |
0,870 |
– |
– |
| ВГО + ДАН |
1,45 |
2500 |
0,938 |
3 |
1 |
Пример 2
В соответствии со схемой, представленной на чертеже, продукты, поступающие из верхней части сепаратора высокого давления, направляют в реактор с неподвижным слоем катализатора, в который загружают поток реагентов при их нисходящем движении. В реактор загружают обычный коммерческий катализатор гидродесульфурирования, приготовленный на основе молибдена и никеля.
Рабочие условия следующие:
Объемная скорость жидкости: 0,5 ч-1.
Давление водорода: 10 МПа
Температура реактора: 390°С.
В таблице 3 указано качество сырья, поступающего в реактор с неподвижным слоем катализатора, и качество получаемого продукта.
| Таблица 3: |
| Гидрообработка фракции С5-350°С, поступающей с установки обработки остатка 500°С+ от перегонки Уральской нефти |
 |
Сырье |
Продукт |
| Плотность (г/мл) |
0,8669 |
0,8294 |
| Моноароматические соединения (мас.%) |
30,1 |
19,5 |
| Диароматические соединения (мас.%) |
8,3 |
1,2 |
| Триароматические соединения (мас.%) |
2,8 |
0,4 |
| Полиароматические соединения (мас.%) |
11,1 |
1,6 |
| Сера (млн.ч) |
5300 |
37 |
| Азот (млн.ч) |
2280 |
3 |
| Дистилляционная кривая |
 |
 |
| Т10 (°С) |
187 |
145 |
| T50 (°С) |
271 |
244 |
| Т90 (°С) |
365 |
335 |
Пример 3
20,7 г промывочного потока (состав указан в таблице 4), поступающего с установки переработки остатка 500+ от перегонки Уральской нефти, обрабатывали 104 г толуола (массовое отношение растворитель/промывочный поток = 5) при 100°С в течение 3 часов. Полученную фракцию профильтровали. Собрали 3,10 г твердого вещества (состав указан в таблице 5) вместе с 17,60 г тяжелого нефтепродукта (после испарения толуола), содержание металлов в котором указано в таблице 6.
| Таблица 4: |
| Характеристики промывочного потока, поступающего с установки обработки остатка 500°С+ Уральской нефти |
| Плотность (г/мл) |
1,1 |
| S (мас.%) |
2,4 |
| Мо (мас.%) |
0,68 |
| Ni (мас.%) |
0,12 |
| V (мас.%) |
0,36 |
| Fe (мас.%) |
0,07 |
| Таблица 5: |
| Характеристики твердого вещества (осадка на фильтре) после обработки толуолом промывочного потока от обработки остатка 500°С+ Уральской нефти |
| С (мас.%) |
82,0 |
| Н (мас.%) |
3,9 |
| S (мас.%) |
4,8 |
| Мо (мас.%) |
4,1 |
| Ni (мас.%) |
0,6 |
| V (мас.%) |
2,2 |
| Fe (мас.%) |
0,4 |
| Таблица 6: |
| Содержание металлов в тяжелом нефтепродукте, экстрагируемом при обработке промывочного потока от обработки остатка 500°С+ Уральской нефти |
| Мо (млн.ч) |
10 |
| Mi (млн.ч) |
26 |
| V (млн.ч) |
23 |
| Fe (млн.ч) |
10 |
Пример 4
Следовали той же процедуре, что и в примере 3; 10,6 г промывочного потока (состав которого указан в таблице 4) обрабатывали 62 мл газойля, полученного при гидрообработке остатка Уральской нефти, в соответствии с процедурой, описанной в вышеуказанном примере 1, качество соответствовало указанному в таблице 2; соотношение газойль/промывочный поток было равно 5, а обработку производили при 130°С в течение 6 часов. Полученную фракцию центрифугировали (5000 об/мин.). Собрали 1,78 г твердого вещества (состав указан в таблице 7) вместе с 8,82 г тяжелого масла (после испарения газойля).
| Таблица 7: |
| Характеристики твердого вещества (осадка на фильтре), поступающего после обработки газойлем промывочного потока от обработки остатка 500°С+ Уральской нефти |
| Мо (мас.%) |
3,43 |
| Mi (мас.%) |
0,53 |
| V (мас.%) |
1,75 |
Пример 5
1,0 г твердого остатка, полученного при обработке, описанной в примере 3, состав которого указан в таблице 5, обрабатывали смесью 50 мл подкисленной воды (рН=2) и 50 мл деасфальтированного нефтепродукта (ДАН), имеющего состав, указанный в таблице 8.
Спустя 24 часа при 70°С жидкие фазы оставили для декантации, а затем проводили анализ на содержание металлов в двух фазах.
Общее количество (>99%) молибдена оставалось в органической фазе, в то время как никель и ванадий были обнаружены в водной фазе в количествах, соответствующих эффективности экстракции, 23,5% и 24,4%, соответственно.
Затем органическую фазу, содержащую молибден, подавали вместе со свежим остатком Уральской нефти на проведение испытания по гидрообработке, которое осуществляли в соответствии с процедурой, описанной в примере 1; молибден сохранял свою каталитическую активность.
| Таблица 8: |
| Характеристики ДАН, поступающего после обработки остатка 500°С+ Уральской нефти |
 |
Сера (мас.%) |
Азот (млн.ч) |
Плотность (г/мл) |
Углеродистый остаток (RCC) (мас.%) |
Ni + V (млн.ч) |
| ДАН |
1,02 |
2100 |
0,934 |
3 |
<1 |
Пример 6
Следовали той же процедуре, что и в примере 5, но вместо ДАН использовали газойль, полученный при гидрообработке остатка Уральской нефти (см. пример 1) и подкисленную воду (рН=2).
Общее количество молибдена оставалось в органической фазе, в то время как никель и ванадий были обнаружены в водной фазе в количествах, соответствующих эффективности экстракции, 41,0% и 26,8%, соответственно.
Формула изобретения
1. Способ переработки тяжелого сырья, выбранного из тяжелых сырых нефтей, кубовых остатков, тяжелых нефтепродуктов каталитического крекинга, гудронов термической обработки, битумов из нефтеносных песков, различных типов углей и другого высококипящего сырья углеводородного происхождения, известного как темные нефтяные масла, путем совместного использования следующих трех технологических установок: установки гидрообработки (ГО) с использованием катализаторов в суспензионной фазе, установки (П) перегонки или мгновенного испарения и установки деасфальтизации (СДА), включающий следующие операции: смешивание по меньшей мере части тяжелого сырья (1b) и по меньшей мере большей части потока, содержащего асфальтены, полученные в установке деасфальтизации, или по меньшей мере большей части потока, содержащего асфальтены, с подходящим катализатором гидрогенизации и подачу полученной смеси в реактор гидрообработки (ГО), в который загружают водород или смесь водорода и Н2S; подачу потока, содержащего продукт реакции гидрообработки и катализатор, находящийся в дисперсной фазе, на одну или более чем одну операцию (П) перегонки или мгновенного испарения, посредством чего отделяют различные фракции, полученные при гидрообработке; рециркуляцию по меньшей мере части кубового остатка (гудрона) или жидкости, выходящей из установки мгновенного испарения, содержащей катализатор, в дисперсной фазе, обогащенной сульфидами металлов, получаемыми при деметаллировании сырья, и, возможно, коксом, в присутствии растворителей в зону деасфальтизации (СДА), в которую также, возможно, подают по меньшей мере часть тяжелого сырья (1а) с получением двух потоков, один из которых состоит из деасфальтированного нефтепродукта (ДАН), а другой содержит асфальтены, отличающийся тем, что поток, содержащий продукт реакции гидрообработки и катализатор в дисперсной фазе, перед подачей на одну или более чем одну операцию перегонки или мгновенного испарения подвергают предварительному разделению при высоком давлении для получения легкой фракции и тяжелой фракции, при этом лишь тяжелую фракцию подают для осуществления указанной операции (операций) (П) перегонки.
2. Способ по п.1, в котором легкую фракцию, полученную посредством операции разделения при высоком давлении, подают в секцию вторичной гидрогенизации для дополнительной обработки, при этом получают более легкую фракцию, содержащую газообразные углеводороды C1-C4 и Н2S, и более тяжелую фракцию, содержащую гидрогенизированные нафту и газойль.
3. Способ по п.2, в котором реакцию гидрогенизации для дополнительной обработки выполняют при давлении в диапазоне от 7 до 14 МПа.
4. Способ по меньшей мере по одному из пп.1-3, в котором все тяжелое нефтяное сырье смешивают с подходящим катализатором гидрогенизации и подают в реактор гидрообработки (ГО), причем по меньшей мере 60% потока, содержащего асфальтены, который также содержит катализатор в дисперсной фазе и, возможно, кокс и обогащен металлами, поступившими с исходным сырьем, направляют рециклом в зону гидрообработки.
5. Способ по п.4, в котором по меньшей мере 80% потока, содержащего асфальтены, направляют рециклом в зону гидрообработки.
6. Способ по меньшей мере по одному из пп.1-3, в котором часть тяжелого сырья и по меньшей мере основную часть потока, содержащего асфальтены, который также содержит катализатор в дисперсной фазе и, возможно, кокс, смешивают с подходящим катализатором гидрогенизации и направляют в реактор гидрообработки, при этом остальное количество тяжелого сырья направляют в секцию деасфальтизации.
7. Способ по меньшей мере по одному из пп.1-3, в котором по меньшей мере основную часть потока, содержащего асфальтены, который, по существу, состоит из указанных асфальтенов, смешивают с подходящим катализатором гидрогенизации и направляют в реактор гидрообработки, при этом все тяжелое сырье направляют в секцию деасфальтизации.
8. Способ по п.1, в котором часть кубового остатка (гудрона) или жидкости, поступающей из установки мгновенного испарения, направляют рециклом в зону деасфальтизации (СДА), а по меньшей мере часть оставшейся части указанного остатка, полученного после перегонки или мгновенного испарения, направляют в реактор гидрообработки.
9. Способ по п.8, в котором по меньшей мере часть остатка, полученного после перегонки или мгновенного испарения, направляют в реактор гидрообработки вместе с по меньшей мере частью потока, содержащего асфальтены, поступающего из секции деасфальтизации (СДА).
10. Способ по п.1, в котором по меньшей мере 80 мас.% кубового остатка направляют рециклом в зону деасфальтизации.
11. Способ по п.10, в котором по меньшей мере 95 мас.% кубового остатка направляют рециклом в зону деасфальтизации.
12. Способ по п.1, в котором по меньшей мере часть оставшегося количества кубового остатка (гудрона), не направленного рециклом в зону деасфальтизации, направляют рециклом в секцию гидрообработки.
13. Способ по п.1, в котором операции перегонки осуществляют при пониженном давлении в диапазоне от 0,0001 до 0,5 МПа.
14. Способ по п.13, в котором операции перегонки осуществляют при пониженном давлении в диапазоне от 0,001 до 0,3 МПа.
15. Способ по п.1, в котором операцию гидрообработки осуществляют при температуре в диапазоне от 370 до 480°С и при давлении в диапазоне от 3 до 30 МПа.
16. Способ по п.15, в котором операцию гидрообработки осуществляют при температуре в диапазоне от 380 до 440°С и при давлении в диапазоне от 10 до 20 МПа.
17. Способ по п.1, в котором операцию деасфальтизации осуществляют при температуре в диапазоне от 40 до 200°С и при давлении в диапазоне от 0,1 до 7 МПа.
18. Способ по п.1, в котором растворитель деасфальтизации представляет собой легкий парафин, имеющий от 3 до 7 атомов углерода.
19. Способ по п.1, в котором операцию деасфальтизации осуществляют в субкритических или сверхкритических условиях при помощи одной или более операций.
20. Способ по п.1, в котором поток, состоящий из деасфальтированного нефтепродукта (ДАН), фракционируют при помощи традиционной перегонки.
21. Способ по п.1, в котором поток, состоящий из деасфальтированного нефтепродукта (ДАН), смешивают с продуктами, отделяемыми при помощи операции перегонки, после их конденсации.
22. Способ по п.1, в котором катализатор гидрогенизации представляет собой способный к разложению предшественник или предварительно приготовленное соединение на основе одного или более переходных металлов.
23. Способ по п.22, в котором переходный металл представляет собой молибден.
24. Способ по п.1, в котором концентрация катализатора в реакторе гидрообработки, определяемая на основании концентрации металла или металлов, находится в диапазоне от 300 до 20000 частей на миллион.
25. Способ по п.1, в котором концентрация катализатора в реакторе гидрообработки находится в диапазоне от 1000 до 10000 частей на миллион.
26. Способ по п.1, в котором часть потока, содержащего асфальтены, поступающего из секции деасфальтизации (СДА), и называемого промывочным потоком, направляют в секцию обработки подходящим растворителем для разделения продукта на твердую фракцию и жидкую фракцию, из которой затем может быть извлечен указанный растворитель.
27. Способ по п.26, в котором промывочный поток составляет от 0,5 до 10 об.% от объема свежего сырья.
28. Способ по п.26, в котором по меньшей мере часть жидкой фракции, отводимой из секции обработки промывочного потока, направляют как таковую или после отделения растворителя и/или после добавления подходящей разжижающей жидкости во фракцию нефтяного топлива.
29. Способ по п.28, в котором по меньшей мере часть жидкой фракции, отводимой из секции обработки промывочного потока, направляют рециклом в реактор гидрообработки (ГО).
30. Способ по п.26, в котором растворитель, используемый в секции обработки промывочного потока, представляет собой ароматический растворитель или смесь газойлей, получаемых в самом процессе или имеющихся на нефтеперерабатывающих заводах.
31. Способ по п.30, в котором ароматический растворитель представляет собой толуол и/или смесь ксилолов.
32. Способ по п.26, в котором объемное соотношение растворитель/промывочный поток находится в диапазоне от 1 до 10.
33. Способ по п.32, в котором объемное соотношение растворитель/промывочный поток находится в диапазоне от 1 до 5.
34. Способ по п.33, в котором объемное соотношение растворитель/промывочный поток находится в диапазоне от 1,5 до 3,5.
35. Способ по пп.26 и 22, в котором твердую фракцию обрабатываемого продукта направляют на дальнейшую обработку для селективного извлечения переходного металла (металлов), содержащегося в катализаторе гидрогенизации.
36. Способ по п.35, в котором извлеченный переходный металл (металлы) направляют рециклом в реактор гидрообработки (ГО).
РИСУНКИ
|
|