|
|
(21), (22) Заявка: 2006146978/04, 02.06.2004
(24) Дата начала отсчета срока действия патента:
02.06.2004
(43) Дата публикации заявки: 20.07.2008
(46) Опубликовано: 20.04.2009
(56) Список документов, цитированных в отчете о поиске:
US 2431770 A, 02.12.1947. US 3708421 A, 02.01.1973. US 3574093 A, 06.04.1971. US 2337467 A, 21.12.1943. US 1943744 A, 16.01.1934. US 6749741 B1, 15.06.2004. US 2004/175307 A1, 09.09.2004. SU 197067 A1, 01.01.1967. RU 2173330 C1, 10.09.2001.
(85) Дата перевода заявки PCT на национальную фазу:
09.01.2007
(86) Заявка PCT:
US 2004/017110 20040602
(87) Публикация PCT:
WO 2005/121279 20051222
Адрес для переписки:
103735, Москва, ул. Ильинка, 5/2, ООО “Союзпатент”, Н.Н.Высоцкой
|
(72) Автор(ы):
ЛАРИЧИА Луиджи (US), ТЕРТЕЛ Джонатан А. (US), ТОМАС Аллен В. (US)
(73) Патентообладатель(и):
ЮОП ЛЛК (US)
|
(54) АППАРАТ И СПОСОБ ДЛЯ ЭКСТРАГИРОВАНИЯ СЕРНИСТЫХ СОЕДИНЕНИЙ ИЗ УГЛЕВОДОРОДНОГО ПОТОКА
(57) Реферат:
Изобретение относится к способу и аппарату для удаления органических сернистых соединений из потока, содержащего углеводороды. Описаны аппарат и способ для экстрагирования сернистых соединений из углеводородного потока. Секция предварительного промывания, предназначенная для конверсии сульфида водорода в соль сероводородной кислоты в результате проведения реакции со щелочью, такой как каустик, сообщается с экстракторной секцией, расположенной непосредственно над секцией предварительного промывания, предназначенной для конверсии меркаптанов в меркаптиды в результате проведения реакции со щелочью. Углеводородный продукт выходит из экстракторной секции через коалесцирующий компонент, который предотвращает уход щелочи вместе с потоком углеводородного продукта. Секция предварительного промывания, предназначенная для конверсии сульфида водорода в сульфид натрия в результате проведения реакции со щелочью, такой как каустик, подготавливает углеводородный поток для экстрагирования. В секции предварительного промывания отработанную щелочь непрерывно отбирают, а регенерированную щелочь непрерывно добавляют. Технический результат – уменьшение капиталовложений, необходимых для изготовления системы экстрагирования. 4 н. и 4 з.п. ф-лы, 4 ил.
Область техники, к которой относится изобретение
Данное изобретение относится к способу и аппарату для удаления органических сернистых соединений из потока, содержащего углеводороды. В частности, оно относится к применению водного раствора каустика для удаления меркаптанов из углеводородного потока.
Предшествующий уровень техники
Переработка потоков серосодержащих углеводородных и газовых потоков для удаления меркаптанов является общепринятой практикой в настоящее время. Способы экстрагирования обычно используют при переработке потоков легких углеводородов и газовых потоков для удаления меркаптанов. Меркаптаны традиционно удаляли из углеводородных потоков вследствие их неприятного запаха.
В работе US 5244643 В1 описывается способ, в котором углеводородный газовый поток, содержащий меркаптановую серу, воздух и водный щелочной раствор, содержащий катализатор окисления меркаптана, перемешивают в смесительной емкости, в которой меркаптаны превращаются в дисульфиды. Отходящий поток, отбираемый из верхней части смесительной емкости, подвергают отстаиванию в емкости для получения разделенных потоков воздуха, жидкого углеводородного продукта, включающего дисульфид, и водного щелочного раствора, содержащего катализатор окисления меркаптана.
В работе US 4562300 В1 описывается введение углеводородного потока, содержащего органические меркаптаны, в контакт с гидроксидом натрия для высвобождения из органических меркаптанов углеводородов. Раствор каустика, обогащенный меркаптанами, окисляют при помощи катализатора, а органические меркаптаны превращают в органические дисульфиды. Смесь регенерированного раствора каустика, не содержащего органических меркаптанов, и органических дисульфидов поступает в отстойник, в котором разделяют органические дисульфиды и раствор каустика. Поток углеводорода, из которого в предшествующей позиции на технологической схеме экстрагировали меркаптаны, смешивают с регенерированным водным раствором каустика, содержащим небольшие количества органических дисульфидов, для экстрагирования органических дисульфидов из регенерированного раствора каустика. Данные способы оставляют дисульфиды в жидком углеводородном потоке. Предполагаемые и существующие правительственные предписания повышают степень нежелательности сохранения органических дисульфидов в потоке жидких углеводородных продуктов.
В способе жидкостно-жидкостного экстрагирования дисульфиды удаляют из невозвращаемого углеводородного потока. Способ жидкостно-жидкостного экстрагирования в общем случае описывается в работе J.R.Salazar, Handbook of Petroleum Refining Processes 9-4 – 9-5 (Robert A. Meyers ed. 1986). В типичном способе экстрагирования жидкий углеводородный поток подают в колонну аминового абсорбера для введения в контакт с амином, таким как диэтиламин, в целях абсорбирования из углеводородного потока кислотных газов, таких как сульфид водорода и диоксид углерода. Углеводородный поток, обедненный сульфидом водорода и другими кислотными газами, подвергают предварительному промыванию в емкости для предварительного промывания, содержащей от 6,5 до 7,0 мас.% жидкого каустика, для конверсии остаточного сульфида водорода в сульфид натрия, который растворим в каустике. Углеводородный поток, теперь истощенный по сульфиду водорода, в емкости экстрактора подвергают воздействию противоточного потока жидкого каустика с концентрацией 14 мас.%. Инжекционные перекрытия в емкости экстрактора облегчают достижение противоточного контакта. Меркаптаны в углеводородном потоке вступают в реакцию с каустиком с получением меркаптидов. Меркаптиды в углеводородном потоке растворимы в каустике. Углеводородный поток продукта, обедненный меркаптанами, переходит из верхней части экстракционной колонны через барабан отстойника в емкость песочного фильтра, а каустик, обогащенный меркаптидом, выходит из нижней части колонны. Барабан отстойника делает возможным отстаивание и демпфирует воздействие пульсаций каустика на песочный фильтр. Песочный фильтр обеспечивает коалесценцию каустика, позволяя ему оседать в нижнюю часть емкости в то время, когда углеводородный поток продукта выходит из емкости через выпускное отверстие, которое экранируют в верхней части для предотвращения поступления падающих капель каустика. Каустик, обогащенный меркаптидом, принимает впрыскиваемые воздух и катализатор тогда, когда он проходит из экстракционной колонны в емкость для окисления при регенерации. Окисление меркаптидов до дисульфидов с использованием фталоцианинового катализатора обеспечивает регенерацию раствора каустика. Из емкости для окисления каустик, обогащенный дисульфидом, принимает сепаратор дисульфида. Сепаратор дисульфида обеспечивает выпуск избыточного воздуха и декантацию дисульфидов из каустика до того, как регенерированный каустик будет слит и возвращен в емкость экстрактора. Дисульфиды пропускают через песочный фильтр и удаляют из технологического процесса.
Сульфид водорода необходимо удалять в емкости для предварительного промывания до экстрагирования или каустик предпочтительно будет вступать в реакцию с сульфидом водорода в емкости экстрактора и оставлять меркаптаны в углеводородном потоке. В конечном счете, каустик в емкости для предварительного промывания становится избыточно наполненным сульфидами, и его необходимо будет замененять для обеспечения надлежащей конверсии сульфида водорода. В описанной выше системе экстрагирования меркаптана каустик в емкости для предварительного промывания необходимо было периодически замещать. Следовательно, конверсия сульфида водорода на поздней стадии цикла замены будет пониженной. Емкость для предварительного промывания также должна быть большой для обеспечения надлежащего перемешивания каустика и углеводорода. Кроме того, в обычно используемой системе экстрагирования меркаптана применяют четыре емкости: емкость для предварительного промывания каустика, экстракционную емкость, барабан отстойника и емкость песочного фильтра. Каждая емкость должна иметь свою собственную конструкцию опоры и фундамента, что делает изготовление данной системы капиталоемким.
В соответствии с этим целью настоящего изобретения является объединение емкости экстрактора, барабана отстойника и емкости песочного фильтра с получением одной емкости, тем самым обеспечивая уменьшение капиталовложений, необходимых для изготовления системы экстрагирования. Кроме того, целью настоящего изобретения является объединение емкости для предварительного промывания каустика, емкости экстрактора, барабана отстойника и емкости песочного фильтра с получением одной емкости, тем самым уменьшив капиталовложения, необходимые для изготовления системы экстрагирования.
Краткое изложение изобретения
Заявители разработали способ и аппарат для объединения функций емкости экстрактора и емкости песочного фильтра с получением одной общей емкости экстрактора. Коалесцирующий компонент располагают в верхней части экстракторной секции емкости для исполнения той функции, которую ранее исполнял песочный фильтр. Коалесцирующий компонент можно отвести от наиболее верхнего инжекционного перекрытия в экстракторной секции на достаточный объем для демпфирования воздействия пульсаций каустика при исполнении функции барабана отстойника.
Заявители также разработали способ и аппарат для объединения функций емкости для предварительного промывания, емкости экстрактора, барабана отстойника и емкости песочного фильтра в одну общую емкость экстрактора. Экстракторную секцию располагают непосредственно над секцией предварительного промывания каустика.
Заявители дополнительно разработали конструкцию, которая обеспечивает непрерывный отбор отработанного каустика из секции предварительного промывания каустика и непрерывное возвращение регенерированного каустика в секцию предварительного промывания в системе экстрактора меркаптана.
Дополнительные цели, варианты реализации и подробности данного изобретения можно осознать после ознакомления со следующим далее подробным описанием изобретения.
Краткое описание чертежей
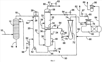
Фиг.1 представляет собой принципиальную схему технологического процесса для способа настоящего изобретения.
Фиг.2 представляет собой детальное схематическое изображение экстракционной емкости фиг.1.
Фиг.3 представляет собой вид в перспективе для питающего перекрытия в экстракторной секции настоящего изобретения.
Фиг.4 представляет собой вид в перспективе для инжекционного перекрытия в экстракторной секции настоящего изобретения.
Подробное описание изобретения
Общее понимание способа и аппарата данного изобретения можно получить при ссылке на чертежи. В таком случае, если обратиться к фиг.1, то можно сказать, что углеводородный жидкий поток, такой как СНГ или лигроин, содержащий меркаптановую серу и сульфид водорода, подают через линию 10 в емкость аминового абсорбера 12. Амины, такие как диэтиламин или моноэтиламин, подают в емкость аминового абсорбера 12 через линию 14. Емкость аминового абсорбера 12 включает серию тарелок. Линия 10, подающая углеводородный поток, имеет распределитель, который располагается ниже средней точки емкости 12. Сопло на линии 14 для подачи аминов располагают, ориентируя в направлении верхней части емкости, что делает возможным противоточный контакт аминов, опускающихся в емкости, и углеводорода, поднимающегося через емкость 12. Амины в емкости 12 вступают в реакцию с сульфидом водорода с образованием тиоламидов. Обычно в углеводородном потоке, содержащем приблизительно от 1000 до 2000 ч./млн. (мас.) сульфида водорода, концентрацию сульфида водорода в емкости аминового абсорбера 12 уменьшают до 15 ч./млн. (мас.). Аминовый отходящий поток, обогащенный тиоламидами, выходит из нижней части емкости аминового абсорбера 12 через линию 16, в то время как отходящий углеводородный поток выходит из верхней части емкости аминового абсорбера 12 через линию 18 при значительно уменьшенной концентрации сульфида водорода. В дополнение к этому, диоксид углерода или другие кислотные газы, которые, возможно, присутствуют в подаваемом потоке в линии 10, также вступают в реакцию с аминами и абсорбируются в отходящем аминовом потоке, покидающем емкость аминового абсорбера 12 через линию 16.
Контур рециркуляции каустика 20 соединяется с линией 18, делая возможным перемешивание в линии 22 водного щелочного раствора, такого как водный раствор каустика, и отходящего углеводородного потока из емкости аминового абсорбера 12 перед их поступлением в экстракционную емкость 24. Индикаторный контроллер дифференциального манометра (PDIC) 26 выдерживает величину падения давления на регулирующем клапане 28 такой, как в диапазоне от 7 до 103 кПа (от 1 до 15 фунт/дюйм2 (изб.)), а предпочтительно от 28 до 55 кПа (от 4 до 8 фунт/дюйм2 (изб.)), для того чтобы обеспечить надлежащее перемешивание между жидким каустиком и жидким углеводородом в линии 22.
Поток предварительно перемешанных углеводородов и водного раствора каустика поступает в экстракционную емкость 24 через линию 22. Экстракционная емкость 24 включает нижнюю секцию предварительного промывания 30 и верхнюю экстракторную секцию 32, разделенные неперфорированной выгнутой книзу перегородкой 34. Экстракторная секция 32 располагается непосредственно над секцией предварительного промывания 30, и обе секции предпочтительно имеют, по меньшей мере, одну общую стенку 33. Секция предварительного промывания 30 включает коалесцерующий компонент 36, расположенный непосредственно рядом с верхней частью секции предварительного промывания 30. Линия 22 обеспечивает подачу в секцию предварительного промывания 30 непосредственно рядом с нижней частью секции предварительного промывания 30.
В секции предварительного промывания 30 водный щелочной раствор, такой как каустик с плотностью по шкале Боме в диапазоне от 3 до 20 (от 2 до 12 мас.%), в подходящем случае с плотностью по шкале Боме в диапазоне от 5 до 17 (от 3 до 12 мас.%), а предпочтительно с плотностью по шкале Боме в диапазоне от 8 до 12 (от 5 до 8 мас.%), вступает в реакцию с любым остаточным количеством сульфида водорода с получением соли сероводородной кислоты, такой как сульфид натрия. Обычно водный щелочной раствор имеет плотность по шкале Боме, равную 10 (7 мас.%). Более плотные водный раствор каустика и сульфиды, растворенные в нем, под действием силы тяжести оседают к нижней части секции предварительного промывания 30, в то время как углеводород, истощенный по сульфиду водорода, поднимается к верхней части секции предварительного промывания 30. Коалесцирующий компонент 36 используют для собирания воедино небольших капель каустика, которые поднимаются в секции предварительного промывания 30, для придания им массы, достаточной для начала их опускания сквозь секцию предварительного промывания 30 с остальным количеством каустика.
Перепускной контур 38 имеет канал впускного отверстия, сообщающийся с секцией предварительного промывания 30 непосредственно рядом с верхней частью секции предварительного промывания 30 над коалесцирующим компонентом 36, и канал выпускного отверстия, сообщающийся с экстракторной секцией 32 непосредственно рядом с нижней частью экстракторной секции 32. Более плотный каустик выталкивает менее плотный углеводород вверх через перепускной контур 38 без необходимости в наличии насоса. Насос 42 откачивает отработанный каустик из нижней части секции предварительного промывания 30 через контур рециркуляции 20. Отработанный каустик отбирают из контура рециркуляции 20 через линию 44, регулируемую при помощи регулирующего клапана 46. Расход каустика через регулирующий клапан 46 автоматически регулируют с использованием контроллера уровнемера (LIC) 48, который отслеживает уровень каустика в секции предварительного промывания 30 на межфазной границе углеводород – каустик. LIC 48, воспринимающий положение уровня каустика в секции предварительного промывания 30, подает сигнал, задающий установку для регулирующего клапана 46 по отношению к полному открытию для того, чтобы привести уровень каустика в секции предварительного промывания 30 к положению желательного предварительно заданного уровня. В соответствии с этим отработанный каустик непрерывно отбирают из секции предварительного промывания 30 через линию 44 при помощи контура рециркуляции 20. Отработанный каустик, отобранный через линию 44, можно отправлять в барабан дегазации отработанного каустика (не показан), который делает возможным выпаривание летучих углеводородов из верхней части барабана до того, как отработанный каустик опустится и выйдет из барабана для отправления на переработку. Регенерированный каустик в линии 50 непрерывно подают в контур рециркуляции каустика 20 и, таким образом, в секцию предварительного промывания 30 при расходе, регулируемом при помощи регулирующего клапана 52, управляемого с использованием контроллера расходомера (FRC) 98. В дополнение к этому, в контур рециркуляции каустика 20 при помощи линии 54 добавляют воду.
Водный щелочной раствор, такой как водный раствор каустика в экстракторной секции 32, характеризуется концентрацией, соответствующей плотности по шкале Боме в диапазоне от 17 до 25 (от 12 до 19 мас.%), предпочтительно плотности по шкале Боме в диапазоне от 18 до 22 (от 13 до 16 мас.%), а обычно плотности по шкале Боме, равной 20 (14 мас.%). Углеводородный поток, по существу не содержащий сульфида водорода, выходит из канала выпускного отверстия перепускного контура 38 в экстракторную секцию 32. Меркаптаны в экстракторной секции 32 вступают в реакцию с каустиком с получением меркаптидов натрия и воды. Менее плотные углеводороды поднимаются к верхней части экстракторной секции 32, в то время как водный раствор каустика и меркаптиды, растворенные в водном растворе каустика, опускаются к нижней части экстракторной секции 32, где они собираются на неперфорированной выгнутой книзу перегородке 34. Углеводород поднимается к коалесцирующему компоненту 58, включающему сетчатое полотно 61 см (2 фута), которое обеспечивает коалесценцию небольших капель каустика, переносимых в верхнюю часть экстракторной секции 32 вместе с углеводородом вследствие своего небольшого размера. Коалесцирующий компонент 58 обеспечивает коалесценцию небольших капель каустика друг с другом с получением более крупных капель, которые будут иметь тенденцию к опусканию обратно к нижней части экстракторной секции 32. Подвергнутый переработке углеводород, по существу не содержащий меркаптанов и меркаптидов, покидает экстракторную секцию 32 через контур продукта 60.
Отработанный каустик, обогащенный меркаптидами, отбирают через дренажное устройство в наиболее нижней части выгнутой книзу перегородки 34 через линию 62. Линия 62 фактически проходит через секцию предварительного промывания 30 над коалесцирующим компонентом 36 и через их общую стенку 33.
Через линию 64 в линию 62 добавляют катализатор окисления. Данное изобретение не требует использования специфического катализатора окисления меркаптана. На современном уровне техники известно множество подходящих катализаторов. Один предпочтительный класс катализаторов включает сульфонированный металлфталоцианин. В особенности предпочтительным сульфонированным металлфталоцианином является высокомоносульфонированный кобальтфталоцианин, полученный по способу из работы US 4049572 В1, положения которой включаются в настоящий документ для справки. Другие фталоцианиновые катализаторы описываются в работе US 4897180 В1. Дополнительные катализаторы диполярного типа, которые являются подходящими для использования в щелочном растворе, вводимом в контакт, описываются в работах US 4956324 В1; US 3923645 В1; US 3980582 В1 и US 4090954 В1. Обычно катализатор окисления в водном щелочном растворе будет иметь концентрацию в диапазоне от 10 до 500 ч./млн. (мас.), а предпочтительно концентрацию, равную 200 ч./млн. (мас.). Поток отработанного каустика с добавленным катализатором предпочтительно нагревают в теплообменнике с непрямым контактом при помощи потока низкого давления в качестве текучего теплоносителя в нагревателе 66. Нагреватель 66 предпочтительно нагревает отработанный водный раствор каустика от 38°С (100°F) до 43°С (110°F). К потоку отработанного каустика в линии 62 через линию 68 добавляют воздух в количестве, достаточном для окисления меркаптидов, и получают линию подачи окислителя 70. Смесь отработанного водного раствора каустика и воздуха распределяют в емкости для окисления 72. В емкости для окисления 72 меркаптиды натрия вступают в каталитическую реакцию с кислородом и водой с получением каустика и органических дисульфидов. Кольца Рашига в емкости для окисления 72 увеличивают площадь поверхности в ней, что улучшает контакт с катализатором. Контур выпуска 74 обеспечивает отбор отходящего потока из верхней части емкости для окисления 72. Отходящий поток из емкости для окисления 72 включает три фазы, в том числе фазу воздуха, фазу жидкого дисульфида и фазу жидкого водного раствора каустика.
Контур выпуска 74 обеспечивает перенос отходящего потока из емкости для окисления 72 в сепаратор дисульфида 76, включающий вертикальную секцию 78 и горизонтальную секцию 80. После прохождения осаждения в сепараторе фаза воздуха выходит из верхней части вертикальной секции 78 через линию 82. Две жидкие фазы отстаиваются в горизонтальной секции 80 сепаратора дисульфида 76. Более легкая фаза дисульфида выходит из верхней части горизонтальной секции 80 через линию 84. Отходящий поток дисульфида из сепаратора дисульфида 76 отводят через линию 84 в песочный фильтр 86 для коалесценции и отделения любых следовых количеств каустика и удаляют из технологического процесса через линию 88. Более тяжелый регенерированный каустик выходит из нижней части горизонтальной секции 80 через линию 90. Вертикальная секция 78 сепаратора дисульфида 76 включает углеродные кольца Рашига для увеличения площади поверхности такого, которое обеспечивало бы в результате соударений отделение от уноса жидкости, уносимой в воздухе, и предотвращение ее выхода через линию 82. Часть горизонтальной секции 80 сепаратора дисульфида 76 включает антрацитовый уголь, исполняющий роль коалесцирующего компонента. Капли каустика, содержащиеся в фазе дисульфида, будут коалесцировать с получением более крупных, более тяжелых капель, которые будут спадать в более тяжелую фазу водного раствора каустика, выходящую из канала впускного отверстия в линию 90 вместо канала впускного отверстия в линию 84.
Линия 90, обеспечивающая перенос регенерированного каустика, разделяется на две линии 92 и 50. Линия 92 обеспечивает перенос регенерированного каустика в экстракторную секцию 32 при расходе, регулируемом при помощи регулирующего клапана 94, управляемого с использованием контроллера расходомера (FRC) 96. Линия 50 обеспечивает перенос регенерированного каустика в контур рециркуляции каустика 20 при расходе, регулируемом при помощи регулирующего клапана 52, управляемого с использованием FRC 98. Устройства FRC 96 и 98 обеспечивают измерение расхода каустика в своих соответствующих линиях 92 и 50 и подачу сигналов на регулирующие клапаны 52 и 94, задающих установку по отношению к полному открытию для того, чтобы обеспечить получение желательного расхода на входе. Желательный расход на входе определяют для получения желательной концентрации каустика в соответствующей секции экстракционной емкости 24.
Давление в емкости аминового абсорбера 12 и в экстракционной емкости 24 выдерживают в результате регулирования расхода углеводорода, выходящего из экстракторной секции 32 в контур продукта 60, при помощи регулирующего клапана 61, управляемого с использованием контроллера манометра (PIC) 63, который отслеживает давление в контуре продукта 60. Давление необходимо выдерживать на уровне, обеспечивающем сохранение углеводорода в ожиженном состоянии. Данное давление обычно находится в диапазоне от 517 до 2758 кПа (от 75 до 400 фунт/дюйм2 (изб.)). Температуру углеводородных потоков предпочтительно выдерживают в районе температуры, равной 38°С (100°F). Нагреватель 66 увеличивает температуру отработанного каустика предпочтительно от 38°С (100°F) до 43°С (110°F) до того, как он поступит в емкость для окисления 72 через линию 70. Реакция окисления является экзотермической, что в результате приводит к увеличению температуры отходящего потока в контуре выпуска 74 предпочтительно до не более чем 57°С (135°F). Таким образом, температура в сепараторе дисульфида 76 предпочтительно будет меньше 57°С (135°F). Давление в емкости для окисления 72 и в сепараторе дисульфида 76 выдерживают предпочтительно в диапазоне от 345 до 448 кПа (от 50 до 65 фунт/дюйм2 (изб.)) в линии 82 при помощи регулирующего клапана 85, регулируемого с использованием контроллера манометра (PIC) 87, отслеживающего давление в линии 82.
Фиг.2 более подробно демонстрирует внутреннее строение экстракционной емкости 24. Секция предварительного промывания 30 является по существу пустой с некоторыми исключениями. Канал выпускного отверстия линии 22 проходит до распределителя 26, из которого подаваемый поток, распределяя, направляют снизу вверх. Распределитель 26 включает цилиндрическую трубу, перпендикулярную линии 22, с отверстиями, направленными вверх под углом 45° к горизонтали. Межфазная граница каустик – углеводород 57 обычно располагается между распределителем 26 и коалесцирующим компонентом 36. Коалесцирующий компонент 36 включает сетчатое полотно с толщиной 30 см (1 фут) непосредственно рядом с верхней частью, которое простирается по всей площади поперечного сечения секции предварительного промывания 30. Канал впускного отверстия 38а в перепускной контур 38, расположенный над коалесцирующим компонентом 36, обеспечивает перепускание текучей среды через канал выпускного отверстия 38b в распределитель 56 в экстракторной секции 32. Канал впускного отверстия в линию 62 проходит через секцию предварительного промывания 30 над коалесцирующим компонентом 36.
Внутреннюю структуру экстракторной секции 32 иллюстрирует фиг.3 в сочетании с фиг.2. Распределитель 56 включает цилиндрическую трубу, проходящую перпендикулярно каналу выпускного отверстия 38b перепускного контура 38, который сообщается с распределителем 56. Обращенные книзу отверстия под углом 45° к горизонтали впускают подаваемый поток в экстракторную секцию 32. Распределитель 56 располагается над питающим перекрытием 102, включающим горизонтальную пластину 104, простирающуюся на части площади поперечного сечения экстракторной секции 32, и два вертикальных перелива 106 и 108. Распределитель 56 располагается в питающем лотке 109, определяемом переливами 106, 108, пластиной 104 и внутренней поверхностью общей стенки 33 экстракторной секции 32 экстракционной емкости 24. Контур с нисходящим потоком 110 имеет канал выпускного отверстия 112, расположенного во впускном лотке 107, определяемом пластиной 104, переливом 106 и внутренней поверхностью общей стенки 33 экстракционной емкости 24.
Фиг.2 демонстрирует шесть инжекционных перекрытий 120, расположенных над питающим перекрытием 102. В экстракторной секции 32 настоящего изобретения возможно использование большего или меньшего количества инжекционных перекрытий 120. В подходящем случае в экстракторной секции используют от 2 до 15 перекрытий, а обычным является количество перекрытий в диапазоне от 6 до 8. В дополнение к этому, предусматриваются и другие типы структур, облегчающих жидкостно-жидкостный контакт, такие как слои насадок или тарелки.
При описании инжекционных перекрытий 120 ссылка будет делаться на фиг.2 и 4. Каждое инжекционное перекрытие 120 включает выпускной лоток 122, определяемый внутренней поверхностью общей стенки 33 экстракционной емкости 24, горизонтальной пластиной лотка 124, которая сообщается с каналом впускного отверстия 126 контура с нисходящим потоком 110, и вертикальным переливом 128. Инжекционные перекрытия 120 также включают пластину 129, включающую перфорированную сетчатую секцию 130 и неперфорированную секцию 131. Неперфорированную секцию 131 отделяют от сетчатой секции 130 при помощи вертикального перелива 134. Впускной лоток 132 определяют неперфорированная секция 131, внутренняя поверхность общей стенки 33 и перелив 134. Регенерированный каустик из линии 92 подают во впускной лоток наиболее верхнего инжекционного перекрытия 120.
На фиг.3 можно видеть то, что вертикальные переливы 106, 108 проходят по хорде поперек экстракторной секции 32, определяя впускной лоток 107 и питающий лоток 109. На фиг.4 можно видеть, что вертикальные переливы 128, 134 проходят по хорде поперек экстракторной секции 32, определяя впускной лоток 132 и выпускной лоток 122. Высоты переливов 106, 108, 128 и 134 равны 30,5 см (1 футу), так что тогда, когда высота слоя каустика превысит 30,5 см (1 фут), он будет переливаться через соответствующий перелив. Высоту переливов можно сделать и большей. На питающем перекрытии 102 каустик, переливающийся из впускного лотка 107 и питающего лотка 109, переливается на межфазную границу каустик-углеводород 111, расположенную ниже питающего перекрытия 102. В случае инжекционных перекрытий 120 переливающийся каустик перетекает на сетчатую секцию 130, вступая в контакт с углеводородом, поднимающимся через перфорации в сетчатой секции 130. Каустик, который перемещается в выпускной лоток 122 инжекционных перекрытий 120, проходит через канал впускного отверстия 126 контура с нисходящим потоком 110 сверху вниз во впускные лотки 132, 107 расположенных ниже инжекционного перекрытия 120 или питающего перекрытия 102 соответственно через канал выпускного отверстия 112. Данная компоновка обеспечивает надлежащий контакт между углеводородом и каустиком в то время, как углеводород поднимается к верхней части экстракторной секции 32 и уходит через контур продукта 60.
Непосредственно рядом с верхней частью экстракторной секции 32 над инжекционными перекрытиями 120 располагается коалесцирующий компонент 58. Коалесцирующий компонент 58, включающий сетчатое полотно, простирается по всей площади поперечного сечения экстракторной секции 32. Важно, чтобы коалесцирующий компонент 58 демонстрировал бы надлежащее качество для того, чтобы сделать возможным прохождение не более чем 2 ч./млн. каустика, а предпочтительно не более чем 1 ч./млн. каустика, поскольку он представляет собой последнее препятствие, предотвращающее уход каустика вместе с углеводородным продуктом. Подходящим является коалесцирующий компонент, такой как COALEX от компании Koch-Otto-York.
Коалесцирующий компонент 58 отделяют от верхнего инжекционного перекрытия 120 с получением открытого объема для отстаивания 59 между ними, который выступает в роли буфера в случае пульсации каустика. Объем для отстаивания 59 занимает, по меньшей мере, такой объем, который позволяет разместить еще одно инжекционное перекрытие 120. Коалесцирующий компонент 58 и объем для отстаивания 59 в экстракционной емкости 24 устраняют необходимость в наличии емкостей песочного фильтра и барабана отстойника в обычно используемом жидкостно-жидкостном способе экстрагирования.
Формула изобретения
1. Аппарат для конверсии сернистых соединений в углеводородном потоке, включающий емкость, содержащую экстракторную секцию для конверсии меркаптанов в меркаптиды и секцию предварительного промывания для конверсии сульфида водорода в соль сероводородной кислоты, причем указанная экстракторная секция расположена непосредственно над секцией предварительного промывания; и эти секции разделены непроницаемой перегородкой, контур подачи углеводорода, включающий канал выпускного отверстия, сообщающийся с секцией предварительного промывания, контур углеводородного продукта, включающий канал выпускного отверстия, сообщающийся с экстракторной секцией, и контур с каналом впускного отверстия, сообщающимся с секцией предварительного промывания, и с каналом выпускного отверстия, сообщающимся с экстракторной секцией.
2. Аппарат по п.1, отличающийся тем, что экстракторная секция в своей верхней части имеет коалесцирующий компонент.
3. Способ конверсии сернистых соединений в углеводородном потоке, использующий аппарат по пп.1 и 2, включающий подачу углеводородного потока, содержащего сернистые соединения, в секцию предварительного промывания для конверсии сульфида водорода в соль сероводородной кислоты, отбор подвергнутого предварительному промыванию углеводородного потока из секции предварительного промывания, подачу подвергнутого промыванию углеводородного потока в экстракторную секцию для конверсии меркаптанов в меркаптиды и отбор экстрагированного углеводородного потока, содержащего меркаптиды, из экстракторной секции.
4. Способ по п.3, отличающийся тем, что углеводородный поток должен перемещаться через коалесцирующий компонент перед отбором из экстракторной секции.
5. Способ конверсии сернистых соединений в углеводородном потоке, включающий перемешивание углеводородного потока и щелочного потока, подачу углеводородного потока, смешанного с щелочным потоком, в секцию предварительного промывания, содержащую щелочь, для конверсии сульфида водорода в соль сероводородной кислоты, непрерывный отбор отработанного щелочного потока, содержащего сульфиды, из секции предварительного промывания, рециркуляцию, по меньшей мере, части отработанного щелочного потока для перемешивания с углеводородным потоком, непрерывное добавление регенерированного щелочного потока в секцию предварительного промывания, отбор подвергнутого предварительному промыванию углеводородного потока из секции предварительного промывания и подачу подвергнутого предварительному промыванию углеводородного потока в экстракторную секцию, отделенную от секции предварительного промывания, причем экстракторная секция содержит щелочь.
6. Способ по п.5, отличающийся тем, что часть отработанного щелочного потока отправляют на рециркуляцию в секцию предварительного промывания, а другую часть отработанного щелочного потока из отработанного щелочного потока удаляют.
7. Способ по п.6, отличающийся тем, что регенерированный щелочной поток добавляют к отработанному щелочному потоку.
8. Аппарат для введения углеводородного потока, содержащего сернистые соединения, в контакт с щелочью по способу по пп.5, 6 или 7, включающий емкость, содержащую секцию для предварительного промывания, для введения углеводородного потока в контакт с щелочью, контур удаления углеводорода с каналом впускного отверстия, сообщающимся с емкостью, для отбора углеводородного потока из емкости, контур отправления щелочи на рецикл с каналом впускного отверстия, сообщающимся с емкостью, для отбора отработанного щелочного потока из емкости и каналом выпускного отверстия, сообщающимся с емкостью, линию добавления щелочи, сообщающуюся с контуром отправления щелочи на рецикл, и линию удаления щелочи, сообщающуюся с контуром отправления щелочи на рецикл.
РИСУНКИ
|
|