|
(21), (22) Заявка: 2007123721/15, 26.06.2007
(24) Дата начала отсчета срока действия патента:
26.06.2007
(46) Опубликовано: 20.04.2009
(56) Список документов, цитированных в отчете о поиске:
WO 2006088322 A1, 24.08.2006. RU 2299849 C2, 27.05.2007. RU 2294892 C1, 10.03.2007. WO 2004069742 A1, 19.08.2004. DE 10314173 A1, 24.06.2004.
Адрес для переписки:
119571, Москва, ул. 26 Бакинских Комиссаров, 3, корп.3, кв.355, Э.Г. Ракову
|
(72) Автор(ы):
Александров Андрей Алексеевич (RU), Аношкин Илья Викторович (RU), Баронин Игорь Васильевич (RU), Малых Александр Васильевич (RU), Раков Эдуард Григорьевич (RU)
(73) Патентообладатель(и):
Александров Андрей Алексеевич (RU), Аношкин Илья Викторович (RU), Баронин Игорь Васильевич (RU), Малых Александр Васильевич (RU), Раков Эдуард Григорьевич (RU)
|
(54) УСТРОЙСТВО ДЛЯ ПОЛУЧЕНИЯ УГЛЕРОДНЫХ НАНОТРУБОК
(57) Реферат:
Изобретение может быть использовано в химической промышленности для проведения реакций термического разложения или взаимодействия твердых веществ с газом. После нагрева объема реакционной камеры 1 в нее через патрубок 2 подают смесь газообразного углеводорода и водорода. Через отверстие для загрузки контейнеров 10 по одному загружают контейнеры и при помощи горизонтального толкателя 7 перемещают контейнер в горизонтальном проходе центрального распределительного блока 6, создавая цепочку контейнеров, пока один из них не встанет на подставку вертикального толкателя 8. После достижения заданных концентраций газообразного углеводорода и водорода в реакционной камере 1 в нее при помощи вертикального толкателя 8 подается контейнер, в котором находится катализатор. Когда вертикальный толкатель 8 опускается в свое нижнее положение, контейнер возвращается в состав цепочки контейнеров 5. Затем горизонтальный толкатель 7 перемещается на расстояние, равное диаметру одного контейнера, передвигая всю цепочку контейнеров 5, и следующий контейнер с катализатором занимает место на подставке вертикального толкателя 8. Изобретение позволяет создать простое, надежное в эксплуатации устройство и повысить пожаровзрывобезопасность при его работе. 3 ил.
Изобретение относится к аппаратам, применяемым в химической промышленности, в частности к реакторам для получения углеродных нанотрубок.
Известен горизонтальный трубчатый реактор для получения углеродных нанотрубок термическим разложением газообразных углеводородов в присутствии твердого катализатора (WO 2004/069742, кл. С01В 31/02, от 19.08.2004). Реактор состоит из трубчатой реакционной камеры, печи для ее нагрева, узлов загрузки и выгрузки катализатора, патрубков для ввода и вывода газов. Порошкообразный катализатор непрерывно вводят в реактор через входной воздушный шлюз, который продувают инертным газом, для предотвращения попадания воздуха внутрь реактора. Аналогичным образом катализатор и образовавшийся на нем продукт выводят из реактора. Непрерывное движение катализатора внутри реактора осуществляется благодаря наклону трубчатой реакционной камеры, в которой под действием силы тяжести происходит течение порошкообразного катализатора из верхнего конца в нижний. Для улучшения движения катализатора внутри реакционной камеры реактор может быть дополнительно оборудован виброприводом.
Недостатками такого реактора являются:
– невозможность строго контролировать время пребывания катализатора в реакционной камере,
– сложность организации и поддержания непрерывного течения катализатора внутри реакционной камеры.
Известен горизонтальный трубчатый реактор для получения углеродных нанотрубок (Bao Chun LIU et. al. Continuous production of carbon nanotubes by using moving bed reactor. Chinese Chemical Letters, 2001, vol.12, No.12, pp.1135-1138.) Особенностью конструкции этого реактора является наличие транспортной ленты, располагающейся внутри реакционной трубчатой камеры, с помощью которой осуществляется транспорт катализатора через реакционную камеру реактора и выгрузка образовавшихся на нем углеродных нанотрубок. Внутреннее пространство реакционной зоны полностью защищено от попадания воздуха благодаря подаче катализатора из загрузочной емкости, газовая атмосфера в которой не содержит воздуха.
Конструкция реактора позволяет строго контролировать время пребывания катализатора в реакционной камере, осуществлять быстрый нагрев и охлаждение катализатора. Недостатком такого реактора является малый срок службы транспортной ленты, которая должна функционировать при повышенной температуре в условиях пиролиза.
Известна проходная установка для получения углеродных нанотрубок каталитическим пиролизом газообразных углеводородов; эта установка в дальнейшем рассматривается в качестве прототипа (WO 2006/088322, кл. C07K 14/00, от 24.08.06).
Проходная установка для получения углеродных нанотрубок состоит из реакционной камеры, в которой размещены реакционная и буферные зоны; печи для нагрева реакционной зоны; конвейера для подачи контейнеров с катализатором в реакционную камеру и их выгрузки из нее с образовавшимся продуктом; устройств для ввода газообразного углеводорода, водорода и инертного газа, молекулярная масса которого больше, чем у воздуха; патрубка для удаления избытка водорода; холодильника. Подача контейнеров с катализатором в реакционную камеру и их удаление из нее осуществляется через один и тот же открытый проход в реакционной камере. При этом внутреннее пространство реакционной зоны защищено от попадания воздуха благодаря его блокированию в смежных с ней буферных зонах буферными газами, молекулярная масса которых больше или меньше молекулярной массы воздуха.
Недостатками такой конструкции являются:
– повышенная пожаровзрывоопасность при работе из-за наличия непосредственного контакта водорода и воздуха;
– малый срок службы предложенного типа конвейера для загрузки-выгрузки контейнеров в процессе его эксплуатации при повышенных температурах в агрессивной среде из-за сложности конструкции и, в частности, наличия нескольких изменений направления движения конвейера;
– сложность запуска и управления технологическим процессом, связанная с необходимостью поддерживать границу раздела между буферными газами и воздушной средой;
– большие габариты из-за наличия буферных зон в реакционной камере и предложенной системы транспортирования катализатора.
Задача настоящего изобретения – создание компактного устройства для синтеза углеродных нанотрубок, которое было бы простым, надежным в эксплуатации и позволило повысить пожаровзрывобезопасность при его работе.
Поставленная задача решается устройством для получения углеродных нанотрубок, которое включает реакционную камеру, печь для ее нагрева, холодильник, конвейер для подачи контейнеров с катализатором внутрь реакционной камеры и выгрузки из нее с полученным продуктом, патрубки для подачи смеси газообразного углеводорода и водорода и удаления отходящих газов, при этом реакционная камера снабжена центральным распределительным блоком, имеющим горизонтальный и вертикальный проходы, соединенные между собой Т-образно, причем вертикальный проход соединен с реакционной камерой в нижней ее части и снабжен вертикальным толкателем для транспортировки контейнера внутрь реакционной камеры и из нее, а в горизонтальном проходе помещен горизонтальный толкатель для загрузки и выгрузки контейнеров.
Описание устройства.
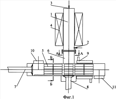
На Фиг.1 представлен общий вид устройства.
Патентуемое устройство для получении углеродных нанотрубок содержит вертикальную трубчатую реакционную камеру 1; установленный в нижней части реакционной камеры патрубок 2 для ввода в нее газов; установленный в верхней части реакционной камеры патрубок 3 для вывода газов из реакционной камеры; вертикальную электрическую печь сопротивления 4, которая предназначена для нагрева реакционной камеры; контейнеры 5; центральный распределительный блок (ЦРБ) 6, оснащенный горизонтальным толкателем 7, вертикальным толкателем 8 и, при необходимости, холодильником 9.
ЦРБ имеет горизонтальный и вертикальный проходы, которые соединяются между собой Т-образно, причем горизонтальный проход имеет прямоугольное сечение (Фиг.1а), а вертикальный проход может иметь круглое сечение (Фиг.1б), прямоугольное или иное сечение.
Один конец горизонтального прохода ЦРБ снабжен горизонтальным толкателем 7 и расположенным сверху отверстием 10 для загрузки контейнеров с катализатором, в другом конце горизонтального прохода ЦРБ имеется расположенное внизу отверстие для выгрузки контейнеров с полученным продуктом 11. Горизонтальный толкатель 7 предназначен для транспортировки цепочки контейнеров в горизонтальном проходе ЦРБ.
Вертикальный проход ЦРБ имеет одинаковое по форме сечение с проходом реакционной камеры и соединен с ней в ее нижней части. В вертикальном проходе ЦРБ установлен вертикальный толкатель 8, при помощи которого осуществляется удаление одного контейнера с катализатором из расположенной в горизонтальном проходе ЦРБ цепочки из нескольких контейнеров, транспортировка контейнера в реакционную камеру и после выдержки и проведения реакции удаление из реакционной камеры с возвращением контейнера с полученным продуктом в состав цепочки контейнеров.
Для обеспечения герметичности внутреннего пространства устройства штоки горизонтального толкателя и вертикального толкателя в местах крепления с ЦРБ снабжены сальниковыми уплотнениями (на Фиг.1 не показаны).
Для быстрого охлаждения контейнеров с полученным продуктом после проведения реакции ЦРБ может быть оборудован водяным холодильником 9.
Каждый контейнер для транспортировки катализатора, а также готового продукта может иметь цилиндрическую, прямоугольную или иную форму и простую или сложную конструкцию. На Фиг.2, Фиг.2а и Фиг.3, Фиг.3а показаны два варианта конструкции контейнера. На Фиг.2 и Фиг.3 показаны виды контейнеров спереди, а на Фиг.2а и Фиг.3а виды контейнеров сверху. В первом случае контейнер выполняется в виде цилиндрической емкости с проточенными в дне пазами под горизонтальные направляющие, расположенные на дне горизонтального прохода ЦРБ и на подставке вертикального толкателя (на Фиг.1 не показаны). Направляющие позволяют перемещать его в составе цепочки контейнеров. В другом случае контейнер имеет разборную конструкцию и состоит из множества цилиндрических емкостей, имеющих небольшую высоту и собранных в стопку таким образом, что каждая цилиндрическая емкость сбоку имеет зазор. Цилиндрические емкости контейнера заполняются тонким слоем катализатора, что позволяет увеличить площадь контакта между твердым катализатором и газовой фазой в реакционной камере. Для движения такого контейнера в составе цепочки контейнеров на дне каждого контейнера также имеются пазы, в которые вставляются направляющие.
Герметизация внутреннего пространства патентуемого устройства от воздуха может быть решена несколькими способами. Наиболее простым является способ, когда внешний диаметр контейнера совпадает с диаметром отверстий для его загрузки и выгрузки. Тогда сам контейнер является затвором для разделения воздуха и газовой среды внутри устройства.
Работа устройства осуществляется следующим образом.
При перекрытом проходе патрубка 2 через патрубок 3 в устройство падают инертный газ, например аргон, после продувки инертным газом подключают печь 4 к источнику электропитания и нагревают объем реакционной камеры 1 до необходимой температуры в интервале 500-1200°С; температуру контролируют с помощью термопары, расположенной внутри области реакционной камеры 1 (на фиг.1 не показана). После нагрева объема реакционной камеры 1 до нужной температуры в нее через патрубок 2 подают смесь газообразного углеводорода и водорода, при необходимости разбавленную инертным газом.
Во время продувки устройства инертным газом через отверстие для загрузки контейнеров 10 по одному загружают контейнеры и при помощи горизонтального толкателя 7 перемещают контейнер в горизонтальном проходе ЦРБ 6, создавая цепочку контейнеров, пока один из них не встанет на подставку вертикального толкателя 8. При этом отверстие для загрузки 10 перекрывается следующим контейнером, благодаря чему осуществляется герметизация внутреннего пространства устройства.
После достижения заданных концентраций газообразного углеводорода и водорода в реакционной камере 1 в нее при помощи вертикального толкателя 8 подается контейнер, в котором находится катализатор. При непрерывной работе устройства заданная концентрация поддерживается постоянно. Контейнер с катализатором выдерживается в реакционной камере 1 заданное время, после этого удаляется из нее при опускании вертикального толкателя 8. Когда вертикальный толкатель 8 опускается в свое нижнее положение, контейнер возвращается в состав цепочки контейнеров 5. Затем горизонтальный толкатель 7 перемещается на расстояние, равное диаметру или ширине одного контейнера, передвигая всю цепочку контейнеров 5, и следующий контейнер с катализатором занимает место на подставке вертикального толкателя 8, а контейнер с полученным продуктом перемещается в горизонтальном проходе ЦРБ 6 в направлении отверстия для выгрузки контейнеров 11.
Каждый вновь загружаемый в устройство контейнер с катализатором играет роль затвора между газовой средой внутри устройства и воздухом, такую же функцию выполняет выгружаемый контейнер с готовым продуктом.
По сравнению с прототипом предлагаемое устройство имеет следующие преимущества:
– снижение пожаровзрывоопасности при работе, связанное с отсутствием в предлагаемом устройстве контакта воздуха с легкогорючим водородом,
– простота конструкции за счет предложенной для транспортирования контейнеров с катализатором системы вертикального и горизонтального толкателей,
– простота герметизации, поскольку сами контейнеры для транспортировки катализатора и полученного продукта являются затвором для разделения воздуха и газовой среды внутри устройства,
– уменьшение общих габаритов устройства при одинаковой производительности за счет компоновки и упрощения конструкции.
Установка может быть использована также для проведения других химических процессов при повышенной температуре, например для термического разложения твердых веществ или реакций взаимодействия твердых веществ с газами.
Формула изобретения
Устройство для получения углеродных нанотрубок, включающее реакционную камеру, печь для ее нагрева, холодильник, конвейер для подачи контейнеров с катализатором внутрь реакционной камеры и выгрузки из нее с полученным продуктом, патрубки для подачи смеси газообразного углеводорода и водорода и удаления отходящих газов, отличающееся тем, что реакционная камера снабжена центральным распределительным блоком, имеющим горизонтальный и вертикальный проходы, соединенные между собой Т-образно, причем вертикальный проход соединен с реакционной камерой в нижней ее части и снабжен вертикальным толкателем для транспортировки контейнера внутрь реакционной камеры и из нее, а в горизонтальном проходе помещен горизонтальный толкатель для загрузки и выгрузки контейнеров.
РИСУНКИ
|