|
|
(21), (22) Заявка: 2007141238/11, 06.11.2007
(24) Дата начала отсчета срока действия патента:
06.11.2007
(46) Опубликовано: 20.04.2009
(56) Список документов, цитированных в отчете о поиске:
RU 2107655 С1, 27.03.1998. RU 2264347 С2, 20.11.2005. RU 2230698 С2, 20.06.2004. JP 7151106 А, 13.06.1995. WO 8103165 А1, 12.11.1981.
Адрес для переписки:
454091, г.Челябинск, ул. Труда, 157, оф.28-5, Челябинский ЦНТИ, Т.Ф. Костик
|
(72) Автор(ы):
Носов Валентин Дмитриевич (RU), Лапко Александр Николаевич (RU), Акимов Василий Николаевич (RU), Козлов Виктор Анатольевич (RU)
(73) Патентообладатель(и):
Федеральное Государственное Унитарное предприятие “Производственное объединение “Златоустовский Машиностроительный завод” (RU)
|
(54) МНОГОСЕКЦИОННЫЙ ГИДРОПРИВОД КРАНОМАНИПУЛЯТОРНОЙ УСТАНОВКИ
(57) Реферат:
Изобретение относится к гидроприводам крано-манипуляторных установок и других грузоподъемных машин, используемых для выполнения погрузочно-разгрузочных работ. Многосекционный гидропривод крано-манипуляторной установки содержит два гидроблока, насосную станцию, защитно-предохранительную аппаратуру – предохранительный клапан, перекидной клапан, клапан обрыва линии, клапан разблокировки, систему управления с управляющими органами рычажного типа, гидравлические соединительные магистрали: напорную, сливную, две управляющие, исполнительную напорную, исполнительную сливную. Гидроблок содержит шесть гидрораспределителей, а второй гидроблок содержит три гидрораспределителя – и тот и другой по количеству секций гидропривода. Гидропривод снабжен адаптерами, связанными с гидрораспределителями стрел. Достигается повышение надежности и безопасности многосекционного гидропривода крано-манипуляторной установки. 4 ил.
Изобретение относится к гидроприводам краноманипуляторных установок и других грузоподъемных машин, используемых для выполнения погрузочно-разгрузочных работ.
Известно устройство управления манипулятором, описанное в патенте на изобретение 2113396, опубликованном 20.06.1998 г. Устройство управления манипулятором содержит шарнирно сочлененные поворотную колонну, стрелу с исполнительным механизмом, их гидроприводы, а также гидравлическую систему управления, включающую гидрораспределители, и кинематически связанную с ней механическую систему управления, которая выполнена в виде двух рукояток, установленных с возможностью перемещения по трем координатам, каждая из которых одновременно связана с гидрораспределителями по числу степеней подвижности соответствующих ей управляемых механизмов, и двух педалей, посредством которых рабочие полости гидропривода соответствующего механизма стрелы сообщены непосредственно со сливом.
Описанное устройство обеспечивает возможность активного режима управления манипулятором с использованием всех степеней подвижности управляемых механизмов, обеспечивает адаптацию к условиям ограниченности степеней манипулирования объектами – возможность работы механизмов стрелы-плеча, предплечья в пассивном режиме за счет гидравлического отключения от соответствующих гидрораспределителей (например, бревнами, хлыстами, расположенными неупорядоченно).
Недостатками описанного устройства являются ненадежность и отсутствие безопасности: во-первых, в случае случайного аварийного разрушения трубопровода или рукава высокого давления гидросистемы жидкость вытечет наружу, давление в гидроцилиндрах резко упадет, и груз обрушится вниз вместе со стрелой; во-вторых, устройство не обладает блокировкой органов управления стрелами манипулятора при превышении грузового порога.
Известен гидропривод навесного манипулятора, описанный в патенте России 2158707, опубликованном 10.11.2000 г., содержащий гидроцилиндры подъема стрелы и рукояти, два кинематически связанных гидроцилиндра механизма поворота стрелы и блок гидрораспределителей, расположенный на тракторе и сообщенный с насосной станцией и со сливом, отличающийся тем, что расположенный на тракторе блок гидрораспределителей выполнен трехсекционным, линии его первой секции подключены к гидроцилиндру подъема рукояти, второй его секции – к гидроцилиндру подъема стрелы, а третьей секции – к первой и второй линиям установленного на навесном манипуляторе дополнительного трехпозиционного шестилинейного гидрораспределителя, третья и четвертая линии которого соединены с гидроцилиндрами подъема навесного оборудования трактора, а пятая и шестая линии – со штоковыми полостями гидроцилиндров поворота стрелы, каждая из которых гидравлически связана посредством дросселей с поршневой полостью противоположного гидроцилиндра поворота, причем в первой позиции дополнительного гидрораспределителя его первая линия сообщена с третьей, а вторая – с четвертой, в средней позиции первая и вторая линии сообщены между собой, в третьей позиции первая линия сообщена с пятой, а вторая – с шестой.
Недостатками описанного устройства также являются ненадежность и отсутствие безопасности: во-первых, в случае случайного аварийного разрушения трубопровода или рукава высокого давления гидросистемы жидкость вытечет наружу, давление в гидроцилиндрах резко упадет, и груз обрушится вниз вместе со стрелой; во-вторых, устройство не обладает блокировкой органов управления стрелами манипулятора при превышении грузового порога.
Известен гидропривод манипулятора, описанный в заявке на изобретение России 92015295, опубликованной 27.08.07 г. Гидропривод относится к гидроприводам строительных манипуляторов и состоит из насоса, предохранительного клапана, подключенного между напорной и сливной линиями насоса, многозолотникового гидрораспределителя, рабочие отводы которого через запорно-тормозные клапаны подключены к полостям исполнительных гидроцилиндров, а также блока ограничения грузового момента, выполненного в виде 3-линейного 2-позиционного дросселирующего гидрораспределителя, входная линия которого подключена к напорной линии насоса, первая выходная линия – к напорному подводу гидрораспределителя, а вторая – к линии слива. Между входной линией и первой выходной линией включен дроссель. Управляющий вход гидрораспределитея подключен к поршневой полости того гидроцилиндра, давление в которой определяет величину грузового момента, например к поршневой полости гидроцилиндра рукояти.
Достоинством данного гидропривода манипулятора является то, что при подъеме груза и достижении грузовым моментом и давлением на управляющем входе значений, близких к предельным, происходит постепенное перекрывание канала между одними линиями и открытие канала между другими линиями. При опускании груза подача насоса распределяется между предохранительным клапаном и дросселем, расход через который определяет скорость опускания и выбирается в диапазоне 10-20% от максимального. Тем самым обеспечиваются плавные остановка и разгон механизмов манипулятора при предельном грузовом моменте.
Недостатками описанного устройства также являются ненадежность и отсутствие безопасности: во-первых, в случае случайного аварийного разрушения трубопровода или рукава высокого давления гидросистемы жидкость вытечет наружу, давление в гидроцилиндрах резко упадет, и груз обрушится вниз вместе со стрелой; во-вторых, устройство не обладает блокировкой органов управления стрелами манипулятора при превышении грузового порога.
Известен «Гидроманипулятор», описанный в патенте на изобретение РФ 2107655, опубликованном 27.03.98 г., устанавливаемый преимущественно на шасси транспортного средства, содержащий опорно-поворотное устройство, поворотную стойку, стреловое оборудование в составе подъемной, выносной и телескопической стрел, качалку и шатун, кинематически связывающие подъемную и выносную стрелы, тягу для подвеса механизма поворота рабочих органов, например грейферного захвата, и гидросистему, у которой гидроцилиндр поворота выносной стрелы шарнирно закреплен на подъемной стреле, шток его соединен с выносной стрелой через шарнирно связанную с подъемной стрелой качалку и шатун, шарнирно сочлененный с качалкой и выносной стрелой, а телескопическая стрела с гидроцилиндром ее привода смонтирована в корпусе выносной стрелы.
Сущность изобретения: гидросистема гидроманипулятора выполнена с возможностью ее работы при постоянном расходе рабочей жидкости за насосом независимо от режима нагрузки, при этом в магистралях, соединяющих гидрораспределители со штоковыми и поршневыми полостями гидроцилиндров, за исключением гидроцилиндров поворота стойки и поворота захвата, отсечные и предохранительные клапаны настроены на заданные давления срабатывания, исключающие превышение допустимых перегрузок; в гидроцилиндре опорно-поворотного устройства поршни соединены с зубчатой рейкой, взаимодействующей с поворотной шестерней, посредством цилиндрических пальцев, установленных по подвижной посадке, оси которых ориентированы перпендикулярно плоскости перемещения зубчатой рейки, при этом в поршнях всех гидроцилиндров по краям образованы цилиндрические проточки для установки опорных поршневых втулок, предохраняющих от заклинивания поршней; гидроцилиндр поворота выносной стрелы шарнирно закреплен на подъемной стреле, а шток его взаимодействует с выносной стрелой через шарнирно прикрепленную к подъемной стреле качалку и шатун, шарнирно сочлененный с качалкой и выносной стрелой.
Недостатком данного изобретения является недостаточная надежность и безопасность устройства, в случае разрушения в гидросистеме трубопровода или рукава высокого давления рабочая жидкость вытекает в атмосферу, давление в гидроцилиндрах уменьшается, управляемость стрелами нарушается, груз падает вниз вместе с последними. Кроме того, в данном устройстве не предусмотрена возможность на блокировку органов управления манипулятором в случае подъема груза, масса которого превышает допустимую величину.
Наиболее близким аналогом, выбранным в качестве прототипа, является Гидропривод гидроманипулятора «Синегорец-75» ЗАО «Национальная компания Уралтерминалмаш», г. Златоуст, описанный в Руководстве по эксплуатации АКВ 1.00.00.000 РЭ. Гидроманипулятор содержит бак со сливным фильтром, предназначенный для питания гидросистемы рабочей жидкостью и слива рабочей жидкости из гидросистемы, фильтр напорный для очистки рабочей жидкости, поступающей в гидросистему, насос для подачи рабочей жидкости с рабочим давлением в гидросистему, клапан предохранительный для защиты насоса и гидравлической системы от недопустимого давления рабочей жидкости, клапан обратный для обеспечения движения рабочей жидкости от бака к крану трехходовому при подаче рабочей жидкости ручным насосом, кран трехходовой для распределения потоков рабочей жидкости по гидравлическим контурам, гидроблок опор для подачи рабочей жидкости к гидроцилиндрам опор через гидрораспределители (гидрораспредеяитель для подачи рабочей жидкости к агрегатам в составе крана-манипулятора). В состав гидроблока входит клапан предохранительный, защищающий от превышения давления в двух гидроцилиндрах. Гидроманипулятор содержит гидроблок стрел для подачи рабочей жидкости к пяти гидроцилиндрам и органу грузозахватному, в состав которого входят шесть гидрораспределителей, восемь клапанов предохранительных, шесть клапанов обратных, гидроцилиндр поворота колонны, состоящий из двух частей, каждая из гильзы и поршня, поршни соединены между собой рейкой, два дросселя, ограничивающие скорость поворота колонны и нагрузки при повороте и торможении, гидроцилиндр стрелы выносной с клапаном отсечным, гидроцилиндр стрелы телескопической с клапаном отсечным, гидроцилиндр стрелы подъемной с клапаном отсечным, ограничитель расхода для ограничения расхода рабочей жидкости при задвижении штока, состоящий из обратного клапана и дросселя. Гидроманипулятор содержит гидроцилиндры опор с двумя клапанами отсечными для выдвижения выносных опор, четыре отжимных клапана для соединения гидравлических магистралей гидроманипулятора с гидравлическими магистралями органа грузозахватного, два дросселя для ограничения расхода рабочей жидкости при выдвижении штоков двух гидроцилиндров.
Недостатком данного изобретения является недостаточная надежность и безопасность устройства, в случае разрушения в гидросистеме трубопровода или рукава высокого давления рабочая жидкость вытекает в атмосферу, давление в гидроцилиндрах уменьшается, управляемость стрелами нарушается, груз падает вниз вместе с последними, так как в этом случае клапаны отсечные только уменьшают расход жидкости в атмосферу при обрыве магистрали и уменьшают скорость опускания (падения). Кроме того, в данном устройстве не предусмотрена возможность на блокировку органов управления краноманипуляторной установки в случае подъема груза, масса которого превышает допустимую величину, так как клапан предохранительный только ограничивает подачу рабочей жидкости, и при этом с большой погрешностью.
Техническим результатом заявляемого изобретения является устранение указанных недостатков, а именно повышение надежности и безопасности многосекционного гидропривода краноманипуляторной установки.
Технический результат заявляемого изобретения достигается тем, что многосекционный гидропривод краноманипуляторной установки, содержащий регулирующую и защитно-предохранительную аппаратуру, систему управления с управляющими органами рычажного типа, насосную станцию, гидравлические соединительные магистрали, снабженные по количеству секций гидропривода гидрораспределителями, сообщенные напорной магистралью с насосной станцией и сливной магистралью со сливом, первый шестисекционный гидроблок управления стрелами и грузозахватными органами, второй двухсекционный гидроблок управления опорами, линии первой секции первого гидроблока подключены к двум гидроцилиндрам поворотной колонны, второй его секции – к гидроцилиндру стрелы выносной, третьей секции – к грузозахватному органу, четвертой секции – к гидроцилиндру стрелы телескопической, пятой секции – к гидроцилиндру стрелы подъемной, шестой секции – к грузозахватному органу, линии первой секции второго гидроблока подключены к гидроцилиндру первой опоры, второй секции – к гидроцилиндру второй опоры, согласно изобретению многосекционный гидропривод краноманипуляторной установки снабжен адаптерами, связанными с гидрораспределителями стрел выносной, телескопической, подъемной, клапаном перекидным, связанным магистралями управляющими с поршневой и штоковой полостями гидроцилиндра подъемной стрелы, магистралями исполнительными напорными с напорными полостями адаптеров гидрораспределителей выносной, телескопической, подъемной стрел, магистралью исполнительной сливной со сливной полостью адаптера гидрораспределителя стрелы выносной, клапаном обрыва, установленным в магистраль управляющую между поршневой полостью гидроцилиндра стрелы подъема и клапаном перекидным, клапаном разблокировки, установленным между сливной магистралью и магистралью исполнительной сливной.
За счет того что многосекционный гидропривод краноманипуляторной установки снабжен адаптерами, связанными с гидрораспределителями стрел выносной, телескопической, подъемной, клапаном перекидным, связанным магистралями управляющими с поршневой и штоковой полостями гидроцилиндра подъемной стрелы, магистралями исполнительными напорными с напорными полостями адаптеров гидрораспределителей подъемной, выносной, телескопической стрел, магистралью исполнительной сливной со сливной полостью адаптера гидрораспределителя стрелы выносной, клапаном обрыва, установленным в магистраль управляющую между поршневой полостью гидроцилиндра стрелы подъема и клапаном перекидным, клапаном разблокировки, установленным между сливной магистралью и магистралью исполнительной сливной, повышается надежность и безопасность многосекционного гидропривода краноманипуляторной установки путем предохранения металлоконструкций (в том числе стрел) краноманипуляторной установки от грузового момента, превышающего расчетный на 10%, путем предохранения от падения стрел и груза, путем снятия блокировки и дальнейшего перемещения стрел.
Таким образом, совокупность заявляемых признаков позволяет повысить надежность и безопасность многосекционного гидропривода краноманипуляторной установки.
Заявляемый многосекционный гидропривод краноманипуляторной установки обладает новизной, отличаясь от прототипа перечисленными выше признаками, и обеспечивает достижение усматриваемого заявителем технического результата.
Заявляемый многосекционный гидропривод краноманипуляторной установки может найти широкое применение для выполнения погрузочно-разгрузочных работ в условиях повышения надежности и безопасности работы, поэтому соответствует критерию «промышленная применимость».
Сущность предлагаемого многосекционного гидропривода краноманипуляторной установки поясняется чертежами, где представлены:
на фиг.1 – общий вид схемы многосекционного гидропривода краноманипуляторной установки;
на фиг.2 – то же, первые три секции первого гидроблока;
на фиг.3 – то же, четвертая, пятая, шестая секции первого гидроблока;
на фиг.4 – то же, секции второго гидроблока.
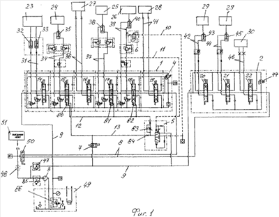
Многосекционный гидропривод краноманипуляторной установки содержит два гидроблока 1, 2, насосную станцию 3, защитно-предохранительную аппаратуру – предохранительный клапан 4, перекидной клапан 5, клапан 6 обрыва линии, клапан 7 разблокировки, систему управления с управляющими органами рычажного типа (не показана), гидравлические соединительные магистрали: напорную 8, сливную 9, две управляющие 10, 11, исполнительную напорную 12, исполнительную сливную 13 (в примере исполнения магистрали могут быть двух типов: трубопроводы и рукава высокого давления). Гидроблок 1 содержит шесть гидрораспределителей 14, 15, 16, 17, 18, 19, гидроблок 2 содержит три гидрораспределителя 20, 21, 22 – и тот, и другой по количеству секций гидропривода. Первый шестисекционный гидроблок 1 управления колонной 23, стрелами 24, 25, 26, грузозахватными органами 27, 28 сообщен магистралью 8 напорной с насосной станцией 3 и магистралью 9 сливной. Второй трехсекционный гидроблок 2 управления двумя опорами 29 и механизмом 30 опрокидывания кузова самосвального автомобиля (не показан) сообщен магистралью 8 напорной с насосной станцией 3 и магистралью 9 сливной. Две линии 31 первой секции первого гидроблока 1 подключены к двум гидроцилиндрам 32, 33 поворотной колонны 23. Две линии 34 второй его секции – к гидроцилиндру 35 стрелы 24 выносной. Две линии 36 третьей секции – к грузозахватному органу 27. Две линии 37 четвертой секции – к гидроцилиндру 38 стрелы 25 телескопической. Две линии 39 пятой секции – к гидроцилиндру 40 стрелы 26 подъемной. Две линии 41 шестой секции – к грузозахватному органу 28. Две линии 42 первой секции второго гидроблока 2 подключены к гидроцилиндру 43 первой опоры 29. Две линии 44 второй секции – к гидроцилиндру 45 второй опоры 29. Две линии 46 третьей секции – к механизму 30 опрокидывания кузова.
Гидропривод содержит предохранительный клапан 47 для защиты насоса насосной станции 3 и гидравлической системы от недопустимого давления рабочей жидкости, клапан 48 обратный для обеспечения движения рабочей жидкости от бака 49 к крану трехходовому 50 для распределения потоков рабочей жидкости по гидравлическим контурам при подаче рабочей жидкости ручным насосом 51 (фиг.1).
В состав первого шестисекционного гидроблока 1 входят восемь предохранительных клапанов 52, 53, 54, 55, 56, 57, 58, 59 – по два на первую, вторую, четвертую, пятую секции, шесть клапанов обратных 60, 61, 62, 63, 64, 65 – по одному на каждую секцию, два дросселя 66, 67, ограничивающие скорость поворота колонны 23 и нагрузки при повороте и торможении, клапаны тормозные 68, 69, 70, обеспечивающие плавное перемещение штоков гидроцилиндров 35, 38, 40 стрел выносной 24, телескопической 25, подъемной 26 при подаче рабочей жидкости, а также прекращающие подачу рабочей жидкости в полости гидроцилиндров 35, 38, 40 в случае прекращения подачи рабочей жидкости и при аварийном падении давления в гидросистеме. В состав первого шестисекционного гидроблока 1 во вторую и пятую секции входят два ограничителя расхода 71, 72 для ограничения расхода рабочей жидкости при задвижении штока, каждый соответственно состоящий из обратного клапана 73, 74 и дросселя 75, 76 (фиг.2, 3).
В состав второго трехсекционного гидроблока 2 входит клапан 77 предохранительный, защищающий от превышения давления в двух гидроцилиндрах 43, 45. Кроме того, в линии 42, 44 второго трехсекционного гидроблока 2 включены соответственно гидрозамки 78, 79 (фиг.4).
Первый шестисекционный гидроблок 1 управления содержит подключенный между напорной 8 и сливной 9 магистралями клапан 4 предохранительный для предохранения гидроблока 1 от превышения давления рабочей жидкости и ограничения грузоподъемности стрелы 26 подъемной при максимальном весе груза (фиг.3).
Первый шестисекционный гидроблок 1 управления снабжен адаптерами 80, 81, 82, связанными соответственно с гидрораспределителями 15, 17, 18 стрел выносной, телескопической, подъемной (фиг.2, 3).
Клапан 5 перекидной связан магистралью 10 управляющей с поршневой и магистралью 11 управляющей со штоковой полостями гидроцилиндра 40 подъемной стрелы, через дроссель 83 связан магистралью 12 исполнительной напорной с напорной полостью адаптеров 80, 81, 82 выносной 24, телескопической 25, подъемной 26 стрел, через дроссель 84 по магистрали 13 исполнительной сливной – со сливной полостью адаптера 80 выносной стрелы 24, по магистрали 13 исполнительной сливной – с клапаном 7 разблокировки и через него с магистралью 9 сливной (фиг.1, 3).
Клапан 6 обрыва установлен в магистраль 10 управляющую, связанную с поршневой полостью гидроцилиндра 40 стрелы 26 подъемной (фиг.3).
Устройство работает следующим образом. В рабочем режиме насосная станция 3 подает рабочую жидкость из бака 49 через фильтр 85 и клапан 48 обратный к крану 50 трехходовому, при достижении давления рабочей жидкости более допустимого происходит слив избыточного количества рабочей жидкости в бак 49 через предохранительный клапан 47 для защиты насосной станции, при этом происходит фильтрация сливаемой жидкости в фильтре 86. Далее рабочая жидкость через кран трехходовой 50 направляется к гидроблоку 2 или к гидроблоку 1 (фиг.1).
При подаче рабочей жидкости к гидроблоку 2 происходит подача рабочей жидкости через гидрораспределители 20, 21 и гидрозамки 78, 79 в гидроцилиндры 43, 45, при этом величина максимального давления рабочей жидкости ограничивается клапаном предохранительным 77. После прекращения подачи рабочей жидкости в полости гидроцилиндров 43, 45, а также в случае аварийного падения давления рабочей жидкости происходит отсечение поршневых полостей гидроцилиндров 43, 45 гидрозамками 78, 79, и штоки гидроцилиндров 43, 45 фиксируются в выдвинутом положении (фиг.4).
При подаче рабочей жидкости к гидроблоку 1 происходит подача рабочей жидкости через гидрораспределители 14, 15, 16, 17, 18, 19 в гидроцилиндры 32, 33, 35, 38, 40 и в линии 36, 41 органов 27, 28 грузозахватных.
Оператор краноманипуляторной установки, перемещая золотники гидрораспределителей 14, 15, 16, 17, 18, 19, осуществляет поворот колонны 23, перемещение стрел 24, 25, 26 и органов 27, 28 грузозахватных.
При подаче рабочей жидкости от гидрораспределителя 14 к гидроцилиндрам 32, 33 клапаны 52, 53 предохранительные и дроссели 66, 67 ограничивают максимальное давление и расход рабочей жидкости, что защищает от перегрузок в момент поворота и остановки колонны 23 краноманипуляторной установки.
При подаче рабочей жидкости от гидрораспределителя 15 к гидроцилиндру 35 клапан предохранительный 54 защищает от перегрузок при подъеме и удержании груза выносной стрелой, клапан предохранительный 55 защищает от перегрузок стрелы 24 выносной при подъеме.
Ограничитель расхода 71 снижает уровень перегрузок стрелы 24 выносной при работе с нагрузками максимальной величины и подачу рабочей жидкости в штоковую полость гидроцилиндра 35.
При подаче рабочей жидкости от гидрораспределителей 16, 19 к органам 27, 28 грузозахватным ограничение давления рабочей жидкости обеспечивается клапаном 4 предохранительным.
При подаче рабочей жидкости от гидрораспределителя 17 к гидроцилиндру 38 клапан предохранительный 56 защищает от перегрузок при выдвижении стрелы 25 телескопической, клапан предохранительный 57 защищает от перегрузок при задвижении стрелы 25 телескопической.
При подаче рабочей жидкости от гидрораспределителя 18 к гидроцилиндру 40 клапан предохранительный 58 защищает от перегрузок при опускании груза стрелой 26 подъемной, клапан 59 предохранительный защищает от перегрузок при удержании груза стрелой 26 подъемной.
Клапаны обратные 60, 61, 62, 63, 64, 65 в составе гидроблока 1 обеспечивают подачу рабочей жидкости из магистрали 8 напорной к золотникам гидрораспределителей 14, 15, 16, 17, 18, 19, предотвращая подачу рабочей жидкости из магистрали 9 слива в магистраль 8 напорную.
Работа гидросистемы краноманипуляторной установки в режиме ограничителя грузоподъемности.
Клапан 5 перекидной совместно с адаптерами 80, 81, 82 гидрораспределителей 15, 17, 18 гидроблока 1 выполняют функцию ограничителя грузоподъемности.
В случае превышения допускаемого грузового момента при работе стрел 24, 25, 26 краноманипуляторной установки происходит повышение давления рабочей жидкости в поршневой полости гидроцилиндра 40 стрелы 26 подъемной, далее рабочая жидкость через клапан 6 обрыва линии поступает к клапану 5 перекидному, одновременно рабочая жидкость поступает к клапану перекидному 5 из штоковой полости гидроцилиндра 40, при достижении определенной разности давлений рабочей жидкости в штоковой и поршневой полостях происходит переключение золотника клапана 5 перекидного, и рабочая жидкость под давлением поступает к нагнетательным полостям адаптеров 80, 81, 82 гидрораспределителей 15, 17, 18 гидроблока 1, которые блокируют золотники этих гидрораспределителей от перемещения, в результате чего исключается выполнение движений стрел 24, 25, 26 краноманипуляторной установки, приводящих к увеличению грузового момента. Перепад рабочей жидкости в гидроцилиндрах 35, 38, 40 оператором не может быть увеличен. Оператор включает клапан 7 разблокировки, в результате чего соединяется сливная полость адаптера 80 гидрораспределителя 15, управляющего гидроцилиндром 35 стрелы 24 выносной с магистралью 9 сливной, гидрораспределитель 15 разблокируется в сторону уменьшения плеча вылета стрелы 24, уменьшения грузового момента, после чего все остальные гидрораспределители разблокируются, краноманипуляторная установка возвращается в рабочее состояние.
При снижении грузового момента до номинальной величины происходит переключение клапана 5 перекидного, и рабочая жидкость из адаптеров 80, 81, 82 гидрораспределителей 15, 17, 18 гидроблока 1 поступает в магистраль 9 сливную, а далее в бак 49. В результате происходит разблокировка золотников гидрораспределителей 15, 17, 18. После разблокировки стрелы 24, 25, 26 получают возможность всех перемещений.
Одновременный подвод рабочей жидкости из штоковой и поршневой полостей гидроцилиндра 40 к золотнику клапана 5 перекидного исключает возможность ложного срабатывания клапана 5 перекидного от забросов давления рабочей жидкости при остановках стрел 24, 25, 26 краноманипуляторной установки и иных изменениях режимов работы.
Клапан 7 разблокировки позволяет произвести частичную разблокировку гидрораспределителя 15 гидроблока 1 и направить рабочую жидкость в поршневую полость гидроцилиндра 35 (фиг.1, 2, 3).
Заявляемый многосекционный гидропривод краноманипуляторной установки отличается повышенной надежностью и безопасностью гидроманипулятора за счет того что, многосекционный гидропривод краноманипуляторной установки снабжен адаптерами, связанными с гидрораспределителями стрел выносной, телескопической, подъемной, клапаном перекидным, связанным магистралями управляющими с поршневой и штоковой полостями гидроцилиндра подъемной стрелы, магистралями исполнительными напорными – с напорными полостями адаптеров гидрораспределителей выносной, телескопической, подъемной стрел, магистралью исполнительной сливной – со сливной полостью адаптера гидрораспределителя стрелы выносной, клапаном обрыва, установленным в магистраль управляющую между поршневой полостью гидроцилиндра стрелы подъема и клапаном перекидным, клапаном разблокировки, установленным между сливной магистралью и магистралью исполнительной сливной.
Формула изобретения
Многосекционный гидропривод краноманипуляторной установки, содержащий регулирующую и защитно-предохранительную аппаратуру, систему управления с управляющими органами рычажного типа, насосную станцию, гидравлические соединительные магистрали, снабженные по количеству секций гидропривода гидрораспределителями, сообщенные напорной магистралью с насосной станцией и сливной магистралью со сливом, первый шестисекционный гидроблок управления стрелами и грузозахватными органами, второй двухсекционный гидроблок управления опорами, линии первой секции первого гидроблока подключены к двум гидроцилиндрам поворотной колонны, второй его секции – к гидроцилиндру стрелы выносной, третьей секции – к грузозахватному органу, четвертой секции – к гидроцилиндру стрелы телескопической, пятой секции – к гидроцилиндру стрелы подъемной, шестой секции – к грузозахватному органу, линии первой секции второго гидроблока подключены к гидроцилиндру первой опоры, второй секции – к гидроцилиндру второй опоры, отличающийся тем, что многосекционный гидропривод краноманипуляторной установки снабжен адаптерами, связанными с гидрораспределителями стрел выносной, телескопической, подъемной, клапаном перекидным, связанным магистралями управляющими с поршневой и штоковой полостями гидроцилиндра подъемной стрелы, магистралями исполнительными напорными с напорными полостями адаптеров гидрораспределителей выносной, телескопической, подъемной стрел, магистралью исполнительной сливной со сливной полостью адаптера гидрораспределителя стрелы выносной, клапаном обрыва, установленным в магистраль управляющую между поршневой полостью гидроцилиндра стрелы подъема и клапаном перекидным, клапаном разблокировки, установленным между сливной магистралью и магистралью исполнительной сливной.
РИСУНКИ
Другие изменения, связанные с зарегистрированными изобретениями
Изменения:
Зарегистрирован переход исключительного права без заключения договора Дата и номер государственной регистрации перехода исключительного права: 15.03.2010/РП0000612 Патентообладатель: Открытое акционерное общество “Златоустовский машиностроительный завод” Прежний патентообладатель: Федеральное государственное унитарное предприятие “Производственное объединение “Златоустовский машиностроительный завод”
Номер и год публикации бюллетеня: 11-2009
Извещение опубликовано: 27.04.2010 БИ: 12/2010
|
|