|
|
(21), (22) Заявка: 2007135372/11, 24.09.2007
(24) Дата начала отсчета срока действия патента:
24.09.2007
(46) Опубликовано: 20.04.2009
(56) Список документов, цитированных в отчете о поиске:
ПУХОВ Ю.С. Рудничный транспорт. – М.: Недра, 1991 г., с.326-328, рис.19.2в. SU 1444211 А1, 26.05.1987. SU 742220 А, 25.06.1980. SU 868063 А, 05.10.1981. JP 10286622 А, 27.10.1998.
Адрес для переписки:
199106, Санкт-Петербург, В.О., 21 линия, 2, СПГГИ(ТУ), патентный отдел
|
(72) Автор(ы):
Тарасов Юрий Дмитриевич (RU)
(73) Патентообладатель(и):
Государственное образовательное учреждение высшего профессионального образования “Санкт-Петербургский государственный горный институт имени Г.В. Плеханова (технический университет) (RU)
|
(54) ПРИЕМНАЯ ПЛОЩАДКА НАДШАХТНОГО ЗДАНИЯ С ОБМЕНОМ ВАГОНЕТОК
(57) Реферат:
Приемная площадка надшахтного здания с обменом вагонеток содержит размещенные на перекрытии здания и примыкающие к клетевому стволу и опрокидывателю рельсовые пути, ориентированные перпендикулярно к ним дополнительные рельсовые пути и снабженные рельсами приемные устройства для вагонетки. Каждое приемное устройство выполнено в виде поворотного круга с приводом. Первый и второй рельсовые пути, расположенные перед стволом и опрокидывателем соответственно, и каждый дополнительный рельсовый путь закреплены на рамах, на каждой из которых размещен поворотный круг соответствующего приемного устройства. Все рамы с помощью шарниров установлены на перекрытии надшахтного здания с возможностью поворота их в вертикальной плоскости. Шарниры рам размещены по направлению движения вагонетки соответственно перед поворотным кругом рамы со вторым рельсовым путем, примыкающим к опрокидывателю, перед самим опрокидывателем, перед поворотным кругом с первым рельсовым путем, примыкающим к стволу, и перед самим стволом. Изобретение позволяет упростить конструкцию обменного комплекса и автоматизацию управления средствами механизации обмена вагонеток, повысить надежность работы комплекса. 3 ил.
Изобретение относится к механизации обмена вагонеток в надшахтном здании при клетевом подъеме.
Известна приемная площадка надшахтного здания при подъеме грузовых вагонеток в неопрокидных клетях, содержащая размещенные на перекрытии здания примыкающие к стволу и наклонные в сторону выкатывания вагонетки из клети первые рельсовые пути, два снабженных рельсами приемных устройства для вагонетки в виде платформ с возможностью накатывания на них и стопорения вагонетки, круговой опрокидыватель для вагонетки с примыкающими к нему вторыми, параллельными первым, наклонными рельсовыми путями, ориентированные перпендикулярно к ним дополнительные рельсовые пути с возможностью перемещения по ним соответственно платформ с груженой и порожней вагонетками, приводные канатные лебедки для перемещения платформ по дополнительным рельсовым путям (Пухов Ю.С. Рудничный транспорт. – М.: Недра, 1991 г., с.326-328, рис.19.2 в).
Известно также техническое решение, в соответствии с которым для выталкивания вагонеток с платформ используются самоходные колесно-рельсовые толкатели с выдвижными хоботами с возможностью их взаимодействия с груженой вагонеткой при ее подаче в опрокидыватель и с порожней вагонеткой при ее подаче в клеть.
Недостатками известной приемной площадки являются сложность конструкции и определенные сложности при автоматизации процесса обмена вагонеток со снижением надежности работы обменного комплекса.
Техническим результатом изобретения является упрощение конструкции и автоматизации управления средствами механизации обмена вагонеток и повышение надежности их работы.
Технический результат достигается тем, что в приемной площадке надшахтного здания с обменом вагонеток, содержащей размещенные на перекрытии здания и примыкающие к клетевому стволу первые рельсовые пути, круговой опрокидыватель для вагонетки с примыкающими к нему вторыми параллельными первым рельсовыми путями, ориентированные перпендикулярно к ним первый и второй дополнительные рельсовые пути с возможностью перемещения по ним груженой и порожней вагонеток, снабженные рельсами приемные устройства для вагонетки с возможностью накатывания на них и стопорения вагонетки, согласно изобретению, каждое приемное устройство выполнено в виде имеющего привод поворота поворотного круга, на котором закреплены упомянутые рельсы, а первый и второй рельсовые пути, расположенные перед стволом и опрокидывателем соответственно и каждый дополнительный рельсовый путь закреплен на рамах, на каждой из которых размещен поворотный круг соответствующего приемного устройства, при этом все рамы с помощью шарниров установлены на перекрытии надшахтного здания с возможностью поворота их в вертикальной плоскости, причем шарниры рам размещены по направлению движения вагонетки соответственно перед поворотным кругом рамы со вторым рельсовым путем, примыкающим к опрокидывателю, перед самим опрокидывателем, перед поворотным кругом с первым рельсовым путем, примыкающим к стволу, и перед самим стволом, при этом углы поворота рам дополнительных рельсовых путей выбраны из условия обеспечения самокатного движения соответственно груженой и порожней вагонеток, а углы поворота рам соответствующих первых и вторых рельсовых путей – из условий выталкивания порожней вагонеткой груженой вагонетки из клети и выталкивания груженой вагонеткой порожней вагонетки из опрокидывателя, а каждая рама кинематически связана с приводом ее поворота в виде силового цилиндра с регулируемым ходом штока.
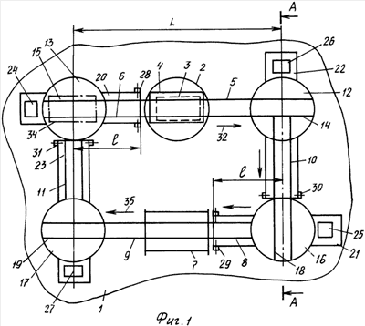
Приемная площадка представлена на фиг.1 – план перекрытия с расположением оборудования, соответствующим моменту, предшествующему выкатыванию груженой вагонетки из клети, на фиг.2 – разрез А-А по фиг.1 при расположении рамы с поворотным кругом и первым дополнительным рельсовым путем в момент приема груженой вагонетки на поворотный круг, на фиг.3 – то же, в момент самокатного движения вагонетки.
Приемная площадка надшахтного здания с обменом вагонеток содержит размещенные на перекрытии 1 надшахтного здания и примыкающие к стволу 2 с клетью 3 с груженой вагонеткой 4 первые рельсовые пути 5 и 6, круговой опрокидыватель 7 для вагонетки 4 с примыкающими к нему вторыми параллельными первым 5 и 6 рельсовыми путями 8 и 9. Перпендикулярно к путям 5, 6 и 8, 9 размещены дополнительные рельсовые пути 10 и 11. В створе с первыми 5, 6 рельсовыми путями размещены приемные устройства в виде поворотных кругов 12 и 13 с закрепленными на них отрезками рельсовых путей 14 и 15 с возможностью примыкания рельсов 14 и 15 к первым рельсовым путям 5, 6. В створе со вторыми рельсовыми путями 8, 9 размещены приемные устройства в виде поворотных кругов 16 и 17 с закрепленными на них отрезками рельсовых путей 18 и 19. Рельсовый путь 6 перед стволом 2 и рельсовый путь 8 перед опрокидывателем 7, а также каждый дополнительный рельсовый путь 10 и 11 закреплены на рамах 20, 21 и 22, 23. На каждой из этих рам размещены снабженные приводами 24, 25 и 26, 27 поворотные круги 13, 16 и 12, 17. Все рамы 20, 21 и 22, 23 с помощью шарниров 28, 29 и 30, 31 установлены на перекрытии 1 надшахтного здания с возможностью поворота рам в вертикальной плоскости. Причем шарниры 28-31 рам размещены по направлению движения 32 вагонетки 4 соответственно перед поворотным кругом 16 рамы 21 с рельсовым путем 8, примыкающим к опрокидывателю 7, перед самим опрокидывателем 7, перед поворотным кругом 13 с рельсовым путем 6, примыкающим к стволу 2, и перед самим стволом 2. При этом углы i поворота рам 22 и 23 дополнительных рельсовых путей 10 и 11 приняты равными соответствующим уклонам, которые выбраны из условия обеспечения самокатного движения соответственно груженой 4 и порожней вагонеток, а углы поворота рам 13 и 21 рельсовых путей 15 и 8, расположенных в створах со стволом 2 и опрокидывателем 7, приняты равными уклонам, которые выбраны из условий выталкивания порожней вагонеткой груженой вагонетки из клети 3 и выталкивания груженой вагонеткой порожней вагонетки из опрокидывателя 7:

где iг iп – уклоны первого и второго дополнительных рельсовых путей, w, wп, – коэффициенты сопротивлений движению груженой и порожней вагонеток, l -расстояние от осей дополнительных рельсовых путей 11, 10 до кромок первых 6 и вторых 8 рельсовых путей, примыкающих к рельсовым путям соответственно в клети 3 и в опрокидывателе 7 первых 6 и вторых 8 путей до их кромок, примыкающих к рельсовым путям соответственно в клети 3 и в опрокидывателе 7, м; ic, io – уклоны первого 6 и второго 8 рельсовых путей соответственно перед стволом 2 и опрокидывателем 7 со стороны входа в них порожней и груженой вагонеток; wcp – среднее значение коэффициента сопротивлений движению груженой и порожней вагонеток, L – расстояние между осями первого 10 и второго 11 дополнительных рельсовых путей, м; G0, G – масса соответственно порожней вагонетки и ее грузоподъемность, т.
Каждая рама 20-23 кинематически связана с приводом ее поворота в виде силового цилиндра 33 с регулируемым ходом штока. 34 – положение порожней вагонетки перед операцией обмена груженой и порожней вагонеток в клети 3. 35 – направление движения порожней вагонетки. 36 и 37 – оси поворотных кругов 12 и 16.
Процесс обмена вагонеток в надшахтном здании осуществляется следующим образом. После остановки и фиксации на кулаках поднятой по стволу 2 клети 3 груженая вагонетка 4 расстопоривается. Рама 20 с поворотным кругом 13 и находящейся на нем порожней вагонеткой (34) с помощью силового цилиндра 33 поворачивается относительно шарнира 28 поворачивается на угол ic, занимая наклонное положение, аналогичное показанному на фиг.3. После расстопоривания порожняя вагонетка скатывается по рельсовому пути 6 с углом наклона, равным уклону и выталкивает груженую вагонетку 4 из клети 3. После освобождения поворотного круга 13 от порожней вагонетки поворотный круг 13 с помощью привода 24 поворачивается на 90 градусов до совмещения в плане отрезка рельсового пути 15 с дополнительным рельсовым путем 11, а рама 23 с помощью силового цилиндра поворачивается относительно шарнира 28 и занимает горизонтальное положение. Груженая вагонетка 4 после ее выталкивания из клети 3 порожней вагонеткой по первому рельсовому пути 5 самокатом накатывается на рельсы 14 поворотного круга 12 и стопорится на нем. После этого поворотный круг 12 вагонеткой 4 с помощью привода 26 поворачивается таким образом, чтобы отрезок рельсового пути 14 совпал с дополнительным рельсовым путем 10. Далее включается силовой цилиндр 33, который поворачивает раму 22 относительно шарнира 30 на угол, равный уклону iг. Груженая вагонетка 4, находящаяся на поворотном круге 12, расстопоривается и самокатом перемещается по дополнительному рельсовому пути 10 с переходом на отрезок рельсового пути 18 поворотного круга 16, на котором стопорится. С помощью привода 25 поворотный круг 16 поворачивается в горизонтальной плоскости до совмещения отрезка рельсового пути 18 на поворотном круге 16 с рельсовым путем 8, закрепленном на раме 21. После этого рама 21 с помощью силового цилиндра поворачивается в вертикальной плоскости относительно шарнира 29 на угол, соответствующий уклону iо. После расстопоривания груженая вагонетка 4 самокатом скатывается по рельсовому пути 8 и выталкивает порожнюю вагонетку из опрокидывателя 7. Порожняя вагонетка по рельсовому пути 9 закатывается на отрезок рельсового пути 19 поворотного круга 17, на котором стопорится. Далее с помощью привода 27 поворотный круг 17 разворачивается в горизонтальной плоскости до совмещения отрезка рельсового пути 19 с дополнительным рельсовым путем 11. С помощью силового цилиндра рама 11 поворачивается относительно шарнира 31 и занимает наклонное положение с расчетным углом, равным уклону iп. Порожняя вагонетка расстопоривается и самокатом по дополнительному рельсовому пути 11 переходит поворотный круг 13, размещаясь на закрепленном на нем отрезке рельсового пути 15. С помощью привода 24 поворотный круг 13 с порожней вагонеткой разворачивается в горизонтальной плоскости до совмещения отрезка рельсового пути 15 с рельсовым путем 6. Далее цикл обмена вагонеток повторяется в последовательности, описанной выше.
При этом благодаря тому, что силовые цилиндры 33 приводов рам 20-23 выбраны с регулируемыми ходами штоков силовых цилиндров 33, в процессе эксплуатации комплекса имеется возможность корректировать уклоны рельсовых путей 6, 8 и 10, 11 в зависимости от ходовых качеств вагонеток.
Отличительные признаки изобретения обеспечивают обмен вагонеток при стационарном размещении всего оборудования и без потери высоты при движении вагонеток в пределах заданной отметки перекрытия надшахтного здания, позволяют упростить конструкцию обменного комплекса и автоматизацию управления средствами механизации обмена вагонеток, повысить надежность работы комплекса.
Формула изобретения
Приемная площадка надшахтного здания с обменом вагонеток, содержащая размещенные на перекрытии здания и примыкающие к клетевому стволу первые рельсовые пути, круговой опрокидыватель для вагонетки с примыкающими к нему вторыми параллельными первым рельсовыми путями, ориентированные перпендикулярно к ним первый и второй дополнительные рельсовые пути с возможностью перемещения по ним груженой и порожней вагонеток, снабженные рельсами приемные устройства для вагонетки с возможностью накатывания на них и стопорения вагонетки, отличающаяся тем, что каждое приемное устройство выполнено в виде имеющего привод поворота поворотного круга, на котором закреплены упомянутые рельсы, а первый и второй рельсовые пути, расположенные перед стволом и опрокидывателем соответственно, и каждый дополнительный рельсовый путь закреплены на рамах, на каждой из которых размещен поворотный круг соответствующего приемного устройства, при этом все рамы с помощью шарниров установлены на перекрытии надшахтного здания с возможностью поворота их в вертикальной плоскости, причем шарниры рам размещены по направлению движения вагонетки соответственно перед поворотным кругом рамы со вторым рельсовым путем, примыкающим к опрокидывателю, перед самим опрокидывателем, перед поворотным кругом с первым рельсовым путем, примыкающим к стволу, и перед самим стволом, при этом углы поворота рам дополнительных рельсовых путей выбраны из условия обеспечения самокатного движения соответственно груженой и порожней вагонеток, а углы поворота рам соответствующих первых и вторых рельсовых путей – из условий выталкивания порожней вагонеткой груженой вагонетки из клети и выталкивания груженой вагонеткой порожней вагонетки из опрокидывателя, а каждая рама кинематически связана с приводом ее поворота в виде силового цилиндра с регулируемым ходом штока.
РИСУНКИ
|
|